Design and Simulation of Electromagnetic Linear Actuators for Jet Dispensers
Abstract
1. Introduction
2. Analysis Method for Electromagnetic Actuators and Design Process
2.1. Simplified Electromagnetic Actuators’ Model
2.2. Finite Element Analysis
2.3. Design and Analysis Framework
3. Experimental Measuring of Necessary Thrust Force
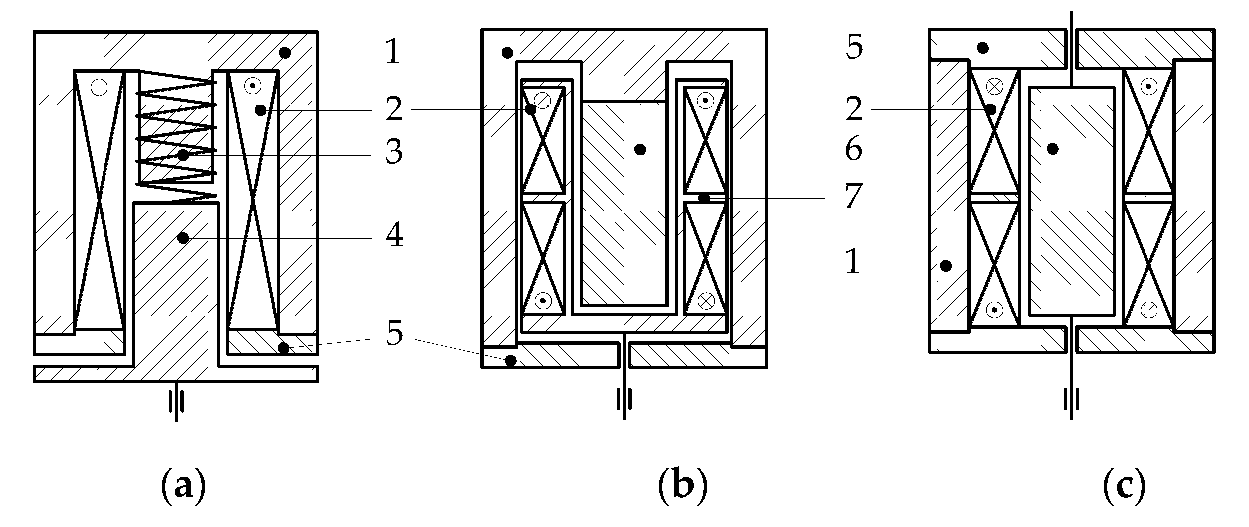
4. Proposal Actuators’ Model
5. Results and Discussion
5.1. Models, Convergence, and Thrust Force after Modification
5.2. The relationship Among Applied Current, Stroke Length, and Thrust Force
5.3. Minimum Excitation Current
5.4. Proposed Jet Dispenser Designs
6. Conclusions
Author Contributions
Funding
Conflicts of Interest
References
- Chen, Y.; Wang, F.; Li, H.X. Experimental and modeling study of breakup behavior in silicone jet dispensing for light-emitting diode packaging. IEEE Trans. Compon. Packag. Manuf. 2015, 5, 1019–1026. [Google Scholar] [CrossRef]
- Gu, S.; Jiao, X.; Liu, J.; Yang, Z.; Jiang, H.; Lv, Q. Design and experiment of a solder paste jetting system driven by a piezoelectric stack. Micromachines-Basel. 2016, 7, 112. [Google Scholar] [CrossRef] [PubMed]
- Scoutaris, N.; Nion, A.; Hurt, A.; Douroumis, D. Jet dispensing as a high throughput method for rapid screening and manufacturing of cocrystals. Cryst. Eng. Comm. 2016, 18, 5079–5082. [Google Scholar] [CrossRef]
- Babiarz, A.J. Jetting small dots of high viscosity fluids for packaging applications. Semicond. Int. 2006, 29, 2–6. [Google Scholar]
- Anthony, F. Advantages of Non-Contact Dispensing in SMT Assembly Processes. In Proceedings of the SMTA International Conference, San Jose, CA, USA, 12–16 September 1999. [Google Scholar]
- Li, M.; Tian, X.; Chen, X. A brief review of dispensing-based rapid prototyping techniques in tissue scaffold fabrication: Role of modeling on scaffold properties prediction. Biofabrication 2009, 1, 032001. [Google Scholar] [CrossRef]
- Nguyen, Q.-H.; Choi, S.-B.; Kim, J.-D. The design and control of a jetting dispenser for semiconductor electronic packaging driven by a piezostack and a flexible beam. Smart Mater. Struct. 2008, 17, 065028. [Google Scholar] [CrossRef]
- Deng, G.; Wang, N.; Zhou, C.; Li, J. A simplified analysis method for the piezo jet dispenser with a diamond amplifier. Sensors 2018, 18, 2115. [Google Scholar] [CrossRef]
- Wang, L.; Du, J.; Luo, Z.; Du, X.; Li, Y.; Liu, J.; Sun, D. Design and experiment of a jetting dispenser driven by piezostack actuator. IEEE Trans. Compon. Packag. Manuf. 2012, 3, 147–156. [Google Scholar] [CrossRef]
- Jeon, J.; Hong, S.M.; Choi, M.; Choi, S.B. Design and performance evaluation of a new jetting dispenser system using two piezostack actuators. Smart Mater. Struct. 2014, 24, 015020. [Google Scholar] [CrossRef]
- Nordson_Corporation. New Solder Paste Jetting System from Nordson EFD Provides Fast, Repeatable Non-Contact Dispensing. Available online: https://www.nordson.com/en/divisions/efd/about-us/news (accessed on 5 August 2019).
- Essemtec-USA-Ltd. SMT Applications Realized on Our Machines. Available online: https://essemtec.com/en/applications/ (accessed on 5 August 2019).
- Choi, S.B.; Han, Y.M. Piezoelectric Actuators: Control Applications of Smart Materials; CRC Press: Boca Raton, FL, USA, 2016; pp. 191–213. [Google Scholar]
- Tran, M.S.; Hwang, S.J. Design and Experiment of a Moving Magnet Actuator Based Jetting Dispenser. Appl. Sci. Basel. 2019, 9, 2911. [Google Scholar] [CrossRef]
- Ahmadi, M.; Babiarz, A.; Ciardella, R.; Fang, L.; Fiske, E.; Quinones, H.; Ratledge, T. Jetting Dispenser with Multiple Jetting Nozzle Outlets. U.S. Patent 20070145164, 28 June 2007. [Google Scholar]
- Clark, J.A.; Fort, W.C.; Gould, M.A.; Ridge, W.M.; Saidman, L.B.; Varga, L.J. Jetting Dispenser and Method of Jetting Highly Cohesive Adhesives. U.S. Patent 8753713, 17 June 2014. [Google Scholar]
- John, S.; Sirohi, J.; Wang, G.; Wereley, N.M. Comparison of piezoelectric, magnetostrictive, and electrostrictive hybrid hydraulic actuators. J. Intel. Mater. Syst. Struct. 2007, 18, 1035–1048. [Google Scholar] [CrossRef]
- Miu, D.K.; Bhat, S.P. Minimum power and minimum jerk position control and its applications in computer disk drives. IEEE Trans. Magn. 1991, 27, 4471–4475. [Google Scholar] [CrossRef]
- Scholten, R. Enhanced laser shutter using a hard disk drive rotary voice-coil actuator. Rev. Sci. Instrum. 2007, 78, 026101. [Google Scholar] [CrossRef] [PubMed]
- Yu, H.C.; Lee, T.Y.; Wang, S.J.; Lai, M.L.; Ju, J.J.; Huang, D.R.; Lin, S.K. Design of a voice coil motor used in the focusing system of a digital video camera. IEEE Trans. Magn. 2005, 41, 3979–3981. [Google Scholar]
- Lotti, F.; Salmon, M.; Vassura, G.; Zucchelli, A. Selection of Linear Motors for High-Speed Packaging Machines. In Proceedings of the 2001 IEEE/ASME International Conference on Advanced Intelligent Mechatronics, Como, Italy, 8–12 July 2001; (Cat. No. 01TH8556). pp. 659–664. [Google Scholar]
- Liu, Z.Z.; Luo, F.L.; Rahman, M.A. Robust and precision motion control system of linear-motor direct drive for high-speed XY table positioning mechanism. IEEE Trans. Ind. Electron. 2005, 52, 1357–1363. [Google Scholar] [CrossRef]
- Wang, J.; Wang, W.; Atallah, K. A linear permanent-magnet motor for active vehicle suspension. IEEE Trans. Veh. Technol. 2010, 60, 55–63. [Google Scholar] [CrossRef]
- Chladny, R.R.; Koch, C.R.; Lynch, A.F. Modeling automotive gas-exchange solenoid valve actuators. IEEE Trans. Magn. 2005, 41, 1155–1162. [Google Scholar] [CrossRef]
- Ebrahimi, B.; Khamesee, M.B.; Golnaraghi, F. Design of a Hybrid Electromagnetic/Hydraulic Damper for Automotive Suspension Systems. In Proceedings of the 2009 International Conference on Mechatronics and Automation, Malaga, Spain, 14–17 April 2009; pp. 3196–3200. [Google Scholar]
- Dario, P.; Hannaford, B.; Menciassi, A. Smart surgical tools and augmenting devices. IEEE Trans. Robot. Autom. 2003, 19, 782–792. [Google Scholar] [CrossRef]
- Narayanswamy, R.; Mahajan, D.P.; Bavisetti, S. Unified Coil Solenoid Actuator for Aerospace Application. In Proceedings of the 2012 Electrical Systems for Aircraft, Railway and Ship Propulsion, Bologna, Italy, 16–18 October 2012; pp. 1–5. [Google Scholar]
- Boyd, C. Bio-Medical Injector Apparatus. U.S. Patent 4613328, 23 September 1986. [Google Scholar]
- Nordson_Corporation. PICO Pµlse Contact Dispense Valves. Available online: https://www.nordson.com/en/divisions/efd/products (accessed on 2 November 2019).
- Zhou, C.; Li, J.; Duan, J.; Deng, G. The principle and physical models of novel jetting dispenser with giant magnetostrictive and a magnifier. Sci. Rep. 2015, 5, 18294. [Google Scholar] [CrossRef]
- Nordson_Corporation. Liquidyn P-Jet Series Jetting Valves. Available online: https://www.nordson.com/en/divisions/efd/products/ (accessed on 2 November 2019).
- Mitchell, J. Linear motion devices: What is a voice-coil actuator? Laser Focus World 2018, 54, 41–43. [Google Scholar]
- BEI_Kimco. Moving Magnet Voice Coil Actuators Offer Better Heat Displacement. Available online: https://news.thomasnet.com/companystory/ (accessed on 2 November 2019).
- Encica, L.; Makarovic, J.; Lomonova, E.A.; Vandenput, A.J. Space mapping optimization of a cylindrical voice coil actuator. IEEE Trans. Ind. Appl. 2006, 42, 1437–1444. [Google Scholar] [CrossRef]
- Hiemstra, D.B.; Parmar, G.; Awtar, S. Performance tradeoffs posed by moving magnet actuators in flexure-based nanopositioning. IEEE/ASME Trans. Mechatron. 2012, 19, 201–212. [Google Scholar] [CrossRef]
- Ward, J.R.; Dahlgren, D.A.; Stobbs, T.J. Latching Solenoid with Improved Pull Force. U.S. Patent 6392516, 21 May 2002. [Google Scholar]
- Kim, J.; Chang, J. A new electromagnetic linear actuator for quick latching. IEEE Trans. Magn. 2007, 43, 1849–1852. [Google Scholar] [CrossRef]
- Zhou, C.; Li, J.; Duan, J.a.; Deng, G. Control and jetting characteristics of an innovative jet valve with zoom mechanism and opening electromagnetic drive. IEEE/ASME Trans. Mechatron. 2015, 21, 1185–1188. [Google Scholar] [CrossRef]
- Kawase, Y.; Ohdachi, Y. Dynamic analysis of automotive solenoid valve using finite element method. IEEE Trans. Magn. 1991, 27, 3939–3942. [Google Scholar] [CrossRef]
- Linear Solenoid Actuator. Available online: https://www.electronics-tutorials.ws/io/io_6.html (accessed on 5 November 2019).
- Bruckner, F.; Vogler, C.; Bergmair, B.; Huber, T.; Fuger, M.; Suess, D.; Feischl, M.; Fuehrer, T.; Page, M.; Praetorius, D. Combining micromagnetism and magnetostatic Maxwell equations for multiscale magnetic simulations. J. Magn. Magn. Mater. 2013, 343, 163–168. [Google Scholar] [CrossRef] [PubMed]
- Chapter 22: Maxwell 2D Technical Notes. In Maxwell ANSYS Online Help; ANSYS, Inc.: Canonsburg, PA, USA, 2012.
- Nguyen, Q.H.; Han, Y.M.; Choi, S.B.; Hong, S.M. Dynamic characteristics of a new jetting dispenser driven by piezostack actuator. IEEE Trans. Electron Pack 2008, 31, 248–259. [Google Scholar] [CrossRef]
- Free BH Curves of Low Carbon Steel—SAE1020. Available online: https://magweb.us/free-bh-curves/ (accessed on 6 November 2019).

















| Geometric Dimension | Symbol, Value (mm) | Geometric Dimension | Symbol, Value (mm) |
|---|---|---|---|
| Needle radius | rn1 = 1; rn2 = 2 | O-ring groove radius | rog = 3.9 |
| Nozzle radius | rno = 0.25 | O-ring groove length | lol = 5.2 |
| Chamber radius | rc1 = 1.5; rc2 = 2 | Chamber length | lc1 = 9.5; lc2 = 5.4 |
| Fluid line radius | rfl = 1 | Nozzle length | lno = 3 |
| Symbol | Value (mm) | Symbol | Value (mm) | Symbol | Value (mm) | Symbol | Value (mm) | Symbol | Value (mm) |
|---|---|---|---|---|---|---|---|---|---|
| d1 | 2.5 | d4 | 2 | e1 | 2 | e4 | 0.5 | e7 | 0 |
| d2 | 0.5 | d5 | 1 | e2 | 4.5 | e5 | 2 | e8 | 2 |
| d3 | 2 | - | - | e3 | 1.5 | e6 | 23 | - | - |
| Symbol | Variable Range | After Modification | Symbol | Variable Range | After Modification |
|---|---|---|---|---|---|
| d1 | 2.5–4 | 2.5 | e3 | 1–2 | 1.25 |
| d2 | 0.3–1 | 0.4 | e4 | 0.3–1 | 0.6 |
| d3 | 1–2.5 | 1.7 | e5 | 1–2.5 | 1.5 |
| d4 | 1–3 | 3 | e6 | 5–23 | 13 |
| d5 | 0.5–1.5 | 0.8 | e7 | 0–4 | 1 |
| e1 | 2–4 | 2 | e8 | 0.5–3 | 1.6 |
| e2 | 3–5 | 4.75 | - |
© 2020 by the authors. Licensee MDPI, Basel, Switzerland. This article is an open access article distributed under the terms and conditions of the Creative Commons Attribution (CC BY) license (http://creativecommons.org/licenses/by/4.0/).
Share and Cite
Tran, M.-S.; Hwang, S.-J. Design and Simulation of Electromagnetic Linear Actuators for Jet Dispensers. Appl. Sci. 2020, 10, 1653. https://doi.org/10.3390/app10051653
Tran M-S, Hwang S-J. Design and Simulation of Electromagnetic Linear Actuators for Jet Dispensers. Applied Sciences. 2020; 10(5):1653. https://doi.org/10.3390/app10051653
Chicago/Turabian StyleTran, Minh-Sang, and Sheng-Jye Hwang. 2020. "Design and Simulation of Electromagnetic Linear Actuators for Jet Dispensers" Applied Sciences 10, no. 5: 1653. https://doi.org/10.3390/app10051653
APA StyleTran, M.-S., & Hwang, S.-J. (2020). Design and Simulation of Electromagnetic Linear Actuators for Jet Dispensers. Applied Sciences, 10(5), 1653. https://doi.org/10.3390/app10051653
