Structural Optimization of Slotting Nozzle Used to Improve Coal-Seam Permeability
Abstract
1. Introduction
2. Structural Optimization of Slotting Nozzle Design
2.1. Structural Parameters Affecting Performance of Slotting Nozzle
2.2. Design of Slotting Nozzle Structural Parameters Orthogonal Optimization
2.3. Numerical Experiments to Optimize Slotting Nozzle Index
2.4. Numerical Experiment Results and Discussion
3. Materials and Methods
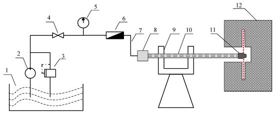
3.1. Experimental System and Equipment
3.2. Experimental Design and Procedures
- (1)
- The high-pressure pipeline connection was completed and the slotting device was pushed to the appropriate position in the test box;
- (2)
- The test box was closed, the pipeline connection checked, and the pump switched on;
- (3)
- When the pump was stable, the pressure rose rapidly to 28 MPa and measurement of elapsed time was started;
- (4)
- Every 60 s, the pump was rapidly switched off, the water jet slotting depth was measured, and the characteristics of the slots were photographed and recorded; and
- (5)
- Steps (1)–(4) were repeated until the specimen was penetrated or the slotting depth no longer increased with slotting time.
3.3. Results and Discussion
4. Conclusions
- (1)
- CFD was used to study effects of stable segment length L, convergent angle θ, and straight segment length l on the performance of slotting nozzles using orthogonal testing. The results showed that the order of parameters affecting nozzle performance is: nozzle convergent angle θ > stable segment length L > straight segment length l.
- (2)
- When the total length of the slotting nozzle was fixed, the dynamic pressure gradually decreased and the rate of decrease slowed down with an increase in the length of the stable section L. With an increase of convergent angle θ, the dynamic pressure increased quadratically and the rate of change gradually decreased. With an increase of straight segment length l, the dynamic pressure decreased quadratically and the rate of change gradually increased.
- (3)
- When the total length of the slotting nozzle was 18 mm, the stable segment length L = 0 mm, convergent angle θ = 30°, and straight segment length l = 9 mm, the slotting nozzle gave the best slotting performance. This design (L = 0 mm, θ = 30°, l = 9 mm) was manufactured and the flow-coefficient measurement, water jet morphology observation, and slotting experiments were carried out. The experimental results showed that the flow coefficient, water jet convergence, and slotting depth of the optimized slotting nozzle were obviously higher than those of the original nozzle, which proved the validity of using this numerical method to optimize the slotting nozzle structure.
Author Contributions
Funding
Acknowledgments
Conflicts of Interest
List of Symbols
| D | Diameter of slotting nozzle outlet |
| L0 | Total length of slotting nozzle |
| L | Stable segment length of slotting nozzle |
| θ | Convergent angle of slotting nozzle |
| l | Straight segment length of slotting nozzle |
| pk | Dynamic pressure of water jet |
| pk1 | Axial dynamic pressure of water jet |
| pk2 | Longitudinal profile dynamic pressure of water jet |
| Q | Flow rate |
| A0 | Slotting nozzle section area |
| ρ | Water density |
| ΔP | Pressure difference between two sections of slotting nozzle |
| d | Slotting depth |
References
- Lu, Y.Y.; Xiao, S.Q.; Ge, Z.L.; Zhou, Z.; Ling, Y.F.; Wang, L. Experimental study on rock-breaking performance of water jets generated by self-rotatory bit and rock failure mechanism. Powder Technol. 2019, 346, 203–216. [Google Scholar] [CrossRef]
- Li, L.G.; Wang, H.Y.; Liu, H. Natural gas fueling the world’s future: A brief summary. In Proceedings of the 27th World Gas Conference (WGC), Natural Gas Industry, Washington, DC, USA, 25–29 June 2018; Volume 38, pp. 1–9. [Google Scholar]
- Guo, W.; Pan, J.P. Mid-term evaluation and prospect of the implementation of the 13th Five-Year Plan for the national oil and gas resources exploration and mining plan. Nat. Gas Ind. 2019, 39, 111–117. [Google Scholar]
- Ge, Z.L.; Zhong, J.Y.; Lu, Y.Y.; Cheng, L.; Zheng, J.W.; Zhou, Z.; Cheng, Y.G. Directional distance prediction model of slotting-directional hydraulic fracturing (SDHF) for coalbed methane (CBM) extraction. J. Pet. Sci. Eng. 2019, 183, 106429. [Google Scholar] [CrossRef]
- Li, Q.; Lu, Y.Y.; Ge, Z.L.; Zhou, Z.; Zheng, J.W.; Xiao, S.Q. A new tree-type fracturing method for stimulating coal seam gas reservoirs. Energies 2017, 10, 1388. [Google Scholar] [CrossRef]
- Lu, Y.Y.; Zuo, S.J.; Ge, Z.L.; Xiao, S.Q.; Cheng, Y.G. Experimental study of crack initiation and extension induced by hydraulic fracturing in a tree-type borehole array. Energies 2016, 9, 514. [Google Scholar] [CrossRef]
- Lu, T.K.; Yu, H.; Zhou, T.Y.; Mao, J.S.; Guo, B.H. Improvement of methane drainage in high gassy coal seam using waterjet technique. Int. J. Coal Geol. 2009, 79, 40–48. [Google Scholar] [CrossRef]
- Chao, M.U.; Wang, H.L.; Huang, W.Y.; Kuang, C.J. Increasing permeability mechanism using directional cumulative blasting in coal seams with high concentration of gas and low permeability. Rock Soil Mech. 2013, 9, 2496–2500. [Google Scholar]
- Kong, X.G.; Wang, E.Y.; Liu, X.F.; Li, N.; Liang Chen, L.; Feng, J.J.; Kong, B.; Li, D.X.; Liu, Q.L. Coupled analysis about multi-factors to the effective influence radius of hydraulic flushing: Application of response surface methodology. J. Gas. Sci. Eng. 2016, 32, 538–548. [Google Scholar] [CrossRef]
- Zhang, Z.B.; Li, X. Numerical study on the formation of shear fracture network. Energies 2016, 9, 299. [Google Scholar] [CrossRef]
- Deng, J.Q.; Lin, C.; Yang, Q.; Liu, Y.R.; Tao, Z.F.; Duan, H.F. Investigation of directional hydraulic fracturing based on true tri-axial experiment and finite element modeling. Comput. Geotech. 2016, 75, 28–47. [Google Scholar] [CrossRef]
- Mao, R.B.; Feng, Z.J.; Liu, Z.H.; Zhao, Y.S. Laboratory hydraulic fracturing test on large-scale pre-cracked granite specimens. J. Nat. Gas Sci. Eng. 2017, 44, 278–286. [Google Scholar] [CrossRef]
- Cheng, Y.G.; Lu, Y.Y.; Ge, Z.L.; Cheng, L.; Zheng, J.W.; Zhang, W.F. Experimental study on crack propagation control and mechanism analysis of directional hydraulic fracturing. Fuel 2018, 218, 316–324. [Google Scholar] [CrossRef]
- Lu, Y.Y.; Ge, Z.L.; Li, X.H.; Chen, J.F.; Liu, Y. Investigation of a self-excited pulsed water jet for rock cross-cutting to uncover coal. J. China Univ. Min. Technol. 2010, 39, 55–58. [Google Scholar]
- Zou, Q.L.; Li, Q.G.; Liu, T.; Li, X.L.; Liang, Y.P. Peak strength property of the pre-cracked similar material: Implications for the application of hydraulic slotting in ECBM. J. Nat. Gas Sci. Eng. 2017, 37, 106–115. [Google Scholar] [CrossRef]
- Quinn, W.R.; Militzer, J. Effects of nonparallel exit flow on round turbulent free jets. Int. J. Heat Fluid Flow 1989, 10, 139–145. [Google Scholar] [CrossRef]
- Yang, G.Y.; Choi, M.S.; Lee, J.S. An experimental study of slot jet impingement cooling on concave surface: Effects of nozzle configuration and curvature. Int. J. Heat Mass Transf. 1999, 42, 2199–2209. [Google Scholar] [CrossRef]
- Guo, S.; Hu, J.; Luo, L.; Xu, Z.S.; Yao, Z. Analysis of assist gas glow and the structural optimizing. Appl. Laser 2007, 27, 403–407. [Google Scholar]
- Zhao, Y.P.; Lu, Y.Y.; Ge, Z.L.; Zuo, W.Q. Study on optimal design of abrasive water jet nozzle used in gas mining. Fluid Mach. 2010, 38. [Google Scholar]
- Ding, X.Q. Abrasive waterjet nozzle structural design and optimization. Modul. Mach. Tool Autom. Manuf. Tech. 2016, 11, 115–118. [Google Scholar]
- Gao, Q.; Zhou, M.; Zhu, L.L. Flow field analysis and structure optimization of FDM 3D printer nozzle. Modul. Mach. Tool Autom. Manuf. Tech. 2018, 11, 34–47. [Google Scholar]
- Nikonov, G.P.; Kuzmich, I.A.; Garbuz, G.D. Hydraulic Coal or Ore Mining Optimal Output Determination-Uses Shield with Slots for Time Based Jets onto Rock Giving Measurable Breakout Volume Craters. International Patent No. SU305266-A, 25 October 1978. [Google Scholar]
- Li, W.K. Research on the Influence of Structure Parameters of Self-Excited Cavitation Jet Nozzle. Bachelor’s Thesis, Shandong University, Shandong, China, 2015. [Google Scholar]
- Xue, S.X. High pressure water jet technology and application. China Saf. Sci. J. 1999, 9, 92. [Google Scholar]
- Liu, D.D.; Feng, Z.H.; Tan, B.H. Numerical simulation and analysis for the flow field of the main nozzle in an air-jet loom based on fluent. Appl. Mech. Mater. 2012, 105–107, 172–175. [Google Scholar] [CrossRef]
- Vijay, M.M.; Zou, C.; Hu, S.G.; Remisz, J.; Tavoularis, S. A Study of the practicality of cavitating water jets. In Jet Cutting Technology; Fluid Mechanics and Its Applications; Lichtarowicz, A., Ed.; Springer: Dordrecht, The Netherlands, 1992; Volume 13. [Google Scholar]









| Experiment Number | Stable Segment Length L (mm) | Convergent Angle θ (°) | Straight Segment Length l (mm) |
|---|---|---|---|
| 1 | 0 | 10 | 3 |
| 2 | 0 | 20 | 6 |
| 3 | 0 | 30 | 9 |
| 4 | 0 | 40 | 12 |
| 5 | 3 | 10 | 6 |
| 6 | 3 | 20 | 3 |
| 7 | 3 | 30 | 12 |
| 8 | 3 | 40 | 9 |
| 9 | 6 | 10 | 9 |
| 10 | 6 | 20 | 12 |
| 11 | 6 | 30 | 3 |
| 12 | 6 | 40 | 6 |
| 13 | 9 | 10 | 12 |
| 14 | 9 | 20 | 9 |
| 15 | 9 | 30 | 6 |
| 16 | 9 | 40 | 3 |
| Inlet Pressure | 28 MPa |
|---|---|
| Inlet turbulence intensity | 10% |
| Inlet flow diameter | 23 mm |
| Outlet pressure | 1 atm |
| Outlet turbulence intensity | 10% |
| Outlet flow diameter | 3 mm |
| Experiment Number | Stable Segment Length L (mm) | Convergent Angle θ (°) | Straight Segment Length l (mm) | Dynamic Pressure pk2 (MPa) |
|---|---|---|---|---|
| 1 | 0 | 10 | 3 | 5.04 |
| 2 | 0 | 20 | 6 | 5.29 |
| 3 | 0 | 30 | 9 | 5.39 |
| 4 | 0 | 40 | 12 | 5.33 |
| 5 | 3 | 10 | 6 | 4.79 |
| 6 | 3 | 20 | 3 | 5.11 |
| 7 | 3 | 30 | 12 | 5.04 |
| 8 | 3 | 40 | 9 | 5.30 |
| 9 | 6 | 10 | 9 | 4.45 |
| 10 | 6 | 20 | 12 | 4.64 |
| 11 | 6 | 30 | 3 | 5.28 |
| 12 | 6 | 40 | 6 | 5.24 |
| 13 | 9 | 10 | 12 | 3.90 |
| 14 | 9 | 20 | 9 | 4.58 |
| 15 | 9 | 30 | 6 | 5.04 |
| 16 | 9 | 40 | 3 | 5.34 |
| Mean Value 1 | 5.626 | 4.545 | 5.192 | - |
| Mean Value 2 | 5.060 | 4.905 | 5.090 | - |
| Mean Value 3 | 4.902 | 5.188 | 4.930 | - |
| Mean Value 4 | 4.715 | 5.303 | 4.728 | - |
| Range | 0.547 | 0.758 | 0.464 | - |
| Slotting Nozzle | Stable Segment Length L (mm) | Convergent Angle θ (°) | Straight Segment Length l (mm) |
|---|---|---|---|
| Original slotting nozzle | 5 | 13 | 6 |
| Optimized slotting nozzle | 0 | 30 | 9 |
| Slotting Nozzle | Experiment Number | Q (L/min) | Pressure Difference | Flow Coefficient | |
|---|---|---|---|---|---|
| Calculated Value | Average Value | ||||
| Original slotting nozzle | 1 | 88.2 | 28.0 | 0.8857 | 0.8897 |
| 2 | 89.1 | 28.0 | 0.8948 | ||
| 3 | 88.5 | 28.0 | 0.8884 | ||
| Optimized slotting nozzle | 1 | 87.9 | 28.0 | 0.8824 | 0.8958 |
| 2 | 89.7 | 28.0 | 0.9005 | ||
| 3 | 90.1 | 28.0 | 0.9045 | ||
© 2020 by the authors. Licensee MDPI, Basel, Switzerland. This article is an open access article distributed under the terms and conditions of the Creative Commons Attribution (CC BY) license (http://creativecommons.org/licenses/by/4.0/).
Share and Cite
Ge, Z.; Zhong, J.; Zhang, J.; Wang, Y.; Lvu, Y.; Zhang, S. Structural Optimization of Slotting Nozzle Used to Improve Coal-Seam Permeability. Appl. Sci. 2020, 10, 699. https://doi.org/10.3390/app10020699
Ge Z, Zhong J, Zhang J, Wang Y, Lvu Y, Zhang S. Structural Optimization of Slotting Nozzle Used to Improve Coal-Seam Permeability. Applied Sciences. 2020; 10(2):699. https://doi.org/10.3390/app10020699
Chicago/Turabian StyleGe, Zhaolong, Jianyu Zhong, Jianguo Zhang, Yingwei Wang, Youchang Lvu, and Sai Zhang. 2020. "Structural Optimization of Slotting Nozzle Used to Improve Coal-Seam Permeability" Applied Sciences 10, no. 2: 699. https://doi.org/10.3390/app10020699
APA StyleGe, Z., Zhong, J., Zhang, J., Wang, Y., Lvu, Y., & Zhang, S. (2020). Structural Optimization of Slotting Nozzle Used to Improve Coal-Seam Permeability. Applied Sciences, 10(2), 699. https://doi.org/10.3390/app10020699
