Sliding Mode Control of Laterally Interconnected Air Suspensions
Abstract
1. Introduction
2. Full Vehicle Modeling and Road Excitations
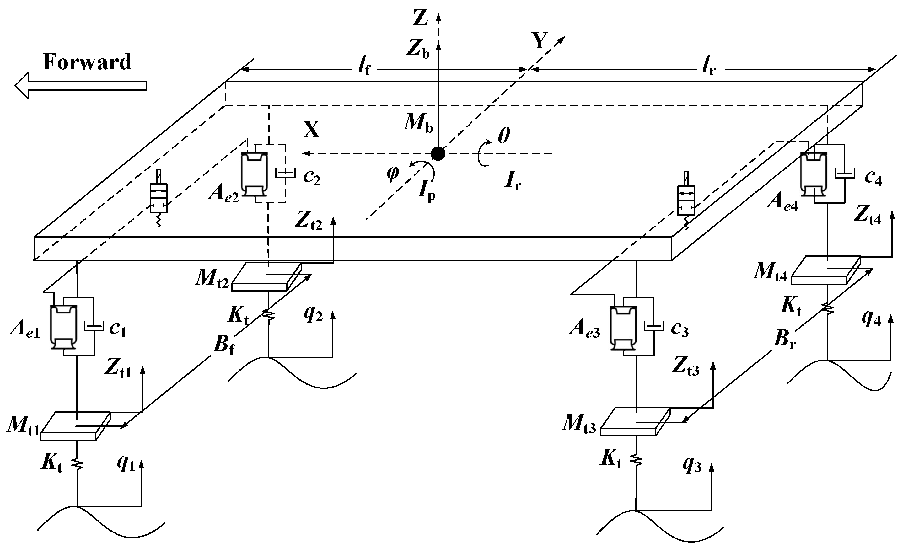
2.1. Modeling of the Vehicle and Air Suspensions
2.2. Model of Interconnection Pipeline and Valve
2.3. Generation of Road Excitations
3. Sliding Mode Controller for Interconnection
4. Simulations and Analysis
4.1. Simulation Settings
4.2. Simulation Results Under Varying Situations
5. Conclusions
Author Contributions
Funding
Acknowledgments
Conflicts of Interest
References
- Marzbanrad, J.; Keshavarzi, A. Chaotic Vibrations of a Nonlinear Air Suspension System under Consecutive Half Sine Speed Bump. Indian J. Sci. Technol. 2015, 8, 72. [Google Scholar] [CrossRef]
- Tseng, H.E.; Hrovat, D. State of the art survey: Active and semi-active suspension control. Veh. Syst. Dyn. 2015, 53, 1034–1062. [Google Scholar] [CrossRef]
- Rath, J.J.; Defoort, M.; Karimi, H.R.; Veluvolu, K.C. Output Feedback Active Suspension Control With Higher Order Terminal Sliding Mode. IEEE Trans. Ind. Electron. 2017, 64, 1392–1403. [Google Scholar] [CrossRef]
- Huang, Y.; Na, J.; Wu, X.; Liu, X.; Guo, Y. Adaptive control of nonlinear uncertain active suspension systems with prescribed performance. ISA Trans. 2015, 54, 145–155. [Google Scholar] [CrossRef] [PubMed]
- Wen, S.; Chen, M.Z.Q.; Zeng, Z.; Yu, X.; Huang, T. Fuzzy Control for Uncertain Vehicle Active Suspension Systems via Dynamic Sliding-Mode Approach. IEEE Trans. Syst. Man, Cybern. Syst. 2016, 47, 24–32. [Google Scholar] [CrossRef]
- Zhang, H.; Zheng, X.; Yan, H.; Peng, C.; Wang, Z.; Chen, Q. Codesign of Event-Triggered and Distributed Filtering for Active Semi-Vehicle Suspension Systems. IEEE/ASME Trans. Mechatron. 2017, 22, 1047–1058. [Google Scholar] [CrossRef]
- Qin, Y.; Zhao, F.; Wang, Z.; Gu, L.; Dong, M. Comprehensive Analysis for Influence of Controllable Damper Time Delay on Semi-Active Suspension Control Strategies. J. Vib. Acoust. 2017, 139, 031006. [Google Scholar] [CrossRef]
- El Majdoub, K.; Ghani, D.; Giri, F.; Chaoui, F.Z. Adaptive Semi-Active Suspension of Quarter-Vehicle with Magnetorheological Damper. J. Dyn. Syst. Meas. Control. 2014, 137, 021010. [Google Scholar] [CrossRef]
- Sharma, S.K.; Kumar, A. Ride performance of a high speed rail vehicle using controlled semi active suspension system. Smart Mater. Struct. 2017, 26, 055026. [Google Scholar] [CrossRef]
- Nie, S.; Zhuang, Y.; Liu, W.; Chen, F. A semi-active suspension control algorithm for vehicle comprehensive vertical dynamics performance. Veh. Syst. Dyn. 2017, 96, 1–24. [Google Scholar] [CrossRef]
- Martini, A.; Bellani, G.; Fragassa, C. Numerical Assessment of a New Hydro-Pneumatic Suspension System for Motorcycles. Int. J. Automot. Mech. Eng. 2018, 15, 5308–5325. [Google Scholar] [CrossRef]
- Palomares, E.; Morales, A.L.; Nieto, A.J.; Chicharro, J.M.; Pintado, P. Modelling Magnetorheological Dampers in Preyield and Postyield Regions. Shock. Vib. 2019, 2019, 1–23. [Google Scholar] [CrossRef]
- Gadhvi, B.; Savsani, V.; Patel, V.K. Multi-Objective Optimization of Vehicle Passive Suspension System Using NSGA-II, SPEA2 and PESA-II. Procedia Technol. 2016, 23, 361–368. [Google Scholar] [CrossRef]
- Seifi, A.; Hassannejad, R.; A Hamed, M. Optimum design for passive suspension system of a vehicle to prevent rollover and improve ride comfort under random road excitations. Proc. Inst. Mech. Eng. Part K J. Multi-body Dyn. 2016, 230, 426–441. [Google Scholar] [CrossRef]
- Mitra, A.C.; Desai, G.J.; Patwardhan, S.R.; Shirke, P.H.; Kurne, W.M.; Banerjee, N. Optimization of Passive Vehicle Suspension System by Genetic Algorithm. Procedia Eng. 2016, 144, 1158–1166. [Google Scholar] [CrossRef]
- Odabaşı, V.; Maglio, S.; Martini, A.; Sorrentino, S. Static stress analysis of suspension systems for a solar-powered car. FME Trans. 2019, 47, 70–75. [Google Scholar] [CrossRef]
- Suda, Y.; Nakadai, S.; Nakano, K. Hybrid Suspension System with Skyhook Control and Energy Regeneration (Development of Self-Powered Active Suspension). Veh. Syst. Dyn. 1998, 29, 619–634. [Google Scholar] [CrossRef]
- Xie, X.; Wang, Q. Energy harvesting from a vehicle suspension system. Energy 2015, 86, 385–392. [Google Scholar] [CrossRef]
- Khoshnoud, F.; Zhang, Y.; Shimura, R.; Shahba, A.; Jin, G.; Pissanidis, G.; Chen, Y.K.; De Silva, C.W. Energy Regeneration From Suspension Dynamic Modes and Self-Powered Actuation. IEEE/ASME Trans. Mechatronics 2015, 20, 2513–2524. [Google Scholar] [CrossRef]
- Xu, X.; Sardahi, Y.; Zheng, C. Multi-Objective Optimal Design of Passive Suspension System With Inerter Damper. In Proceedings of the ASME 2018 Dynamic Systems and Control Conference, Atlanta, GA, USA, 30 September–3 October 2018; ASME: New York, NY, USA; p. V003T40A006, Paper No. DSCC2018-9011. [Google Scholar]
- Shen, Y.; Chen, L.; Yang, X.; Shi, D.; Yang, J. Improved design of dynamic vibration absorber by using the inerter and its application in vehicle suspension. J. Sound Vib. 2016, 361, 148–158. [Google Scholar] [CrossRef]
- Moheyeldein, M.; Abd-El-Tawwab, A.M.; El-Gwwad, K.A.; Salem, M. An analytical study of the performance indices of air spring suspensions over the passive suspension. Beni-Suef Univ. J. Basic Appl. Sci. 2018, 7, 525–534. [Google Scholar] [CrossRef]
- Zhu, H.; Yang, J.; Zhang, N.; Feng, X. A novel air spring dynamic model with pneumatic thermodynamics, effective friction and viscoelastic damping. J. Sound Vib. 2017, 408, 87–104. [Google Scholar] [CrossRef]
- Le, V.Q. Comparing the performance of suspension system of semi-trailer truck with two air suspension systems. Vibroeng. Procedia 2017, 14, 220–226. [Google Scholar] [CrossRef]
- Sun, X.; Cai, Y.; Wang, S.; Liu, Y.; Chen, L. A hybrid approach to modeling and control of vehicle height for electronically controlled air suspension. Chin. J. Mech. Eng. 2015, 29, 152–162. [Google Scholar] [CrossRef]
- Zhao, J.; Wong, P.K.; Xie, Z.; Wei, C.; He, F. Integrated variable speed-fuzzy PWM control for ride height adjustment of active air suspension systems. In Proceedings of the 2015 American Control Conference (ACC), Chicago, IL, USA, 1–3 July 2015; pp. 5700–5705. [Google Scholar]
- Zepeng, G.; Jinrui, N.; Lian, L.; Xiaolin, X. Research on Air Suspension Control System Based on Fuzzy Control. Energy Procedia 2017, 105, 2653–2659. [Google Scholar] [CrossRef]
- Eskandary, P.K.; Khajepour, A.; Wong, A.; Ansari, M. Analysis and optimization of air suspension system with independent height and stiffness tuning. Int. J. Automot. Technol. 2016, 17, 807–816. [Google Scholar] [CrossRef]
- Zhu, H.; Yang, J.; Zhang, Y. Modeling and optimization for pneumatically pitch-interconnected suspensions of a vehicle. J. Sound Vib. 2018, 432, 290–309. [Google Scholar] [CrossRef]
- Li, W.; Chen, Y.; Zhang, S.; Mao, E.; Du, Y.; Wen, H. Damping Characteristic Analysis and Experiment of Air Suspension with Auxiliary Chamber. IFAC-PapersOnLine 2018, 51, 166–172. [Google Scholar] [CrossRef]
- Jiang, H.; Wang, Z.; Kong, L. Neural-Fuzzy Control Applied in Adjustable Volume Air Suspension with Additional Air Chambers. J. Chongqing Univ. Technol. Nat. Sci. 2017, 3, 1. [Google Scholar]
- Xu, X.; Nannan, Z. Dynamic Modeling and Simulation Analysis of Interconnected Air Suspension System. SAE Tech. Paper Series 2016, 1. [Google Scholar] [CrossRef]
- Azman, M.; King, P.D.; Rahnejat, H. Combined bounce, pitch, and roll dynamics of vehicles negotiating single speed bump events. Proc. Inst. Mech. Eng. Part K J. Multi-body Dyn. 2007, 221, 33–40. [Google Scholar] [CrossRef]
- Azman, M.; Rahnejat, H.; King, P.D.; Gordon, T.J. Influence of anti-dive and anti-squat geometry in combined vehicle bounce and pitch dynamics. Proc. Inst. Mech. Eng. Part K J. Multi-Body Dyn. 2004, 218, 231–242. [Google Scholar] [CrossRef]
- Smith, M.C.; Walker, G.W. Interconnected vehicle suspension. Proc. Inst. Mech. Eng. Part D J. Automob. Eng. 2005, 219, 295–307. [Google Scholar] [CrossRef]
- Zou, J.; Guo, X.; Abdelkareem, M.A.; Xu, L.; Zhang, J. Modelling and ride analysis of a hydraulic interconnected suspension based on the hydraulic energy regenerative shock absorbers. Mech. Syst. Signal Process. 2019, 127, 345–369. [Google Scholar] [CrossRef]
- Ding, F.; Han, X.; Zhang, N.; Luo, Z. Characteristic analysis of pitch-resistant hydraulically interconnected suspensions for two-axle vehicles. J. Vib. Control. 2014, 21, 3167–3188. [Google Scholar] [CrossRef]
- Chen, Y.; Peterson, A.W.; Ahmadian, M. Achieving anti-roll bar effect through air management in commercial vehicle pneumatic suspensions. Veh. Syst. Dyn. 2018, 57, 1775–1794. [Google Scholar] [CrossRef]
- Chen, Y.; Ahmadian, M.; Peterson, A. Pneumatically Balanced Heavy Truck Air Suspensions for Improved Roll Stability. SAE Technical Paper Series 2015, 1. [Google Scholar] [CrossRef]
- Higginbotham, W. Interconnected Air Suspension. U.S. Patent 2,988,372, 13 June 1961. [Google Scholar]
- Chen, Y.; He, J.; King, M.; Chen, W.; Zhang, W. Effect of driving conditions and suspension parameters on dynamic load-sharing of longitudinal-connected air suspensions. Sci. China Ser. E Technol. Sci. 2012, 56, 666–676. [Google Scholar] [CrossRef]
- Chen, Y.; Huang, S.; Davis, L.; Du, H.; Shi, Q.; He, J.; Wang, Q.; Hu, W. Optimization of Geometric Parameters of Longitudinal-Connected Air Suspension Based on a Double-Loop Multi-Objective Particle Swarm Optimization Algorithm. Appl. Sci. 2018, 8, 1454. [Google Scholar] [CrossRef]
- Li, Z.X.; Cui, Z.; Xu, X.; Qiu, Y.D. Experimental Study on the Dynamic Performance of Pneumatically Interlinked Air Suspension. J. Mach. Des. Manuf. 2014, 14, 82–86. [Google Scholar]
- Cui, Z. Study on the Performance of Semi-active Laterally Interconnected Air Suspension and Its Hierarchical Control. Ph.D. Thesis, Jiangsu University, Suzhou, China, 2014. [Google Scholar]
- Li, Z.; Ju, L.; Jiang, H.; Xu, X. Imitated skyhook control of a vehicle laterally interconnected air suspension. Int. J. Veh. Des. 2017, 74, 204. [Google Scholar] [CrossRef]
- Hegazy, S.; Rahnejat, H.; Hussain, K. Multi-body dynamics in full-vehicle handling analysis. Proc. Inst. Mech. Eng. Part K J. Multi-body Dyn. 1999, 213, 19–31. [Google Scholar] [CrossRef]
- Blundell, M. The modelling and simulation of vehicle handling Part 2: Vehicle modelling. Proc. Inst. Mech. Eng. Part K J. Multi-body Dyn. 1999, 213, 119–134. [Google Scholar] [CrossRef]
- Ma, X.; Wong, P.K.; Zhao, J.; Zhong, J.; Ying, H.; Xu, X.; Huang, Y. Design and Testing of a Nonlinear Model Predictive Controller for Ride Height Control of Automotive Semi-Active Air Suspension Systems. IEEE Access 2018, 6, 63777–63793. [Google Scholar] [CrossRef]
- Qin, Y.; Wei, C.; Tang, X.; Zhang, N.; Dong, M.; Tang, X. A novel nonlinear road profile classification approach for controllable suspension system: Simulation and experimental validation. Mech. Syst. Signal Process. 2019, 125, 79–98. [Google Scholar] [CrossRef]
- Wang, Z.; Qin, Y.; Gu, L.; Dong, M. Vehicle System State Estimation Based on Adaptive Unscented Kalman Filtering Combing With Road Classification. IEEE Access 2017, 5, 27786–27799. [Google Scholar] [CrossRef]
- Qin, Y.; Langari, R.; Gu, L. The use of vehicle dynamic response to estimate road profile input in time domain. In Proceedings of the ASME 2014 Dynamic Systems and Control Conference, San Antonio, TX, USA, 22–24 October 2014; American Society of Mechanical Engineers: New York, NY, USA, 2014. V002T27A002-V002T27A002. [Google Scholar]
- Ammon, D. PROBLEMS IN ROAD SURFACE MODELLING. Veh. Syst. Dyn. 1992, 20, 28–41. [Google Scholar] [CrossRef]
- De Filippis, G.; Palmieri, D.; Soria, L.; Mangialardi, L. System and source identification from operational vehicle responses: A novel modal model accounting for the track-vehicle interaction. arXiv 2017, arXiv:1702.08325. [Google Scholar]
- Mucka, P. Model of coherence function of road unevenness in parallel tracks for vehicle simulation. Int. J. Veh. Des. 2015, 67, 77. [Google Scholar] [CrossRef]







| Parameter | Value | Unit | Parameter | Value | Unit |
|---|---|---|---|---|---|
| P10, P20 | 5.8306 × 105 | Pa | P30, P40 | 6.1817 × 105 | Pa |
| m10, m20 | 0.0166 | kg | m30, m40 | 0.0176 | kg |
| Vi0 | 0.0024 | m3 | Aei0 | 0.009 | m2 |
| dVi/dh | 0.0072 | m2 | dAei/dh | 0.008 | m |
| L, Bf, Br | 1.515 | m | Mb | 1839 | kg |
| Ir | 600 | kg·m2 | Ip | 3500 | kg·m2 |
| Lf | 1.417 | m | Lr | 1.321 | m |
| Mti | 50 | kg | Kt | 260,000 | N/m |
| ci (compress) | 1800 | N·s/m | ci (rebound) | 5400 | N·s/m |
© 2020 by the authors. Licensee MDPI, Basel, Switzerland. This article is an open access article distributed under the terms and conditions of the Creative Commons Attribution (CC BY) license (http://creativecommons.org/licenses/by/4.0/).
Share and Cite
Guowei, D.; Wenhao, Y.; Zhongxing, L.; Khajepour, A.; Senqi, T. Sliding Mode Control of Laterally Interconnected Air Suspensions. Appl. Sci. 2020, 10, 4320. https://doi.org/10.3390/app10124320
Guowei D, Wenhao Y, Zhongxing L, Khajepour A, Senqi T. Sliding Mode Control of Laterally Interconnected Air Suspensions. Applied Sciences. 2020; 10(12):4320. https://doi.org/10.3390/app10124320
Chicago/Turabian StyleGuowei, Dou, Yu Wenhao, Li Zhongxing, Amir Khajepour, and Tan Senqi. 2020. "Sliding Mode Control of Laterally Interconnected Air Suspensions" Applied Sciences 10, no. 12: 4320. https://doi.org/10.3390/app10124320
APA StyleGuowei, D., Wenhao, Y., Zhongxing, L., Khajepour, A., & Senqi, T. (2020). Sliding Mode Control of Laterally Interconnected Air Suspensions. Applied Sciences, 10(12), 4320. https://doi.org/10.3390/app10124320

