History of the Terminal Cataclysm Paradigm: Epistemology of a Planetary Bombardment That Never (?) Happened
Abstract
- Overview of paradigm.
- Pre-Apollo views (1949–1969).
- Initial suggestions of cataclysm (ca. 1974).
- Ironies.
- Alternative suggestions, megaregolith evolution (1970s).
- Impact melt rocks “establish” cataclysm (1990).
- Imbrium redux (ca. 1998).
- Impact melt clasts (early 2000s).
- Dating of front-side lunar basins?
- Dynamical models “explain” the cataclysm (c. 2000s).
- Asteroids as a test case.
- Impact melts predating 4.0 Ga ago (ca. 2008–present.).
- Biological issues.
- Growing doubts (ca. 1994–2014).
- Evolving Dynamical Models (ca. 2001–present).
- Connections to lunar origin.
- Dismantling the paradigm (2015–2018).
- “Megaregolith Evolution Model” for explaining the data.
- Conclusions and new directions for future work.
1. Overview and Origin of Terms
2. Pre-Apollo/Luna Evidence for “Intense Early Bombardment” of the Moon, 1949–1969
3. The Search for Lunar Genesis Rocks and Initial Suggestions of “Terminal Cataclysm,” circa 1974
“Guess what we just found! Guess what we just found!”
“I think we found what we came for.”
“These data point to a period of extensive melting and metamorphism at ~3.95 AE (possibly produced by the Imbrium event at 3.95–4.00 AE?)”
“Contamination of rocks by the dispersed materials in the complex plasma produced by the Imbrium impact have altered some of the isotopic characteristics…Since Imbrium was a relatively young basin forming event, this type of process must have been even more prevalent prior to 4.0 AE. Either the Imbrium [ejecta] blanket has dominated all the materials so far or we must conclude that the major impacts peaked in a relatively short period near 4.0 AE.”
“…we shall present evidence for wide-spread shock metamorphism and element redistribution [at] approximately 3.9 AE which resulted from large-scale impacts on an ancient lunar crust…both the predominance of ~3.9 AE ages and the Pb systematics are the result of extremely heavy, possibly sporadic, bombardment of the Moon from its formation until ~3.9 AE. The intensity of the bombardment was extremely high at ~3.9 and was sharply reduced to a relatively low level after 3.9 AE…we have now accumulated sufficient independent evidence to propose a ~3.9 AE “cataclysm” on an observational basis.”
“This cataclysm is associated with the Imbrium impact and very possibly the formation of Crisium and Orientale and possibly several other major basins in a narrow time interval (~2 × 108 yr or less).”
“We interpret this Pb–U fractionation to be largely the result of major impacts…This cataclysmic event or cluster of events, which may have occurred over a 0.1 AE interval, is most reasonably associated with the formation of major lunar basins…”.
4. Ironies
“Since Ceres is in the middle of the main asteroid belt it must have been impacted by Main Belt asteroids both during and after the Late Heavy Bombardment…The Ceres cratering record is consistent with an impact history that includes the period of the Late Heavy Bombardment…caused by projectiles originating from Main Belt asteroids.”
5. Alternative Suggestions from the Cratering Record, and the Role of Megaregolith: 1970s–1980s
“Beneath the mare fill and in the highlands we might expect a “mega-regolith” perhaps kilometers in thickness, created by the final stages of the lunar accretion flux. This large regolith may be compatible with the essentially saturated distribution of 10–100 km craters on the highlands and far-side…”
“…mega-regolith of depth on the order 2 km should exist in the terrae (possibly with cementing at depth). The column between the mare surface and basin-floor basements contains highly variable amounts of fragmental material depending on the formation dates of the specific basins.”
“The 4 b.y. peak in the Ar 39/40 age distribution for lunar highland rocks may be caused by: 1. the Imbrium event; 2. a sharp decrease in the rate of formation of craters. This latter possibility calls for a cratering rate so high before 4 b.y. that few rock ages survive and a rate so low after 4 b.y. that few rock ages are produced.”
“There was no major series of events which produced the “terminal lunar cataclysm” approximately 3.95 × 109 y ago. The magnitude and timing of the Imbrium collision was the single overwhelming event at that time.”
“The scarcity of old (>4 AE) lunar rocks is here derived as a natural consequence of known paleocratering chronology. Explosive mega-regolith formation prior to 4 AE brecciated and heated most earlier material.”
“…the record is consistent with a major spike of basin forming collision between about [4.00 and 3.85 Ga ago]. Whether impacts spread over 200 m.y. constitute a “cataclysm” may be left to experts in semantics; the term is now too thoroughly entrenched in the lunar literature to be changed.”
6. Impact Melt Rock Age Statistics “Establish” a Cataclysm, circa 1990
“Among lunar samples there are no impact melts dated older than about 3.9 Ga, [whereas] a heavy bombardment of the Moon from its birth until 3.9 Ga should have produced many melts…The absence of older impact melts cannot be explained by continued isotopic resetting because ejecta are mainly cold and ancient igneous rock [still] exist. The common 3.85-Ga melt ages cannot be ascribed to a single or even a few basin events (e.g., Imbrium) because the samples show wide differences in chemistry and real, if small, differences in ages; the ages also appear in lunar meteorites and are thus Moon-wide.”
“…the separate concept of a late intense ‘terminal lunar cataclysm’ cogently advocated by Tera et al. (1974) has fallen into almost universal disfavor [following] arguments against it by Baldwin (1974, 1981, 1987) and Hartmann (1975).”
“The lunar data are consistent with only light bombardment in the first 600 m.y. and then an intense cataclysmic bombardment…The arguments…suggest that the rapid accretion of the Moon was over by 4.45 Ga at the latest, and that it…was fairly undisturbed by exogenic processes from ~4.45 to ~3.9 Ga ago. During this period cratering was light and did not produce a megaregolith more than several hundred meters thick…No impact melts from this period have been recognized. This period cannot, therefore, be interpreted as one of heavy bombardment. At ~3.9 Ga a catastrophic cratering period started, and it was over by ~3.81 Ga. During this time, not only about a dozen multi-ring basins formed, but also almost all the visible craters of pre-Orientale age.”
“…both the predominance of ~3.9 AE ages and the Pb systematics are the result of extremely heavy, possibly sporadic, bombardment of the Moon from its formation until ~3.9 AE.”
7. Imbrium Redux, circa 1998
“The origin of mafic impact melt breccias bears on many lunar problems: the nature of the late meteoroid bombardment (cataclysm); the special distribution of KREEP [materials with enhanced K, rare earth elements, and P], both near the surface and at depth; the ages of the major basins…Thus it is crucial that [their] origin…be accurately understood…We suggest that the narrow range of ages of 3.7–4.0 Ga for all successfully dated mafic impact-melt breccias may reflect a single event whose age is difficult to measure precisely, rather than a number of discrete impact events closely spaced in time.”
8. Lunar Impact Melt Data from a New Source: Clasts in Lunar Meteorites, circa 2000
“…surprising wide-spread isotopic disturbances at 3.9 × 109 years ago…attributed to…an enormous number of asteroid and/or cometary collisions in a brief pulse of time…This single event would have created the large basin structures and resurfaced much of the moon.”
“…a short, intense period of bombardment…at ~3.9 Ga. This was an anomalous spike of impact activity on the otherwise declining impact–frequency curve?”
“Cohen et al. [2000] recently confirmed the hypothesis that the Moon was resurfaced by an intense period of impact cratering ~3.9 Ga ago and, by inference, that the Earth also sustained bombardment.”
“We interpret these samples to have been created in at least 6, and possibly 9 or more, different impact events. One…may be consistent with the Apollo impact-melt rock age cluster at 3.9 Ga, but the meteorite impact-melt clasts at this age are different in chemistry from the Apollo samples, suggesting…a lunar-wide phenomenon. No meteorite impact melts have ages more than 1σ older than 4.0 Ga. This observation is consistent with, but does not require, a lunar cataclysm.”
9. Do Apollo/Luna Samples Date 5 Different Front-Side Basins? The Radiometric/Petrologic Approach, circa 2001
“The survival probability of basin melt at the Apollo and Luna sampling sites is quantitatively assessed…The relatively young Imbrium melt might be abundant at Apollo 14–17 sampling sites with a fraction ranging from 0.3 to 0.6; Crisium melt could be found at Luna 20 and Apollo 17 sampling sites with a similar fraction about 0.05, each. The relatively old Serenitatis melt was exposed to heavy subsequent gardening, and its abundance should be much less or zero at these sampling sites. The observed prominent peak around 3.88 Ga, the lower values around 4.09 Ga, and the general absence around 4.13 Ga in the K–Ar isotopic ages from Apollo and Luna highland samples are consistent with our simulation results. We...conclude that, particularly for the case of Imbrium, the clustered radiometric ages around 3.9–4.0 Ga for Apollo and Luna highland samples supports a sample bias, rather than the cataclysm scenario.”
“1. The Sculptured Hills material of the Montes Taurus [in and around Serenitatis] is a distal facies of Imbrium basin ejecta and is not directly related to the Serenitatis basin forming impact. 2. The relative age of Serenitatis is pre-Nectarian… 3. Impact melt samples returned by the Apollo 17 mission may not be derived from the Serenitatis basin forming impact but could instead be from Imbrium.”
- In class 8 versus class 7 for Nectaris, according to 10 classes based on rim morphology (oldest = 10) defined by Baldwin (1969 [97]), who combined crater counts with morphological traits;
- 17th oldest versus 11th oldest for Nectaris, out of 27 basins listed in “approximate relative age sequence” based on “degree of modification” which included rim and ejecta clarity, size of largest superimposed crater, and subjective judgments by Stuart–Alexander and Howard (1970 [90]);
- 28th oldest versus 14th oldest for Nectaris, out of 31 basins based on measured crater densities measured by Hartmann and Wood (1971 [20]);
- Oldest versus 11th oldest for Nectaris, out of 30 basin structures, according to the N(20) crater densities (cumulative density at D >20 km), measured by Fassett et al. (2012 [88]);
- Tied for 16th oldest versus 1st–3rd oldest for Nectaris, out of 29 measured basins in N(64) 64-km craters listed by the same authors (Fassett et al. 2012 [88]). N(64) had poorer statistics than N(20), due to the smaller number of large craters.
- Hartmann and Wood (1971 [20]) fitted their crater counts to isochron curves over wide range of diameters and found Serenitatis has 1.8 times higher impact crater density than Nectaris.
- Fassett et al. (2012 [88]) found Serenitatis has 2.3 times higher crater density than Nectaris using their statistic for craters larger than 20 km.
- Fassett et al. (2012 [88]) found Serenitatis has 1.6 times the crater density of Nectaris, using their statistic for craters larger than 64 km.
- (An aside: Stuart–Alexander and Howard (1970 [90]) did not list or apparently measure crater densities).
- (Another aside: Baldwin (1969 [97]) provided fewer clear data. He listed logarithmic values of crater densities, but the value listed for Serenitatis appears to be a misprint or typo, since it is markedly lower than the value for Imbrium or Nectaris, contradicting his own table, which indicates that the crater density range that correlates with Serenitatis’s rim morphology is his oldest class, class 8. If we use the range of crater densities he gives for that class, Baldwin’s (1969 [97]) value for the ratio of Serenitatis to Nectaris crater densities would be 1.1 to 1.8, which overlaps with the range of the later measurements listed above).
“Most of the fragments are of [plutonic anorthosite/norite/troctolite] rock not unlike the Apollo 16 suite; some are of low-K KREEP composition…They have been dated at 3.84 ± 0.04 aeons…an age consistent either with a [pre-Imbrium] age of Crisium or with an Imbrian age…In view of the small size of the sample and the difficulties encountered in dating the larger Apollo 16 and 17 sample suites, no firm conclusions should be based on this age despite its apparent analytical precision.”
10. Dynamical Models “Explain” the Terminal Cataclysm, circa 2005
“Our results support a cataclysmic model for the lunar LHB…our simulations reproduce two of the main characteristics attributed to this episode: (1) the 700 Ma delay between the LHB and terrestrial planet formation, and (2) the overall intensity of lunar impacts. Our model predicts a sharp increase in the impact rate at the beginning of the LHB…Our model predicts the LHB lasted from between ~10 Ma and ~150 Ma.”
11. The Asteroids as Another Test Case, circa 2003–2013
“The asteroid belt was also strongly perturbed, with [asteroids] supplying a significant fraction of the LHB impactors…Our model predicts that the asteroid belt was depleted by a factor of ~10 during the LHB.”
“KREEP-rich melt breccias representing the Apollo 17 poikilitic suite are enriched in highly siderophile elements (3.6–15.8 ppb Ir) with CI-normalized patterns that are elevated in Re, Ru and Pd relative to Ir and Pt. The restricted range of lithophile element compositions combined with the coherent siderophile element signatures indicate formation of these breccias in a single impact event involving an EH [high enstatite] chondrite asteroid…probably as melt sheet deposits from the Serenitatis Basin. One exceptional sample, a split from melt breccia, has a distinctive lithophile element composition and a siderophile element signature more like that of ordinary chondrites, indicating a discrete impact event…”
“Oxygen isotope compositions of [the mafic] fragments are within the ranges exhibited by ordinary chondrite and CC chondrite [but because] of the large uncertainties associated with analyses of such small particles…the error bars statistically overlap the terrestrial fractionation line…and compositions of lunar rocks, achondritic meteorites, and enstatite chondrites. The Mg-rich [mafic fragment] compositions imply that those isotope compositions were established in a region of the solar nebula with near-solar redox conditions, similar to carbonaceous and enstatite chondrites…”
12. Pre-4.0 Impact Melts in Upland Breccias, circa 2008–Present
- Fernandes et al. (2008 [129]) found a “4.2 Ga impact age in samples from Apollo 16 and 17” (their title), and emphasized that the recurrence of the ~4.2 age suggested major impacts did occur before Ga ago. They conclude “…it is suitable to say that a significant impact event(s) occurred at ~4.2 Ga….”
- Nemchin et al. (2008 [130]) studied 105 zircons from Apollo 14 and 17 breccias, interpreting U–Pb ages as referring to magmatic events, but possibly initiated by impacts. Of these zircons, they found (their p. 685) that “only a few are younger than 4.00 Ga [and] only one has an age of ca. 3.85 Ga” (around the time of the putative cataclysm). Instead, at both sites they found strong peaks at 4.33 to 4.35 Ga (involving about 40 of the samples), and also possibly 4.2 Ga (their Figure 10). They proposed that large impacts at those two times triggered significant pulses of KREEP magmatism. Their interpretation favors a model with high cratering rates before 4.0 Ga, rather than very low rates as in the classic Ryder cataclysm model.
- Pidgeon et al. (2010 [131]) referred to the U–Pb zircon ages and discussed the strong peak in ages 4.338 ± 0.005 Ga among Apollo 14 samples and 4.341 ± 0.003 Ga among Apollo 17 samples. They concluded that the Moon experienced “a massive impact…at ~4.34 Ga,” and that this impact “was possibly the largest in lunar history since crystallization of the magma ocean”.
- Based on certain Apollo 16 sample ages ~4.2 Ga, Norman and Nemchin (2012 [102]) stated, “Crystallization ages of lunar impact melt rocks provide the primary evidence for a spike in the impact flux at ~3.9 Ga. Here, we report U–Pb isotopic ages of accessory phases (apatite, zirconolite) in lunar melt breccia 67,955 that confirm a crystallization age of ~4.2 Ga and reveal a younger overprint possibly related to entrainment of the breccia by one or more younger basins such as Imbrium”.
- Grange et al. (2013 [132]) presented a distribution of U–Pb ages of lunar zircon grains from Apollo 12, 14, 15, and 17 landing sites, confirming the largest peak at about 4.33 Ga ago, but with a second-largest peak at 4.20 Ga ago, and a third largest peak at ~4.23 Ga ago, suggesting these may all represent basin-scale impacts. “If this is true…the meteorite flux that affected the early moon…lasted from about 4350 Ma to 3900 Ma, with a decrease in either size or frequency of impacts along this time interval. No major impact able to produce a melt sheet [in which zircons formed] took place after 3900 Ma”.
- Norman et al. (2015 [103]) argued that the Apollo 16 clasts with ~4.2 Ga ages have chemical and other affinities with the Imbrium region of the Moon, not the Nectaris (Apollo 16) region. They affirm that the 4.2 Ga age represents a basin-forming impact, but they suggest that the source, instead of being Nectaris, is a pre-Imbrium basin formed near the Imbrium impact site but then obliterated by the Imbrium impact. In this view, Imbrium ejecta, collected at the Apollo 16 site, entrained impact melts from the earlier basin. As we have already discussed (see Section 7 and Hartmann 2003 [52], p. 589ff), Imbrium is so big that impact melt fragments from pre-Imbrium basins in that location could plausibly have been excavated by the Imbrium impact.
13. Biological, Geological, and Meteoritical Issues, circa 1988–present
- Maher and Stevenson (1988 [133], even before Ryder’s “strong form” of the terminal cataclysm paradigm) spoke of the “impact frustration of the origin of life” (their title, a phrase later widely adopted). They placed the earliest opportunity for biogenesis on land at 4.0 to 3.7 Ga ago.
- In their 2000 paper, Cohen, Swindle, and Kring [69], in asserting the isotopic “support for the lunar cataclysm” at 3.9 Ga, noted that “Coincidentally, the earliest isotopic evidence of life on Earth is also ~3.9 Ga. If a swarm of impactors at 3.9 Ga returned the surface of Earth to a hot and energetic state, the rise or evolution of life on Earth would have been affected.”
- Levison et al. (2001 [12]), in developing the planet migration idea, stated that “Certainly, the end of the LHB marks the beginning of the epoch when the sustained origins of life became possible on the earth.” This could be true whether “LHB” is defined as a single spike after ~500 Ma of low impact, or, as in more recent usage, merely the tail end of a still more intense early bombardment. This comment ignores the idea that if many basins, and much of the upland cratering, pre-dated 4.0 Ga, the environment at 3.9 Ga ago could have been much more benign than in the classic “single spike” terminal cataclysm model.
- Koeberl (2006 [134]), in a major review of “The record of impact processes on the early Earth” (his title), accepted “convincing evidence that the Moon experienced an interval of intense bombardment with a maximum at ca. 3.85 ± 0.05 Ga,” and concluded “The consequences for the Earth must have been devastating, although the exact consequences are the subject of debate…So far, no unequivocal record of a late heavy bombardment on the early Earth has been found”.
- Ćuk (2012 [135]), in the first sentences of an abstract, states “The Moon has suffered intense impact bombardment ending at 3.9 Gyr ago, and this bombardment probably affected all of the inner solar system,” and comments “…the last episode of bombardment at about 3.85 Gyr ago,” while stating that it “was less extensive than previously thought”.
- Perkins (2014 [136]), writing in Science, reviewed recent Czech experiments indicating that conditions during cosmic impacts can transform simple precursor materials into then nucleobases in RNA, stating that “During a period aptly dubbed the Late Heavy Bombardment, which began about 4 billion years ago and lasted some 150 million years, large objects pummeled our planet and Moon, as well as Mercury, Venus, and Mars.” The article quotes an astrobiologist commenting on the Czech work, saying that it “… nicely correlates the Late Heavy Bombardment and the energy it delivered to Earth about 4 billion years ago with the formation of RNA and DNA nucleobases …”.
- Spray (2016 [57]), writing in the Annual Review of Earth and Planetary Sciences about the important issue of regolith lithification mechanisms, presented the “Late Heavy Bombardment” as a known “period between 4.1 and 3.8 Ga, when at least the inner solar system underwent enhanced bombardment by asteroids and comets” (his p. 142).
- Li and Hsu (2018 [137]) introduced a study of impact history of the L chondrite parent body by stating “Impact rates were much higher in the early stages of solar system evolution, as recorded by the well-known Moon-forming giant impact at 4.4–4.5 Ga…and the Late Heavy Bombardment (~3.8–4.2 Ga).” Regarding the LHB statement, they cited Kring and Cohen (2002 [72]) and Marchi et al. (2012 [138]).
- Lowe and Byerly (2018 [139]) reviewed “The terrestrial record of Late Heavy Bombardment” (their title and capitalization), giving a valuable overview of earlier terrestrial data on impact spherule beds, offering a “…terrestrial record of large impacts from at least 3.47 to 3.22 Ga and from 2.63 to 2.49 Ga.” They concluded that “…high impact rates either continuous or as impact clusters persisted until at least the close of the Archean at 2.5 Ga.” As will be discussed further in Section 17, Bottke et al. (2012 [140]) and Bottke and Norman (2017 [141]) had already also cited the existence of these clusters, and extended the LHB definition to include a gradually declining impact flux as late as 2.5 Ga ago. Picking up on that semantic lead from the planetary community, Lowe and Byerly (2018 [139]) supported a long-extended “LHB,” stating that “…between about 3.47 and 3.22 billion years ago, the Earth was struck by at least 8 and probably many more large asteroids between 20 and 50 km in diameter and some perhaps much larger. These objects were part of a continuing rain of extraterrestrial objects striking the Earth that commenced at the start of the Late Heavy Bombardment some time before 4.0 Ga, gradually declined over the next billion and a half years, and ended sometime after 2.5 Ga.” From the point of view of the present paper, that last sentence is ironic, because their description of LHB is, in fact, precisely contrary to the original definition of LHB.
- Sleep et al. (1989 [142]) pointed out that terrestrial impacts of basin-forming scale could have boiled away large fractions of ocean water on primordial Earth. Thus, it was possible to suggest that instead of being concentrated in one cataclysmic LHB destructive era at 3.9 Ga, causing a one-time wipe-out of earlier biochemical “experiments” dating from the 400 Ma “lull” in impacts, cycles of destruction, and biogenesis may have happened many times. There may have been many independent terrestrial developments and destructions of molecular proto-life forms, dependent on the half-life of decline in the early impact rate and the stochastic intervals between pre-4.0 Ga large impacts versus the unknown timescale for development of life forms under more ideal conditions.
- Ryder (2002 [143]) re-evaluated the mass flux and effects of the terminal cataclysm on Earth during the putative cataclysm. He concluded that such effects were inadequate to destroy biological activity and require a re-booting of the origin of life: To cite his abstract, “…there is no justification for the claim that life originated (or re-originated) as late as 3.85 Ga in response to the end of hostile impact conditions”.
- Similarly, Lowe and Byerly (2018 [139] p. 58) estimate, from the terrestrial spherule beds, cratering rates in the interval 3.47 to 3.22 Ga, as being ~32 to as much as ~320 times the current rate or perhaps higher. The estimates are crude, depending on the interpretations of how many different impacts are being detected and whether the Archean impacts occurred in concentrated spikes. They are not, however, out of line with lunar data. From the similarly crude lunar Apollo site curve of cratering versus sample age, Hartmann (1972 [33], Figure 5) estimated the cratering rate in that same interval as descending from 20 to about 8 times the current rate. Neukum et al. (2001 [38] Figure 11) show a similar result descending from about 13 to 4 times the current rate in that period. While the Neukum curve of declining flux showed a virtually constant cratering rate after ~3.0 Ga ago, papers by Quantin et al. (2007 [40]) and Hartmann et al. (2007 [42]) gave supporting evidence that the early lunar and terrestrial impact rate was still declining after 3.0 Ga ago.
14. Doubts about the “Classic Cataclysm,” circa 2003–2014
- Hartmann (2003 [52]) pointed out the inconsistencies of the classic cataclysm/LHB models with impact-related lunar meteorite and asteroidal data, concluding that “The hypothesis that a lunar or inner-solar-system-wide cratering cataclysm occurred ~3.9 Ga ago is not established, and comparison of Apollo/Luna samples, lunar meteorites, and asteroidal meteorites does not give compelling evidence for it”.
- Norman et al. (2007 [144]) presented evidence for a 4.2 Ga age of Apollo melt rock, noting that “earlier discussions of the lunar impact record emphasizing the lack of events significantly older than 3.9 Ga may need to be revised”.
- Norman (2009 [145]), under the title “The Lunar Cataclysm: Reality or ‘Mythconception,’” described the “cataclysm hypothesis” as “far from proven”.
- Lineweaver (2010 [146]), under the title “Crater-counting Evidence against the Late Heavy Bombardment Hypothesis” concluded “Our analysis does not support the LHB hypothesis as articulated by Ryder, nor do we find the data from impact breccias, glass spherules or lunar meteorites supportive of LHB”.
- Ćuk et al. (2010 [147]), as cited again by Ćuk (2012 [135]), argued that “the record of the cataclysm does not match the predictions of the planetary migration-based models.” Ćuk (2012 [135]) argued that the Imbrium and Orientale impactors were too big to fit into the previous population of impactors and were produced by “a non-asteroidal impactor population, while planetary migration predicts the late impactors to be derived from main-belt asteroids (Gomes et al. 2005) [109].” The latter reference was invoking the Nice model.
- Hartmann (2012 [148]) re-emphasized that accumulating empirical data conflicted with the “classic” LHB model, noting also that the Orientale impactor might have been a satellite of the Imbrium impactor (allowing near-simultaneous formation; see discussion in next section), and that the distinctive feature of the era 4.1–3.8 Ga ago was that before that interval, the cratering rate across the whole size distribution was so high that rocks created or placed in lunar near-surface layers had much reduced chance of surviving intact to be collected or ejected to Earth today, but after that interval, survival was more common.
- Morbidelli, Marchi, Bottke, and Kring (2012 [149]) pursued dynamical models that could allow intense cratering in the pre-4.0 Ga era, and concluded “We deduce that…the impact flux did not decline exponentially over the first billion years…but also there was no prominent and narrow impact spike ~3.9 Gy ago…[Also], the timeline of the lunar bombardment has a sawtooth-like profile, with an uptick…near ~4.1 Gy ago …”
- Fernandes et al. (2013 [150]) reported 40Ar–39Ar ages including an Apollo 16 breccia with impact melt dating from 4.293 ± 0.044 Ga. Combining their results with those of other authors, they advocated a complex bombardment history with generally declining flux throughout the first 600 Ma.
- Merle et al. (2013 [151]) reported U–Pb ages of zircons in samples interpreted as excavated from Cone Crater in the Fra Mauro Imbrium ejecta blanket at the Apollo 14 site. These samples included have not only the youngest ages of 3.900 ± 0.027 Ga and 3.932 ± 0.023 Ga (Imbrium ages), but also larger spikes at ~4.21 and ~4.34 Ga from material underlying the Imbrium layer.
- Norman and Nemchin (2014 [152]) described an array of radiometric ages (some from impact melts) around 4.1–4.3 Ga and stated that “The U–Pb isotopic compositions of zirconolite and apatite in lunar melt rock 67,955 establish a basin scale impact melting event on the Moon at 4.2 Ga followed by entrainment of the melt rock in…ejecta [~300 Ma] later…The ages of lunar zircons and metamorphosed breccias also suggest that multiple large impacts occurred on the Moon at around [4.1–4.2 Ga ago], but the sizes of those events is difficult to establish...The strong version of the late cataclysm hypothesis in which all of the lunar basins formed between 3.8 and 4.0 G … appears untenable.@
15. Evolving Dynamical Models (and the Issue of Large Basins), 2001–Present
- ~4.4 Ga ago (post-accretion impact rate, planetesimals being scattered into higher eccentricities and inclinations: half-life ~20 Ma (Hartmann 1980 [34], Figure 2)
- Before 4.1 Ga ago: half-life of a Mars-crosser population (calculated as a possible dominant impactor population: 80 Ma (Ćuk 2012 [135] Figure 5 plus text)
- ~4 Ga ago: half-life of decline ~70 Ma (Hartung 1974 [46])
- ~3.9 Ga ago (during Imbrium impact): half-life ~100 Ma (Neukum 1983 [36])
- ~3.8 to 3.0 Ga ago: average half-life ~300 Ma (Hartmann 1972 [33])
- ~3.3 Ga ago: half-life ~350 Ma (Neukum 1983 [36] equation)
- After ~3.4 Ga ago: half-life of “proto-Hungaria” population of impactors: 600 Ma (Ćuk 2012 [135] Figure 5 plus text)
“If a terminal lunar cataclysm (a spike in the crater record ~3.9 Ga ago) really occurred on the moon, it was not caused by the highly-inclined leftover population…”
Bottke et al. (2010 [13]) then pointed out that the giant planet migration would cause the υ6 resonance in the asteroid belt to move, changing the position of the inner edge of the belt. They introduced the term E-belt to refer to a hypothetical primordial portion of the innermost belt extending inward toward Mars, which would allow the period of bombardment to be the stated ~210 Ma.“The Late Heavy Bombardment (LHB) is defined as a period 3.96–3.75 Ga when many lunar basins (e.g., Serenitatis, Imbrium) and impact melts were produced.”
“…the depletion of the E-belt not only produced numerous Hungaria asteroids…but it also created a long-lived tail to the LHB…In the LHB phase, we assumed the Nice model occurred…If we are correct, the LHB lasted 400 Ma, with its end set by Orientale (3.72–3.75 Ga), [and] this puts the start of the LHB at 4.12–4.15 Ga.”
“Here we report that the LHB lasted much longer than previously thought, with most late impactors coming from the E belt [producing not only] 10 lunar basins between 3.7 and 4.1 Gyr ago [but also] 15 terrestrial basins between 2.5 and 3.7 Gyr ago…(Bottke et al. (2012 [140] p. 78)).”
“…we predict the E belt created 8 ± 3 LHB lunar basins, with 2 ± 1 being Imbrium or Orientale-sized. Considering that 3 ± 2 lunar basins should come from the classical main belt (this) limits the scope of the LHB and probably forces Pre-Nectarian basins to come from elsewhere (e.g., leftover planetesimals).”
“Our model results also demonstrate the need for an LHB. [Since] the E belt model[s] have steep decay rates as the LHB begins…shifting the start of the LHB to early solar system times, say 4.5 Gyr ago, would…take away the E belt’s ability to produce late lunar basins …”
“Using the mass-distribution law…about 3 × 1020 g of smaller bodies would strike the moon in the following 200 m.y. [after Imbrium], in agreement with the observed Orientale impact and the crater densities of the highland plains units.”
“The known ancient [terrestrial impact spherule] beds argue for an intense, protracted phase of late terrestrial bombardment. Curiously, these enormous blasts have no obvious source, even though many occurred relatively soon after the formation of the 930-km-diameter lunar basin Orientale…”
“…the need for a break, or inflection point, in the bombardment curve [versus time] at sometime in the 4.1–4.2 Gy interval…This discontinuity defines the signature of a lunar cataclysm.”
“…characterized by two episodes: an early one, due to the decay of the planetesimal population left over from the accretion of terrestrial planets and a late one, dominated by the E-belt projectiles. The early (first ~300 Myr) bombardment could be a generic feature of terrestrial planets …; in contrast the late (after the initial ~300 Myr) bombardment is specific to the evolution of the giant planet [sic] in the Solar System…”.
“…given that large impactors could have struck at relatively late times (for example the expected surge of projectiles at 4.15 Gyr ago via the LHB), zircon production…could have occurred for many hundreds of millions of years, as observed…We argue that the peak of Hadean zircon ages at 4.1–4.2 Gyr reflects the onset of the LHB…Indeed, we find that a scenario with an LHB spike at significant [sic] younger ages, say 3.9 Gyr, is inconsistent with Hadean zircon age distributions.”
“There is an intense debate between two possible interpretations of the data: in the cataclysm scenario there was a surge in the impact rate approximately at the time of Imbrium formation, while in the accretion tail scenario the lunar bombardment declined since the era of planet formation and the latest basins formed in its tail-end…We use updated numerical simulations of the fluxes of asteroids, comets and planetesimals leftover from the planet-formation process…In summary, given the currently available data, models and knowledge, our preference goes to the accretion tail scenario.”
16. Connections to the Origin of the Moon
17. Dismantling of the Terminal Cataclysm/LHB Paradigm, 2015–2018
“The “Late Heavy Bombardment…was a phase in the impact history of the Moon that occurred roughly 4.0 to 3.8 Gyr ago. It was during the LHB that the lunar basins with known dates were formed. The LHB was either the tail end of accretion or it may have been a spike in the impact rate (“terminal cataclysm,” Tera et al. 1974) at that time. In either case, it marks the final epoch when the dominant surface geology of the Moon was created by large impacts…”
“…as a period 3.96–3.75 Ga when many lunar basins (e.g., Serenitatis, Imbrium) and impact melts were produced.”
- Boehnke and Harrison (2016 [53], cited briefly in Section 5 and Section 7) noted that much of the evidence recently marshalled in favor a terminal cataclysm comes from Ar dating. They argued that “diffusive loss of 40Ar from a monotonically declining impactor flux coupled with the early and episodic nature of lunar crust formation” produces spikes in 40Ar/39Ar ages at ~3.9 Ga, producing an appearance of “Illusory Late Heavy Bombardments” (their title). This paper thus had some ancestry in Hartung’s (1974, [46]) mechanism producing an illusory peak in rock ages, although Hartung was not referenced.
- Denevi (2017 [170]) remarked in a review article that “New work has shown that Imbrium ejecta likely litter the Apollo 17 landing site, so the samples thought to date Serenitatis impact may instead date the Imbrium basin. If so, we’re left with diminished evidence that the late heavy bombardment occurred at all—and increased evidence of the monumental effect that the Imbrium impact had on the nearside lunar landscape.” Denevi’s article is titled “The New Moon”; it is interesting to note that while some of the “newness” comes from new data, much of the “newness” refers to the reinterpretation of early data.
- A review article by Zellner (2017 [171]) emphasized that decline of the cataclysm paradigm affects ideas about the origin of terrestrial life. The abstract states “…most evidence supports a prolonged lunar (and thus, terrestrial) bombardment from ~4.2 to 3.4 Ga and not a cataclysmic spike at ~3.9 Ga.” The article noted the ongoing revisions of the Nice model, and her Section titled “A ‘Cataclysm’ No More,” states that:
- Bottke and Norman (2017 [141]) published a major overview of “Late Heavy Bombardment” (their title), in Annual Reviews of Earth and Planetary Sciences, taking a cautious view of the situation. Altering the definition of LHB once again, they stated that “Late Heavy Bombardment refers to impact events that occurred after stabilization of the planetary lithospheres such that they could be preserved as craters and basins.” Taken literally, this could mean that LHB covers the entire history of the Moon after about 4.4 Ga ago. However, adopting Ryder’s rule that lack of detection of impact melts means lack of impacts, they supported a period of “relative quiescence” in impacts from ~4.4 Ga until ~4.2 to ∼4.0 Ga, and a “discrete episode of elevated impact flux” from ~4.2–~4.0 Ga to ~3.5 Ga, i.e., an impact surge or spike lasting at least 500 to 700 Ma. Adding “evidence from Precambrian impact spherule layers” (Bottke et al. 2012 [140]), they suggested a long-lived tail of terrestrial impactors lasted to ~2.0–2.5 Ga, so that the LHB duration would be considered to be 1500 to 2200 Ma. In their conclusions, Bottke and Norman refer to increasingly commonly heard statements that “‘I do not believe in the Late Heavy Bombardment,’” and then they comment:
“It is not clear precisely what this means, but it likely refers to doubts that the Moon and other worlds were hit by a spike of large impact events between ~3.7 and ~3.9 Ga. Given the evidence provided here, we agree that the original basis for a strong version of the Terminal Cataclysm hypothesis has been substantially weakened. With this said, however, it is worth considering that two nearly 1000 km lunar basins, Imbrium and Orientale, formed on the Moon during this short interval. … it is unavoidable that at least some Archean-era impacts on Earth may have been comparable to Orientale-formation events on the Moon. Now that is a late heavy bombardment!”
“We conclude that the statistics of sample ages contradict the terminal cataclysm scenario in the bombardment of the moon…Thus, our general conclusion is that the terminal cataclysm proposed by Tera et al. (1973, 1974) … did not occur.”
“Dynamical models that include populations residual from primary accretion and destabilized by giant planet migration can potentially account for the available observations, although all have pros and cons. The most parsimonious solution to match constraints is a hybrid model with discrete early, post-accretion [impactors] and later, planetary instability-driven populations of impactors.”
“…the once-popular theory has come under attack, and mounting evidence is causing many researchers to abandon it…the community is grappling with the fact that a key chapter of solar system history might be vanishing before their eyes.”
18. A Possible New “Megaregolith Evolution” Model for Explaining Lunar Impact Melt Data
“It is believed that the continuous increase in compressional velocity between the upper first km and 20 km depth is primarily ascribed to the effect of crack closure with increasing pressure…Thus, the continuous increase in velocity from the upper to mid-crust is because of the transition from regolith…to competent crustal materials as pressure increases.”
“2550 kg/m3, substantially lower than generally assumed…with an average crustal porosity of 12% to depths of at least a few kilometers.”
19. Conclusions: Epistemology of a Paradigm, and Future Directions
- Pre-Apollo mission expectations that lunar rocks would represent the entire history of the Moon and Solar System were overly optimistic, and created a subtle, influential bias in the interpretations of post-Apollo lunar samples. By 1973–1990, these interpretations led to the paradigm that a brief, global, bombardment catastrophe occurred at ~3.9 Ga and created most of the present-day lunar multi-ring basins.
- It has been accepted from 1960s crater count evidence that the average lunar impact rate in pre-mare time (≳3.6 Ga ago) was at least 102 higher than today. The major questions now are about the time dependence throughout that period.
- If the lunar highlands are supersaturated with impact craters, then the average cratering rate before 3.6–3.9 Ga ago was significantly higher than 102 times the present rate.
- Comparison of Apollo rock sample ages with crater densities at various lunar landing sites by independent investigators indicates a sharply declining impact rate from ~3.8 Ga ago to ~3 Ga ago, followed by a more nearly constant or slowly declining rate. This is the observed tail end of either an LHB spike or a longer-term decline in pre-3.9 Ga cratering.
- The “classic” terminal cataclysm model, as defined here, derives primarily from work of Tera et al. (1973 [2]; 1974 [3,4]), Turner and Cadogan (1973 [5]), Turner et al. (1973 [6]), and Ryder (1990 [11]). For 30–40 years, the name “terminal cataclysm” has referred to a sudden, short-lived spike in impact rate, centered around 3.9 Ga ago, and lasting for about 150–200 Ma, during which most lunar multi-ring basins formed—with few impacts between ~4.45 and 4.0 Ga ago.
- The term “Late Heavy Bombardment,” later “LHB,” was introduced as early as a 1975 paper by the dynamicist, George Wetherill. Wetherill referenced this to the concept of Tera et al. (1974 [3]), but considered two “senses” of the term involving “storage” of planetesimals: (1) storage preventing impacts until ~3.9 Ga ago, or (2) storage resulting in leakage into a slowly declining impact rate until ~3.9 Ga ago.
- It seems fair to suggest that in the euphoria over the first “ground truth” lunar samples, there was too-willing acceptance of detailed interpretations of radiometric ages that were only 1, 2, or 3 error bars apart as representing different basin ages.
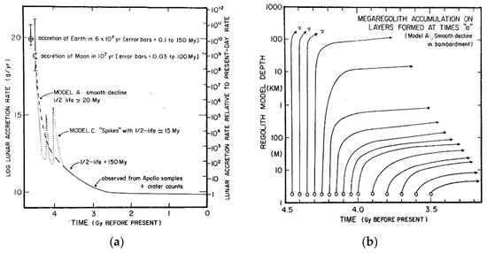
- Some Apollo-era igneous samples dating from ~4.5–~4.4 Ga were associated with primordial crustal history but were fewer than expected by Apollo mission planners. No impact melt samples have been found from the period (see Figure 4).
- Critiques of the emerging terminal cataclysm paradigm began as early as the 1970s, mostly from workers outside the lunar sample and dynamical communities—but were not very effective.
- Tera et al. (1973 [2]) suggested the Imbrium impact as a possible explanation of their terminal cataclysm and maintained this idea (with decreasing emphasis?) in later papers, referring also to some sort of global geochemical event. The connection with Imbrium, briefly but unsuccessfully resurrected by Haskin et al. (1998 [62]), appears to be re-resurrected in the current discussions of lunar history.
- Ryder (1990 [11]), with valuable data, showed that Apollo lunar impact melt rock samples exhibit a large, 150-Ma spike at about 3.9 Ga ago with few impact melt samples before that (see Figure 5). This paper also introduced an influential “Ryder’s rule,” that lack of impact melts around 4.5–3.9 Ga ago implies few impacts in that period. These concepts were seen as confirming the terminal cataclysm paradigm, and explicitly or implicitly affected (or even constrained) interpretations of lunar history for the next two decades. These ideas now appear to be incorrect.
- Data on asteroidal meteorites’ impact-related samples also show no anomalous, Ryder-like spike at ~3.9 Ga ago, but rather a gentle “swell” from ~4.2 to ~3.5 Ga go, usually peaking around 3.7 Ga ago. This profile varies from one meteorite class to another (Swindle et al. (2013 [181])). These results may be a signature of survival processes that are different among various asteroids than on the Moon.
- Accumulating reports suggest impact melt clasts and other possibly impact-related materials from before 4.0 Ga, with radiometric ages clustering around ~4.21 and ~4.33 Ga ago. These have led to suggestions of basin-scale impacts at those times, contrary to the terminal cataclysm/LHB paradigm.
- The combination of current lunar and asteroidal data, from radiometric, dynamical, cratering, and petrologic sources suggests that the “classic” terminal cataclysm/LHB spike, accepted for ~45 years, never occurred. This conclusion has been reached independently in several recent review articles.
- The ~3.9 Ga-old Apollo impact melt spike, if interpreted as coming from Imbrium, implies that the Imbrium-scale impacts’ ejecta blankets affect larger areas of the lunar surface than originally expected, and is consistent with some petrological variety in Imbrium ejecta blanket materials.
- Apollo/Luna samples have been used to suggest ages of 3.93 to 3.72 Ga for at least five of the largest, lunar front-side, multi-ring basins (see Table 1). This interpretation requires a cataclysmic bombardment around 3.9 Ga, but this conflicts with data from lunar meteorite impact melt clasts and asteroidal meteorites. The sample ages typically lie within 1–3 error bars of the Imbrium age, and may simply associate with Imbrium ejecta, in which case the assigned ages of basins are incorrect.
- The dating of most basins, and the Ryder’s rule assertion that virtually no basin forming impacts happened before ~4.0 Ga ago, is called into question by reports of clusters of impact melts from ~4.35 Ga ago and circa 4.2 Ga ago.
- Crater count studies of impact rates and crater density ratios among basins such as Serenitatis, Nectaris, and Imbrium are inconsistent with published radiometric-based assertions that Serenitatis formed after Nectaris or (in a rare implication) even after Imbrium.
- The 2005 Nice model was defended as explaining the cataclysmic spike in bombardment at 3.9 Ga, but this is contradicted by the absence of such a spike in lunar and asteroidal meteorites.
- The dating of a spike at 3.9 Ga in dynamical models was not constrained by physics of the models, but (as properly stated in the models) was assumed to be 3.9 Ga ago.
- Dynamical models attempting to match the terminal cataclysm paradigm have evolved on a yearly timescale, producing varied and rapidly revised results, with the cataclysmic spike replaced by increasingly gradual surges. In successive models (2010–2012), the proposed durations of these surges have increased from 210 Ma to 1600 Ma. A more recent model (Morbidelli et al. (2018 [160])) allows for an early intense impact flux decreasing from lunar formation until 3.9 Ga ago, and continuing to decrease after that, as per the observational data.
- These same models continue to apply the term “Late Heavy Bombardment” (“LHB”) to their results, even though the results are inconsistent with original definitions of these terms (used until 2010).
- In the view of this paper, the use of the terms “LHB” and “terminal cataclysm” should be restricted to their original definitions (which are inconsistent with observations).
- There is currently wide agreement that gravitational and resonant effects produced migration of Jupiter and other giant planets, which in turn may have scattered various classes of bodies from various sources in the Solar System. Giant planet migration seems supported by observations of extra-solar planetary systems with giant planets very close to their stars. The relation of these events to the 3.9 Ga-ago era is uncertain.
- The numbers of outer Solar System bodies, scattered by such planet migrations, are uncertain. Some may have been involved in creation of low-albedo captured satellites. The intensity and timing of any resultant inner Solar System bombardment remains highly uncertain.
- Most of the collectible rocks on the lunar surface today were placed there by impact excavation within the last several hundreds of Ma, and hence represent the subsurface structure of the present-day Moon.
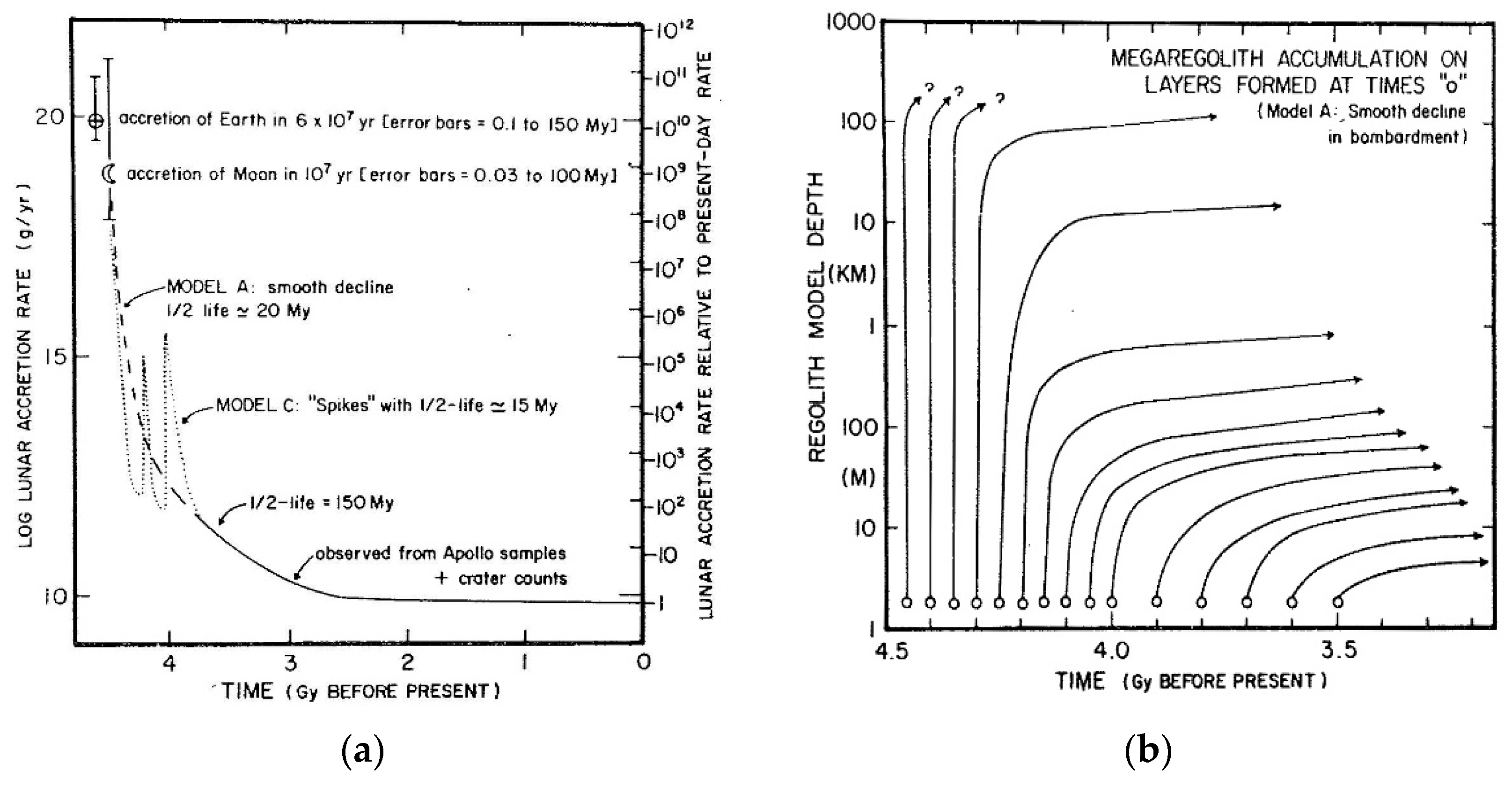
- Megaregolith evolution has fragmented and mixed subsurface layers. As a result, existing sample collections are not intact lunar history collections, but are filtered by megaregolith-production processes.
- The Orientale basin structure offers clues to various impact basin formation processes. For example, (1) the GRAIL discovery of linear segments in the Oceanus Procellarum buried ring structure does not rule out impact as the origin of that huge feature (as argued by Andrews-Hanna et al. (2014 [154])) since the Orientale rings show similar linear segments, and (2) mare lavas along the bases of several of the Orientale ring scarps suggest igneous extrusions during basin formation, so that some ancient “crustal” igneous rocks (in addition to impact melts) may date from specific multi-ring basin-forming events.
- The process of lunar megaregolith formation explains the paradox of paucity of lunar impact melts from before ~4.0–~4.1 Ga ago, but presence of primordial, crustal plutonic igneous rocks. Impact melts concentrate in quickly destroyed near-surface layers, but ancient crustal rocks are always available to be excavated from the base of the megaregolith.
- Asteroidal materials experienced megaregolith sequestration processes different from those on the Moon. Stochastic, catastrophic disruption of asteroidal parent bodies created large rubble- pile asteroids where early asteroid impact melts could be “stored” (to use the Wetherill term) at great depths until release by geologically more recent disruptive impacts. This explains differences in age distributions not only between lunar and asteroidal meteorites, but also among different petrologic classes of meteorites. These phenomena deserve more work.
- Enstatite-like planetesimals, originating near 1 AU and having Earth-like isotope ratios, may have been scattered into the inner edge of the belt during planetary formation, as first proposed by Wetherill (1977 [8,9]). They may, thus, have formed a fairly massive, extended “E belt” as pictured in the Morbidelli et al. (2001 [106]; 2018 [161]) and Bottke et al. (2011 [153]; 2012 [140]) dynamical models. One large, local, ~1 AU enstatite planetesimal may have impacted Earth, resulting in a lunar formation scenario that avoids the “isotope crisis,” i.e., explaining isotope similarity between Earth and Moon. Some of these same bodies may have been prominent in the declining impact flux during the lunar basin-forming period from ~4.4 to ~3.8 Ga ago, explaining suggestions of enstatite-like chemistry. Enstatite-like planetesimals formed in Earth’s zone deserve more work.
- Dynamical models may remain in an immature state until better empirical evidence is available. Most essential is more reliable dating of samples that will define the formation ages of several key lunar multi-ring basins. Examples: Serenitatis (difficult to find outcrops, but key to constraining the age of morphologically “old”-looking basins), Orientale (easy to find basin-dating outcrops in well-defined ring scarp faces; measurably different from Imbrium?), Nectaris (Altai scarp and proposed impact-melt pools may allow dating?). Excluded is South Pole-Aitken basin (contrary to current wisdom). Yes, it formed very early, but for that very reason it is difficult to guarantee an easy age measurement, because of smaller basin-scale impacts on the floor of the earlier large basin.
- Although the “classic” terminal cataclysm is now being abandoned by the planetary science community, other communities have a problem because the term and concept continue to appear as constraints in various other fields, for example in biology, where it has been used recently as a constraint on the origin of life at ~3.9 Ga.
- Consistent with the study of Kuhn (1962 [1]), paradigms should not be viewed as edifices of perfect, known science, but more as home ports that provide the maps and equipment for the launching of new efforts that may uncover new results.
- The most fruitful use of numerical models comes not as providing “answers” to problems, but by varying the individual uncertain parameters to constrain plausibility of various ideas.
- The history of the terminal cataclysm/LHB paradigm provides important lessons in science. First, a tendency has been visible to interpret new observational data and new theoretical models as constrained by the paradigm, rather than seeing the paradigm as constrained by the observations and models. Paradigms must fit data, not the other way ‘round.
- The history of the terminal cataclysm/LHB paradigm also points to a troublesome separation of various communities in planetary science, defined by graduate student training rather than underlying natural phenomena. For example, studies of radiometric dating, dynamical models, cratering chronometry, planetary mapping, and petrologic results are often presented in different conferences or different (often overlapping) sessions. For example, we have the Lunar and Planetary Science Conference, Division of Planetary Sciences of the American Astronomical Society, Meteoritical Society, European Geophysical Union, American Geophysical Union, American Geological Society, etc. This system tends to concentrate work into different communities, preventing interplay of data sets. In the author’s view, recent, smaller, topical conferences have often offered more fruitful, interdisciplinary progress on significant problems (but perhaps less fruitful networking for freshly minted Ph.D.s).
- In spite of our problems as scientists and writers of scientific papers, the evolution of the terminal cataclysm/LHB paradigm offers an important example of the strength of the post-Renaissance, scientific method at work, including cooperative progress from different sub-disciplines, some wrong turns, and few-decades-timescale of self-correction, all based on empiricism. This contrasts with systems of thought such as various legal, religious, and some political/ideological systems that rely on an advocacy-basis, where different participants defend literally pre-scribed views.
Funding
Acknowledgments
Conflicts of Interest
Appendix A. References
- Andrews-Hanna, J.C.; Besserer, J.; Head, J.; Howett, C.; Kiefer, W.; Lucey, P.; McGovern, P.; Melosh, H.; Neumann, G.; Phillips, R.; Smith, D.; Solomon, S.; Zuber, M. Structure and Evolution of the Lunar Procellarum Regio as Revealed by GRAIL Gravity Data. Nature 2014, 514, 68–71.
- Artemieva, N.; Shuvalov, V. Numerical Simulation of High-velocity Impact Ejecta Following Falls of Comets and Asteroids onto the Moon. Solar Sys. Res. 2008, 42, 329–334.
- Baldwin, R. B. The Face of the Moon; University of Chicago Press: Chicago, IL, USA, 1949.
- Baldwin, R. B. Ancient Giant Craters and the Age of the Lunar Surface. Astronom. J. 1969a, 14, 570–571.
- Baldwin, R. B. Absolute Ages of the Lunar Maria and Large Craters. Icarus 1969b, 11, 320–331.
- Baldwin, R. B. Was There a Terminal Cataclysm 3.9–4.0 × 109 years ago? Icarus 1974, 23, 157–166.
- Basilevsky, A. T.; Head, J. W.; Hörz, F. Survival Times of Meter-sized Boulders on the Surface of the Moon. Planet. Space Science 2013, 89, 118–126.
- Beals, C. S.; Innes, M. J. S.; Rottenberg, J. A. Fossil Meteorite craters. In The Moon, Meteorites, and Comets; Middlehurst, B. M., Kuiper, G. P., Eds.; University of Chicago Press: Chicago, IL, USA, 1963; pp. 235–284.
- Becker, H.; Horan, M.; Walker, R; Gao, S.; Lorand, J.-P.; Rudnik, R. Highly Siderophile Element Composition of the Earth’s Primitive Upper Mantle: Constraints from New Data on Peridotite Massifs and Xenoliths. Geochim. Cosmochim. Acta 2006, 70, 4528–4550.
- Boehnke, P.; Harrison, T. M. Illusory Late Heavy Bombardments. In Proceedings of the National Academy of Science, Los Angeles, CA, USA, 2016; 113(39), 10802–10806.
- Bogard, D. Impact Ages of Meteorites: A Synthesis. Meteoritics 1995, 30, 244–268.
- Bottke, W. F.; Norman, M. D. The Late Heavy Bombardment. Ann. Rev. Earth Planet. Science 2017, 49, 619–647.
- Bottke, W. F.; Vokrouhlický, D.; Nesvorný, D.; Minton, D.; Morbidelli, A.; Brasser, R. The E-Belt: A Possible Missing Link in the Late Heavy Bombardment. 41st Lunar and Planetary Science Conference, Houston, TX, USA, 1–5 March 2010; LPI Contribution No. 1533, p. 1269.
- Bottke, W. F.; Vokrouhlický, D.; Minton, D.; Nesvorný, D.; Morbidelli, A.; Brasser, R.; Simonson, B. The Great Archean Bombardment, or the Late Late Heavy Bombardment. 42nd Lunar and Planetary Science Conference, Houston, TX, USA, 7–11 March 2011; LPI Contribution No. 1608, p. 2591.
- Bottke, W. F.; Vokrouhlický, D.; Minton, D.; Nesvorný, D.; Morbidelli, A.; Brasser, R.; Simonson, B.; Levison, H. An Archean Heavy Bombardment from a Destabilized Extension of the Asteroid Belt. Nature 2012, 485, 78–81.
- Cameron, A. G. W.; Ward, W. The Origin of the Moon. 7th Lunar and Planetary Science Conference, The Woodlands, TX, USA, 1976; p. 120.
- Clark, B. E.; Bus, S. J.; Rivkin, A. S.; McConnochie, T.; Sanders, J.; Shah, S.; Hiroi, T.; Shepard, M. E-type Asteroid Spectroscopy and Compositional Modeling. J. Geophys. Res. 2004, 109(E2), CiteID E02001.
- Cohen, B. The Vestan Cataclysm: Impact-Melt Clasts in Howardites and the Bombardment History of 4 Vesta. Meteorit. Planet. Science 2013, 48, 771–785.
- Cohen, B. A.; Swindle, T. D.; Kring, D. A. Support for the Lunar Cataclysm Hypothesis from Lunar Meteorite Impact Melt Ages. Science 2000 290, 1754–1756.
- Cohen, B. A.; Swindle, T. D.; Taylor, L. A.; Nazarov, M. A. 40Ar-39Ar Ages from Impact Melt Clasts in Lunar Meteorites Dhofar 025 and Dhofar 026. 33rd Lunar and Planetary Science Conference, Houston, TX, USA, 11–15 March 2002; Abstract No. 1252.
- Cohen, B. A.; Swindle, T. D.; Kring, D. A. Geochemistry and 40Ar-39Ar Geochronology of Impact-melt Clasts in Feldspathic Lunar Meteorites: Implications for Lunar Bombardment History. Meteorit. Planet. Science 2005, 40, 755–777.
- Cruikshank, D. P.; Hartmann, W. K.; Tholen, D. J. Colour, Albedo and Nucleus Size of Halley’s Comet. Nature 1985, 315, 122–124.
- Cruikshank, D. P.; Tholen, D. J.; Hartmann, W. K.; Bell, J. F.; Brown, R. H. Three Basaltic Earth-approaching Asteroids and the Source of Basaltic Meteorites. Icarus 1991, 89, 1–13.
- Ćuk, M. Chronology and Sources of Lunar Impact Bombardment. Icarus 2012, 218, 69–79.
- Ćuk, M.; Gladman, B. J.; Stewart, S. T. Constraints on the Source of Lunar Cataclysm Impactors. Icarus 2010, 207, 590–594.
- Denevi, B. The New Moon. Physics Today 2017, 70(6), 39–44.
- Deutsch, R.A.; Stöffler, D. Rb-Si Analysis of Apollo 16 Melt Rocks and a New Age Estimate for the Imbrium Basin Chronology and the Early Heavy Bombardment of the Moon. Geochim. Cosmochim. Acta 1987, 51, 1951–1964.
- Eugster, O. Cosmic-ray Exposure Ages of Meteorites and Lunar Rocks and Their Significance. Chemie der Erde Geochem. 2003, 63, 3–30.
- Fassett, C. I.; Minton, D. A. Impact Bombardment of the Terrestrial Planets and the Early History of the Solar System. Nature Geosci. 2013, 6, 520–524.
- Fassett, C. I.; Head, J.; Kadish, S.; Mazarico, E.; Neumann, G.; Smith, D.; Zuber, M. Lunar Impact Basins: Stratigraphy, Sequences, and Ages from Superposed Impact Crater Populations Measured from Lunar Orbiter Laser Altimeter (LOLA) Data. J. Geophys. Res. 2012, 117, Cite ID E00H06.
- Fernandes, V.; Artemieva, N. Impact Ejecta Temperature Profile on the Moon – What Are the Effects on the Ar-Ar Dating Method? 43rd Lunar and Planetary Science Conference, The Woodlands, TX, USA, 19–23 March 2012; Abstract No. 1659.
- Fernandes, V.A. Garrick-Bethel, I., Shuster, D.L.; Weiss, B. Common 4.2 Ga Impact Age in Samples from Apollo 16 and 17. In Workshop on Early Solar System Bombardment, Houston, scheduled Nov. 19–26, 2008 [129] (meeting delayed until 2009 due to hurricane). Program book published 2008; abstract #3028.
- Fernandes, V. A.; Fritz, J.; Weiss, B. P., Garric-Bethell, I.; Shuster, D. L. The Bombardment History of the Moon as Recorded by 40Ar-39Ar Chronology. Meteoritics and Planetary Science, 2013, 48, 1–29.
- Fielder, G. Structure of the Moon’s Surface; Pergamon Press: London, UK, 1961.
- Fischer-Gödde, M.; Becker, H. What Is the Age of the Nectaris Basin? New Re-Os Constraints for a Pre-4.0 Ga Bombardment History of the Moon. 42nd Lunar and Planetary Science Conference, The Woodlands, TX, USA, 7–11 March 2011; LPI Contribution No. 1608, p. 1414.
- Fritz, J.; Bitsch, B.; Kührt, E.; Morbidelli, A.; Tornow, C.; Wünnerman, K.; Fernandes, V. A.; Grenfell, J. L.; Rauer, H.; Wagner, R.; Werner, S. C. Earth-like Habitats in Planetary Systems. Planet. Space Science 2014, 98, 254–267.
- Ghent, R. R.; Leverington, D. W.; Campbell, B. A.; Hawke, B. R.; Campbell, D. B. Earth-based Observations of Radar-dark Crater Haloes on the Moon: Implications for Regolith Properties. J. Geophys. Res. 2005, 110(E2), CiteIDE02005.
- Ghent, R. R.; Hayne, P. O.; Bandfield, J. L.; Campbell, B. A.; Carter, L. M.; Allen, C. C.; Paige, D. A. Constraints on the Recent Rate of Lunar Ejecta Breakdown. Geology 2014, 42, 1059–1062
- Gladman, B. J.; Burns, J. A.; Duncan, M. J.; Levison, H. F. The Dynamical Evolution of Lunar Impact Ejecta. Icarus 1995, 118, 302–321.
- Gomes, R.; Levison, H. F.; Tsiganis, K.; Morbidelli, A. Origin of the Cataclysmic Late Heavy Bombardment Period of the Terrestrial Planets. Nature 2005, 435, 466–469.
- Gradie, J. C.; Tedesco, E. F. Compositional Structure of the Asteroid Belt. Science 1982, 216, 1405–1407.
- Gradie, J. C.; Chapman, C. R.; Tedesco, E. F. Distribution of Taxonomic Classes and the Compositional Structure of the Asteroid Belt. In Asteroids II; Binzel, R. P., Gehrels, T., Matthews, M. S., Eds.; University of Arizona Press: Tucson, AZ, USA, 1989; pp. 316–335.
- Grange, M. L.; Nemchin, A. A.; Pidgeon, R. T.; Merle, R. E.; Timms, N. E. What Lunar Zircon Ages Can Tell? 44th Lunar and Planetary Science Conference, The Woodlands, TX, USA, 18–22 March 2013; LPI Contribution No. 1719, p. 1884.
- Grieve, R. A. F.; Cintala, M. J. A Method for Estimating the Initial Impact Conditions of Terrestrial Cratering Events, Exemplified by its Application to Brent Crater, Ontario. In Proceedings of the 12th Lunar and Planetary Science Conference, Houston, USA, 16–20 March 1981; Lunar and Planetary Institute, Houston, TX, USA, 1981; pp. 1607–1621.
- Grinspoon, D. H. Large Impact Events and Atmospheric Evolution on the Terrestrial Planets. Ph.D. Thesis, University of Arizona, Tucson, AZ, USA; 1989.
- Hartmann, W. K. Terrestrial and Lunar Flux of Large Meteorites in the Last Two Billion Years. Icarus 1965, 4, 157–165.
- Hartmann, W. K. Early Lunar Cratering. Icarus 1966, 5, 406–418.
- Hartmann, W. K. Terrestrial, Lunar, and Interplanetary Rock Fragmentation. Icarus 1969, 10, 201–213.
- Hartmann, W. K. Preliminary Note on Lunar Cratering Rates and Absolute Time Scales. Icarus 1970a, 12, 131–133.
- Hartmann, W. K. Lunar Cratering Chronology. Icarus 1970b, 13, 299–301.
- Hartmann, W. K. Paleocratering of the Moon: Review of Post-Apollo Data. Astrophys. Space Science 1972, 12, 48–64.
- Hartmann, W. K. Ancient Lunar Mega-Regolith and Subsurface Structure. Icarus 1973, 18, 634–636.
- Hartmann, W. K. Lunar Cataclysm: A misconception? Icarus 1975, 24, 181–187.
- Hartmann, W. K. Dropping Stones in Magma Oceans: Effects of Early Lunar Cratering. In Proceedings of the Conference on the Lunar Highlands Crust, Houston, TX, USA, 14–16 November 1979; Pergamon Press: New York, NY, USA, 1980; pp. 155–171.
- Hartmann, W. K. Does Crater “Saturation Equilibrium” Exist in the Solar System? Icarus 1984, 60, 56–74.
- Hartmann, W.K. Moon Origin: The Impact Trigger Hypothesis. In Origin of the Moon; Hartmann, W. K., Phillips, R. J., Taylor, G. J., Eds.; Lunar and Planetary Institute: Houston, TX, USA, 1986; pp. 579–608.
- Hartmann, W. K. A Satellite-Asteroid Mystery and a Possible Early Flux of Scattered C-class Asteroids. Icarus 1987, 71, 57–68.
- Hartmann, W.K. Additional Evidence about an Early Intense Flux of C Asteroids and the Origin of Phobos. Icarus 1990, 87, 236–240.
- Hartmann, W. K. Megaregolith Evolution and Cratering Cataclysm Models B Lunar Cataclysm as a Misconception (28 Years Later). Meteor. Planet. Science 2003, 38, 579–593.
- Hartmann, W. K. Empirical Studies of Lunar Bombardment around 3.6-4 Gy Ago. Workshop on the Early Solar System Bombardment II, Houston, TX, USA, 1–3 February 2012; LPI Contribution 1649, pp. 28–29.
- Hartmann, W. K. The Giant Impact Hypothesis: Past, Present, (and Future?). Phil. Trans. Royal Soc. A, 2014, 372(2024), DOI: 10.1098/rsta.2013.0249.
- Hartmann, W. K. Reviewing “Terminal Cataclysm”: What Does it Mean? Workshop on Early Solar System Impact Bombardment III, Houston, TX, USA, 3–4 February 2015; LPI Contribution No. 1826, p. 3003.
- Hartmann, W. K.; D[61aubar, I. J. Martian Cratering 11. Utilizing Decameter Scale Crater Populations to Study Martian History. Meteor. Planet. Science 2017, 52, 493–510.
- Hartmann, W. K.; Davis, D. R. Satellite-sized Planetesimals. IAU Colloquium on Planetary Satellites, Ithaca, NY, USA, 18–21 August 1974; Abstract.
- Hartmann, W. K.; Davis, D. R. Satellite-sized Planetesimals and Lunar Origin. Icarus 1975, 24, 504–515.
- Hartmann, W. K.; Gaskell, R. Planetary Cratering 2: Studies of Saturation Equilibrium. Meteor. Planet Science 1997, 32, 109–121.
- Hartmann, W. K.; Kuiper, G. P. Concentric Structures Surrounding Lunar Basins. Comm. Lunar Planet Lab. 1962, 1, 51–66.
- Hartmann W. K.; Wood, C. A. Origin and Evolution of Multi-ring Basins. The Moon 1971, 3, 3–78.
- Hartmann, W. K.; Strom, R.; Weidenschilling, S.; Blasius, K.; Woronow, A.; Dence, M.; Grieve, R.; Diaz, J.; Chapman, C.; Shoemaker, E.; Jones, K. Chronology of Planetary Volcanism by Comparative Studies of Planetary Craters. In Basaltic Volcanism on the Terrestrial Planets (Basaltic Volcanism Study Project); Pergamon Press: Elmsford, NY, USA, 1981; pp. 1050–1127.
- Hartmann, W. K.; Cruikshank, D. P.; Degewij, J. Remote Comets and Related Bodies: VJHK Colorimetry and Surface Materials. Icarus 1982, 52, 377–407.
- Hartmann, W. K.; Ryder, G.; Dones, L.; Grinspoon, D. The Time-Dependent Intense Bombardment of the Primordial Earth/Moon System. In Origin of the Earth and Moon; Canup, R. M., Righter, K., Eds.; University of Arizona Press: Tucson, AZ, USA, 2000; pp. 493–512.
- Hartmann, W. K.; Quantin, C.; Mangold, N. Possible Long-term Decline in Impact Rates 2: Lunar Impact-melt Data Regarding Impact History. Icarus 2007, 186, 11–23.
- Hartung, J. B. Can Random Impacts Cause the Observed 39Ar/40Ar Age Distribution for Lunar Highland Rocks? Meteoritics 1974, 9, 349.
- Haskin, L. A.; Korotev, R. L.; Rockow, K. M.; Joliff, B. L. The Case for an Imbrium Origin of the Apollo Thorium-rich Impact-melt Breccias. Meteor. Planet. Science 1998, 33, 959–975.
- Head, J. W. Serenitatis Multi-ringed Basin: Regional Geology and Basin Ring Interpretation. Moon and the Planets 1979, 21, 439–462.
- Herwartz, D.; Pack. A.; Friedrichs, B.; Bischoff, A. Identification of the Giant Impactor Theia in Lunar Rocks. Science 2014, 344, 1146–1150.
- Hiesinger, H.; Jaumann, R.; Neukum, G.; Head, J. W. Ages of Mare Basalts on the Lunar Nearside. J. Geophys. Res. 2000, 105(E12), 29,239–29,275.
- Hiesinger, H.; Head, J.; Wolf, U.; Jaumann, R.; Neukum, G. Ages and Stratigraphy of Mare Basalts in Oceanus Procellarum, Mare Nubium, Mare Cognitum, and Mare Insularum. J. Geophys. Res. 2003, 108(E7), Cite ID 5065.
- James, O. B. Petrologic and Age Relations of the Apollo 16 Rocks – Implications for Subsurface Geology and the Age of the Nectaris Basin. In Proceedings of the 12th Lunar and Planetary Science Conference, Houston, TX, USA, 1982; pp. 209–233.
- Jessberger, E. K.; Kirsten, T.; Staudacher T. One Rock and Many Ages – Further K-Ar Data on Consortium Breccia 83215. Proceedings of 8th Lunar and Planetary Science Conference, Houston, USA, 14–18 March 1977; Lunar and Planetary Institute, Houston, TX, USA, 1977; pp. 2567–2580.
- Joy, K. H.; Zolensky, M.; Ross, D.; McKay, D.; Kring, D. Direct Detection of Projectile Relics on the Moon. Workshop on the Early Solar System Bombardment II, Houston, TX, USA, 1–3 February 2012a; LPI Contribution No. 1649, pp. 34–35.
- Joy, K.; Nagashima, K.; Huss, G.; Ross, D.; McCoy, D.; Kring, D. Direct Detection of Projectile Relics from the End of the Lunar Basin-forming Epoch. Science 2012b, 336, 1426–1429.
- Kahn, A.; Pommier, A.; Neumann, G. A.; Mosegaard, K. The Lunar Moho and the Internal Structure of the Moon: a Geophysical Perspective. Tectonophysics 2013, 609, 331–352.
- Koeberl, C. The Record of Impact Processes on the Early Earth: a Review of the First 2.5 Billion Years. In Processes on the Early Earth; Reimold, W. J., Gibson, R. L., Eds.; Geological Society of America: Washington, DC, USA, 2006; DOI: 10.1130/2006.2405(01).
- Koeberl, C.; Anderson, R. R. Memorial: Jack B. Hartung, March 10, 1937-August 28, 2015. Meteor. Planet. Science 2015, 50, 2137–2139.
- Kring, D. A.; Cohen, B. A. Cataclysmic Bombardment Throughout the Inner Solar System 3.9–4.0 Ga. J. Geophys. Res. 2002, 107(E2), CiteID 5009.
- Kuhn, T. S. The Structure of Scientific Revolutions. University of Chicago Press: Chicago, IL, USA; 1962.
- Levison, H. F.; Dones, L.; Chapman, C. R.; Stern, S. A.; Duncan, M. J.; Zahnle, K. Could the Lunar Late Heavy Bombardment Have Been Triggered by the Formation of Uranus and Neptune? Icarus 2001, 151, 286–306.
- Li, Y.; Hsu, W. Multiple Impact Events on the L-Chondrite Parent Body: Insight from SIMS U-Pb Dating of Ca-Phosphates in the NWA 7251 L-Melt Breccia. Meteor. Planet. Science 2018, 53, 1081–1096.
- Lineweaver, C. H. Crater-counting Evidence Against the Late Heavy Bombardment Hypothesis. Astrobiology Science Conference 2010: Evolution and Life: Surviving Catastrophes and Extremes on Earth and Beyond, League City, TX, USA, 20–26 April 2010; LPI Contribution No. 1538, p. 5226.
- Liu, T.; Michael, G.; Engelmann, J.; Wünnemann, K.; Oberst, J. Regolith Mixing by Impacts: Lateral Diffusion of Basin Melt, Icarus 2019, 321, 691–704.
- Lowe, D. R.; Byerly, G. R. The Terrestrial Record of Late Heavy Bombardment. New Astronomy Reviews 2018, 81, 39–61.
- Lunar and Planetary Institute, Universities Space Research Association, Lunar Sample Overview, Apollo 12 Mission, https://www.lpi.usra.edu/lunar/missions/apollo/apollo_12/samples/ (accessed on 13 May 2019).
- Maher, K. A.; Stevenson, D. J. Impact Frustration of the Origin of Life. Nature 1988, 331, 612–614.
- Mann, A. Bashing Holes in the Tale of Earth’s Trouble Youth {Cataclysm’s End]. Nature 2018, 553, 393–395.
- Marchi, S.; Bottke, W.; Kring, D.; Morbidelli, A. The Onset of the Lunar Cataclysm as Recorded in its Ancient Crater Populations. Earth Planet. Sci. Lett. 2012, 325–6, 27–38.
- Marchi, S.; Bottke, W.; Elkins-Tanton, L.; Bierhaus, M.; Wuennemann K.; Morbidelli, A.; Kring, D. Widespread Mixing and Burial of Earth’s Hadean Crust by Asteroid Impacts. Nature 2014, 511, 578-582.
- Martellato, E.; Vivaldi, V.; Massironi, M.; Cremonese, G.; Marzari, F.; Ninfo, A.; Haruyama, J. Is the Linné Impact Crater Morphology Influenced by the Rheological Layering on the Moon’s Surface? Insights from Numerical Modeling. Meteor. Planet. Science 2017, 52, 1388–1411.
- McGetchin T. R.; Settle, M.; Head, J. W. Radial Thickness Variation in Impact Crater Ejecta: Implications for Lunar Basin Deposits. Earth Planet. Science Lett. 1973, 20, 226–236.
- Melosh, H. J. Impact Cratering: A Geologic Process; Oxford University Press: New York, NY, USA, 1989.
- Melosh, H. J. An Isotopic Crisis for the Giant Impact Origin of the Moon? 72nd Annual Meeting of the Meteoritical Society, Nancy, France, 13–18 July 2009; p. 5104.
- Merle, R. E; Nemchin, A.; Grange, M.; Whitehouse, M. Stratigraphy of the Fra Mauro Formation Defined by U-Pb Zircon Ages of Breccia Samples from Apollo 14 Landing Site. 44th Lunar and Planetary Science Conference, The Woodlands, TX, USA, 18–22 March 2013; LPI Contribution No. 1719, p. 1833.
- Meyer, H. H.; Robinson, M. S.; Denevi, B. W.; Boyd, A. K. A New Global Map of Light Plains from the Lunar Reconnaissance Orbiter Camera. 49th Lunar and Planetary Science Conference, The Woodlands, TX, USA, 19–23 March 2018; LPI Contribution No. 2083, id.1474.
- Michael, G.; Basilevsky, A.; Neukum, G. On the History of the Early Meteorite Bombardment of the Moon: Was There a Terminal Lunar Cataclysm? Icarus 2018, 302, 80–103.
- Michel, P.; Benz, W.; Tanga, P.; Richardson, D. C. Collisions and Gravitational Reaccumulation: Forming Asteroid Families and Satellites. Science 2001, 294, 1696–1700.
- Morbidelli, A., Petit, J.-M.; Gladman, B.; Chambers, J. A Plausible Cause of the Late Heavy Bombardment. Meteor. Planet. Science 2001, 36, 371–380.
- Morbidelli, A.; Levison, H. F.; Tsiganis, K.; Gomes, R. Chaotic Capture of Jupiter’s Trojan Asteroids in the Early Solar System. Nature 2005, 435, 462–465.
- Morbidelli, A.; Marchi, S.; Bottke, W. F.; Kring, D. A. A Sawtooth-like Timeline for the First Billion Years of Lunar Bombardment. Earth Planet. Science Lett. 2012, 355, 144–151.
- Morbidelli, A.; Nesvorny, D.; Laurenz, V.; Marchi, S.; Rubie, D.; Elkins-Tanton, L.; Wieczorek, M.; Jacobson, S. The Timeline of the Lunar Bombardment: Revisited. Icarus 2018, 305, 262–276.
- Nakamura, Y. Timing Problem with the Lunar Module Impact Data as Recorded by LSPE and Corrected Near-surface Structure at the Apollo 17 Landing Site. J. Geophys. Res. Planets 2011, 116(E12), CiteID E12005.
- NASA Johnson Space Center Curatorial Document. Available online: http://curator.jsc.nasa.gov/lunar/lsc/15415.pdf (accessed on 10 May 2019).
- Nash, D. E.; Conel, J. E.; Fanale, F. P. Objectives and Requirements of Unmanned Rover Exploration of the Moon. The Moon 1971, 3, 221–230.
- Nemchin, A. A.; Pidgeon, R. T.; Whitehouse, M. J.; Vaughan, J. P.; Meyer, C. SIMS U-Pb Study of Zircon from Apollo 14 and 17 Breccias: Implications for the Evolution of Lunar KREEP. Geochim. Cosmochim. Acta 2008, 72(2), 668–689.
- Neukum, G. Meteoritenbombardement und Datierung Planetarer Oberflächen. Habilitation Dissertation for Faculty Membership, Ludwig-Maximilians University of Munich, Germany; 1983.
- Neukum, G.; Ivanov, B. Crater Size Distributions and Impact Probabilities from Lunar, Terrestrial-planet, and Asteroid Cratering Data. In Hazards Due to Comets and Asteroids; Gehrels, T., Ed.; University of Arizona Press: Tucson, AZ, USA, 1995; pp. 359–416.
- Neukum, G.; Ivanov, B. A.; Hartmann, W. K., Cratering Records in the Inner Solar System in Relation to the Lunar Reference System. In Chronology and Evolution of Mars; Kallenbach, R.; Geiss, J.; Hartmann, W. K.; International Space Science Institute: Bern, Switzerland, 2001; (also published in Space Science Rev. 2001, 96, 55–86).
- Norman, M. D. The Lunar Cataclysm: Reality or “Mythconception?” Elements 2009, 5, 23–38.
- Norman, M.; Nemchin, A. Large Impacts at 4.2 Ga from Uranium-Lead Dating of Lunar Melt Breccia. Workshop on Early Solar System Impact Bombardment II, Houston, TX, USA, 1–3 February 2012; LPI Contribution No. 1649, pp. 59–60.
- Norman, M. D.; Nemchin, A. A. A 4.2 Billion Year Old Impact Basin on the Moon: U-Pb Dating of Zirconolite and Apatite in Lunar Melt Rock 67955. Earth Planet. Science Lett. 2014, 388, 387–398.
- Norman, M. D.; Bennett, V. C.; Ryder, G. Targeting the Impactors: Siderophile Element Signatures of Lunar Impact Melts from Serenitatis. Earth Planet. Sci. Lett. 2002, 202(2), 217–228.
- Norman, M. D.; Shih, C.-Y.; Nyquist, L. E.; Bogard, D. D.; Taylor, L. A. Early Impacts on the Moon: Crystallization Ages of Apollo 16 Melt Breccias. 38th Lunar and Planetary Science Conference, League City, TX, USA, 12–16 March 2007; LPI Contribution No. 1338, p. 1991.
- Norman, M. D.; Taylor, L.; Shih, C.-Y.; Nyquist, L. Crystal Accumulation in a 4.2 Ga Lunar Impact Melt. Geochim. Cosmochim. Acta 2015, 172, 410–429.
- Nunes, P.D.; Tatsumoto, M.; Unruh, D. M. U-Th-Pb Systematics of Some Apollo 17 Lunar Samples, and Implications for a Lunar Basin Excavation Chronology. In Proceedings of the 5th Lunar Science Conference, Houston, TX, USA, 18–22 March 1974; pp. 1487–1514.
- Perkins, S. From Hell on Earth, Life’s Building Blocks. Science 2014, 346(6215), 1279.
- Petro, N. E.; Pieters, C. M. Modeling the Provenance of the Apollo 16 Regolith. J. Geophys. Res. 2006, 111(E9), CiteID E09005.
- Pidgeon, R. T.; Nemchin, A. A.; Grange, M. L.; Meyer, C. Evidence for a “Lunar Cataclysm” at 4.34 Ga from Zircon U Pb Systems. 41st Lunar and Planetary Science Conference, The Woodlands, TX, USA, 1–5 March 2010; LPI Contribution No. 1533, p. 1126.
- Podosek, F. A.; Huneke, J.; Gancarz, A.; Wasserburg, G. The Age and Petrography of Two Luna 20 Fragments and Inferences for Widespread Lunar Metamorphism. Geochim. Cosmochim. Acta 1973, 37, 423–425.
- Quantin, C.; Allemand, P.; Mangold, N.; Delacourt, C. Ages of Valles Marineris (Mars) Landslides and Implications for Canyon History. Icarus 2004, 172, 555–572.
- Quantin, C.; Mangold, N.; Hartmann, W. K.; Allemand, P. Possible Long-term Decline in Impact Rates 1: Martian Geological Data. Icarus 2007, 186, 1–10.
- Robbins, S. J. Revised Lunar Cratering Chronology for Planetary Geological Histories. 44th Lunar and Planetary Science Conference, The Woodlands, TX, USA, 18–22 March 2013; LPI Contribution No. 1719, p. 1619.
- Ryder, G. Lunar Samples, Lunar Accretion and the Early Bombardment of the Moon. Eos 1990, 71, 313, 322–323.
- Ryder, G. Mass Flux in the Ancient Earth-Moon System and Benign Implications for the Origin of Life on Earth. J. Geophys. Res. 2002, 107(E4), CiteID 5022.
- Ryder, G.; Spudis, P. D. Chemical Composition and Origin of Apollo 15 Impact Melts. In Proceedings of the 17th Lunar and Planetary Science Conference, Houston, TX, USA; 1987; pp. E432–E446.
- Safronov, V. Evolution of the Protoplanetary Cloud and Formation of the Earth and the Planets. Translated NASA Technical Document 677, 1972 (originally published by Nauka Press: Moscow, USSR, 1969).
- Schaeffer, G. A.; Schaeffer, O. A. 39Ar-40Ar Ages of Lunar Rocks. In Proceedings of the 8th Lunar Science Conference, Houston, TX, USA; 1977; pp. 2253–2300.
- Schmitz, B.; Häggström, T.; Tassinari, M. Sediment-Dispersed Extraterrestrial Chromite Traces a Major Asteroid Disruption Event. Science 2003, 300, 961–964.
- Schultz, P. H.; Crawford, D. A. Origin and Implications of Non-radial Imbrium Sculpture on the Moon. Nature 2016, 535, 391–394.
- Shoemaker, E. M. Interpretation of Lunar Craters. In Physics and Astronomy of the Moon; Kopal, Z., Ed.; Academic Press: New York, NY, USA, 1962; pp. 283–359.
- Sleep, N. H.; Zahnle, K., Kasting, J.F.; Morowitz, H. J. Annihilation of Ecosystems by Large Asteroid Impacts on the early Earth. Nature 1989, 342, 139–142.
- Spray, J. G. Lithification Mechanisms for Planetary Regoliths: The Glue that Binds. Ann. Rev. Earth Planet. Science 2016, 44, 139–174.
- Spudis, P. D.; Wilhelms, D. E.; Robinson, M. S. The Sculptured Hills of the Taurus Highlands: Implications for the Relative Age of Serenitatis, Basin Chronologies and the Cratering History of the Moon. J. Geophys. Res. 2011, 116, CiteID E00H03.
- Staudacher, T.; Dominik, B.; Jessberger, E. K.; Kirsten, T. Consortium Breccia 73255: 40Ar-39Ar Dating. 9th Lunar and Planetary Science Conference, Houston, TX, USA, 1978; pp. 1098–1100.
- Staüdermann, F. J.; Heusser, E.; Jessberger, E.; Lingner, S. New 40Ar-39Ar Ages of Apollo 14 Rocks. Geochim. Cosmochim. Acta 1991, 55, 2339–2349.
- Stöffler, D.; Ryder, G. Stratigraphy and Isotope Ages of Lunar Geologic Units: Chronological Standard for the Inner Solar System. In Chronology and Evolution of Mars; Kallenbach, R., Geiss, J., Hartmann, W. K., Eds.; Kluwer Academic Publishers: Dordrecht, Netherlands, 2001; pp. 105–164.
- Stöffler, D.; Bischoff, A.; Borchardt, R.; Burghele, A.; Deutsch, A.; Jessberger, E. K.; Ostertag, R.; Palme, H.; Spettel, B.; Reimold, W. U.; Wacker, K.; Wänke, H. Composition and Evolution of the Lunar Crust in the Descartes Highlands, Apollo 16. J. Geophys. Res. 1985, 90, C449–C506.
- Stöffler, D.; Ryder, G.; Ivanov, B. A.; Artemieva, N. A.; Cintala, M. J.; Grieve, R. A. F. Cratering History and Lunar Chronology. Rev. Mineral. Geochem. 2006, 60, 519–596.
- Strom, R. G.; Marchi, S.; Malhotra, R. Ceres and the Terrestrial Planets Impact Cratering Record. Icarus 2018, 302, 104–108.
- Stuart-Alexander, D. E.; Howard, K. A. Lunar Maria and Circular Basins B A Review. Icarus 1970, 12, 440–456.
- Swann, G. A.; Bailey, N.; Batson, R.; Eggleton, R.; Hait, M.; Holt, H.; Larson, K.; Reed, V.; Schaber, G.; Trask, N.; Ulrich, G.; Wilshire, H. Geology of the Apollo 14 Landing Site in the Fra Mauro Highlands. U.S.G.S. Geological Survey Professional Survey Paper 880; U. S. Government Printing Office, Washington, D. C., USA, 1977.
- Swindle, T.; Kring, D. Was There a Concentration of Lunar and Asteroidal Impacts at ~4000 Ma? Workshop on Early Solar System Impact Bombardment III, Houston, TX, USA, 4–5 February 2015; LPI Contribution No. 1826, p. 3030.
- Swindle, T. D.; Kring, D. A.; Weirich, J. R. 40Ar/39Ar Ages of Impacts Involving Ordinary Chondrite Meteorites. In Advances in 40Ar/39Ar Dating; Jourdan, F., Mark, D. F., Verati, C., Eds.; Geological Society: London, UK, 2013, pp. 333–348.
- Taylor, S. R. Planetary Science: A Lunar Perspective; Lunar and Planetary Institute: Houston, TX, USA, 1982.
- Taylor, S. R. Solar System Evolution: A New Perspective; Cambridge University Press: Cambridge, UK, 1992.
- Taylor, G. J.; Warren, P.; Ryder, G.; Delano, J.; Pieters, C.; Lofgren, G. Lunar Rocks. In Lunar Sourcebook; Heiken, G. H., Vaniman, D. T., French, B., Eds.; Cambridge University Press: Cambridge, MA, USA, 1991; pp. 183–284.
- Tera F.; Papanastassiou, D. A.; Wasserburg, G. J. A Lunar Cataclysm at ~3.9 AE and the Structure of Lunar Crust. 4th Lunar and Planetary Science Conference, Houston, TX, USA, 1973; p. 723.
- Tera, F.; Papanastassiou, D. A.; Wasserburg, G. J. Isotopic Evidence for a Terminal Lunar Cataclysm. Earth Planet. Science Lett. 1974a, 22, 1–21.
- Tera, F.; Papanastassiou, D. A.; Wasserburg, G. J. The Lunar Time Scale and a Summary of Isotopic Evidence for a Terminal Lunar Cataclysm. 5th Lunar and Planetary Science Conference, Houston, TX, USA, 1974b; p. 792.
- Thiessen, F.; Nemchin, A. A.; Snape, J. F.; Whitehouse, M. J.; Bellucci, J. J. Impact History of the Apollo 17 Landing Site Revealed by U-Pb SIMS Ages. Meteor. Planet. Science 2017, 52, 584–611.
- Tholen, D. J.; Barucci, M. A. Asteroid Taxonomy. In Asteroids II; Binzel, R. P., Gehrels, T., Matthews, M. S., Eds.; University of Arizona Press: Tucson, AZ, USA, 1989; pp. 298–315.
- Thompson, T. W. Atlas of Lunar Radar Maps at 70-cm Wavelength. The Moon 1974, 10, 51B 85.
- Thompson, T. W.; Roberts, W. J.; Hartmann, W. K.; Shorthill, R. W.; Zisk, S. H. Blocky Craters: Implications about the Lunar Megaregolith. Moon and the Planets 1979, 21, 319–342.
- Trieloff, M.; Korochantseva, E.; Buikin, A.; Schwarz, W.; Hopp, J.; Lorentz, C.; Jessberger, E. L Chondrite Asteroid Breakup tied to Ordovician Meteorite Shower by Multiple Isochron 40Ar-39Ar Dating. 1st International Conference on Impact Cratering in the Solar System, Zurich, Switzerland, 6-11 August 2006; Abstract.
- Tsiganis, K.; Gomes, R.; Morbidelli, A.; Levison, H. Origin of the Orbital Architecture of the Giant Planets of the Solar System. Nature 2005, 435, 459–461.
- Turner, G. The Early Chronology of the Moon: Evidence for the Early Collisional History of the Solar System. Phil. Trans. Royal Soc. A, Math. Phys. Science 1977, 285(1327) 97–103.
- Turner, G.; Cadogan, P. H. 40Ar-39Ar Chronology of Chondrites. Meteoritics 1973, 8, 447–448.
- Turner, G.; Cadogan, P. H. The History of Lunar Bombardment Inferred from 40Ar-39Ar Dating of Highland Rocks. In Proceedings of the 6th Lunar Science Conference, Houston, TX, USA, 17–21 March 1975; pp. 1509–1538.
- Turner, G.; Cadogan, P. H., Yonge, C. J. Argon Selenochronology. In Proceedings of the 4th Lunar Science Conference, Houston, TX, USA, 1973; p. 1889.
- Urey, H. C. The Planets: Their Origin and Development; Yale University Press: New Haven, CT, USA, 1952.
- Walsh, K. J.; Morbidelli, A.; Raymond, S. N.; O’Brien, D. P.; Mandell, A. M. A Low Mass for Mars from Jupiter’s Early Gas-driven Migration. Nature 2011, 475, 206–209.
- Warren, P. Early Lunar Cratering and a Reality Check on Efforts to Directly Age-date Lunar Magma Ocean Crystallization. Meteoritical Society Meeting, Workshop on the First Ga of Impact Records: Evidence from Luna Samples and Meteorites, Berkeley, CA, USA, 25–26 July 2015; LPI Contribution No. 1884, p. 6022.
- Warren, P. H.; Haack, H.; Rasmussen, K. L. Megaregolith Insulation and the Duration of Cooling to Isotopic Closure within Differentiated Asteroids and the Moon. J. Geophys. Res. 1991, 96, 5909–5923.
- Wetherill, G. W. Late Heavy Bombardment of the Moon and Terrestrial Planets. 6th Lunar and Planetary Science Conference, Houston, TX, USA, 1975; pp. 866–868.
- Wetherill, G. W. Evolution of the Earth’s Planetesimal Swarm Subsequent to the Formation of the Earth and Moon. 8th Lunar and Planetary Science Conference, Houston, TX, USA, 1977a; Abstract 1005–1007.
- Wetherill, G. W. Evolution of the Earth’s Planetesimal Swarm Subsequent to the Formation of the Earth and Moon. In Proceedings of the 8th Lunar and Planetary Science Conference, Houston, TX, USA, 1977b; pp. 1–16.
- Whitaker, E.; Kuiper, G. P.; Hartmann, W. K.; Spradley, L. H. Rectified Lunar Atlas; University of Arizona Press with the Lunar and Planetary Laboratory: Tucson, AZ, USA, 1964.
- Wieczorek, M. A. and 15 others. The Crust of the Moon as Seen by GRAIL. Science 2013, 339, 671–674.
- Wilhelms, D. E. The Geologic History of the Moon. U.S. Geol. Surv. Prof. Pap. 1348, 1987.
- Wilkening, L. L. Meteorites in Meteorites: Evidence for Mixing among the Asteroids. In Comets, Asteroids and Meteorites; Delsemme, A. H., Ed.; University of Toledo Press: Toledo, OH, USA, 1977; pp. 389–396.
- Zellner, N. E. B. Cataclysm No More: New Views on the Timing and Delivery of Lunar Impactors. Orig. Life Evol. Biosph. 2017, 47, 261–280.
- Zellner, N. E. B.; Delano, J. W. 40Ar/39Ar Ages of Lunar Impact Glasses: Relationships among Ar Diffusivity, Chemical Composition, Shape, and Size. Geochim. Cosmochim. Acta 2015, 161, 203–218.
- Zhu, M.-H.; Wünnemann, K.; Artemieva, N. Effects of Moon’s Thermal State on the Impact Basin Ejecta Distribution. Geophys. Res. Lett. 2017, 22, 11,292–11,300.
- Zuber, M. T.; and 16 others. Gravity Field of the Moon from the Gravity Recovery and Interior Laboratory (GRAIL) Mission. Science 2013, 339(6120), 668–671.
References
- Kuhn, T.S. The Structure of Scientific Revolutions; University of Chicago Press: Chicago, IL, USA, 1962. [Google Scholar]
- Tera, F.; Papanastassiou, D.A.; Wasserburg, G.J. A Lunar Cataclysm at ~3.9 AE and the Structure of Lunar Crust. In Proceedings of the 4th Lunar and Planetary Science Conference, Houston, TX, USA, 5–8 March 1973; p. 723. [Google Scholar]
- Tera, F.; Papanastassiou, D.A.; Wasserburg, G.J. Isotopic Evidence for a Terminal Lunar Cataclysm. Earth Planet. Sci. Lett. 1974, 22, 1–21. [Google Scholar] [CrossRef]
- Tera, F.; Papanastassiou, D.A.; Wasserburg, G.J. The Lunar Time Scale and a Summary of Isotopic Evidence for a Terminal Lunar Cataclysm. In Proceedings of the 5th Lunar and Planetary Science Conference, Houston, TX, USA, 18–22 March 1974; p. 792. [Google Scholar]
- Turner, G.; Cadogan, P.H. 40Ar-39Ar Chronology of Chondrites. Meteoritics 1973, 8, 447–448. [Google Scholar]
- Turner, G.; Cadogan, P.H.; Yonge, C.J. Argon Selenochronology. In Proceedings of the 4th Lunar Science Conference, Houston, TX, USA, 5–8 March 1973; p. 1889. [Google Scholar]
- Wetherill, G.W. Late Heavy Bombardment of the Moon and Terrestrial Planets. In Proceedings of the 6th Lunar and Planetary Science Conference, Houston, TX, USA; 1975; pp. 866–868. [Google Scholar]
- Wetherill, G.W. Evolution of the Earth’s Planetesimal Swarm Subsequent to the Formation of the Earth and Moon. In Proceedings of the 8th Lunar and Planetary Science Conference, Houston, TX, USA, 14–18 March 1977a; pp. 1005–1007. [Google Scholar]
- Wetherill, G.W. Evolution of the Earth’s Planetesimal Swarm Subsequent to the Formation of the Earth and Moon. In Proceedings of the 8th Lunar and Planetary Science Conference, Houston, TX, USA, 14–18 March 1977b; pp. 1–16. [Google Scholar]
- Turner, G.; Cadogan, P.H. The History of Lunar Bombardment Inferred from 40Ar-39Ar Dating of Highland Rocks. In Proceedings of the 6th Lunar Science Conference, Houston, TX, USA, 17–21 March 1975; pp. 1509–1538. [Google Scholar]
- Ryder, G. Lunar Samples, Lunar Accretion and the Early Bombardment of the Moon. Eos 1990, 71, 313, 322–323. [Google Scholar] [CrossRef]
- Levison, H.F.; Dones, L.; Chapman, C.R.; Stern, S.A.; Duncan, M.J.; Zahnle, K. Could the Lunar Late Heavy Bombardment Have Been Triggered by the Formation of Uranus and Neptune? Icarus 2001, 151, 286–306. [Google Scholar] [CrossRef]
- Bottke, W.F.; Vokrouhlický, D.; Nesvorný, D.; Minton, D.; Morbidelli, A.; Brasser, R. The E-Belt: A Possible Missing Link in the Late Heavy Bombardment. In Proceedings of the 41st Lunar and Planetary Science Conference, Houston, TX, USA, 2010; LPI Contribution No. 1533. p. 1269. [Google Scholar]
- Baldwin, R.B. The Face of the Moon; University of Chicago Press: Chicago, IL, USA, 1949. [Google Scholar]
- Fielder, G. Structure of the Moon’s Surface; Pergamon Press: London, UK, 1961. [Google Scholar]
- Beals, C.S.; Innes, M.J.S.; Rottenberg, J.A. Fossil Meteorite craters. In The Moon, Meteorites, and Comets; Middlehurst, B.M., Kuiper, G.P., Eds.; University of Chicago Press: Chicago, IL, USA, 1963; pp. 235–284. [Google Scholar]
- Hartmann, W.K. Terrestrial and Lunar Flux of Large Meteorites in the Last Two Billion Years. Icarus 1965, 4, 157–165. [Google Scholar] [CrossRef]
- Hartmann, W.K. Early Lunar Cratering. Icarus 1966, 5, 406–418. [Google Scholar] [CrossRef]
- Hartmann, W.K. Does Crater “Saturation Equilibrium” Exist in the Solar System? Icarus 1984, 60, 56–74. [Google Scholar] [CrossRef]
- Hartmann, W.K.; Wood, C.A. Origin and Evolution of Multi-ring Basins. Moon 1971, 3, 3–78. [Google Scholar] [CrossRef]
- Baldwin, R.B. Ancient Giant Craters and the Age of the Lunar Surface. Astronom. J. 1969, 14, 570–571. [Google Scholar] [CrossRef]
- Shoemaker, E.M. Interpretation of Lunar Craters. In Physics and Astronomy of the Moon; Kopal, Z., Ed.; Academic Press: New York, NY, USA, 1962; pp. 283–359. [Google Scholar]
- Urey, H.C. The Planets: Their Origin and Development; Yale University Press: New Haven, CT, USA, 1952. [Google Scholar]
- NASA Johnson Space Center Curatorial Document. Available online: http://curator.jsc.nasa.gov/lunar/lsc/15415.pdf (accessed on 10 May 2019).
- Swann, G.A.; Bailey, N.; Batson, R.; Eggleton, R.; Hait, M.; Holt, H.; Larson, K.; Reed, V.; Schaber, G.; Trask, N.; et al. Geology of the Apollo 14 Landing Site in the Fra Mauro Highlands. U.S.G.S. Geological Survey Professional Survey Paper 880; U. S. Government Printing Office: Washington, DC, USA, 1977.
- Stöffler, D.; Ryder, G. Stratigraphy and Isotope Ages of Lunar Geologic Units: Chronological Standard for the Inner Solar System. In Chronology and Evolution of Mars; Kallenbach, R., Geiss, J., Hartmann, W.K., Eds.; Kluwer Academic Publishers: Dordrecht, The Netherlands, 2001; pp. 105–164. [Google Scholar]
- Turner, G. The Early Chronology of the Moon: Evidence for the Early Collisional History of the Solar System. Philos. Trans. R. Soc. A Math. Phys. Sci. 1977, 285, 97–103. [Google Scholar] [CrossRef]
- Schaeffer, G.A.; Schaeffer, O.A. 39Ar-40Ar Ages of Lunar Rocks. In Proceedings of the 8th Lunar Science Conference, Houston, TX, USA, 1977; pp. 2253–2300. [Google Scholar]
- Strom, R.G.; Marchi, S.; Malhotra, R. Ceres and the Terrestrial Planets Impact Cratering Record. Icarus 2018, 302, 104–108. [Google Scholar] [CrossRef]
- Michael, G.; Basilevsky, A.; Neukum, G. On the History of the Early Meteorite Bombardment of the Moon: Was There a Terminal Lunar Cataclysm? Icarus 2018, 302, 80–103. [Google Scholar] [CrossRef]
- Hartmann, W.K. Preliminary Note on Lunar Cratering Rates and Absolute Time Scales. Icarus 1970, 12, 131–133. [Google Scholar] [CrossRef]
- Hartmann, W.K. Lunar Cratering Chronology. Icarus 1970, 13, 299–301. [Google Scholar] [CrossRef]
- Hartmann, W.K. Paleocratering of the Moon: Review of Post-Apollo Data. Astrophys. Space Sci. 1972, 12, 48–64. [Google Scholar] [CrossRef]
- Hartmann, W.K. Dropping Stones in Magma Oceans: Effects of Early Lunar Cratering. In Proceedings of the Conference on the Lunar Highlands Crust, Houston, TX, USA, 1979; Pergamon Press: New York, NY, USA, 1980; pp. 155–171. [Google Scholar]
- Hartmann, W.K.; Ryder, G.; Dones, L.; Grinspoon, D. The Time-Dependent Intense Bombardment of the Primordial Earth/Moon System. In Origin of the Earth and Moon; Canup, R.M., Righter, K., Eds.; University of Arizona Press: Tucson, AZ, USA, 2000; pp. 493–512. [Google Scholar]
- Neukum, G. Meteoritenbombardement und Datierung Planetarer Oberflächen. Habilitation Dissertation, Faculty Membership, Ludwig-Maximilians University of Munich, Munich, Germany, 1983. [Google Scholar]
- Neukum, G.; Ivanov, B. Crater Size Distributions and Impact Probabilities from Lunar, Terrestrial-planet, and Asteroid Cratering Data. In Hazards Due to Comets and Asteroids; Gehrels, T., Ed.; University of Arizona Press: Tucson, AZ, USA, 1995; pp. 359–416. [Google Scholar]
- Neukum, G.; Ivanov, B.A.; Hartmann, W.K. Cratering Records in the Inner Solar System in Relation to the Lunar Reference System. In Chronology and Evolution of Mars; Kallenbach, R., Geiss, J., Hartmann, W.K., Eds.; International Space Science Institute: Bern, Switzerland, 2001; (also published in Space Science Rev., 2001, 96, 55–86). [Google Scholar]
- Quantin, C.; Allemand, P.; Mangold, N.; Delacourt, C. Ages of Valles Marineris (Mars) Landslides and Implications for Canyon History. Icarus 2004, 172, 555–572. [Google Scholar] [CrossRef]
- Quantin, C.; Mangold, N.; Hartmann, W.K.; Allemand, P. Possible Long-term Decline in Impact Rates 1: Martian Geological Data. Icarus 2007, 186, 1–10. [Google Scholar] [CrossRef]
- Robbins, S.J. Revised Lunar Cratering Chronology for Planetary Geological Histories. In Proceedings of the 44th Lunar and Planetary Science Conference, The Woodlands, TX, USA, 2013; LPI Contribution No. 1719. p. 1619. [Google Scholar]
- Hartmann, W.K.; Quantin, C.; Mangold, N. Possible Long-term Decline in Impact Rates 2: Lunar Impact-melt Data Regarding Impact History. Icarus 2007, 186, 11–23. [Google Scholar] [CrossRef]
- Hartmann, W.K.; Gaskell, R. Planetary Cratering 2: Studies of Saturation Equilibrium. Meteorit. Planet. Sci. 1997, 32, 109–121. [Google Scholar] [CrossRef]
- Nash, D.E.; Conel, J.E.; Fanale, F.P. Objectives and Requirements of Unmanned Rover Exploration of the Moon. Moon 1971, 3, 221–230. [Google Scholar] [CrossRef]
- Hartmann, W.K. Ancient Lunar Mega-Regolith and Subsurface Structure. Icarus 1973, 18, 634–636. [Google Scholar] [CrossRef]
- Hartung, J.B. Can Random Impacts Cause the Observed 39Ar/40Ar Age Distribution for Lunar Highland Rocks? Meteoritics 1974, 9, 349. [Google Scholar]
- Koeberl, C.; Anderson, R.R. Memorial: Jack B. Hartung, March 10, 1937–August 28, 2015. Meteorit. Planet. Sci. 2015, 50, 2137–2139. [Google Scholar] [CrossRef]
- Baldwin, R.B. Was There a Terminal Cataclysm 3.9–4.0 × 109 years ago? Icarus 1974, 23, 157–166. [Google Scholar] [CrossRef]
- Hartmann, W.K. Lunar Cataclysm: A misconception? Icarus 1975, 24, 181–187. [Google Scholar] [CrossRef]
- Safronov, V. Evolution of the Protoplanetary Cloud and Formation of the Earth and the Planets; Israel Progam for Scientific Translations, Translator; Printed in Jerusalem and circulated by U.S. Dept. of Commerce; NASA Technical Document 677; 1972; (originally published in Russian by Nauka Press: Moscow, USSR, 1969). [Google Scholar]
- Grinspoon, D.H. Large Impact Events and Atmospheric Evolution on the Terrestrial Planets. Ph.D. Thesis, University of Arizona, Tucson, AZ, USA, 1989. [Google Scholar]
- Hartmann, W.K. Megaregolith Evolution and Cratering Cataclysm Models B Lunar Cataclysm as a Misconception (28 Years Later). Meteorit. Planet. Sci. 2003, 38, 579–593. [Google Scholar] [CrossRef]
- Boehnke, P.; Harrison, T.M. Illusory Late Heavy Bombardments. Proc. Natl. Acad. Sci. USA 2016, 113, 10802–10806. [Google Scholar] [CrossRef] [PubMed]
- Taylor, S.R. Planetary Science: A Lunar Perspective; Lunar and Planetary Institute: Houston, TX, USA, 1982. [Google Scholar]
- Taylor, S.R. Solar System Evolution: A New Perspective; Cambridge University Press: Cambridge, UK, 1992. [Google Scholar]
- Taylor, G.J.; Warren, P.; Ryder, G.; Delano, J.; Pieters, C.; Lofgren, G. Lunar Rocks. In Lunar Sourcebook; Heiken, G.H., Vaniman, D.T., French, B., Eds.; Cambridge University Press: Cambridge, MA, USA, 1991; pp. 183–284. [Google Scholar]
- Spray, J.G. Lithification Mechanisms for Planetary Regoliths: The Glue that Binds. Ann. Rev. Earth Planet. Sci. 2016, 44, 139–174. [Google Scholar] [CrossRef]
- Melosh, H.J. Impact Cratering: A Geologic Process; Oxford University Press: New York, NY, USA, 1989. [Google Scholar]
- Stöffler, D.; Ryder, G.; Ivanov, B.A.; Artemieva, N.A.; Cintala, M.J.; Grieve, R.A.F. Cratering History and Lunar Chronology. Rev. Mineral. Geochem. 2006, 60, 519–596. [Google Scholar] [CrossRef]
- Artemieva, N.; Shuvalov, V. Numerical Simulation of High-velocity Impact Ejecta Following Falls of Comets and Asteroids onto the Moon. Solar Sys. Res. 2008, 42, 329–334. [Google Scholar] [CrossRef]
- Fernandes, V.; Artemieva, N. Impact Ejecta Temperature Profile on the Moon—What Are the Effects on the Ar-Ar Dating Method? In Proceedings of the 43rd Lunar and Planetary Science Conference, The Woodlands, TX, USA, 2012. Abstract No. 1659. [Google Scholar]
- Haskin, L.A.; Korotev, R.L.; Rockow, K.M.; Joliff, B.L. The Case for an Imbrium Origin of the Apollo Thorium-rich Impact-melt Breccias. Meteorit. Planet. Sci. 1998, 33, 959–975. [Google Scholar] [CrossRef]
- Petro, N.E.; Pieters, C.M. Modeling the Provenance of the Apollo 16 Regolith. J. Geophys. Res. 2006, 111. [Google Scholar] [CrossRef]
- Warren, P. Early Lunar Cratering and a Reality Check on Efforts to Directly Age-date Lunar Magma Ocean Crystallization. In Proceedings of the Meteoritical Society Meeting, Workshop on the First Ga of Impact Records: Evidence from Luna Samples and Meteorites, Berkeley, CA, USA, 2015; LPI Contribution No. 1884. p. 6022. [Google Scholar]
- Meyer, H.H.; Robinson, M.S.; Denevi, B.W.; Boyd, A.K. A New Global Map of Light Plains from the Lunar Reconnaissance Orbiter Camera. In Proceedings of the 49th Lunar and Planetary Science Conference, The Woodlands, TX, USA, 19–23 March 2018. LPI Contribution No. 2083, id.1474. [Google Scholar]
- Gladman, B.J.; Burns, J.A.; Duncan, M.J.; Levison, H.F. The Dynamical Evolution of Lunar Impact Ejecta. Icarus 1995, 118, 302–321. [Google Scholar] [CrossRef]
- Eugster, O. Cosmic-ray Exposure Ages of Meteorites and Lunar Rocks and Their Significance. Chemie der Erde Geochem. 2003, 63, 3–30. [Google Scholar] [CrossRef]
- Schultz, P.H.; Crawford, D.A. Origin and Implications of Non-radial Imbrium Sculpture on the Moon. Nature 2016, 535, 391–394. [Google Scholar] [CrossRef] [PubMed]
- Cohen, B.A.; Swindle, T.D.; Kring, D.A. Support for the Lunar Cataclysm Hypothesis from Lunar Meteorite Impact Melt Ages. Science 2000, 290, 1754–1756. [Google Scholar] [CrossRef]
- Cohen, B.A.; Swindle, T.D.; Taylor, L.A.; Nazarov, M.A. 40Ar-39Ar Ages from Impact Melt Clasts in Lunar Meteorites Dhofar 025 and Dhofar 026. In Proceedings of the 33rd Lunar and Planetary Science Conference, Houston, TX, USA, 2002. Abstract No. 1252. [Google Scholar]
- Cohen, B.A.; Swindle, T.D.; Kring, D.A. Geochemistry and 40Ar-39Ar Geochronology of Impact-melt Clasts in Feldspathic Lunar Meteorites: Implications for Lunar Bombardment History. Meteorit. Planet. Sci. 2005, 40, 755–777. [Google Scholar] [CrossRef]
- Kring, D.A.; Cohen, B.A. Cataclysmic Bombardment Throughout the Inner Solar System 3.9–4.0 Ga. J. Geophys. Res. 2002, 107. [Google Scholar] [CrossRef]
- Wilhelms, D.E. The Geologic History of the Moon; U.S. Geol. Surv. Prof. Pap. 1348; USGS: Reston, VA, USA, 1987.
- Nunes, P.D.; Tatsumoto, M.; Unruh, D.M. U-Th-Pb Systematics of Some Apollo 17 Lunar Samples, and Implications for a Lunar Basin Excavation Chronology. In Proceedings of the 5th Lunar Science Conference, Houston, TX, USA; 1974; pp. 1487–1514. [Google Scholar]
- McGetchin, T.R.; Settle, M.; Head, J.W. Radial Thickness Variation in Impact Crater Ejecta: Implications for Lunar Basin Deposits. Earth Planet. Sci. Lett. 1973, 20, 226–236. [Google Scholar] [CrossRef]
- Hiesinger, H.; Jaumann, R.; Neukum, G.; Head, J.W. Ages of Mare Basalts on the Lunar Nearside. J. Geophys. Res. 2000, 105, 29239–29275. [Google Scholar] [CrossRef]
- Ryder, G.; Spudis, P.D. Chemical Composition and Origin of Apollo 15 Impact Melts. In Proceedings of the 17th Lunar and Planetary Science Conference, Houston, TX, USA, 16–20 March 1987; p. 432. [Google Scholar]
- Deutsch, R.A.; Stöffler, D. Rb-Sr Analysis of Apollo 16 Melt Rocks and a New Age Estimate for the Imbrium Basin Chronology and the Early Heavy Bombardment of the Moon. Geochim. Cosmochim. Acta 1987, 51, 1951–1964. [Google Scholar] [CrossRef]
- Stöffler, D.; Bischoff, A.; Borchardt, R.; Burghele, A.; Deutsch, A.; Jessberger, E.K.; Ostertag, R.; Palme, H.; Spettel, B.; Reimold, W.U.; et al. Composition and Evolution of the Lunar Crust in the Descartes Highlands, Apollo 16. J. Geophys. Res. 1985, 90, C449–C506. [Google Scholar] [CrossRef]
- Jessberger, E.K.; Kirsten, T.; Staudacher, T. One Rock and Many Ages—Further K-Ar Data on Consortium Breccia 83215. Proceedings of 8th Lunar and Planetary Science Conference, Houston, TX, USA; Lunar and Planetary Institute: Houston, TX, USA, 1977; pp. 2567–2580. [Google Scholar]
- Staüdermann, F.J.; Heusser, E.; Jessberger, E.; Lingner, S. New 40Ar-39Ar Ages of Apollo 14 Rocks. Geochim. Cosmochim. Acta 1991, 55, 2339–2349. [Google Scholar] [CrossRef]
- Hartmann, W.K.; Kuiper, G.P. Concentric Structures Surrounding Lunar Basins. Commun. Lunar Planet. Lab. 1962, 1, 51–66. [Google Scholar]
- Zuber, M.T.; Smith, D.E.; Watkins, M.M.; Asmar, S.W.; Konopliv, A.S.; Lemoine, F.G.; Melosh, H.J.; Neumann, G.A.; Phillips, R.J.; Solomon, S.C.; et al. Gravity Field of the Moon from the Gravity Recovery and Interior Laboratory (GRAIL) Mission. Science 2013, 339, 668–671. [Google Scholar] [CrossRef] [PubMed]
- Wieczorek, M.A.; Neumann, G.A.; Nimmo, F.; Kiefer, W.S.; Taylor, G.J.; Melosh, H.J.; Phillips, R.J.; Solomon, S.C.; Andrews-Hanna, J.C.; Asmar, S.W.; et al. The Crust of the Moon as Seen by GRAIL. Science 2013, 339, 671–674. [Google Scholar] [CrossRef] [PubMed]
- Staudacher, T.; Dominik, B.; Jessberger, E.K.; Kirsten, T. Consortium Breccia 73255: 40Ar-39Ar Dating. In Proceedings of the 9th Lunar and Planetary Science Conference, Houston, TX, USA, 13–17 March 1978; pp. 1098–1100. [Google Scholar]
- Hartmann, W.K.; Strom, R.; Weidenschilling, S.; Blasius, K.; Woronow, A.; Dence, M.; Grieve, R.; Diaz, J.; Chapman, C.; Shoemaker, E.; et al. Chronology of Planetary Volcanism by Comparative Studies of Planetary Craters. In Basaltic Volcanism on the Terrestrial Planets (Basaltic Volcanism Study Project); Pergamon Press: Elmsford, NY, USA, 1981; pp. 1050–1127. [Google Scholar]
- Hartmann, W.K.; Daubar, I.J. Martian Cratering 11. Utilizing Decameter Scale Crater Populations to Study Martian History. Meteorit. Planet. Sci. 2017, 52, 493–510. [Google Scholar] [CrossRef]
- Fassett, C.I.; Head, J.; Kadish, S.; Mazarico, E.; Neumann, G.; Smith, D.; Zuber, M. Lunar Impact Basins: Stratigraphy, Sequences, and Ages from Superposed Impact Crater Populations Measured from Lunar Orbiter Laser Altimeter (LOLA) Data. J. Geophys. Res. 2012, 117. [Google Scholar] [CrossRef]
- Liu, T.; Michael, G.; Engelmann, J.; Wünnemann, K.; Oberst, J. Regolith Mixing by Impacts: Lateral Diffusion of Basin Melt. Icarus 2019, 321, 691–704. [Google Scholar] [CrossRef]
- Stuart-Alexander, D.E.; Howard, K.A. Lunar Maria and Circular Basins B—A Review. Icarus 1970, 12, 440–456. [Google Scholar] [CrossRef]
- Basilevsky, A.T.; Head, J.W.; Hörz, F. Survival Times of Meter-sized Boulders on the Surface of the Moon. Planet. Space Sci. 2013, 89, 118–126. [Google Scholar] [CrossRef]
- Ghent, R.R.; Leverington, D.W.; Campbell, B.A.; Hawke, B.R.; Campbell, D.B. Earth-based Observations of Radar-dark Crater Haloes on the Moon: Implications for Regolith Properties. J. Geophys. Res. 2005, 110. [Google Scholar] [CrossRef]
- Ghent, R.R.; Hayne, P.O.; Bandfield, J.L.; Campbell, B.A.; Carter, L.M.; Allen, C.C.; Paige, D.A. Constraints on the Recent Rate of Lunar Ejecta Breakdown. Geology 2014, 42, 1059–1062. [Google Scholar] [CrossRef]
- Hartmann, W.K. Terrestrial, Lunar, and Interplanetary Rock Fragmentation. Icarus 1969, 10, 201–213. [Google Scholar] [CrossRef]
- Thiessen, F.; Nemchin, A.A.; Snape, J.F.; Whitehouse, M.J.; Bellucci, J.J. Impact History of the Apollo 17 Landing Site Revealed by U-Pb SIMS Ages. Meteorit. Planet. Sci. 2017, 52, 584–611. [Google Scholar] [CrossRef]
- Spudis, P.D.; Wilhelms, D.E.; Robinson, M.S. The Sculptured Hills of the Taurus Highlands: Implications for the Relative Age of Serenitatis, Basin Chronologies and the Cratering History of the Moon. J. Geophys. Res. 2011, 116. [Google Scholar] [CrossRef]
- Baldwin, R.B. Absolute Ages of the Lunar Maria and Large Craters. Icarus 1969, 11, 320–331. [Google Scholar] [CrossRef]
- Martellato, E.; Vivaldi, V.; Massironi, M.; Cremonese, G.; Marzari, F.; Ninfo, A.; Haruyama, J. Is the Linné Impact Crater Morphology Influenced by the Rheological Layering on the Moon’s Surface? Insights from Numerical Modeling. Meteorit. Planet. Sci. 2017, 52, 1388–1411. [Google Scholar] [CrossRef]
- Head, J.W. Serenitatis Multi-ringed Basin: Regional Geology and Basin Ring Interpretation. Moon Planets 1979, 21, 439–462. [Google Scholar] [CrossRef]
- James, O.B. Petrologic and Age Relations of the Apollo 16 Rocks—Implications for Subsurface Geology and the Age of the Nectaris Basin. In Proceedings of the 12th Lunar and Planetary Science Conference, Houston, TX, USA, 15–19 March 1982; pp. 209–233. [Google Scholar]
- Fischer-Gödde, M.; Becker, H. What Is the Age of the Nectaris Basin? New Re-Os Constraints for a Pre-4.0 Ga Bombardment History of the Moon. In Proceedings of the 42nd Lunar and Planetary Science Conference, The Woodlands, TX, USA, 2011; LPI Contribution No. 1608. p. 1414. [Google Scholar]
- Norman, M.; Nemchin, A. Large Impacts at 4.2 Ga from Uranium-Lead Dating of Lunar Melt Breccia. In Proceedings of the Workshop on Early Solar System Impact Bombardment II, Houston, TX, USA, 2012; LPI Contribution No. 1649. pp. 59–60. [Google Scholar]
- Norman, M.D.; Taylor, L.; Shih, C.-Y.; Nyquist, L. Crystal Accumulation in a 4.2 Ga Lunar Impact Melt. Geochim. Cosmochim. Acta 2015, 172, 410–429. [Google Scholar] [CrossRef]
- Whitaker, E.; Kuiper, G.P.; Hartmann, W.K.; Spradley, L.H. Rectified Lunar Atlas; University of Arizona Press with the Lunar and Planetary Laboratory: Tucson, AZ, USA, 1964. [Google Scholar]
- Podosek, F.A.; Huneke, J.; Gancarz, A.; Wasserburg, G. The Age and Petrography of Two Luna 20 Fragments and Inferences for Widespread Lunar Metamorphism. Geochim. Cosmochim. Acta 1973, 37, 423–425. [Google Scholar] [CrossRef]
- Morbidelli, A.; Petit, J.-M.; Gladman, B.; Chambers, J. A Plausible Cause of the Late Heavy Bombardment. Meteorit. Planet. Sci. 2001, 36, 371–380. [Google Scholar] [CrossRef]
- Morbidelli, A.; Levison, H.F.; Tsiganis, K.; Gomes, R. Chaotic Capture of Jupiter’s Trojan Asteroids in the Early Solar System. Nature 2005, 435, 462–465. [Google Scholar] [CrossRef] [PubMed]
- Tsiganis, K.; Gomes, R.; Morbidelli, A.; Levison, H. Origin of the Orbital Architecture of the Giant Planets of the Solar System. Nature 2005, 435, 459–461. [Google Scholar] [CrossRef] [PubMed]
- Gomes, R.; Levison, H.F.; Tsiganis, K.; Morbidelli, A. Origin of the Cataclysmic Late Heavy Bombardment Period of the Terrestrial Planets. Nature 2005, 435, 466–469. [Google Scholar] [CrossRef] [PubMed]
- Wilkening, L.L. Meteorites in Meteorites: Evidence for Mixing among the Asteroids. In Comets, Asteroids and Meteorites; Delsemme, A.H., Ed.; University of Toledo Press: Toledo, OH, USA, 1977; pp. 389–396. [Google Scholar]
- Hartmann, W.K. A Satellite-Asteroid Mystery and a Possible Early Flux of Scattered C-class Asteroids. Icarus 1987, 71, 57–68. [Google Scholar] [CrossRef]
- Hartmann, W.K. Additional Evidence about an Early Intense Flux of C Asteroids and the Origin of Phobos. Icarus 1990, 87, 236–240. [Google Scholar] [CrossRef]
- Cruikshank, D.P.; Hartmann, W.K.; Tholen, D.J. Colour, Albedo and Nucleus Size of Halley’s Comet. Nature 1985, 315, 122–124. [Google Scholar] [CrossRef]
- Bogard, D. Impact Ages of Meteorites: A Synthesis. Meteoritics 1995, 30, 244–268. [Google Scholar] [CrossRef]
- Schmitz, B.; Häggström, T.; Tassinari, M. Sediment-Dispersed Extraterrestrial Chromite Traces a Major Asteroid Disruption Event. Science 2003, 300, 961–964. [Google Scholar] [CrossRef]
- Trieloff, M.; Korochantseva, E.; Buikin, A.; Schwarz, W.; Hopp, J.; Lorentz, C.; Jessberger, E. L Chondrite Asteroid Breakup tied to Ordovician Meteorite Shower by Multiple Isochron 40Ar-39Ar Dating. In Proceedings of the 1st International Conference on Impact Cratering in the Solar System, Zurich, Switzerland, 2006. Abstract. [Google Scholar]
- Cohen, B. The Vestan Cataclysm: Impact-Melt Clasts in Howardites and the Bombardment History of 4 Vesta. Meteorit. Planet. Sci. 2013, 48, 771–785. [Google Scholar] [CrossRef]
- Cruikshank, D.P.; Tholen, D.J.; Hartmann, W.K.; Bell, J.F.; Brown, R.H. Three Basaltic Earth-approaching Asteroids and the Source of Basaltic Meteorites. Icarus 1991, 89, 1–13. [Google Scholar] [CrossRef]
- Gradie, J.C.; Tedesco, E.F. Compositional Structure of the Asteroid Belt. Science 1982, 216, 1405–1407. [Google Scholar] [CrossRef] [PubMed]
- Hartmann, W.K.; Cruikshank, D.P.; Degewij, J. Remote Comets and Related Bodies: VJHK Colorimetry and Surface Materials. Icarus 1982, 52, 377–407. [Google Scholar] [CrossRef]
- Tholen, D.J.; Barucci, M.A. Asteroid Taxonomy. In Asteroids II; Binzel, R.P., Gehrels, T., Matthews, M.S., Eds.; University of Arizona Press: Tucson, AZ, USA, 1989; pp. 298–315. [Google Scholar]
- Gradie, J.C.; Chapman, C.R.; Tedesco, E.F. Distribution of Taxonomic Classes and the Compositional Structure of the Asteroid Belt. In Asteroids II; Binzel, R.P., Gehrels, T., Matthews, M.S., Eds.; University of Arizona Press: Tucson, AZ, USA, 1989; pp. 316–335. [Google Scholar]
- Clark, B.E.; Bus, S.J.; Rivkin, A.S.; McConnochie, T.; Sanders, J.; Shah, S.; Hiroi, T.; Shepard, M. E-type Asteroid Spectroscopy and Compositional Modeling. J. Geophys. Res. 2004, 109. [Google Scholar] [CrossRef]
- Norman, M.D.; Bennett, V.C.; Ryder, G. Targeting the Impactors: Siderophile Element Signatures of Lunar Impact Melts from Serenitatis. Earth Planet. Sci. Lett. 2002, 202, 217–228. [Google Scholar] [CrossRef]
- Becker, H.; Horan, M.; Walker, R.; Gao, S.; Lorand, J.-P.; Rudnik, R. Highly Siderophile Element Composition of the Earth’s Primitive Upper Mantle: Constraints from New Data on Peridotite Massifs and Xenoliths. Geochim. Cosmochim. Acta 2006, 70, 4528–4550. [Google Scholar] [CrossRef]
- Joy, K.H.; Zolensky, M.; Ross, D.; McKay, D.; Kring, D. Direct Detection of Projectile Relics on the Moon. In Proceedings of the Workshop on the Early Solar System Bombardment II, Houston, TX, USA, 2012; LPI Contribution No. 1649. pp. 34–35. [Google Scholar]
- Joy, K.; Nagashima, K.; Huss, G.; Ross, D.; McCoy, D.; Kring, D. Direct Detection of Projectile Relics from the End of the Lunar Basin-forming Epoch. Science 2012, 336, 1426–1429. [Google Scholar] [CrossRef] [PubMed]
- Walsh, K.J.; Morbidelli, A.; Raymond, S.N.; O’Brien, D.P.; Mandell, A.M. A Low Mass for Mars from Jupiter’s Early Gas-driven Migration. Nature 2011, 475, 206–209. [Google Scholar] [CrossRef]
- Fernandes, V.A.; Garrick-Bethel, I.; Shuster, D.L.; Weiss, B. Common 4.2 Ga Impact Age in Samples from Apollo 16 and 17. In Proceedings of the Workshop on Early Solar System Bombardment, Houston, TX, USA, 19–20 November 2008. Program book published 2008; abstract #3028. [Google Scholar]
- Nemchin, A.A.; Pidgeon, R.T.; Whitehouse, M.J.; Vaughan, J.P.; Meyer, C. SIMS U-Pb Study of Zircon from Apollo 14 and 17 Breccias: Implications for the Evolution of Lunar KREEP. Geochim. Cosmochim. Acta 2008, 72, 668–689. [Google Scholar] [CrossRef]
- Pidgeon, R.T.; Nemchin, A.A.; Grange, M.L.; Meyer, C. Evidence for a “Lunar Cataclysm” at 4.34 Ga from Zircon U Pb Systems. In Proceedings of the 41st Lunar and Planetary Science Conference, The Woodlands, TX, USA, 2010; LPI Contribution No. 1533. p. 1126. [Google Scholar]
- Grange, M.L.; Nemchin, A.A.; Pidgeon, R.T.; Merle, R.E.; Timms, N.E. What Lunar Zircon Ages Can Tell? In Proceedings of the 44th Lunar and Planetary Science Conference, The Woodlands, TX, USA, 18–22 March 2013; LPI Contribution No. 1719. p. 1884. [Google Scholar]
- Maher, K.A.; Stevenson, D.J. Impact Frustration of the Origin of Life. Nature 1988, 331, 612–614. [Google Scholar] [CrossRef] [PubMed]
- Koeberl, C. The Record of Impact Processes on the Early Earth: A Review of the First 2.5 Billion Years. In Processes on the Early Earth; Reimold, W.J., Gibson, R.L., Eds.; Geological Society of America: Washington, DC, USA, 2006. [Google Scholar]
- Ćuk, M. Chronology and Sources of Lunar Impact Bombardment. Icarus 2012, 218, 69–79. [Google Scholar] [CrossRef][Green Version]
- Perkins, S. From Hell on Earth, Life’s Building Blocks. Science 2014, 346, 1279. [Google Scholar] [CrossRef] [PubMed]
- Li, Y.; Hsu, W. Multiple Impact Events on the L-Chondrite Parent Body: Insight from SIMS U-Pb Dating of Ca-Phosphates in the NWA 7251 L-Melt Breccia. Meteorit. Planet. Sci. 2018, 53, 1081–1096. [Google Scholar] [CrossRef]
- Marchi, S.; Bottke, W.; Kring, D.; Morbidelli, A. The Onset of the Lunar Cataclysm as Recorded in its Ancient Crater Populations. Earth Planet. Sci. Lett. 2012, 325–326, 27–38. [Google Scholar] [CrossRef]
- Lowe, D.R.; Byerly, G.R. The Terrestrial Record of Late Heavy Bombardment. New Astron. Rev. 2018, 81, 39–61. [Google Scholar] [CrossRef]
- Bottke, W.F.; Vokrouhlický, D.; Minton, D.; Nesvorný, D.; Morbidelli, A.; Brasser, R.; Simonson, B.; Levison, H. An Archean Heavy Bombardment from a Destabilized Extension of the Asteroid Belt. Nature 2012, 485, 78–81. [Google Scholar] [CrossRef]
- Bottke, W.F.; Norman, M.D. The Late Heavy Bombardment. Ann. Rev. Earth Planet. Sci. 2017, 49, 619–647. [Google Scholar] [CrossRef]
- Sleep, N.H.; Zahnle, K.; Kasting, J.F.; Morowitz, H.U. Annihilation of Ecosystems by Large Asteroid Impacts on the Early Earth. Nature 1989, 342, 139–142. [Google Scholar] [CrossRef]
- Ryder, G. Mass Flux in the Ancient Earth-Moon System and Benign Implications for the Origin of Life on Earth. J. Geophys. Res. 2002, 107. [Google Scholar] [CrossRef]
- Norman, M.D.; Shih, C.-Y.; Nyquist, L.E.; Bogard, D.D.; Taylor, L.A. Early Impacts on the Moon: Crystallization Ages of Apollo 16 Melt Breccias. In Proceedings of the 38th Lunar and Planetary Science Conference, League City, TX, USA, 12–16 March 2007; LPI Contribution No. 1338. p. 1991. [Google Scholar]
- Norman, M.D. The Lunar Cataclysm: Reality or “Mythconception? ” Elements 2009, 5, 23–38. [Google Scholar] [CrossRef]
- Lineweaver, C.H. Crater-counting Evidence Against the Late Heavy Bombardment Hypothesis. In Proceedings of the Astrobiology Science Conference 2010: Evolution and Life: Surviving Catastrophes and Extremes on Earth and Beyond, League City, TX, USA, 20–26 April 2010; LPI Contribution No. 1538. p. 5226. [Google Scholar]
- Ćuk, M.; Gladman, B.J.; Stewart, S.T. Constraints on the Source of Lunar Cataclysm Impactors. Icarus 2010, 207, 590–594. [Google Scholar] [CrossRef]
- Hartmann, W.K. Empirical Studies of Lunar Bombardment around 3.6–4 Gy Ago. In Proceedings of the Workshop on the Early Solar System Bombardment II, Houston, TX, USA, 1–3 February 2012; LPI Contribution 1649. pp. 28–29. [Google Scholar]
- Morbidelli, A.; Marchi, S.; Bottke, W.F.; Kring, D.A. A Sawtooth-like Timeline for the First Billion Years of Lunar Bombardment. Earth Planet. Sci. Lett. 2012, 355, 144–151. [Google Scholar] [CrossRef]
- Fernandes, V.A.; Fritz, J.; Weiss, B.P.; Garric-Bethell, I.; Shuster, D.L. The Bombardment History of the Moon as Recorded by 40Ar-39Ar Chronology. Meteorit. Planet. Sci. 2013, 48, 1–29. [Google Scholar] [CrossRef]
- Merle, R.E.; Nemchin, A.; Grange, M.; Whitehouse, M. Stratigraphy of the Fra Mauro Formation Defined by U-Pb Zircon Ages of Breccia Samples from Apollo 14 Landing Site. In Proceedings of the 44th Lunar and Planetary Science Conference, The Woodlands, TX, USA, 2013; LPI Contribution No. 1719. p. 1833. [Google Scholar]
- Norman, M.D.; Nemchin, A.A. A 4.2 Billion Year Old Impact Basin on the Moon: U-Pb Dating of Zirconolite and Apatite in Lunar Melt Rock 67955. Earth Planet. Sci. Lett. 2014, 388, 387–398. [Google Scholar] [CrossRef]
- Bottke, W.F.; Vokrouhlický, D.; Minton, D.; Nesvorný, D.; Morbidelli, A.; Brasser, R.; Simonson, B. The Great Archean Bombardment, or the Late Late Heavy Bombardment. In Proceedings of the 42nd Lunar and Planetary Science Conference, Houston, TX, USA, 2011; LPI Contribution No. 1608. p. 2591. [Google Scholar]
- Andrews-Hanna, J.C.; Besserer, J.; Head, J.; Howett, C.; Kiefer, W.; Lucey, P.; McGovern, P.; Melosh, H.; Neumann, G.; Phillips, R.; et al. Structure and Evolution of the Lunar Procellarum Regio as Revealed by GRAIL Gravity Data. Nature 2014, 514, 68–71. [Google Scholar] [CrossRef]
- Hiesinger, H.; Head, J.; Wolf, U.; Jaumann, R.; Neukum, G. Ages and Stratigraphy of Mare Basalts in Oceanus Procellarum, Mare Nubium, Mare Cognitum, and Mare Insularum. J. Geophys. Res. 2003, 108, 5065. [Google Scholar] [CrossRef]
- Lunar and Planetary Institute, Universities Space Research Association. Lunar Sample Overview, Apollo 12 Mission. Available online: https://www.lpi.usra.edu/lunar/missions/apollo/apollo_12/samples/ (accessed on 13 May 2019).
- Fritz, J.; Bitsch, B.; Kührt, E.; Morbidelli, A.; Tornow, C.; Wünnerman, K.; Fernandes, V.A.; Grenfell, J.L.; Rauer, H.; Wagner, R.; et al. Earth-like Habitats in Planetary Systems. Planet. Space Sci. 2014, 98, 254–267. [Google Scholar] [CrossRef]
- Marchi, S.; Bottke, W.; Elkins-Tanton, L.; Bierhaus, M.; Wuennemann, K.; Morbidelli, A.; Kring, D. Widespread Mixing and Burial of Earth’s Hadean Crust by Asteroid Impacts. Nature 2014, 511, 578–582. [Google Scholar] [CrossRef]
- Hartmann, W.K. Reviewing “Terminal Cataclysm”: What Does it Mean? In Proceedings of the Workshop on Early Solar System Impact Bombardment III, Houston, TX, USA, 3–4 February 2015; LPI Contribution No. 1826. p. 3003. [Google Scholar]
- Morbidelli, A.; Nesvorny, D.; Laurenz, V.; Marchi, S.; Rubie, D.; Elkins-Tanton, L.; Wieczorek, M.; Jacobson, S. The Timeline of the Lunar Bombardment: Revisited. Icarus 2018, 305, 262–276. [Google Scholar] [CrossRef]
- Hartmann, W.K.; Davis, D.R. Satellite-sized Planetesimals; IAU Colloquium on Planetary Satellites: Ithaca, NY, USA, 18–21 August 1974. Abstract.
- Hartmann, W.K.; Davis, D.R. Satellite-sized Planetesimals and Lunar Origin. Icarus 1975, 24, 504–515. [Google Scholar] [CrossRef]
- Cameron, A.G.W.; Ward, W. The Origin of the Moon. In Proceedings of the 7th Lunar and Planetary Science Conference, The Woodlands, TX, USA, 15–19 March 1976; p. 120. [Google Scholar]
- Fassett, C.I.; Minton, D.A. Impact Bombardment of the Terrestrial Planets and the Early History of the Solar System. Nat. Geosci. 2013, 6, 520–524. [Google Scholar] [CrossRef]
- Melosh, H.J. An Isotopic Crisis for the Giant Impact Origin of the Moon? In Proceedings of the 72nd Annual Meeting of the Meteoritical Society, Nancy, France, July 2009; p. 5104. [Google Scholar]
- Hartmann, W.K. Moon Origin: The Impact Trigger Hypothesis. In Origin of the Moon; Hartmann, W.K., Phillips, R.J., Taylor, G.J., Eds.; Lunar and Planetary Institute: Houston, TX, USA, 1986; pp. 579–608. [Google Scholar]
- Hartmann, W.K. The Giant Impact Hypothesis: Past, Present, (and Future?). Philos. Trans. R. Soc. A 2014, 372. [Google Scholar] [CrossRef] [PubMed][Green Version]
- Herwartz, D.; Pack, A.; Friedrichs, B.; Bischoff, A. Identification of the Giant Impactor Theia in Lunar Rocks. Science 2014, 344, 1146–1150. [Google Scholar] [CrossRef] [PubMed]
- Swindle, T.; Kring, D. Was There a Concentration of Lunar and Asteroidal Impacts at ~4000 Ma? In Proceedings of the Workshop on Early Solar System Impact Bombardment III, Houston, TX, USA, 2015; LPI Contribution No. 1826. p. 3030. [Google Scholar]
- Denevi, B. The New Moon. Phys. Today 2017, 70, 39–44. [Google Scholar] [CrossRef]
- Zellner, N.E.B. Cataclysm No More: New Views on the Timing and Delivery of Lunar Impactors. Origins Life Evol. Biosph. 2017, 47, 261–280. [Google Scholar] [CrossRef]
- Mann, A. Bashing Holes in the Tale of Earth’s Trouble Youth {Cataclysm’s End]. Nature 2018, 553, 393–395. [Google Scholar] [CrossRef]
- Warren, P.H.; Haack, H.; Rasmussen, K.L. Megaregolith Insulation and the Duration of Cooling to Isotopic Closure within Differentiated Asteroids and the Moon. J. Geophys. Res. 1991, 96, 5909–5923. [Google Scholar] [CrossRef]
- Nakamura, Y. Timing Problem with the Lunar Module Impact Data as Recorded by LSPE and Corrected Near-surface Structure at the Apollo 17 Landing Site. J. Geophys. Res. Planets 2011, 116. [Google Scholar] [CrossRef]
- Kahn, A.; Pommier, A.; Neumann, G.A.; Mosegaard, K. The Lunar Moho and the Internal Structure of the Moon: A Geophysical Perspective. Tectonophysics 2013, 609, 331–352. [Google Scholar] [CrossRef]
- Zellner, N.E.B.; Delano, J.W. 40Ar/39Ar Ages of Lunar Impact Glasses: Relationships among Ar Diffusivity, Chemical Composition, Shape, and Size. Geochim. Cosmochim. Acta 2015, 161, 203–218. [Google Scholar] [CrossRef]
- Zhu, M.-H.; Wünnemann, K.; Artemieva, N. Effects of Moon’s Thermal State on the Impact Basin Ejecta Distribution. Geophys. Res. Lett. 2017, 22, 11292–11300. [Google Scholar] [CrossRef]
- Thompson, T.W. Atlas of Lunar Radar Maps at 70-cm Wavelength. Moon 1974, 10, 51–85. [Google Scholar] [CrossRef]
- Thompson, T.W.; Roberts, W.J.; Hartmann, W.K.; Shorthill, R.W.; Zisk, S.H. Blocky Craters: Implications about the Lunar Megaregolith. Moon Planets 1979, 21, 319–342. [Google Scholar] [CrossRef]
- Michel, P.; Benz, W.; Tanga, P.; Richardson, D.C. Collisions and Gravitational Reaccumulation: Forming Asteroid Families and Satellites. Science 2001, 294, 1696–1700. [Google Scholar] [CrossRef] [PubMed]
- Swindle, T.D.; Kring, D.A.; Weirich, J.R. 40Ar/39Ar Ages of Impacts Involving Ordinary Chondrite Meteorites. In Advances in 40Ar/39Ar Dating; Jourdan, F., Mark, D.F., Verati, C., Eds.; Geological Society: London, UK, 2013; pp. 333–348. [Google Scholar]

















| Basin | Nunes et al. (1974, [74]) * No Error Bars Cited | Wilhelms (1987, [73]) ** (Table 14.1, p. 278; Except Orientale) | Hiesinger, Jaumann, Neukum, and Head (2000, [76]) | Stöffler and Ryder (2001, [26]) Estimate 1 *** | Stöffler and Ryder (2001, [26]) Estimate 2 **** |
|---|---|---|---|---|---|
| Orientale | ~3.85 Ga | 3.8 Ga; 3.72–3.85 (p. 224) | --- | 3.72–3.85 Ga | 3.72–3.77 Ga |
| Imbrium | ~3.99 Ga | 3.86 ± 0.04 Ga (p. 201); ≲3.87 Ga (p. 212); Well-constrained from 3.82 to 3.87; 3.85 was adopted (no error bar cited) (pp. 224 & 278) | 3.91 ± 0.1 Ga (citing Neukum and Ivanov) | 3.85 ± 0.02 Ga | 3.77 ± 0.02 Ga |
| Crisium | ~4.13 Ga | 3.84 ± 0.4 Ga; either Crisium age or Imbrium material (p. 171) | Not discussed. Ave. from 6 authors in their Table 7 = 4.01 Ga | 3.89 ± 0.02 Ga | 3.84 ± 0.04 Ga |
| Serenitatis | ~4.45? Ga | 3.86 ± 0.04 or 3.87 ± 0.04 Ga (p. 178) | 3.87 ± 0.04 Ga (K–Ar), 3.98 ± 0.05 Ga (Neukum crater counts) | 3.89 ± 0.01 Ga | 3.87 ± 0.03 Ga |
| Nectaris | ~4.2 Ga | 3.92 ± 0.03 Ga | 4.1 ± 0.1 Ga | 3.92 ± 0.03 Ga | 3.92 ± 0.03 Ga or 3.85 ± 0.05 Ga |
| Basin | Relative Age Rank by “Rim Morphology Class,” Where 0 = Fresh and 10 = Barely Visible 1 | Relative Age Rank Out of 27 Basins 2 | Relative Age Rank Out of 31 Basins 3 | Crater Density Relative to Average Mare 3 | Crater Density N(20) (Cumul. craters > 20 km per 106 km2) 4 | Crater Density N(64) (Cumul. Craters > 64 km per 106 km2) 4 |
|---|---|---|---|---|---|---|
| Orientale | Class 2 | 1st of 27 | 1st of 31 | 2.4 | 21 ± 4 | 1 ± 1 |
| Imbrium | Class 3 | 3rd of 27 | 2nd of 31 | 2.5 | 30 ± 5 | 4 ± 4 |
| Crisium | Class 4 | 4th of 27 | 18th of 31 | 17 | 117 ± 11 | 8 ± 3 |
| Nectaris | Class 7 | 11th of 27 | 14th of 31 | 16 | 135 ± 14 | 17 ± 5 |
| Serenitatis | Class 8 | 17th of 27 | 28th of 31 | 28 | 298 ± 60 | 28 ± 20 |
| Basin | Wilhelms (1987 [73]) | Hiesinger et al. (2000 [76]) | Stöffler and Ryder (2001 [26], Estimate 1) | Stöffler and Ryder (2001 [26], Estimate 2) |
|---|---|---|---|---|
| Imbrium (~1 error bar) | 3.82 to 3.87 Ga “well constrained” | 3.90 to 3.91 Ga | 3.83 to 3.87 Ga | 3.75 to 3.79 Ga |
| Serenitatis (1 error bar) | 3.82 to 3.91 Ga | 3.83 to 3.91 Ga | 3.88 to 3.90 Ga | 3.84 to 3.90 Ga |
| Serenitatis (2 error bars) | 3.78 to 3.95 Ga | 3.79 to 3.95 Ga | 3.87 to 3.91 Ga | 3.81 to 3.93 Ga |
| Crisium (1 error bar) | 3.80 to 3.88 Ga | - | 3.87 to 3.92 Ga | 3.80 to 3.88 Ga |
| Crisium (2 error bars) | 3.76 to 3.92 Ga | - | 3.85 to 3.93 Ga | 3.76 to 3.92 Ga |
| Nectaris (1 error bar) | 3.89 to 3.95 Ga | 4.0 to 4.2 Ga | 3.89 to 3.95 Ga | 3.89 to 3.95 Ga or 3.80 to 3.90 Ga |
| Nectaris (2 error bars) | 3.86 to 3.98 Ga | 3.9 to 4.3 Ga | 3.86 to 3.98 Ga | 3.86 to 3.98 Ga or 3.75 to 3.95 Ga |
© 2019 by the author. Licensee MDPI, Basel, Switzerland. This article is an open access article distributed under the terms and conditions of the Creative Commons Attribution (CC BY) license (http://creativecommons.org/licenses/by/4.0/).
Share and Cite
Hartmann, W.K. History of the Terminal Cataclysm Paradigm: Epistemology of a Planetary Bombardment That Never (?) Happened. Geosciences 2019, 9, 285. https://doi.org/10.3390/geosciences9070285
Hartmann WK. History of the Terminal Cataclysm Paradigm: Epistemology of a Planetary Bombardment That Never (?) Happened. Geosciences. 2019; 9(7):285. https://doi.org/10.3390/geosciences9070285
Chicago/Turabian StyleHartmann, William K. 2019. "History of the Terminal Cataclysm Paradigm: Epistemology of a Planetary Bombardment That Never (?) Happened" Geosciences 9, no. 7: 285. https://doi.org/10.3390/geosciences9070285
APA StyleHartmann, W. K. (2019). History of the Terminal Cataclysm Paradigm: Epistemology of a Planetary Bombardment That Never (?) Happened. Geosciences, 9(7), 285. https://doi.org/10.3390/geosciences9070285
