Force-Fighting Phenomena and Disturbance Rejection in Aircraft Dual-Redundant Electro-Mechanical Actuation Systems
Abstract
1. Introduction
2. System Description
2.1. Individual Actuation System Dynamics
2.2. Coupled Nominal Dynamics of Dual Actuation System
2.3. Formulation of Model Uncertainties
3. Force-Fighting and Disturbance Rejection Methodology in Dual EMA Systems
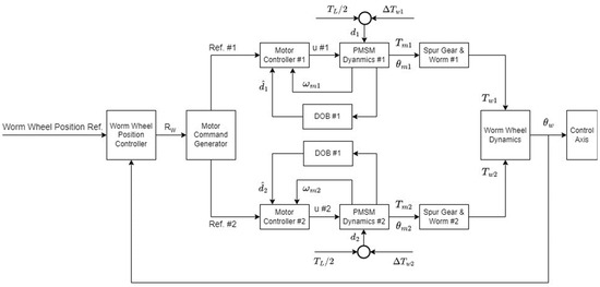
3.1. Control Architecture
3.2. Q-Filter-Based DOB Design and Structure
- ①
- The structure of the DOB must follow Equation (13).
- ②
- The damping ratio ζ is commonly set to 0.707.
- ③
- The cutoff frequency ωc must be selected in a way that maintains the stability of the closed-loop system.
- ④
- The frequencies ω of all inputs should be significantly lower than ωc.
3.3. Stability Analysis for Motor Control Systems
4. Verification
4.1. Test System Description
4.2. Testing Results
4.2.1. Results Obtained from the Nominal System
4.2.2. Results Obtained from the System with 10% Parameter Uncertainties
5. Conclusions
Author Contributions
Funding
Data Availability Statement
Conflicts of Interest
References
- Jeong, S.-H.; Seol, J.-H.; Heo, S.-H.; Lee, B.-H.; Cho, Y.-K. Design and Performance Test of 10,000 lbf-in Class Dual Redundant Hinge Line Electro-Mechanical Actuator System. J. Korean Soc. Aeronaut. Space Sci. 2019, 47, 153–160. [Google Scholar]
- Lee, H.-J.; Choi, H.-D.; Kang, E.-S. A Study on the Improvement of Force Fighting Phenomenon in the Redundant Hydraulic Servo Actuators. Aerosp. Eng. Technol. 2013, 12, 54–63. [Google Scholar]
- Cochoy, O.; Carl, U.B.; Thielecke, F. Integration and control of electromechanical and electrohydraulic actuators in a hybrid primary flight control architecture. In Proceedings of the International Conference on Recent Advances in Aerospace Actuation Systems and Components, Toulouse, France, 13–15 June 2007. [Google Scholar]
- Cochoy, O.; Hanke, S.; Carl, U.B. Concepts for position and load control for hybrid actuation in primary flight controls. Aerosp. Sci. Technol. 2007, 11, 194–201. [Google Scholar] [CrossRef]
- Mare, J.-C.; Moulaire, P. The decoupling of position controlled electrohydraulic actuators mounted in tandem or in series. In Proceedings of the Seventh Scandinavian International Conference on Fluid Power, Linkoping, Sweden, 30 May–1 June 2001. [Google Scholar]
- Shi, C.; Wang, X.; Wang, S.; Wang, J.; Tomovic, M.M. Adaptive decoupling synchronous control of dissimilar redundant actuation system for large civil aircraft. Aerosp. Sci. Technol. 2015, 47, 114–124. [Google Scholar] [CrossRef]
- Waheed, U.R.; Wang, S.; Wang, X.; Fan, L.; Kamran, A.S. Motion synchronization in a dual redundant HA/EHA system by using a hybrid integrated intelligent control design. Chin. J. Aeronaut. 2016, 29, 789–798. [Google Scholar]
- Jacazio, G.; Gastaldi, L. Equalization techniques for dual redundant electro hydraulic servo actuators for flight control systems. In Proceedings of the ASME/BATH Symposium on Fluid Power and Motion Control (FPMC 2008), Sarasota, FL, USA, September 2008. [Google Scholar]
- Schaeffer, W.S.; Inderhees, L.J.; Moynes, J.F. Flight control actuation system for the B-2 advanced technology bomber. SAE Trans. 1991, 100, 284–295. [Google Scholar]
- Soronda, V. Flight Control Surface Actuation Force Fight Mitigation System and Method. U.S. Patent No. 8583293, 12 November 2013. [Google Scholar]
- Ma, C.Y. Fly-By-Wire Dual-Dual Flight Control Actuation System. In Proceedings of the Aerospace Power Systems Conference P-322, Society of Automotive Engineers (SAE), Warrendale, PA, USA, 13–15 April 1998. [Google Scholar]
- Matsui, G. Redundant Current-Sum Feedback Actuator. U.S. Patent No. 9117579, 25 August 2015. [Google Scholar]
- Song, W.K.; Kim, S.S.; Choi, J.S.; Lee, J.; Lee, J.C.; Lee, J.W.; Choi, J.Y. Force Fighting Suppressive Technique of Dual Redundant Asymmetric Tandem Electro-Hydrostatic Actuator for Aircraft. J. Aerosp. Syst. Eng. 2022, 16, 62–69. [Google Scholar]
- Park, G. Design of Nonlinear Disturbance Observer with Higher Order Numerator of Q-Filter. Master’s Thesis, Seoul National University, Seoul, Republic of Korea, 2013. [Google Scholar]
- Chung, S.-C.; Kim, M.-S. Integrated Design of Servomechanisms Using a Disturbance Observer. Trans. Korean Soc. Mech. Eng. 2005, 29, 591–599. [Google Scholar]
- Lee, I.-S.; Jung, S.-C.; Yoon, I.-S.; Ko, J.-S. A study on the PMSM position control of vibration reduction using first order observer. In Proceedings of the Electrical Machinery and Energy Conversion Systems Society Annual Spring Conference, Jeju, Republic of Korea, 22–25 May 2023. [Google Scholar]
- Zwerger, T.; Mercorelli, P. Using a Bivariate Polynomial in an EKF for State and Inductance Estimations in the Presence of Saturation Effects to Adaptively Control a PMSM. IEEE Access 2022, 10, 111545–111553. [Google Scholar] [CrossRef]
- Mercorelli, P. An Optimal and Stabilising PI Controller with an Anti-windup Scheme for a Purification Process of Potable Water. IFAC-PapersOnLine 2015, 48, 259–264. [Google Scholar] [CrossRef]
- Yeo, H.-J. Practical Design and Implementation Methodology for Disturbance Rejection Controller. J. Korea Acad.-Ind. Coop. Soc. 2005, 6, 37–47. [Google Scholar]
- Mohammadzaheri, M.; Tafrershi, R. An Enhanced smith predictor based control system using feedback-feedforward structure for time-delay processes. J. Eng. Res. 2017, 14, 156–165. [Google Scholar] [CrossRef]
- Mohammadzaheri, M.; Khaleghifar, A.; Ghodsi, M.; Soltani, P.; Alsulti, S. A Discrete Approach to Feedback Linearization, Yaw Control of an Unmanned Helicopter. Unmanned Syst. 2023, 11, 57–66. [Google Scholar] [CrossRef]






















| Items | Symbols | Units | Values | |
|---|---|---|---|---|
| PMSM parameters | Mass moment of inertia | Jm | Kg∙m2 | |
| Torque constant | Kt | Nm/A | 0.73 | |
| Back EMF constant | Kb | V/(rad/s) | 0.42 | |
| Winding resistance | R | Ω | 0.47 | |
| d-axis inductance | Ld | H | ||
| q-axis inductance | Lq | H | ||
| Viscous friction coefficient | Bm | Nm/(rad/s) | ||
| Input Voltage | Vs | V | 230 | |
| Max. Current | imax | A | 26 | |
| Mechanical power train parameters | Gear reduction ratio, PMSM to worm gear | Nm | ― | 59 | 
| Gear reduction ratio, worm gear to worm wheel | Nw | ― | 14.33 | |
| Mass moment of inertia, worm gear | Jg | Kg∙m2 | ||
| Mass moment of inertia, worm wheel | Jw | Kg∙m2 | 0.1425623 | |
| Maximum allowable relative perturbation for the nominal parameters | p* | % | 10 | |
| Disclaimer/Publisher’s Note: The statements, opinions and data contained in all publications are solely those of the individual author(s) and contributor(s) and not of MDPI and/or the editor(s). MDPI and/or the editor(s) disclaim responsibility for any injury to people or property resulting from any ideas, methods, instructions or products referred to in the content. | 
© 2023 by the authors. Licensee MDPI, Basel, Switzerland. This article is an open access article distributed under the terms and conditions of the Creative Commons Attribution (CC BY) license (https://creativecommons.org/licenses/by/4.0/).
Share and Cite
Han, Y.T.; Im, S.-D.; Hahn, B. Force-Fighting Phenomena and Disturbance Rejection in Aircraft Dual-Redundant Electro-Mechanical Actuation Systems. Actuators 2023, 12, 310. https://doi.org/10.3390/act12080310
Han YT, Im S-D, Hahn B. Force-Fighting Phenomena and Disturbance Rejection in Aircraft Dual-Redundant Electro-Mechanical Actuation Systems. Actuators. 2023; 12(8):310. https://doi.org/10.3390/act12080310
Chicago/Turabian StyleHan, Young Tak, Sang-Duck Im, and Bongsu Hahn. 2023. "Force-Fighting Phenomena and Disturbance Rejection in Aircraft Dual-Redundant Electro-Mechanical Actuation Systems" Actuators 12, no. 8: 310. https://doi.org/10.3390/act12080310
APA StyleHan, Y. T., Im, S.-D., & Hahn, B. (2023). Force-Fighting Phenomena and Disturbance Rejection in Aircraft Dual-Redundant Electro-Mechanical Actuation Systems. Actuators, 12(8), 310. https://doi.org/10.3390/act12080310
 
        
 
       