Next Article in Journal
A Review of Performance Specifications and Studies of Trickle Vents
Next Article in Special Issue
Potential Seismic Damage Assessment of Residential Buildings in Imzouren City (Northern Morocco)
Previous Article in Journal
Design for Deconstruction in the Design Process: State of the Art
Previous Article in Special Issue
Seismic Vulnerability for RC Infilled Frames: Simplified Evaluation for As-Built and Retrofitted Building Typologies
 
 
Font Type:
Arial Georgia Verdana
Font Size:
Aa Aa Aa
Line Spacing:
Column Width:
Background:
Article

Feasibility of Using Neural Networks to Obtain Simplified Capacity Curves for Seismic Assessment

by
João M. C. Estêvão
DEC-ISE, University of Algarve, 8005-139 Faro, Portugal
Buildings 2018, 8(11), 151; https://doi.org/10.3390/buildings8110151
Submission received: 21 September 2018 / Revised: 29 October 2018 / Accepted: 2 November 2018 / Published: 6 November 2018

Abstract

The selection of a given method for the seismic vulnerability assessment of buildings is mostly dependent on the scale of the analysis. Results obtained in large-scale studies are usually less accurate than the ones obtained in small-scale studies. In this paper a study about the feasibility of using Artificial Neural Networks (ANNs) to carry out fast and accurate large-scale seismic vulnerability studies has been presented. In the proposed approach, an ANN was used to obtain a simplified capacity curve of a building typology, in order to use the N2 method to assess the structural seismic behaviour, as presented in the Annex B of the Eurocode 8. Aiming to study the accuracy of the proposed approach, two ANNs with equal architectures were trained with a different number of vectors, trying to evaluate the ANN capacity to achieve good results in domains of the problem which are not well represented by the training vectors. The case study presented in this work allowed the conclusion that the ANN precision is very dependent on the amount of data used to train the ANN and demonstrated that it is possible to use ANN to obtain simplified capacity curves for seismic assessment purposes with high precision.

1. Introduction

There are many methods used for the seismic vulnerability assessment of buildings. These methods can be classified as empirical, analytical/mechanical or hybrid methods [1] and present different levels of accuracy, being the analytical/mechanical methods the most accurate and the empirical the less ones. The selection of a given method is mostly dependent on the scale of the analysis and on the knowledge level about the building’s characteristics. If the study is carried out at a building scale (just one single structure) and there is a full knowledge about the geometry, details and materials, it is possible to carry out a very precise seismic analysis, namely using a nonlinear method, which obviously will increase the reliability of the obtained results. However, at urban scale (one city or part of it), or at regional scale (a set of cities), or even at global scale (a country or even a continent), it is almost impossible to adopt the same detailed approach, so it is frequent to adopt empirical methods which are based on the damage observed after earthquakes, which normally exhibit a high dispersion level. It is obvious that the volume of data that is necessary to collect and the computational effort necessary to process the amount of data is not equal for all the aforementioned scales. This fact implies that the results obtained in large-scale studies are normally less accurate than those obtained in small-scale studies. For this reason, buildings are usually categorized in several different typologies, for example depending on the age of the construction or on the building materials and structural system and a mean seismic structural behaviour is usually considered for the buildings of a given typology.
A considerable amount of research has been carried out in the last decades on trying to improve the precision of the seismic vulnerability assessment results for large-scale studies. There are many computer programs developed to carry out seismic risk analysis using empirical and/or analytical/mechanical methods, such as the software HAZUS-MH [2] or the software ELER [3], which are examples of computer programs developed to allow to perform large-scale studies, namely supporting different levels of accuracy.
There are also other hybrid approaches to the problem and some of them have adopted methods and techniques of the so-called Artificial Intelligence (AI), such as Artificial Neural Networks (ANNs), which are computational approaches that try to imitate the brain.
Nowadays ANNs have been used for solving a variety of problems, such as visual recognition, speech recognition and natural language processing, so general public is familiar to the capabilities of modern ANNs in their daily life, even though not understanding how it works, because modern cars may also use ANNs in software for traffic sign recognition [4].
For these reasons, modern ANN capabilities may be an important help in solving many complex problems of earthquake engineering, which feasibility should be investigated.
The use of ANNs applied to civil engineering problems is not a new subject [5], nor their use in the development of computer software for seismic risk assessment [6], using these less traditional techniques within the scope of earthquake engineering, with the aim of trying to improve the reliability of the results.
In the last decades, several studies have been published for structural behaviour evaluation using neural networks, namely for earthquake engineering applications. ANNs have been used to predict the linear [7] and the nonlinear [8,9] dynamic responses of structures subject to earthquakes for damage assessment [10,11,12,13], namely using fragility curves [14,15], or for seismic reliability assessment [16,17]. A Monte Carlo simulation technique was also adopted for generating data used for training ANNs [18].
Traditional seismic vulnerability assessment methods that use a mean capacity curve (which is representative of a given structural typology) for estimating seismic vulnerability and earthquake damage have some problems in the structural performance evaluation of an individual building. The main reason is related to the dispersion of values around the mean curve. The real capacity curve of a given building will probably be different from the typological mean capacity curve. This means that the average result of a typical typological capacity curve can lead to overestimating or underestimating the real seismic damage, depending on the studied building.
In this work, a study about the feasibility of using Multi-layer Feed-Forward Neural Network (MFFNN) to obtain a simplified capacity curve of a given building typology is presented, trying to reduce the results dispersion normally associated to the use of a mean typological capacity curve. The ANNs were previously trained with the results of the nonlinear analysis carried out for several structures of a given typology. A sensitivity analysis was carried out to understand the effect of the number of training vectors in the results precision by comparing the results of an analysis of variance (ANOVA) applied to the outputs of two different ANNs.
Seismic structural performance point (the interception between the demand nonlinear response spectrum and the capacity curve of the structure) for a given seismic action can be obtained using the N2 method [19]. This is a very simple and fast method for seismic nonlinear static (pushover) global analysis, that is presented in the Annex B of the Eurocode 8 (EC8) [20] to find the target displacement dt (corresponding to the EC8 performance point). The results obtained in this work indicate that the combination of the N2 method with a simplified capacity curve obtained from an ANN allows fast structural seismic performance evaluation on large-scale studies, with an accuracy level of the results much closer to the obtained in a study carried out at a building scale (by minimizing the dispersion values) than the ones obtained with a mean typological capacity curve.
The obtained results open the path for the development of more complex ANN architectures and considering much more input variables.

2. Simplified Capacity Curves and the N2 Method

According to the N2 method, the first step to compute the performance point of a given structure is to obtain a simplified equivalent elastic-perfectly plastic capacity curve of a one degree of freedom dynamic system. In this work, the simplified capacity curve was obtained so that the linear branch corresponds to the one associated to the maximum base shear force (Figure 1).
The stiffness km*, force Fy* and the displacement dy*, as presented in Figure 1, can be determined throughout the following equations:
k m * = F m * 2 ( d m * E m * F m * ) ,
F y * = k m * [ d u * k m * ( d u * ) 2 2 E u * k m * ] ,
d y * = F y * k m * ,
being Eu* the total area limited by the original capacity curve until the ultimate displacement du* (which is equal to the total area limited by the simplified capacity curve) and Em* the area limited by the original capacity curve until the displacement dm*.
After the determination of the simplified capacity curve, the performance point can be obtained using the procedure presented in the Annex B of the EC8 [20].

3. Artificial Neural Networks and Capacity Curves

Software development for fast structural vulnerability assessment is very important for civil protection purposes. This type of software allows mapping the buildings where damage is likely to occur. The computer strategy proposed in this study is to use the mapping capabilities of the ANN to improve the speed and the accuracy of the seismic vulnerability assessment of many buildings. The idea is to use several easy to measure building characteristics to obtain the simplified building capacity curve of a given typology.
ANNs are techniques inspired in biological systems, which have generalization capabilities, so they can be used in structural analysis problems that obey to certain rules (that can be unknown), which are learned during the ANN training process [21].
There are many different types of ANNs. In this work, a general MFFNN is proposed to obtain the parameters of a simplified capacity curve (Figure 2), which is previously trained with the error back-propagation algorithm.
Previous studies have shown that this type of ANN has good capabilities to capture the structural nonlinear behaviour [22].
The artificial neuron (AN) of an ANN is a computational element which transforms the input signals (xi) in an output result (like a brain cell). Each AN has an activity vj (Figure 3), which is equal to
v j = w 0 j + i = 1 N x i w i j .
The output result depends on the computation of the activation function f(v). A sigmoid function was adopted in this study:
f ( v ) = 1 1 + e v .
The ANN training algorithm implemented in the NEUNET computer program [23], that was used in this work, involves the following steps:
-
The input variables values (Ij) and the known output results (the training vectors Tj, which are the simplified capacity curve parameters) are normalized (between 0 and 1) to the maximum values;
-
The initial weights are set to a random small value (between −0.5 and +0.5);
-
The input values (Ij) of the Ntrn training vectors are set at the N0 neurons of the input layer and the known results Tj of these vectors are set at the output layers;
-
For each training vector (n = 1, …, Ntrn) and for each neuron j of the layer L = 1, the neuron activity and the output are determined, being
v j , n 1 = w 0 j 1 + i = 1 N 0 I i , n w i j 1 ,
O j , n 1 = f ( v j , n 1 ) ,
and for the other levels (L = 2, …, out)
v j , n L = w 0 j L + i = 1 N L 1 O i , n L 1 w i j L ,
O j , n L = f ( v j , n L ) ;
-
Weights are corrected based on the known output results and on the following error expressions, beginning from the output layer
D i , n o u t = ( T i , n O i , n o u t ) ( 1 O i , n o u t ) O i , n o u t ,
and following by the other existing levels (L = 1, …, out − 1)
D i , n L = ( j = 1 N L + 1 D j , n L + 1 w i j L + 1 ) ( 1 O i , n L ) O i , n L ,
Z i j , n 1 = D j , n 1 I i , n ,
Z i j , n L = D j , n L O i , n L 1 ,
-
Finely, the new weights are determined
n e w _ w i j L = a c t u a l _ w i j L + η n = 1 N t r n Z i j , n L + α ( a c t u a l _ w i j L o l d _ w i j L ) .
The learning parameter η rules the algorithm convergence rate. This rate is lower when using very small η values and it increases with higher η values. A momentum factor (0 ≤ α ≤ 1) can also be used to increase the algorithm convergence rate.
The ANN error obtained for each training vector is equal to
E n = 1 2 L = 1 o u t j = 1 N L ( D j , n L ) 2 ,
and the ANN global error is equal to
E = n = 1 N t r n E n .
A correct ANN level of training is very important to assure a good reproduction of the mean simplified capacity spectrum of a given structure. A poor ANN training will lead to unsatisfactory results. However, the consequences of an over-training of the ANN can lead to even worst results, because the ANN will adjust the simplified capacity spectrum curve to the local values instead to the mean values of the given typology. In Figure 4, the left ANN solution is an example of a good result and the right ANN solution is an example of a bad result, because the error is too high.
The training problem exemplified in Figure 4 is much more important when the whole region of possible solutions is not well covered by the training vectors, because there are many possible solutions that fit those points. In spite of the evidence that an appropriated training of the ANN can lead to better results than some traditional approaches for seismic assessment of large number of buildings [12], even when considering a relatively small number of training vectors, it is important to understand how feasible the use of an ANN for practical problems with different number of training vectors is.

4. Case Study

Damage dispersion observed in buildings that were affected by earthquakes in the past can be related to seismic vibrations characteristics (influenced by source characteristics and by geological site conditions) and to the differences in the seismic vulnerability of each building [24]. For this reason, it is very important to do an adequate assessment of this vulnerability, namely by using nonlinear seismic analysis, being very common the use of an incremental nonlinear analysis [25] or a static (pushover) nonlinear analysis [26] for vulnerability assessment purposes. When assessing an individual building and when the knowledge level is low, the part 3 of Eurocode 8 (EC8-3) proposes an assessment based on simulated design in accordance with usual practice at the time of construction, which was the strategy adopted in this case study but for a more general purpose.
The present case study aims to evaluate how feasible is to use an ANN (trained with a low number of training vectors) for vulnerability assessment, in terms of accuracy of results.

4.1. Studied Structural Typology

Probably, the concrete buildings with higher seismic vulnerability are the ones built prior to modern seismic codes. Between the decades of 1930s and 1950s, in countries like Portugal, the buildings were designed without considering any seismic action and that is the reason why the proposed approach was tested in this specific typology.
As it has been possible to observe in old structural designs and according to the codes of that period [27], the area of the reinforcing steel bars (As) was determined considering an equivalent concrete area of the homogenized cross-section (usually using a homogenization factor of 10 for beams and 15 for columns).
Due to the lack of computational resources, the axial forces (Nc) were normally determined by multiplying the influence area of each column by the weight of the floor. The compression stresses were determined assuming an elastic behaviour of the homogenized cross-section. So, these simplified assumptions led to the necessity of a very small amount of reinforcement in low-rise buildings and normally the value of As was just a minimum percentage of the concrete cross-section, which creates very vulnerable buildings, in terms of their seismic behaviour.
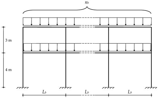
In this work, this old simplified procedure was used to design some reinforced concrete frames (Figure 5) in order to simulate the design solutions usually adopted in Portugal in that period (using the minimum number of rebars that leads to As ≥ 0.005⋅bchc), which were used as the training set of a MFFNN. The adopted input variables were the number of beam spans (I1 = nb), the mean beam span dimension (I2 = Lb) and the mean cross-section column height (I3 = hc).
A design value of 40 kgf/cm2 was used for concrete in pure compression, a value of 45 kgf/cm2 was used in flexure and a design value of 1200 kgf/cm2 was used for the reinforcement [27].
The slabs thickness and the beams high were considered as a function of Lb, so the mass per unit area was also considered as a function of Lb. As a simplification and just for the purpose of this study, a constant value of 0.25 m was adopted for the width of all beams (bb) and columns (bc). A T-section was adopted for all concrete beams, as proposed in the EC8.
The mass adopted for each dynamic structural system was computed considering a transversal influence area equal to Lb.
At first, 125 nonlinear static analyses were carried out, which were named as the training set n. 1 (TS1), considering frames with the following values: nb = 1, 2, 3, 4 and 5 spans; Lb = 2, 3, 4, 5 and 6 m; hc = 0.25, 0.325, 0.4, 0.475 and 0.55 m.
The capacity curves were obtained by using the SeismoStruct software [28] and adopting a triangular force pattern. In Figure 6a all the 125 original capacity curves of the single degree of freedom system are presented and the corresponding simplified equivalent elastic-perfectly plastic capacity curves are presented in Figure 6b.
Each incremental static nonlinear structural analysis was carried out until the EC8-3 near collapse (NC) limit state was reached for the chord rotation capacity (Equation (A.1) of the EC8-3), or when it was impossible to reach the convergence of iterative process used in the nonlinear structural analysis. When the NC shear capacity limit was reached (Equation (A.12) of EC8-3), the shear strength was reduced to a value corresponding to only 20% of the original strength (this is the SeismoStruct default option, which seems acceptable when observing some laboratorial tests results [29]).
Another training set with 27 capacity curves was also considered, which was named as the training set n. 2 (TS2), which was a subset of the first one, with: nb = 1, 3 and 5 spans; Lb = 2, 4 and 6 m; hc = 0.25, 0.4 and 0.55 m.
Additionally, three control cases (not belonging to any of the training sets TS1 or TS2) were considered: the control case n. 1 (CC1), with nb = 1, Lb = 5.5 m and hc = 0.5 m; the control case n. 2 (CC2), with nb = 3, Lb = 4.2 m and hc = 0.35 m; and the control case n. 3 (CC3), with nb = 4, Lb = 3.5 m and hc = 0.28 m.
To process such an amount of data, computer procedures were developed for the automatic creation of computer files containing all the training set values.

4.2. Adopted MFFNN

The training of a MFFNN is not an exact science, in spite of the many approaches available to optimize this process [30] and also depends on the experience obtained in past studies. In this work, a trial and error process were adopted to minimize the ANN output error. The neural network adopted in this study is presented in Figure 7.
The selection of the number of hidden layers and neurons was carried out by increasing those numbers until a compromise between precision and training speed was reached.
Two artificial neural networks (ANN1 and ANN2) with the same architecture (Figure 7) were trained for this study, using the NEUNET computer program [23]. The first (ANN1), was trained using all the 125 training vectors (TS1) and the other (ANN2) was trained using only a subset of 27 training vectors (TS2), as earlier described.

4.3. Results and Discussion

The results obtained with the two neural networks (ANN1 and ANN2) are compared in Figure 8, Figure 9 and Figure 10. The blue dots are the results obtained from the 125 nonlinear structural analysis (TS1) and the red and green lines are the corresponding results obtained with ANN1 and ANN2, respectively.
It is evident that the results presented in Figure 6 are highly variable, due to the highly nonlinear structural behaviour of the studied buildings, so it seems that the use of a mean capacity curve is not the best approach to assess the seismic vulnerability of this typology.
This is probably why it is so difficult to predict the seismic response of a building when using much more simplified approaches, which are normally used in large-scale studies. The use of ANN may be a valid alternative, if the training sets are representative enough of the problem domain.
Observing the results, it is possible to notice that the ANN1 can reproduce outputs in good agreement with the structural analysis results. However, that is not the case of the ANN2, which are only able to match the results for the 27 training set points (TS2).
To better compare the performance of each neural network, a one-way classical ANOVA F-test [31] was used and the results are presented in Table 1, Table 2 and Table 3. The lower the F-test results are the higher is the confidence in the ANN results.
The obtained F-test results indicate that ANN2 presents better results than ANN1 when only considering the TS2 capacity curves (which were the 27 capacity curves used to train the ANN2) but ANN1 still presents very good results, because F-test values are almost zero. If only the results obtained with ANN1 and ANN2 were compared with each other for the TS2 case, it would lead to the false conclusion that ANN2 has a better performance than ANN1. However, when considering all the 125 capacity curves of the TS1, it is evident that ANN2 is unable to reproduce the entire domain of the problem, because F-test results for the ANN2 are much higher than zero, being even higher than one. Once again, the ANN1 presents very good results, because F-test values are still almost zero.
The maximum percentage of error of each ANN was also determined for the same input data, which corresponds to each one of the 125 analysis cases of the TS1 and it is presented in Table 4.
The highest maximum error value was obtained for the Fy*, probably because this variable presents a higher range of values. Again, it is possible to conclude that ANN1 exhibits the lowest errors and they seem to be acceptable to use in large-scale studies, namely having in mind the error that should be expected for this type of studies. On the other hand, ANN2 maximum errors seem to be totally unacceptable, because they are much higher then 100%.
It is important to highlight that the only way to significantly reduce the ANN1 and ANN2 errors seems to be increasing the number of training vectors, to better cover the whole domain of the studied problem. Therefore, the ANN1 presents better results than the ANN2 when all the ANN solutions obtained for the 125 cases (TS1) are compared against the nonlinear analysis results.
Finally, the results obtained for the control cases 1 to 3 were compared to the ones obtained with the previously trained neural networks (Table 5, Table 6 and Table 7).
The ANN1 presents higher errors when considering the control cases (which are not belonging to the training vectors), in comparison to TS1 results. However, the results still seem to be acceptable in terms of Fy*, (maximum error of 5.2%) and dy* (maximum error of 12.9%), namely in the context of the errors that are usually associated with large-scale studies using more simplified empirical methods. The worst result was obtained for the du* (maximum error of 35.6%). These errors would probably be reduced if a higher number of training vectors was used.

5. Conclusions

The results obtained in the present study show that it is feasible to use Artificial Neural Networks (ANNs) to compute simplified capacity curves for seismic assessment purposes. However, the results precision is very dependent on the amount of data used to train the ANN. Moreover, it is important to assure that the entire problem domain is very well covered by the training vectors.

Funding

This research received no external funding.

Conflicts of Interest

The author declares no conflict of interest.

References

  1. Calvi, G.M.; Pinho, R.; Magenes, G.; Bommer, J.J.; Restrepo-Vélez, L.F.; Crowley, H. Development of seismic vulnerability assessment methodologies over the past 30 years. ISET J. Earthq. Technol. 2006, 43, 75–104. [Google Scholar]
  2. FEMA. HAZUS-MH MR4—Multi-Hazard Loss Estimation Methodology; Earthquake Model, Technical Manual; Federal Emergency Management Agency: Washington, DC, USA, 2003.
  3. Corbane, C.; Hancilar, U.; Ehrlich, D.; De Groeve, T. Pan-European seismic risk assessment: A proof of concept using the Earthquake Loss Estimation Routine (ELER). Bull. Earthq. Eng. 2017, 15, 1057–1083. [Google Scholar] [CrossRef]
  4. Shustanov, A.; Yakimov, P. CNN Design for Real-Time Traffic Sign Recognition. Procedia Eng. 2017, 201, 718–725. [Google Scholar] [CrossRef]
  5. Rajasekaran, S.; Febin, M.F.; Ramasamy, J.V. Artificial fuzzy neural networks in civil engineering. Comput. Struct. 1996, 61, 291–302. [Google Scholar] [CrossRef]
  6. Estêvão, J.M.C. Aplicações da inteligência artificial na engenharia sísmica [Applications of Artificial Intelligence in earthquake engineering]. Tecnovisão 2000, 10, 17–21. (In Portuguese) [Google Scholar]
  7. Abd-Elhamed, A.; Shaban, Y.; Mahmoud, S. Predicting Dynamic Response of Structures under Earthquake Loads Using Logical Analysis of Data. Buildings 2018, 8, 61. [Google Scholar] [CrossRef]
  8. Gholizadeh, S.; Salajegheh, J.; Salajegheh, E. An intelligent neural system for predicting structural response subject to earthquakes. Adv. Eng. Softw. 2009, 40, 630–639. [Google Scholar] [CrossRef]
  9. Lagaros, N.D.; Papadrakakis, M. Neural network based prediction schemes of the non-linear seismic response of 3D buildings. Adv. Eng. Softw. 2012, 44, 92–115. [Google Scholar] [CrossRef]
  10. Tesfamaraim, S.; Saatcioglu, M. Seismic Risk Assessment of RC Buildings Using Fuzzy Synthetic Evaluation. J. Earthq. Eng. 2008, 12, 1157–1184. [Google Scholar] [CrossRef]
  11. Morfidis, K.; Kostinakis, K. Seismic parameters’ combinations for the optimum prediction of the damage state of R/C buildings using neural networks. Adv. Eng. Softw. 2017, 106, 1–16. [Google Scholar] [CrossRef]
  12. Ferreira, T.M.; Estêvão, J.M.C.; Maio, R.; Vicente, R. The use of artificial neural networks to assess seismic damage in traditional masonry buildings. In Proceedings of the 16th European Conference on Earthquake Engineering, Thessaloniki, Greece, 18–21 June 2018; pp. 1–10. [Google Scholar]
  13. Morfidis, K.; Kostinakis, K. Approaches to the rapid seismic damage prediction of r/c buildings using artificial neural networks. Eng. Struct. 2018, 165, 120–141. [Google Scholar] [CrossRef]
  14. Calabrese, A.; Lai, C.G. Fragility functions of blockwork wharves using artificial neural networks. Soil Dyn. Earthq. Eng. 2013, 52, 88–102. [Google Scholar] [CrossRef]
  15. Ferrario, E.; Pedroni, N.; Zio, E.; Lopez-Caballero, F. Bootstrapped Artificial Neural Networks for the seismic analysis of structural systems. Struct. Saf. 2017, 67, 70–84. [Google Scholar] [CrossRef]
  16. Xia, Z.; Quek, S.T.; Li, A.; Li, J.; Duan, M. Hybrid approach to seismic reliability assessment of engineering structures. Eng. Struct. 2017, 153, 665–673. [Google Scholar] [CrossRef]
  17. Vazirizade, S.M.; Nozhati, S.; Zadeh, M.A. Seismic reliability assessment of structures using artificial neural network. J. Build. Eng. 2017, 11, 230–235. [Google Scholar] [CrossRef]
  18. Alvanitopoulos, P.F.; Andreadis, I.; Elenas, A. Neuro-fuzzy techniques for the classification of earthquake damages in buildings. Measurement 2010, 43, 797–809. [Google Scholar] [CrossRef]
  19. Fajfar, P.; GaŠPerŠIČ, P. The N2 method for the seismic damage analysis of RC buildings. Earthq. Eng. Struct. Dyn. 1996, 25, 31–46. [Google Scholar] [CrossRef]
  20. CEN. Eurocode 8, Design of Structures for Earthquake Resistance-Part 1: General Rules, Seismic Actions and Rules for Buildings; EN 1998-1:2004; Comité Européen de Normalisation: Madrid, Spain, 2004; p. 229. [Google Scholar]
  21. Waszczyszyn, Z.; Ziemiański, L. Neural Networks in the Identification Analysis of Structural Mechanics Problems. In Parameter Identification of Materials and Structures; Mróz, Z., Stavroulakis, G., Eds.; Springer: Vienna, Austria, 2005; Volume 469, pp. 265–340. [Google Scholar]
  22. Arslan, M.H. An evaluation of effective design parameters on earthquake performance of RC buildings using neural networks. Eng. Struct. 2010, 32, 1888–1898. [Google Scholar] [CrossRef]
  23. Estêvão, J.M.C. Modelo Computacional de Avaliação do Risco Sísmico de Edifícios [Computer Model for Buildings Seismic Risk Assessment]. Ph.D Thesis, Instituto Superior Técnico, UTL, Lisbon, Portugal, 1998. (In Portuguese). [Google Scholar]
  24. Estêvão, J.M.C.; Carvalho, A. The role of source and site effects on structural failures due to Azores earthquakes. Eng. Fail. Anal. 2015, 56, 429–440. [Google Scholar] [CrossRef]
  25. Castaldo, P.; Palazzo, B.; Alfano, G.; Palumbo, M.F. Seismic reliability-based ductility demand for hardening and softening structures isolated by friction pendulum bearings. Struct. Control Health Monit. 2018, 25, e2256. [Google Scholar] [CrossRef]
  26. Maio, R.; Estêvão, J.M.C.; Ferreira, T.M.; Vicente, R. The seismic performance of stone masonry buildings in Faial island and the relevance of implementing effective seismic strengthening policies. Eng. Struct. 2017, 141, 41–58. [Google Scholar] [CrossRef]
  27. RBA. Regulamento do Betão Armado; Decreto No. 25:948 de 16 de Outubro de 1935; Imprensa Nacional: Lisbon, Portugal, 1935; p. 97. (In Portuguese)
  28. Seismosoft SeismoStruct 2016 Release-1—A Computer Program for Static and Dynamic Nonlinear Analysis of Framed Structures. Available online: http://www.seismosoft.com (accessed on 29 July 2017).
  29. Boulifa, R.; Samai, M.L.; Benhassine, M.T. A new technique for studying the behaviour of concrete in shear. J. King Saud Univ. Eng. Sci. 2013, 25, 149–159. [Google Scholar] [CrossRef]
  30. Ojha, V.K.; Abraham, A.; Snášel, V. Metaheuristic design of feedforward neural networks: A review of two decades of research. Eng. Appl. Artif. Intell. 2017, 60, 97–116. [Google Scholar] [CrossRef]
  31. Cuevas, A.; Febrero, M.; Fraiman, R. An anova test for functional data. Comput. Stat. Data Anal. 2004, 47, 111–122. [Google Scholar] [CrossRef]
Figure 1. Original and simplified adopted capacity curve.
Figure 1. Original and simplified adopted capacity curve.
Buildings 08 00151 g001
Figure 2. General proposal of a MFFNN used to obtain the building simplified capacity curve.
Figure 2. General proposal of a MFFNN used to obtain the building simplified capacity curve.
Buildings 08 00151 g002
Figure 3. Single artificial neuron representation.
Figure 3. Single artificial neuron representation.
Buildings 08 00151 g003
Figure 4. Example of the influence of the ANN training in the output results.
Figure 4. Example of the influence of the ANN training in the output results.
Buildings 08 00151 g004
Figure 5. Schematization of the studied concrete frames.
Figure 5. Schematization of the studied concrete frames.
Buildings 08 00151 g005
Figure 6. Capacity curves obtained for the (a) original structural system; and (b) for the simplified equivalent elastic-perfectly plastic system.
Figure 6. Capacity curves obtained for the (a) original structural system; and (b) for the simplified equivalent elastic-perfectly plastic system.
Buildings 08 00151 g006
Figure 7. Adopted neural network architecture.
Figure 7. Adopted neural network architecture.
Buildings 08 00151 g007
Figure 8. Results comparison for the Fy* values.
Figure 8. Results comparison for the Fy* values.
Buildings 08 00151 g008
Figure 9. Results comparison for the dy* values.
Figure 9. Results comparison for the dy* values.
Buildings 08 00151 g009
Figure 10. Results comparison for the du* values.
Figure 10. Results comparison for the du* values.
Buildings 08 00151 g010
Table 1. Classical ANOVA F-test results obtained for Fy* values.
Table 1. Classical ANOVA F-test results obtained for Fy* values.
ANNTS1TS2
ANN10.000040.00128
ANN21.582840.00014
Table 2. Classical ANOVA F-test results obtained for dy* values.
Table 2. Classical ANOVA F-test results obtained for dy* values.
ANNTS1TS2
ANN10.00560.00113
ANN23.260640.00007
Table 3. Classical ANOVA F-test results obtained for du* values.
Table 3. Classical ANOVA F-test results obtained for du* values.
ANNTS1TS2
ANN10.000440.00027
ANN21.216260.00012
Table 4. Maximum percentage of error obtained for the TS1.
Table 4. Maximum percentage of error obtained for the TS1.
ANNFy*dy*du*
ANN110.53%1.87%1.67%
ANN2214.94%83.95%141.10%
Table 5. Results obtained for the control case n. 1.
Table 5. Results obtained for the control case n. 1.
CaseFy* (kN)dy* (m)du* (m)
CC1120.250.026100.14662
ANN1125.740.027890.09446
ANN2154.030.028650.09375
Table 6. Results obtained for the control case n. 2.
Table 6. Results obtained for the control case n. 2.
CaseFy* (kN)dy* (m)du* (m)
CC289.330.019770.15324
ANN193.980.021990.15977
ANN282.620.018020.14153
Table 7. Results obtained for the control case n. 3.
Table 7. Results obtained for the control case n. 3.
CaseFy* (kN)dy* (m)du* (m)
CC361.740.017610.12511
ANN163.390.019890.15139
ANN253.060.024230.18966

Share and Cite

MDPI and ACS Style

Estêvão, J.M.C. Feasibility of Using Neural Networks to Obtain Simplified Capacity Curves for Seismic Assessment. Buildings 2018, 8, 151. https://doi.org/10.3390/buildings8110151

AMA Style

Estêvão JMC. Feasibility of Using Neural Networks to Obtain Simplified Capacity Curves for Seismic Assessment. Buildings. 2018; 8(11):151. https://doi.org/10.3390/buildings8110151

Chicago/Turabian Style

Estêvão, João M. C. 2018. "Feasibility of Using Neural Networks to Obtain Simplified Capacity Curves for Seismic Assessment" Buildings 8, no. 11: 151. https://doi.org/10.3390/buildings8110151

APA Style

Estêvão, J. M. C. (2018). Feasibility of Using Neural Networks to Obtain Simplified Capacity Curves for Seismic Assessment. Buildings, 8(11), 151. https://doi.org/10.3390/buildings8110151

Note that from the first issue of 2016, this journal uses article numbers instead of page numbers. See further details here.

Article Metrics

Back to TopTop