Comparative Analysis of AWP and IPD Methods: Strengths, Challenges, and Opportunities
Abstract
1. Introduction
2. Background
2.1. Integrated Project Delivery
2.2. Advanced Work Packaging
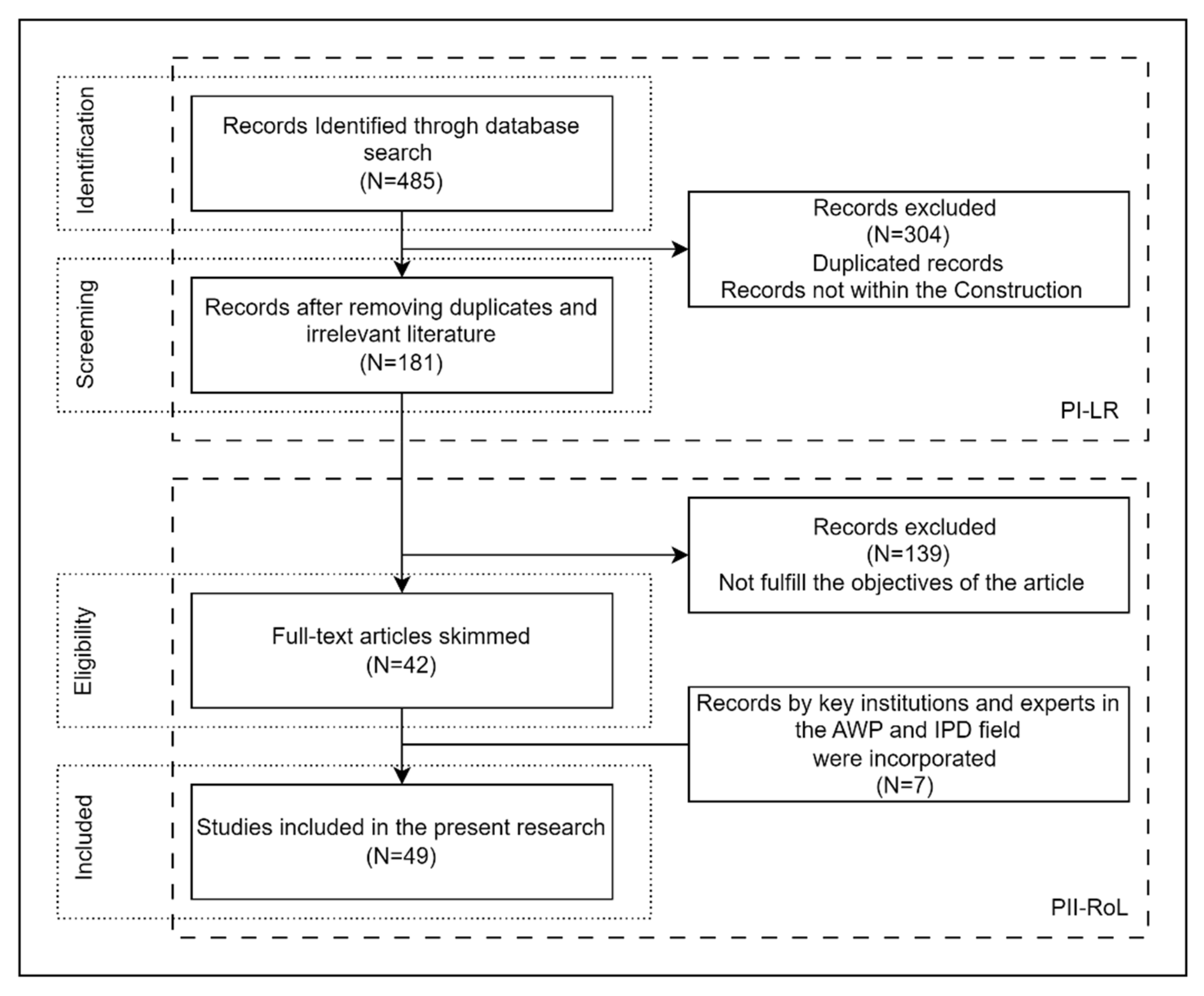
3. Research Methodology
- Keywords: “Advanced Work Packaging”, AWP, and “Integrated Project Delivery”, IPD.
- Industry Context: Construction sector only.
- Language: English.
- Publication Date: After 2013.
- Databases: Google Scholar, Scopus, and Web of Science.
- Inclusion: Peer-reviewed articles, institutional reports, and selected books.
- Exclusion: Duplicates, off-topic results, and non-construction-related publications.
4. Results and Discussions
4.1. The Performance of IPD and AWP
4.2. The Challenges of Implementing IPD and AWP
5. Conclusion, Research Direction, and Limitations
Author Contributions
Funding
Data Availability Statement
Conflicts of Interest
References
- Ruddock, L.; Lopes, J. The construction sector and economic development: The ‘Bon curve’. Constr. Manag. Econ. 2006, 24, 717–723. [Google Scholar] [CrossRef]
- Bamgbade, J.A.; Kamaruddeen, A.M.; Nawi, M.N.M.; Adeleke, A.Q.; Salimon, M.G.; Ajibike, W.A. Analysis of some factors driving ecological sustainability in construction firms. J. Clean. Prod. 2019, 208, 1537–1545. [Google Scholar] [CrossRef]
- Rebai, S.; AlBalkhy, W.; Hamdi, O.; Lafhaj, Z. Lean Construction and AWP: Similarities, Differences, and Opportunities. In Proceedings of the 31st Annual Conference of the International Group for Lean Construction (IGLC31), Lille, France, 26 June–2 July 2023. [Google Scholar]
- Rebai, S.; Sepúlveda, I.; AlBalkhy, W.; Hamdi, O.; Lafhaj, Z.; Alarcón, L.F.; Yim, P. Barriers to Adopting Advanced Work Packaging (AWP) in Construction. Buildings 2024, 14, 1032. [Google Scholar] [CrossRef]
- Albalkhy, W.; Sweis, R. Barriers to adopting lean construction in the construction industry: A literature review. Int. J. Lean Six Sigma 2021, 12, 210–236. [Google Scholar] [CrossRef]
- Nagapan, S.; Rahman, I.A.; Asmi, A. Factors contributing to physical and non-physical waste generation in construction industry. Int. J. Adv. Appl. Sci. 2012, 1, 1–10. Available online: http://download.garuda.kemdikbud.go.id/article.php?article=1494229&val=158&title=Factors (accessed on 15 June 2025). [CrossRef]
- Dardouri, S.; BuHamdan, S.; Albalkhy, W.; Dakhli, Z.; Danel, T.; Lafhaj, Z. RFID platform for construction materials management. Int. J. Constr. Manag. 2023, 23, 2509–2519. [Google Scholar] [CrossRef]
- Huisingh, D.; Zhang, Z.; Moore, J.C.; Qiao, Q.; Li, Q. Recent advances in carbon emissions reduction: Policies, technologies, monitoring, assessment and modeling. J. Clean. Prod. 2015, 103, 1–12. [Google Scholar] [CrossRef]
- El Moussaoui, S.; Lafhaj, Z.; Leite, F.; Fléchard, J.; Linéatte, B. Construction Logistics Centres Proposing Kitting Service: Organization Analysis and Cost Mapping. Buildings 2021, 11, 105. [Google Scholar] [CrossRef]
- Oke, A.E.; Arowoiya, V.A. Evaluation of iot application areas for sustainable construction. Smart Sustain. Built Environ. 2021, 10, 387–402. [Google Scholar] [CrossRef]
- Lafhaj, Z.; Rebai, S.; AlBalkhy, W.; Hamdi, O.; Mossman, A.; Alves Da Costa, A. Complexity in construction projects: A literature review. Buildings 2024, 14, 680. [Google Scholar] [CrossRef]
- Rodrigues, M.R.; Lindhard, S.M. Benefits and challenges to applying IPD: Experiences from a Norwegian mega-project. Constr. Innov. 2023, 23, 287–305. [Google Scholar] [CrossRef]
- Kelly, D.; Ilozor, B. Performance outcome assessment of the integrated project delivery (IPD) method for commercial construction projects in USA. Int. J. Constr. Manag. 2022, 22, 2808–2816. [Google Scholar] [CrossRef]
- Sherif, M.; Abotaleb, I.; Alqahtani, F.K. Application of Integrated Project Delivery (IPD) in the Middle East: Implementation and Challenges. Buildings 2022, 12, 467. [Google Scholar] [CrossRef]
- Guo, S.; Wang, J.; Xiong, H. The influence of effort level on profit distribution strategies in IPD projects. Eng. Constr. Archit. Manag. 2022. ahead-of-print. [Google Scholar]
- BuHamdan, S.; Alwisy, A.; Bouferguene, A.; Al-Hussein, M. Novel Approach to Overcoming Discontinuity in Knowledge: Application in Value-Adding Frameworks in Construction Industry. J. Constr. Eng. Manag. 2019, 145, 4019045. [Google Scholar] [CrossRef]
- CII. Advanced Work Packaging: Design through Workface Execution, Version 2.1; Chartered Insurance Institute (CII): London, UK, 2013. [Google Scholar]
- Meeks, S.E. Enhanced Work Packaging: Design Through Workface Execution; Colorado Alliance for Environmental Education (CAEE): Denver, CO, USA, 2011. [Google Scholar]
- Mesa, H.A.; Molenaar, K.R.; Alarcón, L.F. Comparative analysis between integrated project delivery and lean project delivery. Int. J. Proj. Manag. 2019, 37, 395–409. [Google Scholar] [CrossRef]
- Manata, B.; Garcia, A.J.; Mollaoglu, S.; Miller, V.D. The effect of commitment differentiation on integrated project delivery team dynamics: The critical roles of goal alignment, communication behaviors, and decision quality. Int. J. Proj. Manag. 2021, 39, 259–269. [Google Scholar] [CrossRef]
- Khanna, M.; Elghaish, F.; McIlwaine, S.; Brooks, T. Feasibility of implementing IPD approach for infrastructure projects in developing countries. J. Inf. Technol. Constr. 2021, 26, 902–921. [Google Scholar] [CrossRef]
- Piroozfar, P.; Farr, E.R.P.; Zadeh, A.H.M.; Inacio, S.T.; Kilgallon, S.; Jin, R. Facilitating Building Information Modelling (BIM) using Integrated Project Delivery (IPD): A UK perspective. J. Build. Eng. 2019, 26, 100907. [Google Scholar] [CrossRef]
- Ganesh, S.; Chakravarthy, P.R.K.; Ilango, T. Optimization in men & material cost using AWP technology. Mater. Today Proc. 2022, 52, 1875–1883. [Google Scholar] [CrossRef]
- El Asmar, M.; Hanna, A.S.; Loh, W.-Y. Quantifying Performance for the Integrated Project Delivery System as Compared to Established Delivery Systems. J. Constr. Eng. Manag. 2013, 139, 1–14. [Google Scholar] [CrossRef]
- Ma, Z.; Ma, J. Formulating the application functional requirements of a BIM-based collaboration platform to support IPD projects. KSCE J. Civ. Eng. 2017, 21, 2011–2026. [Google Scholar] [CrossRef]
- Osman, W.N.; Nawi, M.N.; Anuar, H.S.; Radzuan, K.; Osman, N.N. Readiness Assessment for Implementation of Integrated Project Delivery (IPD) in Industrialised Building System (IBS) Projects. J. Teknol. 2015, 77, 91–95. [Google Scholar] [CrossRef]
- Salami, B.A.; Ajayi, S.O.; Oyegoke, A.S. Coping with the Covid-19 pandemic: An exploration of the strategies adopted by construction firms. J. Eng. Des. Technol. 2022, 20, 159–182. [Google Scholar] [CrossRef]
- Farghaly, K.; Soman, R.K. Bridging the gap between Information Management and Advanced Work Packaging: AWP Ontology. In Proceedings of the 38th International Conference of CIB W78, Luxembourg, 11–15 October 2021; pp. 11–15. [Google Scholar]
- Rebai, S.; Hamdi, O.; BuHamdan, S.; Lafhaj, Z.; Yim, P. AWP for residential buildings to modular construction: A proposed framework. In Proceedings of the 2022 Modular and Offsite Construction (MOC) Summit, Edmonton, Canada, 25–29 July 2022; 29, pp. 50–57. [Google Scholar] [CrossRef]
- O’Connor, J.T.; Leite, F.; Ma, J.W. Expanding advanced work packaging to include commissioning and startup for industrial projects. Constr. Innov. 2022. ahead-of-print. [Google Scholar]
- Hamdi, O.; Leite, F.; O’brien, W.J. Advanced Work Packaging from Project Definition Through Site Execution: Driving Successful Implementation of WorkFace Planning; Colorado Alliance for Environmental Education (CAEE): Denver, CO, USA, 2013. [Google Scholar]
- Halala, Y.S.; Fayek, A.R. A framework to assess the costs and benefits of advanced work packaging in industrial construction. Can. J. Civ. Eng. 2019, 46, 216–229. [Google Scholar] [CrossRef]
- Guerra, B.C.; Leite, F. Bridging the Gap between Engineering and Construction 3D Models in Support of Advanced Work Packaging. J. Leg. Aff. Disput. Resolut. Eng. Constr. 2020, 12, 4520029. [Google Scholar] [CrossRef]
- Kalsaas, B.T.; Obiose, U.; Nwajei, K.; Bydall, C. A critical perspective on Integrated Project Delivery (IPD) applied in a Norwegian public hospital project. MATEC Web Conf. 2020, 312, 7001. [Google Scholar] [CrossRef]
- Gu, J.; Guo, F.; Peng, X.; Wang, B. Green and sustainable construction industry: A systematic literature review of the contractor’s green construction capability. Buildings 2023, 13, 470. [Google Scholar] [CrossRef]
- Jones, B. Integrated Project Delivery (IPD) for Maximizing Design and Construction Considerations Regarding Sustainability. Procedia Eng. 2014, 95, 528–538. [Google Scholar] [CrossRef]
- CII. Making the Case for Advanced Work Packaging as a Standard (Best) Practice; Chartered Insurance Institute (CII): London, UK, 2015. [Google Scholar]
- CII and COAA. Implementation of Workface Planning Through Advanced Work Packaging; Chartered Insurance Institute (CII): London, UK, 2012. [Google Scholar]
- CII. Enhancing Work Packaging: Design through Workface Execution; Chartered Insurance Institute (CII): London, UK, 2013. [Google Scholar]
- Moon, S.; Yun, S.; Park, C.Y.; Cho, T.S.; Han, S.H. Identifying the Organizational Competency Factor for Implementing AWP (Advanced Work Packaging) in perspective of Korean EPC Contractor. Korean J. Constr. Eng. Manag. 2020, 21, 20–27. [Google Scholar]
- Ma, J.; Ma, Z.; Li, J. An IPD-based incentive mechanism to eliminate change orders in construction projects in China. KSCE J. Civ. Eng. 2017, 21, 2538–2550. [Google Scholar] [CrossRef]
- Evans, M.; Farrell, P.; Elbeltagi, E.; Dion, H. Barriers to integrating lean construction and integrated project delivery (IPD) on construction megaprojects towards the global integrated delivery (GID) in multinational organisations: Lean IPD&GID transformative initiatives. J. Eng. Des. Technol. 2021. ahead-of-print. [Google Scholar]
- CII. AWP EDUCATION Framework; Chartered Insurance Institute (CII): London, UK, 2020. [Google Scholar]







Disclaimer/Publisher’s Note: The statements, opinions and data contained in all publications are solely those of the individual author(s) and contributor(s) and not of MDPI and/or the editor(s). MDPI and/or the editor(s) disclaim responsibility for any injury to people or property resulting from any ideas, methods, instructions or products referred to in the content. |
© 2025 by the authors. Licensee MDPI, Basel, Switzerland. This article is an open access article distributed under the terms and conditions of the Creative Commons Attribution (CC BY) license (https://creativecommons.org/licenses/by/4.0/).
Share and Cite
Rebai, S.; Lafhaj, Z.; Ouchala, H.; AlBalkhy, W. Comparative Analysis of AWP and IPD Methods: Strengths, Challenges, and Opportunities. Buildings 2025, 15, 2893. https://doi.org/10.3390/buildings15162893
Rebai S, Lafhaj Z, Ouchala H, AlBalkhy W. Comparative Analysis of AWP and IPD Methods: Strengths, Challenges, and Opportunities. Buildings. 2025; 15(16):2893. https://doi.org/10.3390/buildings15162893
Chicago/Turabian StyleRebai, Slim, Zoubeir Lafhaj, Hugues Ouchala, and Wassim AlBalkhy. 2025. "Comparative Analysis of AWP and IPD Methods: Strengths, Challenges, and Opportunities" Buildings 15, no. 16: 2893. https://doi.org/10.3390/buildings15162893
APA StyleRebai, S., Lafhaj, Z., Ouchala, H., & AlBalkhy, W. (2025). Comparative Analysis of AWP and IPD Methods: Strengths, Challenges, and Opportunities. Buildings, 15(16), 2893. https://doi.org/10.3390/buildings15162893

