Next Article in Journal
Critical Success Factors for the Widespread Adoption of Virtual Alternative Dispute Resolution (VADR) in the Construction Industry: A Structural Equation Modeling Analysis
Previous Article in Journal
Factors Influencing Green Construction Practices in Context of COVID-19 Pandemic: Empirical Evidence from China
 
 
Font Type:
Arial Georgia Verdana
Font Size:
Aa Aa Aa
Line Spacing:
Column Width:
Background:
Article

Performance Evaluation of Low Thermal Bridging Drywall System with Separating Clips for C-Studs

Research & Development Institute, LOTTE Engineering & Construction, 3, Naruteo-ro 10-gil, Seocho-gu, Seoul 06527, Republic of Korea
*
Author to whom correspondence should be addressed.
Buildings 2024, 14(9), 3032; https://doi.org/10.3390/buildings14093032
Submission received: 22 July 2024 / Revised: 11 September 2024 / Accepted: 11 September 2024 / Published: 23 September 2024
(This article belongs to the Section Building Energy, Physics, Environment, and Systems)

Abstract

Drywall systems comprising gypsum boards and steel C-studs are widely used due to their lightweight structure, rapid construction, and ease of installation. These systems must meet the required thermal insulation performance for their specific applications. However, metal C-studs penetrate the insulation layer at intervals, leading to additional heat loss, reduced thermal insulation performance, and lower indoor surface temperatures, which can result in condensation and mold growth. To address these issues, this study proposes a drywall system with low thermal bridging studs made up of two small-sized studs and four or five separating clips made of reinforced plastic. These clips separate the studs to minimize heat transfer through metal elements, maintain structural stability despite the spacing between them, and facilitate easy assembly. The results from mock-up tests showed that the proposed system’s thermal transmittance was 0.370 W/m2K, which is 28.8% lower than the 0.52 W/m2K observed with conventional C-studs. The proposed drywall system also met Korean regulations for acoustic insulation level 3 and the 2 h fire resistance criteria, similar to existing drywall systems with conventional C-studs. Moreover, the maximum and residual displacements were within an acceptable range for a horizontal load of 3000 N applied vertically to the non-load-bearing wall. Building energy analysis indicated that using the proposed drywall adjacent to unconditioned spaces could reduce the annual heating and cooling load by 2.5–3.0%, despite a 1.5–1.9% increase in the annual cooling load. The annual heating load decreased by 4.8–5.9% under infiltration rates of 0.5 to 1.5 air changes per hour for adjacent unconditioned spaces, making this drywall system’s improved insulation quality crucial for achieving heating-dominant zero-energy buildings.

1. Introduction

A lightweight drywall system, consisting of metal studs and gypsum boards or autoclaved lightweight concrete panels, has been widely used in buildings since the 1970s, coinciding with the rise of high-rise construction. The rapid installation of these systems shortens the construction period and offers particular advantages in winter, as they have a shorter curing time compared to wet wall systems [1].
Among existing drywall systems, the gypsum board system with metal studs is the lightest and offers superior workability. It can be utilized in various parts of buildings and provides both acoustic and thermal insulation due to the inclusion of materials such as glass wool and mineral wool. Furthermore, this system is versatile, suitable for buildings of different sizes and functions [2].
The construction process for the gypsum board drywall system is illustrated in Figure 1. Essential features for drywall systems include acoustic insulation, fire resistance, and thermal performance. The specific requirements for these features vary based on the application, such as partition walls between or within spaces, walls exposed to the outdoor environment, and walls facing unheated spaces (but not outdoors), as detailed in Table 1. Additionally, drywall systems must possess fundamental properties like horizontal load resistance, impact resistance, water resistance, and durability to be effectively used as building materials.
The gypsum board drywall system employs vertical metal studs, which allow the system to stand independently of the wall framework, with insulation materials placed between the studs. In typical applications, such as party walls and partition walls, heat transfer is minimal because the temperatures of adjacent indoor spaces are usually similar. However, when the gypsum board drywall system is exposed to outdoor or semi-outdoor environments, it is essential to use insulation materials of appropriate thickness in compliance with national insulation regulations [3]. The required insulation thickness depends on the thermal conductivity of the material and the desired thermal resistance of the wall.
Even if the insulation thickness is legally satisfied, additional heat loss or gain can occur through the metal studs. It is not accounted for in insulation thickness calculations in South Korea. However, the actual thermal performance may be lower and it can be the reason that condensation can occur at the surface above the metal stud.
Figure 2 are real and infrared images of the surface on the typical drywall system. As shown in Figure 2, the surface temperatures at points M1 and M2 are 17.9 and 19.3 °C, respectively. The point M1 represents the surface above the metal stud and its temperature is 1.4 °C lower than that at point M2, which represents the surface without thermal bridges. By referring to the P1 graph in Figure 3, it is also clear that the surfaces above the metal studs have lower thermal performance. It can also increase space heating or cooling loads and cause surface condensation, leading to potential discoloration of finishing materials and mold growth. Thus, to achieve optimal performance and enhance occupant comfort, it is essential to clearly evaluate the thermal bridging effect of metal studs and to decrease it.
The thermal bridging effect of metal studs in gypsum board drywall systems has been extensively researched. These studies primarily focus on evaluating and estimating the thermal performance of drywall systems and developing solutions to reduce thermal bridges in various types of construction, including steel houses, industrialized houses, and modular constructions.
For example, Refs. [4,5] examined the thermal insulation of drywall systems with steel studs across different wall compositions and finishing methods. It was found that considering the thermal bridging effects of steel studs, the total thermal resistance of the drywall system could be reduced by 84–90% compared to the initial design value, which typically only accounts for the thickness of the insulation material.
Jang et al. [6] introduced a new C-shaped steel stud design and assessed its thermal insulation through mock-up tests for steel houses. Cho et al. [7] explored the risk of condensation in drywall systems under various boundary conditions, such as exposure to outdoor environments or unheated spaces. Oh et al. [8] suggested an improved arrangement of steel studs and insulation materials to mitigate thermal bridging effects in modular construction. Höglund and Burstrand [9] proposed a new steel C-stud design with perforated flanges and evaluated its thermal and structural performance.
Gorgolewski [10] and de Angelis and Serre [11] estimated the thermal transmittance of drywall systems with steel studs using the combined method of ISO 6946 [12]. Gomes et al. [13] calculated the thermal transmittance of these systems using the zone method and modified zone method from the ASHRAE handbook [14], assessing the resulting heating and cooling energy performance in practical applications.
These studies highlight the reduction in thermal insulation caused by metal C-studs, which can lead to additional heat loss and gain, and surface condensation, and they discuss the evaluation methods for thermal bridging effects. However, the stud designs presented in these studies require new production processes that involve changes to the shape of the metal studs themselves, which may make them difficult to use directly in the field. In addition, there are few studies that comprehensively evaluate not only the thermal performance but also the structural and acoustic insulation performance that a wall must have for building applications. Although gypsum board drywall systems are increasingly used in high-rise apartments and office buildings to reduce building loads, they require wall insulation that meets current regulations and minimizes the risk of condensation.
Therefore, this study aims to develop a drywall system with low thermal bridging studs, which uses separating clips that enable easy assembly of metal studs in the field as well. And for a building application, its essential performance—including thermal and acoustic insulation, fire resistance, and horizontal load resistance—was assessed through mock-up tests. Additionally, the annual heating and cooling energy consumption in residential buildings with the low thermal bridging drywall system was evaluated in order to present the impact of additional heat loss and heat gain on thermal bridges for drywall system.

2. Methodologies

The methodologies of the research are outlined in Figure 4. Firstly, Section 3.1 presents the prototype design for the proposed stud and separating clip, including their shapes, sizes, and the optimal number of each component. This design was developed using thermal and structural pre-simulations. The pre-simulation of thermal insulation performance was conducted using two-dimensional heat transfer analysis with THERM [15], as detailed in Section 3.2. For the pre-simulation of structural performance, Midas Gen [16] was employed, as described in Section 3.3.
After developing the prototype thermal bridging studs, the overall required performance, including the thermal and acoustic insulation, fire resistance, and horizontal load resistance, was evaluated for the drywall system with developed studs in compliance with the corresponding Korean standards. Each standard for performance evaluation requires different test specimen sizes. Section 4 outlines the performance criteria, corresponding test standards, and the required specimen sizes. Section 4.1, Section 4.2, Section 4.3 and Section 4.4 provide detailed test procedures, methods, and results.
Finally, the annual energy performance of an apartment building using both conventional and low thermal bridging drywall systems was evaluated and compared to verify the applicability of the proposed drywall system. The simulation was conducted using DesignBuilder6.0 [17], which employs EnergyPlus24.1.0 [18] as its calculation engine. Section 5.1 provides an overview of the simulation. Since building energy simulations cannot account for two- or three-dimensional heat transfer phenomena, such as thermal bridges, it was necessary to convert input values for accurate simulations. Thus, Section 5.2 details the method for converting linear thermal transmittance values of thermal bridges in studs into effective thermal resistance values for insulation. The results and further discussion are presented in Section 5.3.

3. Design of the Low Thermal Bridging Stud

3.1. Conceptual Design for Reducing Thermal Bridges

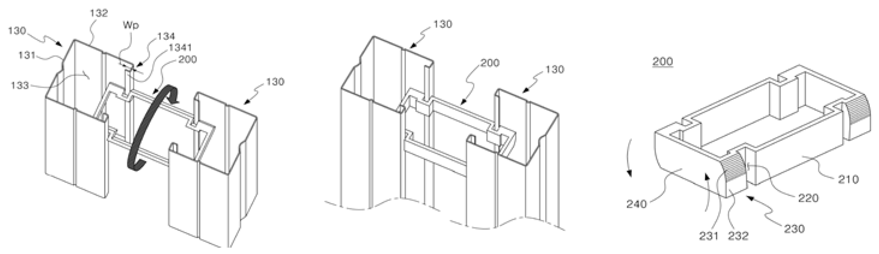
The developed stud, illustrated in Figure 5, features two small studs (130) with several separating clips (200, enlarged in 200) positioned opposite each other and separated by a specific width. The clip has grooves (220) on both sides so that it can be inserted into the metal stud lip (134, 1341) and assembled. This design reduces heat transfer through the studs because the metal component is not continuous. The separating clip is made of the plastic material, and it helps maintain the spacing between the studs and ensures structural stability. The clip has an asymmetrical curved shape (240, 231–232), which allows the clip to rotate in only one direction to prevent it from coming loose after assembly. Also, the size of the separating clip was designed to fit the standard size of the metal stud so that commercialized metal studs can be used for it.

3.2. Preliminary Evaluation of Thermal Performance

The conventional C-stud is shown in Figure 6a. The dimensions of the web-flange-lib are 150-45-11 mm, and the thickness is 0.8 mm. The length of the web (150 mm) was the same as the thickness of the glass wool insulation material (thermal conductivity = 0.034 W/mK). The web, which is the main path for heat conduction and penetrates the insulation material, should be separated to break the path for heat transfer.
To separate the metal stud, two smaller C-studs with dimensions of 50-45-6 mm and thickness of 0.8 mm were used. The separating clip was used to maintain the space between the C-studs, as shown in Figure 6b. The studs and clips can be assembled in the field and factory before the installation. The construction is similar to that using the double studs but easier owing to the use of pre-assembled single stud and single runner. The separating clips were made of reinforced plastic, with height and thickness of 2 and 3 mm, respectively. Insulation materials cannot be fully filled in studs because of their narrow webs and bent flanges. Hence, a blowing-type insulation material was considered for filling the new C-stud with separating clips by using the hole at the center.
For the preliminary evaluation of the thermal bridge effect of C-studs, a heat transfer analysis using THERM [15] was briefly conducted. THERM is a steady-state two-dimensional heat transfer analysis tool based on the infinite elements method, and it is widely used to evaluate various building envelope’s energy efficiency and local temperature patterns, which may relate directly to problems with condensation.
The evaluated models are as shown in Figure 7, and the boundary conditions of each side were 25 and −15 °C, respectively. The thermal conductivities of the insulation, gypsum board, and C-stud were 0.034, 0.18, and 63.0 W/mK, respectively. The thermal conductivity of the separating clip is 0.17 W/mK, as it made of plastic.
Figure 7a shows the isotherm image of the 150 mm glass wool-insulated drywall system without C-studs. Figure 7b shows the isotherm image with C-studs. The heat transfer through the C-studs is clear (called the thermal bridge) and reduces the surface temperature on the warmer side of the wall. Figure 7c shows the isotherm images of the drywall system with proposed studs with separating clips. The thermal bridging effect of the proposed stud was much lower than that of the conventional C-stud.
Table 2 lists the minimum surface temperature, heat transfer rate, and linear thermal transmittance for each analyzed case. The heat transfer rate of the conventional C-stud is more than two times that of the proposed stud. As a result, it is expected that the proposed stud can significantly reduce drywall thermal bridges. However, the heat transfer analysis using THERM is limited by its reliance on a two-dimensional geometric model. Therefore, the improvement in thermal insulation performance of the low thermal bridging studs should be evaluated through a mock-up test.

3.3. Preliminary Evaluation of Structural Performance

The drywall system must be designed to meet the minimum bending deformation requirements under horizontal loads, as specified by national standards. The criteria for loads applied to drywall systems in Korea are detailed in Table 3. These criteria are based on KDS 41 00 00 [19], which addresses the lateral load on interior walls. According to KDS 41 00 00, various interior walls with a height of 1.8 m or more, installed within a building, should withstand a uniformly distributed load of 0.25 kN/m2 or more applied perpendicular to the wall surface. The tensile strength of the clip was assumed to be 58 MPa, based on synthetic resin.
To determine the appropriate number of separating clips for structural stability, a structural analysis using Midas Gen [16] was conducted. The analyzed model is shown in Figure 8. The dimensions of the developed studs were 3 m in height and 150 mm in narrow width, with the studs arranged at 450 mm intervals. Three cases were analyzed with the separating clips arranged at intervals of 600 mm, 750 mm, and 1000 mm.
The structural stability was evaluated by checking whether the displacement exceeded the specified criteria for the applied load. According to the 2018 International Building Code [20], the criteria for minimum deformation are L/120 for flexible finishes and L/240 for brittle finishes, such as stone panels, as detailed in Table 4.
The results are summarized in Table 5. Both stress and displacement met the specified criteria. The maximum displacement occurred at the vertical center of the studs, with values of 2.6 mm for both 600 mm and 750 mm intervals, and 5.4 mm for the 1000 mm interval. These values are well within the criteria of 25 mm for flexible finishes and 12.5 mm for brittle finishes. Notably, there was no significant difference in displacement between the 600 mm and 750 mm intervals. However, it is important to note that the analysis did not account for wind loads; therefore, these results are applicable only to inner walls or walls indirectly exposed to the external environment.

3.4. Discussions

In this chapter, a low thermal bridging stud was designed to reduce the thermal bridging of drywall metal studs. Its thermal performance was compared with two types of conventional drywalls, and the proper number of separating clips was determined to ensure the appropriate structural safety. However, low thermal bridging studs are based on being applied in an indoor environment and can stand on its own within a 3 m height. For heights higher than that, additional structural reinforcement is required.
The shape of the separating clip was designed to enable assembly with commercially available studs to increase usability in actual construction sites, and its constructability was continuously confirmed through on-site mock-ups, as shown in Figure 9. However, when applied as an actual building element, it must satisfy some essential performance regally required. In South Korea, the evaluation of them is required through mock-up testing rather than simulation evaluation, so additional performance certifications should be achieved.

4. Overall Performance Evaluation of Low Thermal Bridging Studs

The drywall system must meet essential criteria for acoustic insulation, fire resistance, and structural and thermal insulation performance. For building applications, a mock-up test must be conducted according to the Korean standards for each performance attribute, as detailed in Table 6. The prototype wall is illustrated in Figure 10. Based on the structural analysis results from Section 3.3, the spacing of the separating clips was set at 750 mm. The width (W) and height (H) of the prototype were determined according to the type of mock-up test specified in Table 6.

4.1. Result of the Thermal Insulation Performance Test

To evaluate the thermal insulation performance of the drywall system with the developed studs, two specimens were prepared: a conventional drywall system with C-studs (shown in Figure 6a) and the developed drywall system (shown in Figure 6b and Figure 9). There are no specific criteria for considering the thermal bridging effect in Korean regulations. Therefore, we needed to find appropriate methodologies for evaluating the thermal insulation performance of drywall systems with studs. Consequently, the specimen was set up to include the entire drywall system, incorporating thermal bridge elements such as metal studs, the top runner, and the bottom runner.
For the comparison between conventional and developed studs, both specimens were identical in size and used the same thickness of insulation material and gypsum boards, resulting in a design thermal insulation value of 0.207 W/m2K. The U-value of the specimens was measured using the guarded hot box method (KS F 2277) [21]. The setup included top and bottom steel runners with four vertical studs spaced 450 mm apart. Four separating clips connected the two C-studs, maintaining an interval of 500 mm, which is within the maximum allowed interval of 750 mm. Blow-in glass wool insulation, with a density of 30 K, was used, accounting for both the weight of the raw glass wool material and the inner volume of the drywall system. The construction of the specimen is shown in Figure 11.
Table 7 presents the test results for effective thermal transmittance, highlighting the actual thermal performance of each drywall system, including the additional heat transfer through the C-studs. The thermal transmittance of the drywall system with steel C-studs was measured at 0.520 W/m2K, which is 2.5 times higher than the design value of 0.207 W/m2K. In contrast, the thermal transmittance of the drywall system with the developed studs was 0.307 W/m2K, reflecting a 28.8% improvement compared to the system with steel C-studs. However, the thermal transmittance of the system with the developed studs remained 1.78 times higher than the design value. This is due to the use of standard top and bottom runners, which extended continuously from the surface adjacent to the hot box to the surface adjacent to the cold box, thereby including the thermal bridge effect of the conventional steel runners, which had a total length of three meters in this setup.

4.2. Result of the Acoustic Insulation Performance Test

Drywall systems between adjacent houses must meet both the acoustic insulation performance criteria and fire-resistance performance criteria specified by the Korean Enforcement Decree of the Building Act [26]. The acoustic insulation performance is detailed in the standards for the accreditation and management of acoustic insulation structures of walls [27]. According to these regulations, the acoustic insulation performance of a party wall is categorized into four grades based on the degree of sound transmission loss, as shown in Table 8. It is recommended that the minimum grade or higher is satisfied.
To evaluate the acoustic insulation performance of the drywall system with the developed studs, tests were conducted according to KS F ISO 10140-2 [22] and KS F 2862 [23]. The test specimen is shown in Figure 12. In these tests, acoustic insulation performance was assessed by measuring the sound pressure difference between the sound-generating room and the sound-receiving room as shown in Figure 13a. Special speakers were used as the sound source, producing a 1/3-octave band sound with frequencies ranging from 100 to 5000 Hz. The average sound pressure levels in both rooms were measured and used to calculate the acoustic attenuation coefficient. The Rw + C value, derived from the test results, was used to determine the acoustic insulation grades, which are classified based on this value.
Figure 13b shows the test results, with transmission loss between the sound-generating room and the sound-receiving room represented as the R-value on the Y-axis for each frequency band on the X-axis. The plot indicates that higher R-values correspond to better acoustic insulation performance. The dotted line represents the sound reduction index curve for the conventional C-stud. For the main frequency bands of 500–1000 Hz and 2500–4000 Hz, the R-value of the developed stud exceeded 60 dB, suggesting that its acoustic insulation level meets the criteria for either 1st or 2nd grade and is significantly higher than that of the conventional C-stud. However, the R-value dropped below 55 dB for the 1500–2000 Hz range, indicating a 3rd-grade acoustic insulation performance. This trend—where the R-value initially increases, then decreases within a specific frequency band, and subsequently increases again—is typical of drywall systems.
The Rw + C value for this specimen was 53 dB, indicating 3rd-grade acoustic insulation performance, which meets the required acoustic insulation criteria. However, this performance is relatively low compared to high acoustic insulation systems, such as double-stud drywall systems used in walls for hotels and residential buildings. Therefore, to enhance acoustic insulation performance for broader applications, it is necessary to replace the top and bottom single runners with double runners, as used in high acoustic insulation walls. Additionally, the further development of a drywall system using thinner studs (0.8 mm for the specimen in this study, compared to the usual 0.6 mm or less for high acoustic insulation walls) and higher-density insulation materials should be considered.

4.3. Result of the Fire-Resistance Performance Test

A non-load-bearing wall, such as a drywall system, must meet the fire-resistance performance criteria specified by the Korean Enforcement Decree of the Building Act [26]. According to the Regulation on Building Evacuation and Fire Prevention Structures [28], non-load-bearing walls in buildings up to 50 m (12 floors) high must have a fire resistance of 60 min. In buildings taller than 50 m, the required fire resistance is 120 min.
The fire resistance test was conducted according to KS F 2257-8 [24]. During the test, two surfaces of the specimen were exposed to the furnace and outside air, as shown in Figure 14a. The furnace temperature was raised according to the standard heating curve depicted in Figure 14b. The specimen measured 3.0 m in height and 3.0 m in width, with twelve temperature sensors attached to the surface exposed to the outside environment.
The fire resistance of the specimen was evaluated based on both thermal insulation and fire integrity criteria. For thermal insulation, the surface temperature adjacent to the outdoor air must not exceed 170 °C during 120 min of furnace heating. Fire integrity, which assesses the ability to prevent ignition of high-temperature gases and the surface exposed to the outdoor environment, was evaluated by checking for crack penetration, ignition of a cotton wool pad, and sustained flaming of the surface exposed to the outdoor environment.
The average and maximum surface temperatures after 120 min were 57 °C and 94 °C, respectively. No penetration of the crack gauge, ignition of the cotton wool pad, or sustained flaming on the surface was observed. Therefore, the specimen with the developed studs demonstrated a two-hour fire resistance performance. Figure 15 illustrates the surfaces exposed to the furnace and the outdoor environment after the tests. The test specimen remained structurally intact and could stand on its own, although most of the separating clips were burned. However, this did not significantly affect the overall results.

4.4. Result of the Horizontal Load Resistance Test

The structural performance of the drywall system was evaluated through horizontal load resistance testing. The test was conducted in accordance with KS F 2613 [25], and a load of 3000 N was applied considering its use as a partition wall or boundary wall in residential facilities. The specimen preparation and test facility are shown in Figure 16.
After installing the pressure plate and force device at the center of the test specimen, the displacements at the measurement points in Figure 16 were measured while adding a load of 100 N at 2 min intervals until the target load was reached. The residual deformations at the measurement points were measured and the test specimens were inspected; any abnormality was recorded immediately after removing the load and 1 h later.
The test results showed a maximum displacement of 10.4 mm, and the maximum residual deformation was 2.3 mm but there were no abnormalities in the appearance. BS 5234-2 Specification for performance requirements for strength and robustness including methods of test, Annex A [29] requires that a maximum displacement of 25 mm and maximum residual deformation of 5 mm or less is satisfied under a force of 500 N in the case of a residential building. Considering these criteria, the test sample demonstrated sufficient horizontal load resistance performance.

4.5. Overall Results and Discussion

The overall results of the thermal insulation, acoustic insulation performance, and fire-resistance performance tests are shown in Table 9. Regarding the thermal insulation of the drywall with developed studs, the thermal transmittance rate was improved by 28.8% when compared with that of the existing C-stud. The acoustic insulation performance of the drywall with the developed studs was certified as Grade 3, which satisfied the grade required for the building. The fire resistance lasted for 2 h and satisfied the fire-resistance performance required for non-load-bearing walls of buildings with a height of 50 m or more.
The drywall system proposed in this study combines the workability of a drywall with single C-studs and the thermal insulation performance of a drywall with double C-studs. To broaden the application of this system, it is essential to enhance its acoustic insulation performance, particularly for buildings such as hotels that require acoustic insulation exceeding Grade 2.

5. Energy Performance Evaluation of Low Thermal Bridging Drywall for Heating-Dominant Building

5.1. Overview of the Building Model

The drywall system proposed in this research exhibits superior thermal performance due to its reduced thermal bridging effect compared to conventional systems with steel C-studs. This improvement also decreases the likelihood of indoor surface condensation. With the increasing use of drywall systems in apartment buildings, especially in walls facing or adjacent to outdoor environments, these systems are exposed to high humidity and a greater risk of condensation from various indoor sources of moisture, such as human breathing, nighttime humidification, and cooking.
In this section, we discuss the impact of the proposed drywall system on annual energy demand, assuming its application in an apartment building. In many South Korean apartment buildings, the spaces for outdoor A/C condenser units and balconies with windows are typically adjacent to bedrooms or living rooms. As illustrated in Figure 17, the wall separating the balcony from the bedroom must meet the thermal transmittance criteria for walls that indirectly face the outdoor environment.
The building was modeled using DesignBuilder6.0 [17], which uses EnergyPlus24.1.0 [18] as the calculation engine. The image modeled in DesignBuilder based on Figure 17 is shown in Figure 18, and the input values for the simulation are shown in Table 10. To evaluate the effect of the wall load, the floor and ceiling surfaces were modeled as adiabatic surfaces. Balcony and E/V halls were modeled as semi-exterior unconditioned spaces.

5.2. Evaluation Method Considering Thermal Bridging Effect

When using building energy analysis tools like EnergyPlus, it is challenging to directly account for additional heat loss due to thermal bridges because these tools typically consider the thermal balance between one-dimensional nodes. Moreover, finite element analysis tools, which are used to analyze specific parts of the building envelope, require substantial time and data to analyze the entire building.
In this research, the effective thermal transmittance of the wall was calculated prior to conducting the building energy analysis and assigned a single value. This effective thermal transmittance combines the linear thermal transmittance of the thermal bridge with the one-dimensional thermal transmittance value, which is calculated based on the thickness and thermal conductivity of the constituent materials. The linear thermal transmittance of the studs can be calculated using Equations (1)–(6) with values obtained from mock-up tests or simulations. Equations (1)–(4) are referenced from ISO 10211 [30], and Equations (5) and (6) are derived from Equations (1)–(4). For this research, the results of the thermal insulation tests were used.
To calculate the linear thermal transmittance of the studs, the difference between the thermal transmittance obtained from the test results and the design thermal transmittance was considered as the additional heat loss due to the studs. The area of the specimen and the total length of the studs were used in Equations (1)–(6) for this calculation.
The linear thermal transmittance (ψstud) was determined by multiplying the difference between the effective thermal transmittance (Ueff) from each test and the one-dimensional design thermal transmittance (U1D) by the heat transfer area and then dividing by the total length of the studs (lstud).
The total length of the studs (lstud) was calculated as the sum of the lengths of the four vertical studs, excluding the lengths of the upper and lower runners. However, since the thermal transmittance obtained from the test included the thermal influence of the runners, the calculated linear thermal transmittance value was slightly higher than the simulation result, which considered only the vertical studs.
Qeff = Q1D + Qstud
Qeff = Ueff ∙ A ∙ ΔT
Q1D = U1D ∙ A ∙ ΔT
Qstud = ψstud ∙ lstud ∙ ΔT
Ueff ∙ A = U1D ∙ A + ψstud ∙ lstud
ψstud = {(Ueff − U1D_test) ∙ A}/lstud
The linear thermal transmittances (ψstud) for the conventional and proposed studs were measured as 0.117 and 0.061 W/m K, respectively, as shown in Table 11. The linear thermal transmittance (ψstud) of the proposed stud was 47.9% lower than that of the conventional C-stud. It is important to note that the top and bottom steel runners, which are essential for the specimen’s structural stability, contribute significantly to the thermal bridging effect and resulting heat loss. Therefore, additional tests or simulations that exclude the top and bottom steel runners are necessary to more accurately determine the linear thermal transmittance of the studs.
Using the linear thermal transmittances obtained, the effective thermal transmittance (Ueff) of the drywall system, as shown in Figure 15, was calculated using Equation (7), with results presented in Table 12. The total length (lstud) of the installed vertical studs was 108 m per housing unit, calculated by multiplying the height of each stud (2.7 m) by the number of studs (n = 40), based on an installation interval of 450 mm.
For a clear comparison between the alternatives, it is essential to account for the influence of thermal bridges when analyzing building energy, while keeping the wall thickness and thermal capacity constant to minimize the impact of unrelated variables. In this study, the effective thermal transmittance (Ueff) was determined assuming a hypothetical material, maintaining the same insulation thickness (dinsulation) and density for each alternative, and using the effective thermal conductivity (λeff_insulation) calculated through Equations (8)–(10).
Ueff = {U1D + (ψstud ∙ lstud)}/A
Reff = Ri + Rgypsum + Rinsulation + Ro
Rinsulation = dinsulationeff_insulation
λeff_insulation = dinsulation/{Reff − (Ri + Rgypsum + Ro)}

5.3. Results and Discussion

Table 13 presents the annual heating, cooling, and total loads for each case. The annual heating load with conventional C-studs was 22.917 kWh/m2, while the heating load with the proposed studs was 21.803 kWh/m2, reflecting a reduction of 4.86%. Although the effective thermal conductivity of the proposed studs improved by approximately 30%, this reduction translated to an approximate 5% decrease in the total heating and cooling loads for the entire residential unit. Figure 19 illustrates the monthly heating and cooling loads, with the red boxes indicating the loads when thermal bridges are not considered.
The annual cooling load for the conventional C-stud was 14.015 kWh/m2, while for the proposed stud it was 14.223 kWh/m2, reflecting a slight increase of 1.49%. This increase in the cooling load is due to the higher thermal insulation of the proposed studs, which reduces indoor heat emission at night and thus raises the cooling load. The total load reduction ratio was 2.45% compared to the conventional C-stud. However, the difference in cooling load between the two cases is expected to decrease further when considering nighttime air cooling through open windows.
The results slightly vary when considering the thermal conditions of the exposed wall of the drywall system. Table 14 presents the annual heating and cooling loads, accounting for infiltration rates of 0.5, 1.0, and 1.5 per hour (h) for balcony spaces. The infiltration rate of a balcony space affects its thermal condition; a higher infiltration rate means that the balcony temperature is more influenced by outdoor air, leading to lower temperatures in winter. Figure 20 illustrates the air temperature in the balcony for January at infiltration rates of 0.5, 1.0, and 1.5/h. The air temperature in the balcony with an infiltration rate of 1.5/h was reduced by up to 0.73 °C compared to that with a 0.5/h infiltration rate.
The thermal condition of the balcony is strongly influenced by the outdoor environment, making the thermal insulation performance of the drywall system a critical factor in determining the total thermal load of the building. As shown in Table 12, when the infiltration rate in the balcony space was 1.5 per hour (h), the heating load for the household with the conventional C-stud was 5.85% higher compared to the case with the proposed stud. For an infiltration rate of 0.5/h, the heating load was 4.86% higher with the conventional C-stud. The results demonstrated that the gypsum board drywall system with these low thermal bridging studs showed improved thermal and energy performance.

6. Conclusions

In this study, low thermal bridging studs were developed and proposed as an alternative to conventional steel C-studs, which are the primary thermal bridges in drywall systems used for partition or party walls within a space or between spaces. For building applications, the essential performance of the drywall system with low thermal bridging studs—including thermal and acoustic insulation, fire resistance, and horizontal load resistance—was assessed through mock-up tests. Additionally, the impact of the proposed system on building energy consumption was evaluated. The main results are as follows:
(1) To minimize heat flow through the studs, the proposed design consists of two small-sized studs separated by clips made of reinforced plastic that can be easily assembled in the field and ensure structural stability despite the space between them. A two-dimensional heat transfer analysis demonstrated that the proposed stud could reduce linear thermal transmittance by more than 80% compared to the conventional C-stud. Structural analysis identified the optimal interval between the separating clips as 600–750 mm.
(2) Mock-up tests were conducted to evaluate and compare the thermal insulation performance of conventional C-studs and proposed studs. The thermal transmittance of the drywall with low thermal bridging studs was measured at 0.370 W/m2K, showing a 28.8% improvement compared to the 0.520 W/m2K transmittance of the conventional C-stud. Considering a design thermal transmittance of 0.207 W/m2K in the absence of studs, a conventional drywall exhibits a reduction of over 2.5 times in thermal insulation performance. This decrease not only increases heating energy consumption but can also lead to a reduction in indoor surface temperatures and mold growth. However, using low thermal bridging studs is expected to minimize energy loss and prevent a decrease in indoor surface temperatures.
(3) For building applications, the essential performance criteria beyond thermal insulation include fire resistance, acoustic insulation, and horizontal load resistance. Acoustic insulation tests of the drywall with low thermal bridging studs indicated an Rw + C value of 53 dB, meeting the level 3 acoustic insulation criteria for walls. Since Korean regulations require level 4 or higher for building applications, especially in apartments, the drywall with the proposed studs meets these requirements. The fire resistance tests showed an average surface temperature of 57 °C and a maximum surface temperature of 94 °C under a 2 h combustion condition, which is the standard fire resistance time for non-load-bearing walls in buildings over 50 m tall. These values are well within the standards of 170 °C and 210 °C for average and maximum surface temperatures, respectively. Additionally, the maximum and residual displacements were deemed appropriate for a horizontal load of 3000 N applied vertically to the non-load-bearing wall, with the structural performance also confirmed through a mock-up test.
(4) The impact of the improved thermal insulation of the developed drywall on the annual heating and cooling loads of the building was investigated. The drywall sections facing the balcony and elevator hall, which are unconditioned spaces within an apartment building, were modeled using airtightness levels typical of unconditioned spaces. These levels were adjusted to account for outdoor air infiltration rates ranging from 0.5 to 1.5 air changes per hour. The linear thermal transmittances of the existing and developed studs were calculated based on the thermal transmittance obtained from the mock-up test and converted to effective thermal conductivities. These values were then used as input for the building energy analysis. For infiltration rates ranging from 0.5 to 1.5 air changes per hour in unconditioned spaces, the annual heating load decreased by 4.8–5.9%, the cooling load increased by 1.5–1.9%, and the total load decreased by 2.5–3.0%. To achieve zero-energy buildings, it is essential to estimate the actual building energy consumption considering thermal bridges, such as those caused by metal studs in drywalls. The evaluation method proposed in this research can assist in this estimation. Additionally, the low thermal bridging studs are feasible for use in zero-energy buildings.
The drywall system with low thermal bridging studs is suitable for use in high-rise complexes or remodeled buildings in South Korea due to its lightweight, ease of installation, and improved thermal insulation quality—attributes that are essential for reducing internal weight. Particularly in apartment buildings, where unconditioned balconies are often adjacent to bedrooms with high relative humidity, this drywall system is expected to prevent condensation issues and improve thermal insulation quality. Furthermore, for building applications, we plan to conduct interviews with construction technicians to assess the ease of on-site assembly of the drywall system with low thermal bridging studs, establish construction costs based on Korean standard cost estimates, and evaluate its economic efficiency compared to conventional C-studs.
In the case of drywall systems, most have traditionally been used as partition walls within spaces, leading to the active development of products aimed at improving acoustic insulation performance. However, with the rise of high-rise buildings and the increasing use of drywall as an insulated wall, it is crucial to address thermal bridging and accurately evaluate performance, including thermal bridging, to achieve zero-energy buildings. Additionally, further simulation and experimental research are needed to assess the applicability of these systems not only for heating-dominant buildings but also for cooling-dominant buildings.

Author Contributions

J.-H.S.: Conceptualization, Methodology, Validation, Formal analysis, Investigation, Writing—original draft, Writing—review and editing, Visualization, Project administration, Funding acquisition. H.-W.K.: Methodology, Validation, Writing—original draft. All authors have read and agreed to the published version of the manuscript.

Funding

This work was supported by a Korea Institute of Energy Technology Evaluation and Planning (KETEP) grant funded by the Korean government (MOTIE) (grant number 20202020800360).

Data Availability Statement

The raw data supporting the conclusions of this article will be made available by the authors on request.

Conflicts of Interest

The authors declare no conflict of interest.

References

  1. Lee, J.H.; Kim, Y.R. Current Status and Development Direction of Drywall System. DAELIM Tech. Rep. 2014, 8–15. [Google Scholar]
  2. Lafarge Plasterboard Korea. The Drywall Manual. In Drywall System; Lafarge Plasterboard Korea: Seoul, Republic of Korea, 2006. [Google Scholar]
  3. Gorgolewski, M. Developing a Simplified Method of Calculating U-values in Light Steel Framing. Build. Environ. 2007, 42, 230–236. [Google Scholar] [CrossRef]
  4. Höglund, T.; Burstrand, H. Slotted Steel Studs to Reduce Thermal Bridges in Insulated Walls. Thin-Walled Struct. 1998, 32, 81–109. [Google Scholar] [CrossRef]
  5. Ministry of Land, Infrastructure and Transport. Energy Saving Design Standards of Buildings; Ministry of Land, Infrastructure and Transport: Sejong City, Republic of Korea, 2017.
  6. You, Y.D. A Study on Thermal Performance of Steel Stud Framed Wall According to Wall Composition. J. Archit. Inst. Korea 2009, 25, 253–262. [Google Scholar]
  7. You, Y.D. A Study on the Prediction of the Thermal Performance for Steel Stud Framed Wall System. J. Archit. Inst. Korea 2014, 30, 257–266. [Google Scholar]
  8. Jang, C.Y.; Lee, H.J.; Park, S.W. A Study on Thermal Performance Evaluation of Dry Wall According to Shape of Steel Stud. J. Archit. Inst. Korea 2011, 27, 221–228. [Google Scholar]
  9. Cho, Y.J.; Kim, G.D.; Yee, J.J. Evaluation of Insulation Performance by the Exterior Insulation System Types in Industrialized House with Fire Resistive Performance. J. Reg. Assoc. Archit. Inst. Korea 2013, 15, 123–130. [Google Scholar]
  10. Oh, J.H.; Yang, S.W.; Cho, B.H.; Kim, S.S. Evaluation of Condensation Resistance of Steel Stud Wall Corner Details in Modular Buildings. J. Korean Sol. Energy Soc. 2014, 34, 107–114. [Google Scholar] [CrossRef][Green Version]
  11. De Angelis, E.; Serra, E. Light Steel-Frame Walls: Thermal Insulation Performances and Thermal Bridges. Energy Procedia 2014, 45, 362–371. [Google Scholar] [CrossRef]
  12. ISO 6946-2007; Building Components and Building Elements—Thermal Resistance and Thermal Transmittance—Calculation Method. International Organization for Standardization (ISO): Geneva, Switzerland, 2007.
  13. Gomes, A.P.; de Souza, H.A.; Tribess, A. Impact of Thermal Bridging on the Performance of Buildings Using Light Steel Framing in Brazil. Appl. Therm. Eng. 2013, 52, 84–89. [Google Scholar] [CrossRef]
  14. American Society of Heating, Refrigerating and Air Conditioning Engineers (ASHRAE). ASHRAE Handbook—Fundamentals; ASHRAE: Peachtree Corners, GA, USA, 2013. [Google Scholar]
  15. Lawrence Berkeley National Laboratory. THERM Software; Lawrence Berkeley National Laboratory: Berkeley, CA, USA, 2022. Available online: https://windows.lbl.gov/software-tools#therm-heading (accessed on 3 September 2024).
  16. Midasit Co., Ltd. Midas Gen. Available online: https://www.midasstructure.com/en/product/overview/gen (accessed on 3 September 2024).
  17. DesignBuilder Software Ltd. Available online: http://www.designbuilder.co.uk (accessed on 3 September 2024).
  18. EnergyPlusTM. Available online: http://energyplus.net (accessed on 3 September 2024).
  19. Standard 41 00 00; Korean Design. Ministry of Land, Infrastructure and Transport: Sejong City, Republic of Korea, 2019; Volume 2019.
  20. International Code Council (ICC). International Building Code (IBC); International Building Code: Country Club Hills, IL, USA, 2018. [Google Scholar]
  21. KS F 2277:2017; Thermal Insulation—Determination of Steady-State Thermal Transmission Properties—Calibrated and Guarded Hot Box. Korean Standards Association: Seoul, Republic of Korea, 2017.
  22. KS F ISO 10140-2:2021; Acoustics—Laboratory Measurement of Acoustic Insulation of Building Elements—Measurement of Airborne Acoustic Insulation—Part 2. Korean Standards Association: Seoul, Republic of Korea, 2021.
  23. KS F 2862:2022; Rating of Airborne Acoustic Insulation in Buildings and of Building Elements. Korean Standards Association: Seoul, Republic of Korea, 2022.
  24. KS F 2257-8:2020; Fire Resistance Test Method of Building Members—Performance Conditions of Non-Bearing Vertical Partition Members. Korean Standards Association: Seoul, Republic of Korea, 2020.
  25. KS F 2613:2020; Standard Test Methods for Non-Bearing Lightweight Wall for Building Construction. Korean Standards Association: Seoul, Republic of Korea, 2020.
  26. Ministry of Land, Infrastructure and Transport. Enforcement Decree of the Building Act; Ministry of Land, Infrastructure and Transport: Sejong City, Republic of Korea, 2022.
  27. Ministry of Land, Infrastructure and Transport. Accreditation and Management Standards for Acoustic Insulation Structures of Walls; Ministry of Land, Infrastructure and Transport: Sejong City, Republic of Korea, 2018.
  28. Ministry of Land, Infrastructure and Transport. Regulations for Building Evacuation and Fire Prevention Structures, etc.; Ministry of Land, Infrastructure and Transport: Sejong City, Republic of Korea, 2023.
  29. BS 5234-2:1992; Partitions (Including Matching Linings). Specific Performance Requirements—Strength, Robustness Including Methods of Test. British Standards Institution: London, UK, 1992.
  30. ISO 10211:2017; Thermal Bridges in Building Construction—Heat Flows and Surface Temperatures—Detailed Calculations. International Organization for Standardization: Geneva, Switzerland, 2017.
Figure 1. Installation process of drywall system.
Figure 1. Installation process of drywall system.
Buildings 14 03032 g001
Figure 2. Degradation of surface temperature of the metal stud (left: discoloration of the finishing material/right: infrared image).
Figure 2. Degradation of surface temperature of the metal stud (left: discoloration of the finishing material/right: infrared image).
Buildings 14 03032 g002
Figure 3. P1 graph of surface temperature for the image on the right in Figure 2.
Figure 3. P1 graph of surface temperature for the image on the right in Figure 2.
Buildings 14 03032 g003
Figure 4. Flowchart: methodologies of the research.
Figure 4. Flowchart: methodologies of the research.
Buildings 14 03032 g004
Figure 5. Concept of low thermal bridging stud.
Figure 5. Concept of low thermal bridging stud.
Buildings 14 03032 g005
Figure 6. Three-dimensional shapes. (a) Conventional C-stud; (b) proposed stud.
Figure 6. Three-dimensional shapes. (a) Conventional C-stud; (b) proposed stud.
Buildings 14 03032 g006
Figure 7. Isotherm images of drywall systems without and with C-studs. (a) Drywall system without C-studs; (b) drywall system with single C-studs; (c) drywall system with proposed studs.
Figure 7. Isotherm images of drywall systems without and with C-studs. (a) Drywall system without C-studs; (b) drywall system with single C-studs; (c) drywall system with proposed studs.
Buildings 14 03032 g007
Figure 8. Analyzed model (separating clips arranged at 1000 mm intervals).
Figure 8. Analyzed model (separating clips arranged at 1000 mm intervals).
Buildings 14 03032 g008
Figure 9. Field construction of low thermal bridging studs.
Figure 9. Field construction of low thermal bridging studs.
Buildings 14 03032 g009
Figure 10. Specimen after application of blow-in glass wool.
Figure 10. Specimen after application of blow-in glass wool.
Buildings 14 03032 g010
Figure 11. Preparation of test specimen containing the proposed studs (with blown-in glass wool insulation).
Figure 11. Preparation of test specimen containing the proposed studs (with blown-in glass wool insulation).
Buildings 14 03032 g011
Figure 12. Preparation of test specimen for acoustic insulation test.
Figure 12. Preparation of test specimen for acoustic insulation test.
Buildings 14 03032 g012
Figure 13. Acoustic insulation test facilities and test results: (a) plans for the test facility; (b) sound reduction index curve of the drywall system with the developed stud.
Figure 13. Acoustic insulation test facilities and test results: (a) plans for the test facility; (b) sound reduction index curve of the drywall system with the developed stud.
Buildings 14 03032 g013
Figure 14. Test facility for fire resistance evaluation: (a) furnace in the test facility; (b) time–temperature curve of the furnace.
Figure 14. Test facility for fire resistance evaluation: (a) furnace in the test facility; (b) time–temperature curve of the furnace.
Buildings 14 03032 g014
Figure 15. Specimen surfaces after the test: (a) surface exposed to the furnace; (b) surface exposed to the outdoor environment.
Figure 15. Specimen surfaces after the test: (a) surface exposed to the furnace; (b) surface exposed to the outdoor environment.
Buildings 14 03032 g015
Figure 16. Test specimen preparation and facility for horizontal load resistance test.
Figure 16. Test specimen preparation and facility for horizontal load resistance test.
Buildings 14 03032 g016
Figure 17. Model boundary for the simulation.
Figure 17. Model boundary for the simulation.
Buildings 14 03032 g017
Figure 18. Model images for the simulation (red = x-axis, green = y-axis, blue = z-axis).
Figure 18. Model images for the simulation (red = x-axis, green = y-axis, blue = z-axis).
Buildings 14 03032 g018
Figure 19. Monthly heating and cooling loads.
Figure 19. Monthly heating and cooling loads.
Buildings 14 03032 g019
Figure 20. Daily average air temperatures in the balcony for different air infiltration rates.
Figure 20. Daily average air temperatures in the balcony for different air infiltration rates.
Buildings 14 03032 g020
Table 1. Required performance of the drywall system.
Table 1. Required performance of the drywall system.
-Acoustic Insulation (2)Thermal Insulation (3)Fire Resistance (4)
Party wall between spacesRequiredNot consideredRequired
Partition wall
within a space
GeneralRecommendedNot consideredNot considered
Fire partition (1)RecommendedNot consideredRequired
Wall indirectly facing outdoorsRecommendedRequiredRequired in a fire partition
Wall directly facing outdoorsRecommendedRequiredRequired
(1) Walls connected by air-duct shafts, pipe shafts, or evacuation spaces. (2) Ability to reduce the transmission of sound from one side to the other (refer to Section 4.2). (3) Ability to resist the transfer of heat between the interior and exterior of a building (refer to Section 4.1). (4) Ability to withstand fire and prevent its spread for a specified period (refer to Section 4.3).
Table 2. Thermal characteristics of the cases presented in Figure 7.
Table 2. Thermal characteristics of the cases presented in Figure 7.
DescriptionMinimum Indoor
Surface Temperature
(°C)
Heat Transfer Rate (W)Linear Thermal Transmittance (2)
(W/mK)
Figure 7aWithout studs (=design value)24.17.35 (1) (=Q1D)-
Figure 7bSingle C-stud19.715.280.099
Figure 7cDeveloped stud23.68.270.012
(1) This value equals Q1D in Equation (1) because it does not consider the thermal bridging effect of the steel studs. (2) This value is obtained from the equation: (Q − Q1D)/40 K.
Table 3. Input loads for structural analysis.
Table 3. Input loads for structural analysis.
CategoryValue
Dead loadGypsum board (2-ply)0.196 kN/m2 (assumed as 8.0 kg/m2/cm)
C-studAuto-calculated
Live loadLateral load0.25 kN/m2 (Referred from KDS 41 00 00 [19])
Separating clipUltimate Tensile Strength = 58 MPa
Tensile Modulus = 2600 MPa
Table 4. Criteria for minimum deformation.
Table 4. Criteria for minimum deformation.
ConstructionMinimum Deformation Criteria
With flexible finishesL/120
With brittle finishesL/240
Table 5. Results of structural analysis.
Table 5. Results of structural analysis.
IntervalStress Ratio for Separating ClipsDisplacement of Developed Stud
Stress RatioCriteriaResultDisplacementCriterionResult
@1000 mm0.341.00OK5.4 mm25 mm (L/120)
12.5 mm (L/240)
OK
750 mm0.25OK2.6 mmOK
600 mm0.29OK2.6 mmOK
‘@’ denotes at each interval.
Table 6. Test standards for the performance attributes.
Table 6. Test standards for the performance attributes.
Required PerformanceTest StandardSpecimen Size
Thermal insulation performanceKS F 2277—Thermal insulation—Determination of steady-state thermal transmission properties—Calibrated and guarded hot box [21]1.5 m (W) × 1.5 m (H)
Studs at 450 mm intervals
Acoustic insulation performanceKS F ISO 10140-2 Acoustics—Laboratory measurement of acoustic insulation of building elements—Part 2: Measurement of airborne acoustic insulation [22]
KS F 2862—Rating of airborne acoustic insulation in buildings and of building elements [23]
4.0 m (W) × 2.8 m (H)
Studs at 450 mm intervals
Fire-resistance performanceKS F 2257-8—Fire resistance test method of building members—Performance conditions of non-bearing vertical partition members [24]3.0 m (W) × 3.0 m (H)
Studs at 450 mm intervals
Horizontal load resistanceKS F 2613—Standard test methods for non-load-bearing lightweight wall for building construction [25]3.0 m (W) × 2.4 m (H)
Studs at 450 mm intervals
Table 7. Test results of thermal insulation.
Table 7. Test results of thermal insulation.
Drywall with Conventional C-Stud (W/M2 K)Drywall with Developed C-Stud (W/M2 K)
Thermal transmittanceDesign value0.2070.207
Experimental value0.5200.370 (−28.8%)
Table 8. Grades of acoustic insulation performance in Korean regulations [27].
Table 8. Grades of acoustic insulation performance in Korean regulations [27].
Acoustic Insulation LevelRange of Rw + C (dB)
Grade 163 ≤ Rw + C
in the case with no shared boundary wall between households
Grade 258 ≤ Rw + C < 63
Grade 353 ≤ Rw + C < 58
Grade 448 ≤ Rw + C < 53
Table 9. Overall results of performance tests.
Table 9. Overall results of performance tests.
Required PerformanceCriteriaResults
Thermal insulation
performance
n/a (including thermal bridges)0.370 W/m2K
(Decreased by 28.8%)
Acoustic insulation
performance
Rw + C>48 dB53 dB
Fire-resistance
performance
Avg. temp. of surface exposed
to outdoor environment
<170 °C57 °C
Max. temp. of surface exposed
to outdoor environment
<210 °C94 °C
Cracks, sustained flaming, ignitionNon/a
Horizontal load
resistance
Maximum displacement25 mm
(at 500 N)
10.4 mm
(at 3000 N)
Maximum residual
deformation
5 mm
(at 500 N)
2.3 mm
(at 3000 N)
Table 10. Input values for the simulation.
Table 10. Input values for the simulation.
Thermal Transmittance of Walls and Windows
PartMaterialThermal Conductivity
(W/mK)
Thickness
(mm)
Total Value
(W/m2K)
WallWall directly exposed to the outdoor environmentConcrete1.62000.164
PF board0.02090
Gypsum board0.1810
Wall indirectly exposed to the outdoor environmentGypsum board0.18250.204
Glass wool0.034150
Gypsum board0.1825
OthersConcrete1.62003.597
WindowDirectly exposed to the outdoor environmentSHGC: 0.361.000
Indirectly exposed to the outdoor environmentSHGC: 0.451.600
OthersSHGC: 0.452.400
Internal heat gainHumanSystemTotal
3.763 kWh/d9.211 kWh/d12.974 kWh/d
Weather dataSeoul, South Korea
Schedule00:00–24:00
Indoor setpoint temperatureHeating: 20 °C; Cooling: 26 °C
Run period365 d
Infiltration rate0.5/h for all spaces
Table 11. Linear thermal transmittance of conventional and proposed studs.
Table 11. Linear thermal transmittance of conventional and proposed studs.
TypeTest ResultsCalculation Using Equations (1)–(6)
UeffU1DALΔTψstud
Conventional C-stud0.520
W/m2 K
0.207 W/m2K2.25 m24 m20 K0.117 W/mK
Proposed stud0.370
W/m2 K
0.061 W/mK
Table 12. Effective thermal conductivity of the insulation material considering thermal bridges of studs.
Table 12. Effective thermal conductivity of the insulation material considering thermal bridges of studs.
Wall No.Stud TypeLength of the Wall (m)Number of StudsHeight (m)Total Length of the Studs (m)Effective Thermal Transmittance
(Ueff, W/m2K)
Effective Thermal Resistance
(Reff, m2K/W)
Effective Thermal Conductivity of the Insulation Material (λeff_insulation, W/mK)
2Conventional C-stud1.9562.716.20.4732.1128890.0929
Proposed stud0.344 (−27.3%)2.9036270.0624
3Conventional C-stud1.6552.713.50.564 1.773050.1176
Proposed stud0.392 (−30.5%)2.5530240.0730
4Conventional C-stud12.6292.778.30.5591.7903650.1161
Proposed stud0.389 (−30.8%)2.5716960.0723
Table 13. Monthly and annual heating and cooling loads.
Table 13. Monthly and annual heating and cooling loads.
MonthConventional C-StudProposed Stud
Heating (kWh/m2)Cooling (kWh/m2)Heating (kWh/m2)Cooling (kWh/m2)
17.10306.8310
25.26705.0350
33.11102.9270
40.39300.3250
50−0.0980−0.129
60−2.1380−2.201
70−3.8230−3.848
80−4.8290−4.828
90−2.7760−2.81
100−0.3500−0.402
111.36401.2400
125.67905.4450
Total heating load22.917-21.803 (−4.86%)-
Total cooling load-14.015-14.223 (+1.49%)
Total load36.93236.026 (−2.45%)
Table 14. Heating and cooling loads according to the infiltration rate in the balcony.
Table 14. Heating and cooling loads according to the infiltration rate in the balcony.
MonthInfiltration Rate in the Balcony
0.5/h1.0/h1.5/h
ConventionalProposedConventionalProposedConventionalProposed
17.1036.8317.2316.9157.3286.982
25.2675.0355.3685.1065.4455.158
33.1112.9273.1942.9843.2563.026
40.3930.3250.4230.3480.4480.364
5−0.098−0.129−0.085−0.117−0.076−0.108
6−2.138−2.201−2.097−2.170−2.065−2.148
7−3.823−3.848−3.797−3.828−3.777−3.813
8−4.829−4.828−4.808−4.811−4.792−4.798
9−2.776−2.815−2.745−2.790−2.720−2.772
10−0.350−0.402−0.322−0.380−0.302−0.364
111.3641.2401.4261.2841.4741.318
125.6795.4455.7835.5185.8635.572
Heating load22.91721.803
(−4.86%)
23.42522.155
(−5.42%)
23.81322.421
(−5.85%)
Cooling load14.01514.223
(+1.49%)
13.85414.096
(+1.75%)
13.73214.002
(+1.97%)
Disclaimer/Publisher’s Note: The statements, opinions and data contained in all publications are solely those of the individual author(s) and contributor(s) and not of MDPI and/or the editor(s). MDPI and/or the editor(s) disclaim responsibility for any injury to people or property resulting from any ideas, methods, instructions or products referred to in the content.

Share and Cite

MDPI and ACS Style

Song, J.-H.; Kim, H.-W. Performance Evaluation of Low Thermal Bridging Drywall System with Separating Clips for C-Studs. Buildings 2024, 14, 3032. https://doi.org/10.3390/buildings14093032

AMA Style

Song J-H, Kim H-W. Performance Evaluation of Low Thermal Bridging Drywall System with Separating Clips for C-Studs. Buildings. 2024; 14(9):3032. https://doi.org/10.3390/buildings14093032

Chicago/Turabian Style

Song, Jin-Hee, and Hye-Won Kim. 2024. "Performance Evaluation of Low Thermal Bridging Drywall System with Separating Clips for C-Studs" Buildings 14, no. 9: 3032. https://doi.org/10.3390/buildings14093032

APA Style

Song, J.-H., & Kim, H.-W. (2024). Performance Evaluation of Low Thermal Bridging Drywall System with Separating Clips for C-Studs. Buildings, 14(9), 3032. https://doi.org/10.3390/buildings14093032

Note that from the first issue of 2016, this journal uses article numbers instead of page numbers. See further details here.

Article Metrics

Back to TopTop