Experimental Investigation of Full Hole Embedment Behavior of Bamboo Scrimber with Dowel-Type Fasteners
Abstract
1. Introduction
2. Materials and Methods
2.1. Bamboo Scrimber and Steel Bolts
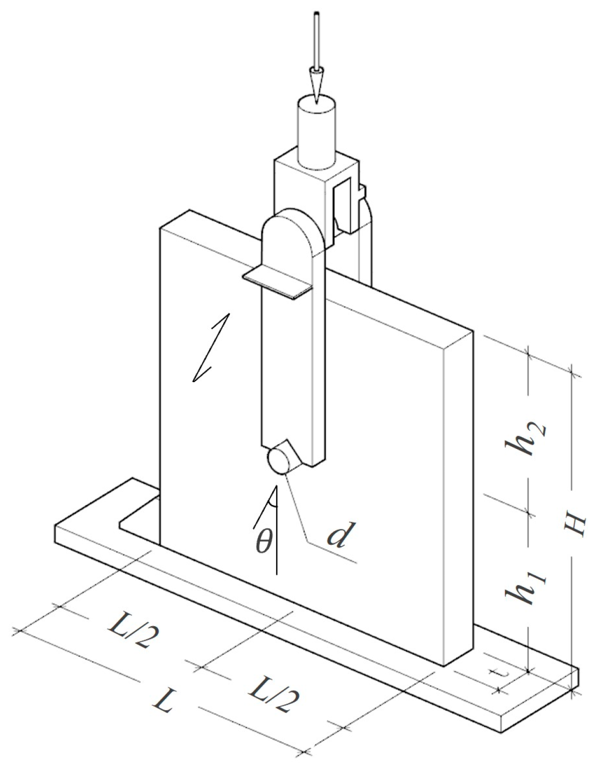
2.2. Full-Hole Embedment Test
2.3. Embedment Strength
3. Results and Discussion
3.1. Failure Modes
3.2. Effect of Bolt Diameter on Embedment Behavior
3.3. Effect of Load-to-Grain Angle on Embedment Behavior
4. Conclusions
- (1)
- In cases where the loading angle was less than 45°, the bamboo scrimber specimen was observed to fail in a brittle manner, with cracks propagating throughout the specimen and exhibiting a shear failure. Upon increasing the loading angle to 45° or above, the damage was confined to the region in close proximity to the bolt hole, including fiber crushing beneath the fastener and fiber rupture on both sides. This damage displays ductile characteristics.
- (2)
- When the compressive load was applied at 90°, as the bolt diameter increased from 16 mm to 20 mm, there was a corresponding decrease in both the yield embedment strength (from 162.28 MPa to 133.06 MPa) and ultimate embedment strength (from 179.98 MPa to 142.95 MPa). When the load was applied at 0°, no evident change in the embedment strength was observed.
- (3)
- The loading angle has a considerable effect on the embedding strength of bamboo scrimber, which can be attributed to the anisotropic property of the material. The strength exhibited an M-shaped variation with an increase in the loading angle, reaching a minimal value at load-to-grain angles of 0°, 45°, and 90°. At other loading angles, an increase was observed.
Author Contributions
Funding
Data Availability Statement
Conflicts of Interest
References
- Anu, B.; Supratic, G. Engineered bamboo and bamboo-reinforced concrete elements as sustainable building materials: A review. Constr. Build. Mater. 2023, 394, 132116. [Google Scholar] [CrossRef]
- Xiao, Y.; Yang, R.; Shan, B. Production, environmental impact and mechanical properties of glubam. Constr. Build. Mater. 2013, 44, 765–773. [Google Scholar] [CrossRef]
- T/CECE 10138-2021; Engineered Bamboo Composite. China Association for Engineering Construction Standardization CECS: Beijing, China, 2021.
- ISO 23478:2022; Bamboo Structures—Engineered Bamboo Products—Test Methods for Determination of Physical and Mechanical Properties. China Association for Engineering Construction Standardization: Beijing, China, 2022.
- Huang, D.; Bian, Y.; Zhou, A.; Sheng, B. Experimental study on stress-strain relationships and failure mechanisms of parallel strand bamboo made from Phyllostachys. Constr. Build. Mater. 2015, 77, 130–138. [Google Scholar] [CrossRef]
- Xiao, Y.; Zhou, Q.; Shan, B. Design and construction of modern bamboo bridges. J. Bridge Eng. 2010, 15, 533–541. [Google Scholar] [CrossRef]
- Huang, D.; Zhu, J.; Shen, Y. Design of a 3-storey frame building using engineered bamboo composite (EBC). Eng. Struct. 2024, 300, 117230. [Google Scholar] [CrossRef]
- Zhou, A.; Huang, D.; Li, H.; Su, Y. Hybrid approach to determine the mechanical parameters of fibers and matrixes of bamboo. Constr. Build. Mater. 2012, 35, 191–196. [Google Scholar] [CrossRef]
- Sharma, B.; Gatóo, A.; Bock, M.; Ramage, M. Engineered bamboo for structural applications. Constr. Build. Mater. 2015, 81, 66–73. [Google Scholar] [CrossRef]
- Sun, X.; He, M.; Li, Z. Novel engineered wood and bamboo composites for structural applications: State-of-art of manufacturing technology and mechanical performance evaluation. Constr. Build. Mater. 2020, 249, 118751. [Google Scholar] [CrossRef]
- Huang, D.; Zhou, A.; Bian, Y. Experimental and analytical study on the nonlinear bending of parallel strand bamboo beam. Constr. Build. Mater. 2013, 44, 585–592. [Google Scholar] [CrossRef]
- Huang, D.; Bian, Y.; Huang, D.; Zhou, A.; Sheng, B. An ultimate-state-based-model for inelastic analysis of intermediate slenderness PSB columns under eccentrically compressive load. Constr. Build. Mater. 2015, 94, 306–314. [Google Scholar] [CrossRef]
- Wei, Y.; Yan, S.; Zhao, K.; Dong, F.; Li, G. Experimental and theoretical investigation of steel-reinforced bamboo scrimber beams. Eng. Struct. 2020, 223, 111179. [Google Scholar] [CrossRef]
- Zhao, K.; Wei, Y.; Chen, S.; Hang, C.; Zhao, K. Experimental investigation of the long-term behavior of reconstituted bamboo beams with various loading levels. J. Build. Eng. 2021, 36, 102107. [Google Scholar] [CrossRef]
- Johansen, K.W. Theory of timber connections. Int. Assoc. Bridg. Struct. Eng. 1949, 9, 249–262. [Google Scholar]
- EN 1995-1-1: 2014(E); Eurocode 5: Design of Timber Structures-Part 1-1: General-Common Rules and Rules for Buildings. European Committee for Standardization: Brussels, Belgium, 2014.
- CSA O86; Engineering Design in Wood. Canadian Standards Association, CSA: Mississauga, ON, Canada, 2009.
- GB 50005-2017; Standard for Design of Timber Structures. China Architecture & Building Press: Beijing, China, 2017.
- Wilkinson, T. Dowel Bearing Strength; Location of Forestry Products Laboratory: Madison, WI, USA, 1991; pp. 1–9. [Google Scholar]
- Whale, L.R.J.; Smith, I.; Hilson, B.O. Behaviour of nailed and bolted joints under short-term lateral load—Conclusions from some recent research. In Proceedings of the CIB-W18 Meeting 19, Florence, Italy, 1–5 September 1986. [Google Scholar]
- Smith, I.; Whale, L.R.J.; Anderson, C.; Hilson, B.O.; Rodd, P.D. Design properties of laterally loaded nailed or bolted joints. Can. J. Civil Eng. 1988, 15, 633–643. [Google Scholar] [CrossRef]
- ASTM D5764—97a; Standard Test Method for Evaluating Dowel-Bearing Strength of Wood and Wood-Based Products. ASTM International: West Conshohocken, PA, USA, 2013.
- BS EN 383; Timber Structures. Test Methods. Determination of Embedding Strength and Foundation Values for Dowel Type Fasteners. BSI: London, UK, 2007.
- Schweigler, M.; Bader, T.K.; Hochreiner, G.; Unger, G.; Eberhardsteiner, J. Load-to-grain angle dependence of the embedment behavior of dowel-type fasteners in laminated veneer lumber. Constr. Build. Mater. 2016, 126, 1020–1033. [Google Scholar] [CrossRef]
- Wang, Y.; Wang, T.; Crocetti, R.; Schweigler, M.; Walinder, M. Embedment behavior of dowel-type fasteners in birch plywood: Influence of load-to-face grain angle, test set-up, fastener diameter, and acetylation. Constr. Build. Mater. 2023, 384, 131440. [Google Scholar] [CrossRef]
- Aquino, C.D.; Rodrigues, L.G.; Schweigler, M.; Krzan, M.; Li, Z.; Branco, J.M. Influence of test methodology on the characterization of the parallel-to-grain timber embedment strength and foundation modulus of dowels. Wood Mater. Sci. Eng. 2024. [Google Scholar] [CrossRef]
- Ottenhaus, L.M.; Li, Z.; Crews, K. Half hole and full hole dowel embedment Strength: A review of international developments and recommendations for Australian softwoods. Constr. Build. Mater. 2022, 344, 128130. [Google Scholar] [CrossRef]
- Cabrera, G.; Moltini, G.; Bano, V. Embedment strength of low- and medium-density hardwood species from Spain. Forests 2022, 13, 1154. [Google Scholar] [CrossRef]
- Iwuoha, S.E.; Seim, W. Embedment strength of smooth nails in timber construction—Characteristic and mean values. Constr. Build. Mater. 2022, 333, 127432. [Google Scholar] [CrossRef]
- Rammer, D.R.; Winistorfer, S.G. Effect of moisture content on dowel-bearing strength. Wood Fiber Sci. 2001, 33, 126–139. [Google Scholar]
- Schweigler, M.; Lemaître, R.; Shehadeh, Z.; Bader, T. Moisture and assembly history effects on embedment properties of steel dowels in spruce and birch loaded in grain direction. In Proceedings of the World Conference on Timber Engineering (WCTE 2023), Oslo, Norway, 19–22 June 2023. [Google Scholar]
- Sandhaas, c.; Ravenshorst, G.J.P.; Blass, H.J.; Kuilen, J.W.G. Embedment tests parallel-to-grain and ductility aspects using various wood species. Eur. J. Wood Wood Prod. 2013, 71, 599–608. [Google Scholar] [CrossRef]
- Yurrita, M.; Cabrero, J.M. New criteria for the determination of the parallel-to-grain embedment strength of wood. Constr. Build. Mater. 2018, 173, 238–250. [Google Scholar] [CrossRef]
- Chen, Y.; Li, H.; Yang, D.; Lorenzo, R.; Yuan, C. Experimental evaluation of the dowel-bearing strength of laminated flattened-bamboo lumber perpendicular to grain. Constr. Build. Mater. 2022, 350, 128791. [Google Scholar] [CrossRef]
- Li, X.; Mou, Q.; Ren, H.; Li, X.; Zhong, Y. Effects of moisture content and load orientation on dowel-bearing behavior of bamboo scrimber. Constr. Build. Mater. 2020, 262, 120864. [Google Scholar] [CrossRef]
- Huang, Y.; Ji, Y.; Yu, W. Development of bamboo scrimber: A literature review. J. Wood Sci. 2019, 65, 25. [Google Scholar] [CrossRef]
- Liu, K.; Xu, Q.; Wang, G.; Chen, F.; Leng, Y.; Yang, J.; Kent, A.H. Contemporary Bamboo Architecture in China; Jointly Published by Tsinghua University Press and Springer: Beijing, China, 2022. [Google Scholar]
- Sawata, K.; Yasumura, M. Determination of embedding strength of wood for dowel-type fasteners. J. Wood Sci. 2002, 48, 138–146. [Google Scholar] [CrossRef]
- Franke, S.; Quenneville, P. Bolted and dowelled connections in radiate pine and laminated veneer lumber using the European yield model. Aust. J. Struct. Eng. 2011, 12, 13–28. [Google Scholar]
- Leijten, A.; Kohler, J.; Jorissen, A. Review of probability data for timber connections with dowel-type fasteners. In Proceedings of the CIB-W18/Paper, Edinburgh, UK, 31 August–3 September 2004; p. 37. [Google Scholar]








| Group | L [mm] | h1 [mm] | h2 [mm] | T [mm] | d [mm] | [°] |
|---|---|---|---|---|---|---|
| A | 224 | 112 | 112 | 30 | 16 | 0 |
| 90 | ||||||
| B | 252 | 126 | 126 | 30 | 18 | 0 |
| 15 | ||||||
| 30 | ||||||
| 45 | ||||||
| 60 | ||||||
| 75 | ||||||
| 90 | ||||||
| C | 280 | 140 | 140 | 30 | 20 | 0 |
| 90 |
| d [mm] | [°] | [MPa] | [MPa] | ||
|---|---|---|---|---|---|
| Mean | Std * | Mean | Std * | ||
| 16 | 0 | 149.72 | 4.54 (3.03%) | 162.56 | 3.88 (2.39%) |
| 18 | 142.19 | 14.92 (10.50%) | 148.44 | 14.58 (9.82%) | |
| 20 | 145.29 | 5.33 (3.67%) | 155.13 | 3.57 (2.30%) | |
| 16 | 90 | 162.28 | 12.27 (7.56%) | 179.98 | 12.45 (6.92%) |
| 18 | 138.55 | 7.73 (5.58%) | 159.69 | 9.61 (6.02%) | |
| 20 | 133.06 | 3.00 (2.66%) | 142.95 | 1.69 (1.18%) | |
| Index | SSA | SSE | MSA | MSE | p-Value | |
|---|---|---|---|---|---|---|
| — | ||||||
| yield strength | 2963.4 | 2370.3 | 493.9 | 84.7 | 5.0 × 10−4 | |
| ultimate strength | 2477.3 | 2437.9 | 412.9 | 87.1 | 1.9 × 10−3 | |
Disclaimer/Publisher’s Note: The statements, opinions and data contained in all publications are solely those of the individual author(s) and contributor(s) and not of MDPI and/or the editor(s). MDPI and/or the editor(s) disclaim responsibility for any injury to people or property resulting from any ideas, methods, instructions or products referred to in the content. |
© 2024 by the authors. Licensee MDPI, Basel, Switzerland. This article is an open access article distributed under the terms and conditions of the Creative Commons Attribution (CC BY) license (https://creativecommons.org/licenses/by/4.0/).
Share and Cite
Liu, Y.; Huang, X.; Tang, S. Experimental Investigation of Full Hole Embedment Behavior of Bamboo Scrimber with Dowel-Type Fasteners. Buildings 2024, 14, 2909. https://doi.org/10.3390/buildings14092909
Liu Y, Huang X, Tang S. Experimental Investigation of Full Hole Embedment Behavior of Bamboo Scrimber with Dowel-Type Fasteners. Buildings. 2024; 14(9):2909. https://doi.org/10.3390/buildings14092909
Chicago/Turabian StyleLiu, Yanyan, Xiaoyu Huang, and Siyuan Tang. 2024. "Experimental Investigation of Full Hole Embedment Behavior of Bamboo Scrimber with Dowel-Type Fasteners" Buildings 14, no. 9: 2909. https://doi.org/10.3390/buildings14092909
APA StyleLiu, Y., Huang, X., & Tang, S. (2024). Experimental Investigation of Full Hole Embedment Behavior of Bamboo Scrimber with Dowel-Type Fasteners. Buildings, 14(9), 2909. https://doi.org/10.3390/buildings14092909

