Theoretical and Experimental Research on Deflection of Hollow Slabs Set by Thin-Walled Corrugated Tubes on Simply Supported and Fixed Constraints in Opposite Sides
Abstract
1. Introduction
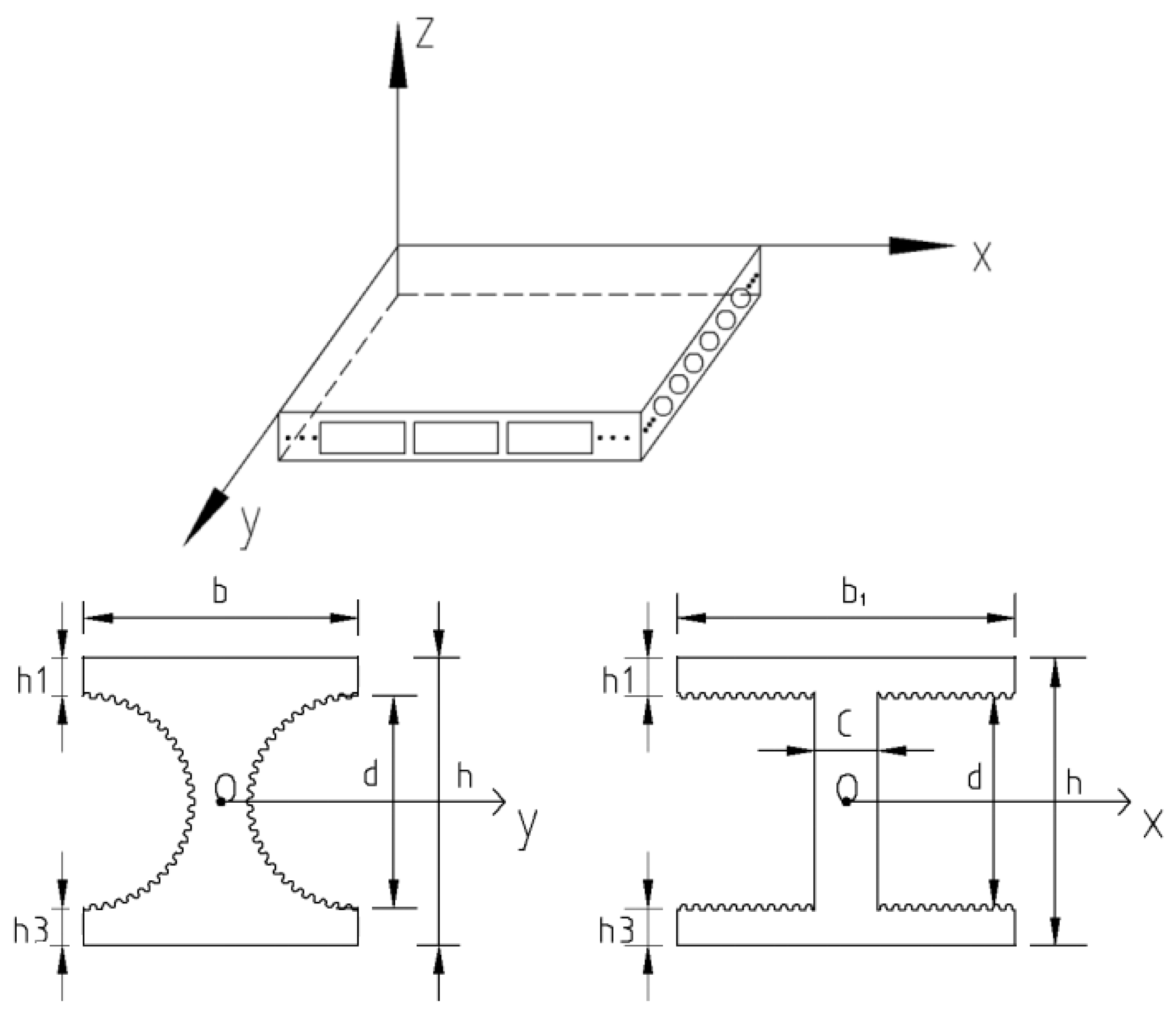
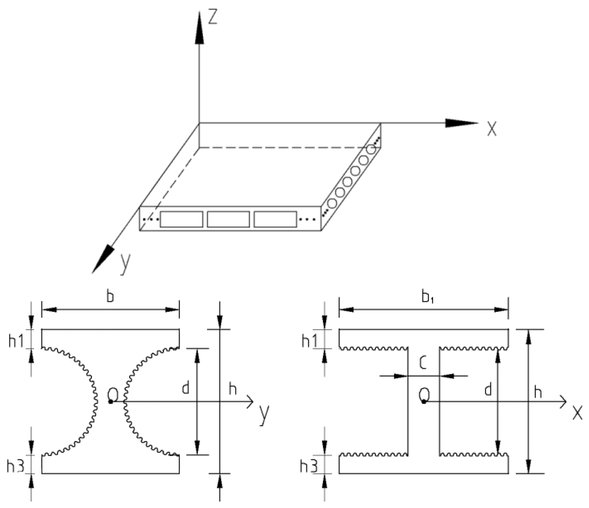
2. Model of the Hollow Slab
3. Theory of Computation
3.1. Stiffness Formula
- (1)
- Vertical flexural stiffness of the hollow pipe
- (2)
- Parallel flexural stiffness of the hollow pipe
- (3)
- Overall stiffness of hollow slab
3.2. Theoretical Formula of Deflection
- (1)
- When , the characteristic equation has four unequal real solutions: and . The deflection of the hollow slab can then be given as
- (2)
- When , the characteristic equation has four real solutions that are equal to one another: . The deflection of the hollow slab in this case is
- (3)
- When , the characteristic equation has two pairs of complex roots: and . The deflection of the hollow slab in this case is as follows:
- (1)
- When , the deflection of the slab is as follows:
- (2)
- When , the deflection of the slab is as follows:
- (3)
- When , the deflection of the slab is as follows:
4. Mechanical Model, Theoretical Formula, and Simulations
4.1. Mechanical Model
4.2. Theoretical Results
4.3. Results of Finite Element Model
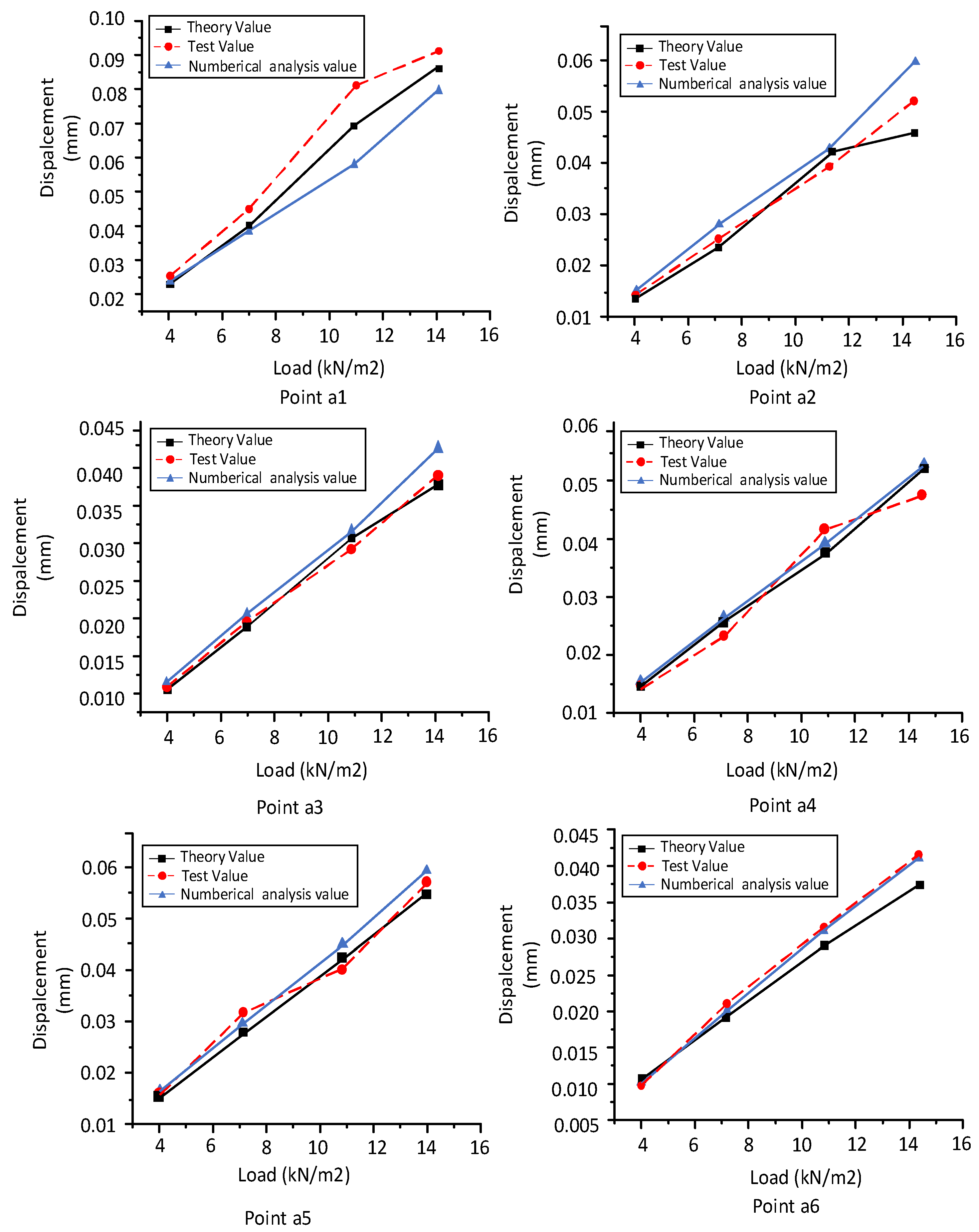
4.4. Test Results
4.5. Analysis of Results
5. Discussion
6. Conclusions
- (1)
- We developed a new form of stiffness for the hollow slab by coupling the anisotropies of the material and the structure.
- (2)
- We used the new concept of stiffness of the hollow slab to derive the formula for its deflection under an even load.
- (3)
- We conducted loading tests on a hollow slab with dimensions of using even loads of , , , and .
- (4)
- We used Eurocode 2 and European standard EN 1168 [21] for concrete structures to test three sets of hollow slabs with corrugated tubes supported by simple and fixed constraints on opposite sides. A comparison of the results with those of the theoretical formula at six reference points showed that the ideal experimental results were obtained, with a maximum error of 9.09%, at point in the middle of the slab under a load of .
- (5)
- We used the finite element software ABAQUS 6.14-2to model the deflection of the hollow slab. A comparison of the results of the simulations with those of the theoretical formula showed that they agreed well with each other, with the largest error of 8.92% under a load of .
- (6)
- We analyzed the results of the static loading test, the theoretical formula, and the finite element model and found that hollow slab is in the elastic stage, and hollow floors are widely used in structures with a large span that bear a large load. The theory about the deflection of a hollow slab set by thin-walled corrugated tubes on simply supported and fixed constraints on opposite sides is useful for designing them in engineering.
7. Patents
Author Contributions
Funding
Data Availability Statement
Conflicts of Interest
References
- Li, C.; Sun, Q.; Liu, Y. Study on static load test of simply supported hollow slab bridge flexural strengthened with polyurethane-cement composite. Int. J. Struct. Integr. 2022, 13, 112–132. [Google Scholar] [CrossRef]
- Chung, J.H.; Choi, H.K.; Lee, S.C.; Choi, C.S. The Deflection of Donut Type Hollow Slab Considering Crack Behaviors. Key Eng. Mater. 2013, 577–578, 621–624. [Google Scholar] [CrossRef]
- Ibrahim, I.; Elliott, K.; Abdullah, R.; Kueh, A.; Sarbini, N. Experimental study on the shear behaviour of precast concrete hollow core slabs with concrete topping. Eng. Struct. 2016, 125, 80–90. [Google Scholar] [CrossRef]
- Liu, J.; Jia, Y.; Zhang, G.; Wang, J. Calculation on the flexural stiffness of the section of PC hollow slab beam in the life cycle. Int. J. Struct. Integr. 2018, 9, 241–254. [Google Scholar] [CrossRef]
- Yang, F.; Miao, Y.; Su, C.; Lv, H. Stiffness theory of hollow floor with corrugated cylinder under anisotropic coupling of material and structure. Sci. Technol. Eng. 2021, 21, 3237–3243. [Google Scholar]
- Pillai, U.S.; Sapru, K. Ultimate Strength of Cellular Flat Plate. J. Struct. Div. 1974, 100. [Google Scholar] [CrossRef]
- Pawar, J.A.; Patil, D.Y.; Vesmawala, R.G.; Dhake, P.D.; Nikam, J.S. Two-way flexural behavior of biaxial voided slab using cuboidal shape of void formers. Structures 2024, 62, 106175. [Google Scholar] [CrossRef]
- Wei, Y.; Wang, Z.; Xiang, J.; Qiang, S. The Development of New Type GFRP Hollow Panels. J. Phys. Conf. Ser. 2024, 2736, 012031. [Google Scholar] [CrossRef]
- Eisa, A.S.; Aboul-Nour, L.A.; El-Ghamry, A.; Zeleňáková, M.; Katunský, D. Flexural behavior of two-layer reinforced concrete slab with hollow cores. Adv. Mech. Eng. 2024, 16, 16878132231224940. [Google Scholar] [CrossRef]
- Sahoo, S.; Veerendar, C.; Prakash, S.S. Experimental and numerical studies on flexural behaviour of lightweight and sustainable precast fibre reinforced hollow core slabs. Constr. Build. Mater. 2023, 377, 131072. [Google Scholar] [CrossRef]
- Sahoo, S.; Veerendar, C.; Thammishetti, N.; Prakash, S.S. Experimental and numerical study on behaviour of fibre reinforced lightweight hollow core slabs under different flexure to shear ratios. Structures 2023, 50, 1264–1284. [Google Scholar] [CrossRef]
- Cui, W.; Liu, C.; Chen, Z.; Yin, W.; Liu, S. Influences of vertical joints on flexural performance of fabricated hollow cross-grid floor slabs. J. Southeast Univ. 2018, 48, 106–112. [Google Scholar]
- Mohsin, M.E.; Sadek, E.E. Beam Analog for Plate Elements. J. Struct. Div. 1976, 102, 125–145. [Google Scholar] [CrossRef]
- Yang, J.; Jin, L.; Wang, M.; Yang, C. Experimental study on bending behavior of cast in situ concrete hollow slab laying tube filler. J. Railw. Sci. Eng. 2008, 5, 28–32. [Google Scholar]
- Yang, J.; Wang, J.; Wang, M.; Pan, Y. Experimental research on mechanical behavior of the cast-in-situ rein-forced concrete hollow girderless floor under different load case. J. Railw. Sci. Eng. 2004, 1, 88–91. [Google Scholar]
- Lü, H.; Song, G.; Xie, B.; Fu, M. Mechanical properties of metal bellows. J. Nanchang Univ. 2016, 40, 138–139. [Google Scholar]
- Mark, J.; Zhang, H.; Huang, Y.; Xiao, J.; Duan, Y.; Zhang, J.; Cao, Y. Study and Application of Long Span Reinforced Concrete Vierendeel sandwich Plate. J. Build. Struct. 2000, 12, 16–23. [Google Scholar]
- Gu, L. Stress and Flexibility Analysis of The Anisotrophy Cast-In-Situ Concrete Floor System; Hefei University of Technology: Hefei, China, 2007. [Google Scholar]
- Yu, Z.; Xie, Q.; Liang, Z. Flexural Capacity of New Type of Assembly Ribbed Floor with Four-edge Simply Supported. J. Univ. Jinan 2020, 34, 124–130. [Google Scholar]
- Huang, C.; Wang, Z.; Deng, R.; Zhu, L. Study on Analogue Slab Method Considering Shear Deformation for Box-filler Hollow Floor. Eng. Mech. 2015, 32, 198–207. [Google Scholar]
- EN 1168; Precast Concrete Products–Hollow Core Slabs. European Committee for Standardization: Brussels, Belgium, 2011.
- El-Sayed, A.K.; Al-Negheimish, A.I.; Alhozaimy, A.M.; Al-Saawani, M.A. Evaluation of Web Shear Design Procedures for Precast Prestressed Hollow Core Slabs. Buildings 2022, 13, 23. [Google Scholar] [CrossRef]












| Material | (Elastic Modulus ) | Poisson’s Ratio | Compression Strength | Yield Strength | Limit Strength |
|---|---|---|---|---|---|
| Concrete | 2.9 | 0.2 | 35.2 | — | — |
| Steel | 20 | 0.3 | — | 470 | 610 |
| Corrugated tube | 19.8 | 0.285 | — | 235 | — |
| Load (kN/m2) | Displacement (mm) | Error/% | ||||
|---|---|---|---|---|---|---|
| Location | Theory Value | Test Value | Numerical Analysis Value | Comparison between Theory and Test | Comparison between Theory and Numerical Analysis | |
| 4 | a1 | 0.0222 | 0.0231 | 0.0225 | −4.05% | −1.35% |
| a2 | 0.0158 | 0.0158 | 0.0168 | 0.00% | −6.33% | |
| a3 | 0.0114 | 0.0108 | 0.0116 | 5.26% | −1.75% | |
| a4 | 0.0143 | 0.0144 | 0.0148 | −0.70% | −3.50% | |
| a5 | 0.0162 | 0.0158 | 0.0168 | 2.47% | −3.70% | |
| a6 | 0.0099 | 0.0108 | 0.0101 | −9.09% | −2.02% | |
| 7.1 | a1 | 0.0428 | 0.0460 | 0.0401 | −7.48% | 6.31% |
| a2 | 0.0269 | 0.0281 | 0.0291 | −4.46% | −8.18% | |
| a3 | 0.0191 | 0.0192 | 0.0206 | −0.52% | −7.85% | |
| a4 | 0.0239 | 0.0257 | 0.0259 | −7.53% | −8.37% | |
| a5 | 0.0311 | 0.0284 | 0.0299 | 8.68% | 3.86% | |
| a6 | 0.0211 | 0.0198 | 0.0206 | 6.16% | 2.37% | |
| 10.9 | a1 | 0.0781 | 0.080 | 0.0743 | −2.43% | 4.87% |
| a2 | 0.0450 | 0.0430 | 0.0457 | 4.44% | −1.56% | |
| a3 | 0.0312 | 0.0293 | 0.0315 | 6.09% | −0.96% | |
| a4 | 0.0421 | 0.0392 | 0.0403 | 6.89% | 4.28% | |
| a5 | 0.0415 | 0.0403 | 0.0452 | −3.61% | −8.92% | |
| a6 | 0.0317 | 0.0293 | 0.0315 | 7.57% | −4.30% | |
| 14.4 | a1 | 0.0881 | 0.0910 | 0.0809 | −3.29% | 8.17% |
| a2 | 0.0519 | 0.0565 | 0.0551 | −8.86% | −6.17% | |
| a3 | 0.0384 | 0.0387 | 0.0416 | −0.78% | −8.33% | |
| a4 | 0.0485 | 0.0518 | 0.0522 | −6.80% | −7.63% | |
| a5 | 0.0582 | 0.0567 | 0.0603 | 2.58% | −3.61% | |
| a6 | 0.0421 | 0.0387 | 0.0416 | 8.08% | 1.19% | |
Disclaimer/Publisher’s Note: The statements, opinions and data contained in all publications are solely those of the individual author(s) and contributor(s) and not of MDPI and/or the editor(s). MDPI and/or the editor(s) disclaim responsibility for any injury to people or property resulting from any ideas, methods, instructions or products referred to in the content. |
© 2024 by the authors. Licensee MDPI, Basel, Switzerland. This article is an open access article distributed under the terms and conditions of the Creative Commons Attribution (CC BY) license (https://creativecommons.org/licenses/by/4.0/).
Share and Cite
Yang, F.; Liu, J.; Liu, Y.; Hou, Q. Theoretical and Experimental Research on Deflection of Hollow Slabs Set by Thin-Walled Corrugated Tubes on Simply Supported and Fixed Constraints in Opposite Sides. Buildings 2024, 14, 1591. https://doi.org/10.3390/buildings14061591
Yang F, Liu J, Liu Y, Hou Q. Theoretical and Experimental Research on Deflection of Hollow Slabs Set by Thin-Walled Corrugated Tubes on Simply Supported and Fixed Constraints in Opposite Sides. Buildings. 2024; 14(6):1591. https://doi.org/10.3390/buildings14061591
Chicago/Turabian StyleYang, Feng, Jun Liu, Yongbing Liu, and Qingming Hou. 2024. "Theoretical and Experimental Research on Deflection of Hollow Slabs Set by Thin-Walled Corrugated Tubes on Simply Supported and Fixed Constraints in Opposite Sides" Buildings 14, no. 6: 1591. https://doi.org/10.3390/buildings14061591
APA StyleYang, F., Liu, J., Liu, Y., & Hou, Q. (2024). Theoretical and Experimental Research on Deflection of Hollow Slabs Set by Thin-Walled Corrugated Tubes on Simply Supported and Fixed Constraints in Opposite Sides. Buildings, 14(6), 1591. https://doi.org/10.3390/buildings14061591
