Next Article in Journal
Environmental Sustainability of Building Materials in Turkey: Reference Information Recommendations for European Green Deal Declarations
Previous Article in Journal
Study on Slope Monitoring and Stability Based on Bolt–Cable Combined Support
 
 
Font Type:
Arial Georgia Verdana
Font Size:
Aa Aa Aa
Line Spacing:
Column Width:
Background:
Article

Degradation of Seismic Performance of Thin Steel Plate Shear Walls in Earthquakes

1
School of Civil Engineering and Geomatics, Southwest Petroleum University, Chengdu 610500, China
2
School of Civil Engineering, The University of Sydney, Sydney, NSW 2050, Australia
3
China Railway First Survey and Design Institute Group Co., Ltd., Xi’an 710043, China
*
Author to whom correspondence should be addressed.
Buildings 2024, 14(4), 888; https://doi.org/10.3390/buildings14040888
Submission received: 18 February 2024 / Revised: 11 March 2024 / Accepted: 20 March 2024 / Published: 25 March 2024
(This article belongs to the Section Building Structures)

Abstract

Steel plate shear walls (SPSWs) are widely used in earthquake-prone areas, and they usually undergo multiple earthquakes throughout their service lives. The performances of SPSWs under a single shot of an earthquake have been widely studied, although the secondary seismic performance of earthquake-damaged structures remains unclear. Damage to an SPSW structure during an earthquake is difficult to evaluate. In this study, the degradation of the seismic performance of SPSWs during earthquakes was investigated. A test specimen was subjected to a two-stage quasistatic load. The plastic development and failure modes of SPSW specimens were investigated. The degradation of bearing capacity, stiffness, and energy dissipation performance was analyzed. On the basis of the experimental investigation, finite-element models introducing the ductile damage criterion and the cyclic constitutive model of steel were established. The degradation of the seismic performance of SPSWs under secondary earthquakes was studied. The results indicate that the stiffness of the SPSWs degrades more significantly than the bearing capacity. The larger the height-to-thickness ratio of the embedded plate, the more obvious the decrease in the bearing capacity, and the smaller the decrease in stiffness. With the increase in the maximum lateral displacement reached by the structure in an earthquake, and as the pinch phenomenon of the hysteresis curve of the SPSW becomes more serious, the energy dissipation capacity shows a uniform downward trend.

1. Introduction

Steel plate shear walls (SPSWs) offer the advantages of good seismic performance and high economic efficiency. This structure has been widely used in recent decades. Because it is typically constructed in earthquake-prone areas, an SPSW is generally subjected to more than one earthquake during its service. This makes it essential to study the seismic performance of SPSWs under multiple earthquakes. The seismic effect has a significant negative impact on the performance of structures, resulting in the unsafe state of the SPSW building after the earthquake. However, studies on SPSWs have mainly focused on performance under a single earthquake, ignoring the effect of damage accumulation on subsequent performance. Therefore, it is necessary to study the performance degradation of SPSWs during earthquakes to support the damage assessment of SPSW buildings.
A steel frame SPSW structure consists of two horizontal load-bearing systems, making its failure also staged. During earthquakes, the embedded steel plate buckles and enters a plastic state to dissipate seismic energy [1]. Under the action of seismic loads that are not severe, damage to the embedded steel plate will also cause a decrease in the performance of the structure. To evaluate the damage to SPSWs in an earthquake, studies have been conducted on the damage assessment of SPSWs. Sun et al. [2] modified the Park–Ang damage model based on the characteristics of SPSWs to accurately represent the degree of damage. The proposed model is a combination of deformation and energy dissipation. In the FEMA 356 guidelines [3], five levels of damage are proposed according to the lateral drift angle. In GB 50011-2016 [4], four damage levels and their corresponding drift angles of steel structure buildings are provided for the damage assessment of steel structures. Fan [5] summarized more than 30 experimental results for SPSWs and proposed five levels of SPSW damage. The corresponding critical drift angle was also investigated. Moreover, damage indexes based on ductility and strength decline are also used as an option [6,7]. When comparing the above damage models, the parameter drift angle can be easily converted to other performance indicators recommended by the specifications, and it is easily obtained in engineering. Due to the simple concept and very wide application of the drift damage index, it is adopted in this study.
The performance level of the structure is divided into various grades in specifications based on the damage index [3,4]. However, these performance levels are defined in terms of damage phenomena, which are vague and discrete. There is no quantified correlation of the damage index with the degradation of seismic performance. Malkeshi et al. [8] established finite element (FE) models to investigate the parameters of the ductile damage criterion for SPSWs. The ductile damage parameters for the SPSW system were derived based on Bayesian regression. Wang et al. [9] proposed a cyclic constitutive model for metal materials that considered both kinematic and isotropic hardening. Usefvand et al. [10] used the FE analysis method to predict the damage development of several prototypes of SPSW structures. And the development of the damage index of each story was compared. Azandariani et al. [11] also carried out FE analysis and compared the accuracy of several damage models for SPSWs. Different approaches were adopted to evaluate the damage development of SPSWs. Damage indexes, which were characterized by deformation, ductility, and the Park–Ang model, were used to evaluate the damage of the SPSW. They can determine the state of the structure from intact to collapse. However, the degradation of the stiffness, bearing capacity, and energy dissipation of SPSWs cannot be obtained quantitatively. After the earthquake, the degradation of the mechanical performance of the SPSW cannot be precisely determined, which brings difficulty in seismic retrofitting.
In this study, a scale single-span two-story steel-frame SPSW structure was designed and subjected to a two-stage quasistatic load. The effect of earthquake-induced structural damage on the seismic performance of SPSWs during secondary earthquakes was studied. FE models considering ductile damage and a cyclic constitutive model of steel were established. The seismic performances of SPSWs damaged by different levels of earthquakes were studied by numerical simulation. And the effect of the height-to-thickness ratio of the embedded steel plate on the evolution of the damage was also studied. The bearing capacity, stiffness, ductility, and deformation capacity of the damaged structure under low-cycle reciprocating loads were quantitatively analyzed, which makes the seismic damage to the SPSW clearer.

2. Experimental Study

2.1. Experimental Specimens

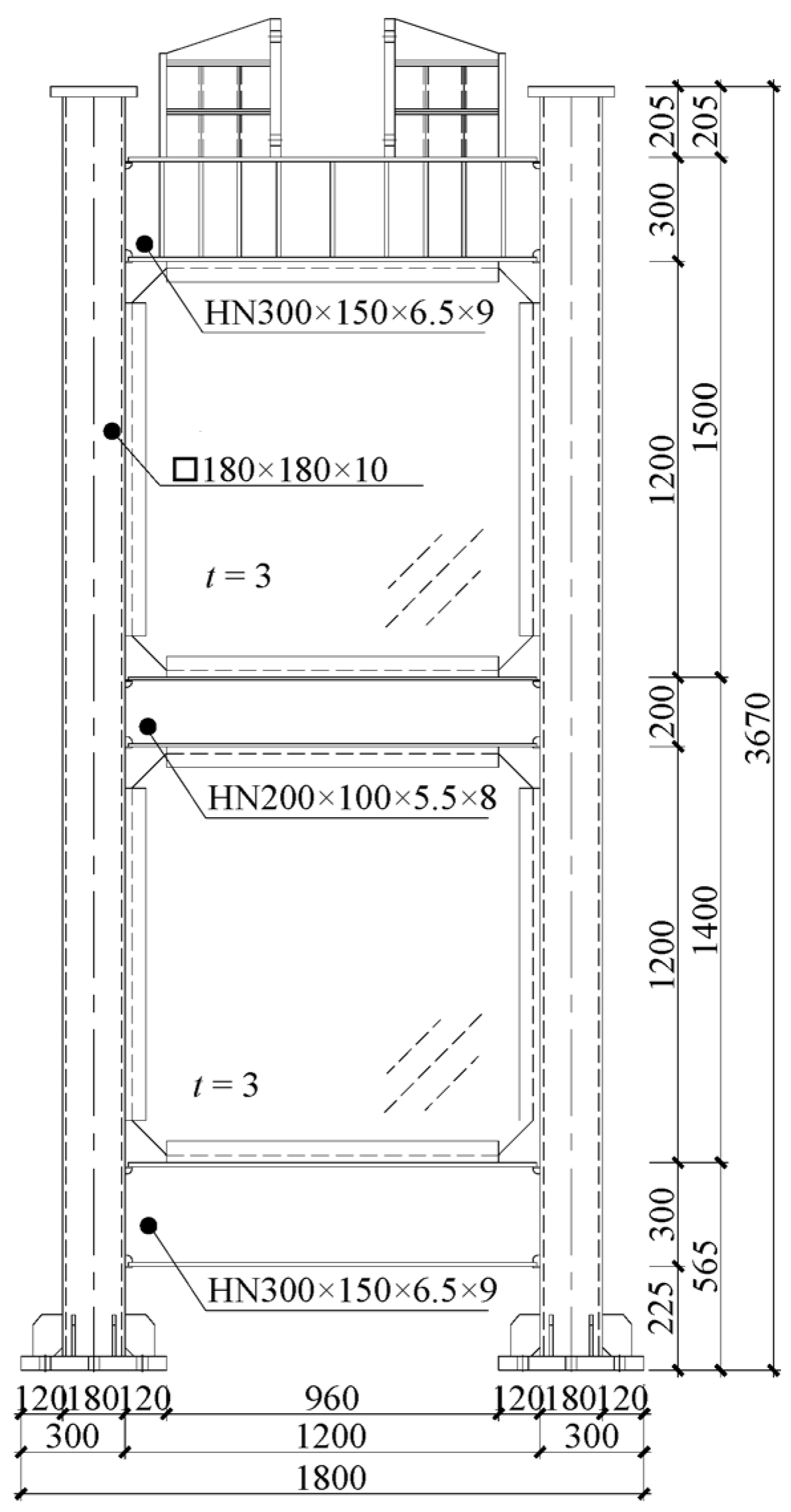
A single-span, double-story, unstiffened, thin SPSW specimen was designed with a scale ratio of 1:3. The span-to-height ratio of the frame was L/h = 1, and the height-to-thickness ratio of the embedded steel plate was λ = 400. The columns were made of square steel pipes with a section of 180 × 180 × 10 mm. The section of the top and bottom beams was HN300 × 150 × 6.5 × 9 mm, and that of the middle beam was HN200 × 100 × 5.5 × 8 mm. An unstiffened steel plate with a thickness of 3 mm was used as the embedded plate. The material of the frame column was Q345 steel, and that of the remaining component was Q235 steel. The beam–column joints were welded without internal partitions. The embedded steel plate and frame were connected by welding. The dimensions of the specimen are shown in Figure 1.

2.2. Material Properties

The samples were obtained from the test specimens. A static uniaxial tensile test was carried out on the samples using a CSS-WAW300DL electrohydraulic servo testing machine. The test process complied with the standards GB/T 2975-2018 [12] and GB/T 228.1-2010 [13]. The material properties, including the elastic modulus, yield strength, tensile strength, and elongation, are shown in Table 1.

2.3. Test Setup

The test setup is shown in Figure 2. The specimen was connected to the ground beam by high-strength bolts to ensure that no slip occurred during the loading process. The ground beam was fixed using anchor bolts. The two ends of the ground beam were fixed by two beams to resist overturning. Lateral supports were provided on both sides of the specimen to restrain its out-of-plane deformation. Pulleys were placed on the contact surface between the lateral support and the specimen to reduce the frictional force.
Vertical and horizontal loads were applied sequentially to the specimen in the test [14]. Vertical loads were applied to the specimen through the top of the column simultaneously using two hydraulic jacks. During the loading process, the axial compression ratio was kept at 0.25. The pulleys were placed at the bottom of the jack. Lateral loads were applied to the top beam [15] to simulate the horizontal seismic load transmitted from the superstructure. Two MTS hydraulic servo actuators with a stroke of ±250 mm and a load capacity of 1000 kN were used to apply the horizontal load.

2.4. Test Loading Protocol

Under the influence of an earthquake, the embedded steel plate is allowed to form a tension field and deform plastically to absorb seismic energy [16]. This feature improves the safety of the boundary frame and makes the embedded steel plate more likely to be damaged by earthquakes [17,18]. A reasonable design can control the earthquake damage of the SPSW system in the embedded steel plate and alleviate the repair difficulty, which has been verified by the seismic records of Kobe City Hall and Oliver View Hospital.
Fan [5] divided the damage degree of an SPSW subjected to an earthquake into five performance levels and summed up the corresponding story drift angles, as shown in Table 2. Before the story drift angle reached 1/130, the frame was basically intact. Replacing the embedded steel plate can effectively restore the seismic performance of the structure. When the maximum drift angle exceeded 1/90, both the embedded steel plate and the boundary column were damaged.
The lateral loads were controlled by displacement and applied in two stages [19]. Earthquake damage was simulated in Stage I. The specimen was subjected to a low-cycle reciprocating load at a drift angle of 1/130 to damage the embedded steel plate, that is, a “life safety” state. In Stage II, the specimen was loaded to failure to investigate the seismic performance of the damaged SPSW [20]. The specific loading protocol is as follows.
Stage I: A low-cycle reciprocating load is applied to a drift angle of 1/130. Prior to yielding, the load is increased by 5 mm. The load is repeated once in each load cycle.
Stage II: A low-cycle reciprocating load is applied to failure. Before yielding, the load is loaded with a 5 mm step increase. After yielding, 0.5Δey is used as the increment, and the load is repeated three times in each load cycle. Δey is the lateral displacement at which the load–displacement curve first exhibits nonlinearity, which is 25 mm. The loading protocol is illustrated in Figure 3.

3. Experimental Results

3.1. Experimental Phenomenon

In Stage I, the specimen was pushed laterally. When the displacement reached 10 mm, the steel plate exhibited obvious bulging, indicating the formation of a tension field. At a lateral displacement of 15 mm, the embedded steel plate partially yielded. When the displacement reached 25 mm (1/130 story drift angle), the bulging deformation was preserved when unloaded, indicating that the embedded steel plate yielded completely (Figure 4a). After unloading, the out-of-plane residual deformation of the steel plate reached 34 mm. At this point, the steel frame basically remained elastic. The embedded plate entered plasticity earlier than the steel frame, which was in line with the design concept of “strong frame, weak wallboard”.
In Stage II, the buckling of the steel plate was more intensified in the early stage, accompanied by greater noise. When the amplitude of the displacement reached 25 mm, creases appeared at the corners of the embedded plate (Figure 4b). Then, the load was applied with an increase of 0.5Δey. At 1.5Δey, the paint on the flange of the middle beam peeled off, and the strain reached its yield strain. The welds of some beam–column joints were damaged. At a load cycle of 2.5Δey, the web of the middle beam buckled (Figure 4c). When 3.5Δey displacement was reached, the ultimate lateral bearing capacity was obtained at 654.8 kN. With loading to 4Δey displacement, the welds of the beam–column joints in the middle beam were completely destroyed (Figure 4d). The bulging of the column foot is illustrated in Figure 4e. When the load reached 5Δey, the bearing capacity of the specimen decreased to 85% of its maximum value, and the test was ended. The final failure modes of the specimens are illustrated in Figure 4f.

3.2. Hysteretic Curves

The hysteretic curves for the entire specimen and each story are shown in Figure 5.
In Stage I, the load–displacement curve exhibits linearity due to the complete elasticity of the specimen. The area of the hysteresis loop is small. When the displacement is greater than 10 mm, the hysteresis loop opens slightly because of the yielding of the embedded steel plate. By comparing the hysteresis curves of the first and second stories, the hysteresis loop of the first story opens more obviously and enters plasticity earlier.
During the loading process of Stage II, the hysteresis loop was not full, and the hysteresis curve showed a strong pinch phenomenon. With an increase in displacement, the out-of-plane deformation of the embedded steel plate increased, and the stiffness of the structure decreased continuously. After loading to 75 mm, the structural stiffness was zero when unloaded to zero displacement. When the displacement was greater than 4Δey, the bearing capacity of the specimen decreased to 85% of the maximum value and the test was ended. Owing to the constraint of the column foot, the hysteresis loop of the first story of the specimen was greater than that of the second story, and the stiffness degradation was slower.

3.3. Skeleton Curves

Skeleton curves for the entire specimen and each story are shown in Figure 6. The specimen was elastic in the first stage and only exhibited nonlinearity in the last load cycle. In the first stage, the secant stiffness at 25 mm was 21.4 kN/mm. In the second stage, due to damage to the embedded steel plate, the secant stiffness of the specimen at 25 mm was reduced to 16.4 kN/mm, and the stiffness was reduced by approximately 30%. The major mechanical characteristics of the SPSW are shown in Table 3. The ductility coefficient of the specimen was 2.6. After reaching the ultimate values of 651.8 kN, the bearing capacity exhibited a rapid decline. Compared to the undamaged SPSW, the bearing capacity of the damaged SPSW decreased more rapidly and the ductility was relatively poor. The ultimate displacement of the specimen was greater than 100 mm, which was approximately 1/30 of the drift angle. The specimen exhibited good deformation ability.

3.4. Bearing Capacity and Stiffness Degradation

The bearing capacity degradation coefficient λi is used to represent the bearing capacity stability of the specimen [4], where λ1 represents the ratio of the maximum bearing capacity in the second cycle to that in the first cycle, λ2 represents the ratio of the maximum bearing capacity in the third cycle to that in the second cycle, and λi can be calculated as follows:
λ i = P i + 1 P i
where Pi and Pi+1 are the peak loads in the i-th and i + 1-th loading cycles, respectively, in a certain loading stage.
The curves of the degradation of bearing capacity are shown in Figure 7. In the early stage, the embedded steel plate bears the major lateral load and the steel plate exhibits good stress redistribution performance. The bearing capacity degradation coefficient is greater than 0.92.
With an increase in the loading displacement, a large number of cracks appeared in the steel plate and the bearing capacity of the steel plate slowly decreased. The specimen was transformed into a lateral force resistance system dominated by a steel frame. In the final loading stage, λ dropped to 0.84, and the structure showed sudden failure. This may be caused by low-cycle fatigue failure of the steel under multiple cyclic loadings.
To study the stiffness degradation of the specimen under cyclic loading, the secant stiffness Ki is used to describe the stiffness degradation of the specimen, and Ki can be calculated as
K i = + P i + P i + Δ i + Δ i
where +Pi and −Pi are the peak loads in the positive and negative loadings in the i-th loading stage, respectively. Here, +Δi and −Δi are the lateral displacements corresponding to Pi in the i-th stage of loading.
As shown in Figure 8a, the stiffness of the first story of the specimen was greater than that of the second story due to the constraint of the column feet. The stiffness degradation process for each story exhibited a similar trend and the decline was relatively gentle. In Stage II, the welds of the beam–column joints of the middle beam were torn early, and the joints lost their bearing capacity very early. However, the decreasing trend in stiffness was still moderate. This indicated that, in the SPSW system, the performance of the boundary beam is similar to that of the transverse stiffener of the cantilever. In the post-earthquake damage assessment of SPSWs, damage to the beams has little effect on the horizontal bearing performance of the structure. Figure 8b shows the decline in the bearing capacity of the entire structure in the two stages. The initial stiffness of the structure in Stage II decreased by approximately 46% compared with Stage I, and the damage to the steel plate significantly affected the stiffness of the SPSW structure under subsequent earthquakes, resulting in greater deformation of the structure.

3.5. Cumulative Dissipated Energy

Figure 9 shows the curves of the equivalent viscous damping coefficients of the entire specimen and each story. Here, ζ represents the overall equivalent viscous damping coefficient of the specimen, and ζ1 and ζ2 represent the equivalent viscous damping coefficients of the first and second stories of the specimen, respectively. The value is 0.23 < ζ < 0.3, indicating that the specimen had good energy dissipation performance in Stage II. The yielding and cracking of the steel plate had little effect on the energy consumption of the subsequent plastic deformation of the steel plate. The yielded embedded steel plate could effectively dissipate energy in a small deformation. Therefore, at the beginning of Stage II, the specimen exhibited a good energy dissipation capacity. As the loading displacement increased, the embedded steel plate gradually cracked and lost its deformability. The equivalent viscous damping coefficient of the specimen exhibited a downward trend and finally reached the minimum value at failure.

4. Finite-Element Analysis

4.1. Finite Models

To further study the seismic performance of the damaged unstiffened SPSWs, FE simulation software ABAQUS was used. The steel frame SPSW was mainly composed of frame beams, frame columns, and embedded steel plates. Because the thickness of the component was much smaller than the length and width, the change in stress in the direction of thickness was ignored, and an S4R shell element was used to simulate the frame and the embedded steel plate in the FE model [21]. Rigid connections of the beam–column joints were achieved by merging the frame beams and frame columns [22]. The welded connection of the embedded steel plate to the boundary frame was realized by the “Tie” command.
The material properties of the FE model were obtained experimentally. Under cyclical loading, the steel exhibits both isotropic and kinematic strengthening characteristics [23]. The behavior of SPSWs under cyclic loading cannot be accurately predicted using the ideal elastic–plastic model. Therefore, the cyclic constitutive model proposed by Chaboche [24] was used. The specific parameters were described by Wang [9] and are listed in Table 4.
The ductile damage initiation criterion proposed by Xue and Wierzbicki (X-W criterion) [25,26] was adopted in the FE models to obtain a more realistic failure mode. The X-W criterion can simulate the softening and failure phenomenon of steel after its maximum stress, which helps to investigate the damage and failure of SPSWs caused by plastic accumulation under strong earthquakes.
When steel enters the critical damage state, the equivalent plastic strain ε ¯ 0 p l can be calculated using Equation (3).
ε ¯ 0 pl = C 1 / 1 + 3 η C 1 + C 2 C 1 η / η 0 2 C 2 η 0 / η , η 1 / 3 1 / 3 η 0 0 η η 0 η 0 η
where η is stress triaxiality, C1 is the equivalent plastic damage strain of the steel in the pure shear state ( η = 0), C2 is the equivalent plastic damage strain of the steel open round bar in uniaxial tension, η 0 = 1/3, and C1 and C2 can be obtained by Equations (4) and (5), respectively.
C 1 = C 2 3 / 2 1 / n
C 2 = ln 1 A R
where AR is the reduced area of the section of the axially symmetric tensile specimen after fracture, and n is the hardening parameter of the steel, which is taken as 0.18 in this study.
The equivalent plastic failure deformation when the steel is fractured can be expressed by the equivalent plastic failure strain.
μ ¯ f = L ε ¯ f
where L is the length of the mesh in the FE model, and ε ¯ f is the equivalent plastic failure strain at the fracture of the steel material, which is taken as 0.26.
Initial defects significantly affect the resistance to buckling of the embedded steel plate, thereby deteriorating the performance of the SPSW [27]. The deformations of the first- and third-order buckling modes were superimposed (Figure 10). The maximum out-of-plane deformation of the steel plate of the FE model was the same as the result obtained by the actual measurement in the test (the maximum out-of-plane deformation of the steel plate in the first story was 2 mm, and that of the second story was 3 mm). The boundary conditions and loading methods were the same as those used in the quasistatic experiment. The bottom of the columns was fixed, and the applied loads were divided into vertical and lateral loads. The loading and boundary conditions are shown in Figure 11.

4.2. Verification of Finite-Element Model

The hysteresis curves of the FE analysis and the test results were compared, as shown in Figure 12. In stage I, the specimen was mainly in the elastic stage. The hysteresis curve of the FE simulation agreed well with that of the test. The pinching phenomenon of the hysteresis curve could be simulated accurately. The FE and test results of Stage II are listed in Table 5. The deviations in yield-bearing capacity, ultimate bearing capacity, and total energy dissipation between the FE analysis and test were all less than 10%. The numerical simulation method can effectively simulate bearing capacity, stiffness degradation, and the pinching phenomenon of SPSWs under reciprocating loads.
Figure 13 shows a comparison between the failure modes of the FE and the experimental results. The final failure mode of the embedded steel plate was X-shaped cracking along the diagonal lines on both sides, while concave deformation of the surrounding frame occurred. The FE results were similar to the experimental results.

5. Numerical Analysis of Degradation of Seismic Performance

Currently, research on SPSW damage assessment is based mainly on the Park–Ang two-parameter damage model [28]. However, there have been few studies on the relationship between the damage index and the degradation of the structural seismic performance index. The damage index cannot quantitatively reflect the decrease in the seismic performance of the SPSW structure (such as the degradation of the bearing capacity, stiffness, and energy dissipation capacity when the structure reaches different damage indices) [29,30].
In this section, the degradation of the seismic performance of SPSWs is investigated by establishing FE models considering the damage evolution of steel, which supports the seismic damage evaluation of SPSWs.

5.1. SPSW with Embedded Steel Plate of 150 Height-to-Thickness Ratio

Three series of SPSW models with embedded steel plates of different height-to-thickness ratios were established. The height-to-thickness ratios of the embedded steel plates were 300, 450, and 600. The three series of models included 18 FE models of different damage levels. The loading procedure for the FE models was the same as that used in the experiment. The loading process was divided into two stages. In Stage I, the models were subjected to a low cycle reciprocating load to different maximum drift angles, namely, 1/300, 1/230, 1/130, 1/90, and 1/50 interstory drift angles. In Stage II, the models were loaded to failure. To compare the degradation of the seismic performance of the SPSW with earthquake-induced damage, one model was set for each series of models with only loading Stage II. The parameters of the models are listed in Table 6.

5.1.1. Hysteresis Curves

Figure 14 shows the hysteresis curves of the SPSW models with a height-to-thickness ratio of 150 in Stage II. The A-0 model, as a comparative model structure, reflects the mechanical characteristics of the undamaged SPSW. Due to the relatively small height-to-thickness ratio of the steel plate, the critical buckling load of the embedded steel plate is high. Therefore, the pinch phenomenon is caused by the disappearance of the tension field mechanism when the unloading is small. The hysteresis loop in the initial loading stage exhibits a full fusiform shape. The initial stiffness is high. When unloaded to a 0 kN lateral load, the residual lateral displacement is small, indicating that the structure is basically in an elastic state. In the last three loading levels, the bearing capacity suddenly decreases due to the tearing of the embedded steel plate, and the hysteresis loop assumes a bow shape. The hysteresis curves of all SPSW models, except for the A-50 model, are similar in shape. The obvious pinch phenomena occur at displacements of 75–100 mm. When the structure reaches a drift angle of 1/50 in Stage I, i.e., the A-50 model, the bearing capacity decreases sharply, and the pinch phenomenon is severe in Stage II.

5.1.2. Skeleton Curves

Figure 15 and Figure 16 show the skeleton curves of the model structure in Stage II, as well as the decrease in the stiffness and bearing capacity of the structure. The reduction ratios of bearing capacity and stiffness are quantified in Table 7. The horizontal axis of Figure 16 represents the maximum lateral drift angle reached by the structure in Stage I, and the vertical axis represents the degradation ratio of the stiffness and bearing capacity of the structure. The structural stiffness and bearing capacity of Stage II decrease with an increase in the maximum drift angle in Stage I. With the increase in the maximum drift angle in Stage I, the stiffness degradation of the structure shows a relatively uniform downward trend. The initial stiffness decreases to 85% when the maximum drift angle reaches 1/230 in Stage I, which is the “damage control” performance level. The degradation of the bearing capacity exhibits an obvious bilinear development trend. When the maximum drift angle of the structure is less than 1/90 in Stage I, there is no damage to the bearing capacity during the loading process. As the drift angle continues to increase, the bearing capacity rapidly degrades. When the drift angle reaches approximately 1.4%, the bearing capacity of the damaged structure decreases to 85% that of the original structure. In view of the two-stage failure mode of SPSWs, damage to the embedded steel plate, which starts at a small lateral displacement, has little effect on the bearing capacity and mainly affects the stiffness. Damage to the frame plays a major role in the degradation of bearing capacity.

5.2. SPSW with Embedded Steel Plate of 300 Height-to-Thickness Ratio

5.2.1. Hysteresis Curves

Figure 17 shows the hysteresis curves of the SPSW models with the embedded steel plate with a 300 height-to-thickness ratio in Stage II. The hysteresis curves had a relatively full bow shape in the early stage of loading and then gradually transformed into an inverse “S” shape. Compared with the A-series model, the pinch phenomenon was more significant. The bearing capacity of the B-series models decreased more gently, and the stability of the bearing capacity improved. In loading Stage I, the embedded steel plates of the B-130, B-90, and B-50 models yielded and presented a large number of ductile failure elements, which indicates that the steel plate was cracked. Thus, the hysteresis curves show a more severe pinch phenomenon.

5.2.2. Skeleton Curves

Figure 18 and Figure 19 show the skeleton curves and degradation curves, respectively, of the structural stiffness and bearing capacity. The reduction ratios of the bearing capacity and stiffness are listed quantitatively in Table 8. Compared with the A-series models, the embedded steel plates of the B-series models were thinner; therefore, the embedded steel plate bore a smaller proportion of the horizontal load. When the drift angle was less than 1/90, the stiffness decreased more significantly. The stiffness of the SPSW degraded significantly during the initial loading stage. This is mainly because geometric defects occurred in small deformations, and geometric defects had a significant influence on stiffness. At a 1/90 drift angle, the stiffness decreased to 55%. Subsequently, the decrease in stiffness slowed, and the decrease in stiffness was mainly caused by the plastic development of the steel frame. When a 1/50 story drift angle was reached, the initial stiffness degraded to 40% in Stage II.
The height-to-thickness ratio of the embedded steel plate has a significant influence on the degradation of the bearing capacity. The thicker the embedded steel plate, the greater the proportion of the shear load sustained by the embedded steel plate. Therefore, the thicker the embedded steel plate, the more serious the degradation of the bearing capacity in Stage II. The degradation in the bearing capacity has a basically linear relationship with the maximum drift angle. When the structure reached a story drift angle of 1/50 in Stage I, the bearing capacity degraded to approximately 80% of the original structure. When the drift angle exceeded 1/100, the steel frame entered the yielding stage rapidly, resulting in a slightly faster decrease in bearing capacity.

5.3. SPSW with Embedded Steel Plate of 450 High-to-Thickness Ratio

5.3.1. Hysteresis Curves

Figure 20 shows the hysteresis curves of the models. With an increase in the height-to-thickness ratio of the embedded steel plate, the pinch phenomenon intensified. This is mainly because the height-to-thickness ratios of the steel plates of the B-series and C-series models were large and the pre-buckling bearing capacity of the steel plates was extremely low. Therefore, during the unloading process, the tension field of the embedded steel plate went through a process of disappearance and regeneration. The hysteresis curves had an “inverse S” shape. When the models were loaded to a drift angle of 1/130 in Stage I, the energy consumption performance was significantly degraded.

5.3.2. Skeleton Curves

Figure 21 and Figure 22 show the skeleton curve and the performance degradation ratio of the C series models, respectively. Compared to SPSW models with an embedded plate with a height-to-thickness ratio of 300, the degradations of stiffness and bearing capacity of the 450-series models are similar. When the height-to-thickness ratio of the embedded plate was greater than 300, the height-to-thickness ratio of the embedded steel plate had little effect on performance degradation. The initial stiffness decreased to 85% of its original value at a 1/130 story drift angle, and the bearing capacity decreased to 85% that of the original structure at a 1/50 shift angle.
According to Table 9, the ultimate deformation capacity of the structure decreased with an increase in the damage degree. When the maximum story drift angle of the structure under loading in Stage I was small, the region where the structure entered plasticity was small. Therefore, the ultimate deformation ability was less affected. When the story drift angle of the structure reached 1/130, the plastic region of the structure increased significantly, and the denaturation ability deteriorated significantly.

6. Conclusions

SPSWs have been widely used in earthquake-prone areas. The seismic performance of SPSWs under multiple earthquakes is critical for safe service. In this study, the effect of earthquake-induced structural damage on the seismic performance of SPSWs was studied by experiment and FE analysis. The results can help determine the degradation of the mechanical performance of the SPSW, which is crucial for hazard assessment.
Under a reciprocating horizontal load, the failure of the SPSW specimen was dominated by the failure of the embedded steel plate. The stiffness was reduced by 30% due to the seismic damage. The experimental study showed that increasing the strength of the boundary column can effectively delay the yielding of the column. The embedded steel plate yielded first, and then the frame gradually entered the plastic stage. The damage of the SPSW system can be divided into two stages.
The stiffness of the damaged SPSW significantly degraded under the horizontal earthquake effect. Stiffness degradation occurred mainly when the drift angle was less than 1/130. When the lateral deformation of the SPSW exceeded this value, the stiffness degradation slowed. This is consistent with the two-stage failure mode of the steel frame SPSW structure. The stiffness of the SPSW dropped to 85% that of the original structure at an approximately 1/130 displacement angle.
The degradation of the bearing capacity of the SPSW occurred mainly in a large lateral deformation. When the structure was significantly deformed, cracks in the embedded steel plate and the plastic hinge of the boundary frame developed quickly, resulting in a faster decline in the bearing capacity of the structure. When the structure reached a drift angle of 1/50, the bearing capacity decreased to 85% of its original performance. As the height-to-thickness ratio of the embedded steel plate decreased, the steel plate became thicker, and the degradation of the bearing capacity increased. This is because a thicker embedded steel plate bears a greater proportion of the shear load. Therefore, when the embedded steel plate failed, greater degradation of the bearing capacity occurred.
A thinner embedded steel plate is more likely to be damaged due to low-cycle fatigue, and it produces residual out-of-plane deformation during the repeated buckling process. Therefore, as the height-to-thickness ratio of the embedded steel plate increases (that is, the thickness of the embedded steel plate decreases), the degradation of the stiffness of the structure becomes faster. For a steel plate shear wall with a height-to-thickness ratio of 450, the stiffness is degraded by 16% at a drift angle of 0.6%, while for a shear wall with a height-to-thickness ratio of 150, the stiffness is only degraded by 8%.
Although a detailed analysis of the influence of the thickness of the infill steel plates was conducted in this study, the effect of the span-to-height ratio of the structure is still unknown and requires further study.

Author Contributions

Conceptualization, Y.D.; Methodology, Y.D. and M.Z.; Software, Y.D. and M.Z.; Validation, Y.D., Y.C. and L.X.; Formal analysis, Y.D.; Investigation, Y.D.; Resources, Y.D., Y.C. and L.X.; Data curation, Y.D.; Writing—original draft, Y.D. and M.Z.; Writing—review & editing, Y.D., Y.C. and L.X.; Visualization, Y.D.; Supervision, Y.D. and M.Z.; Project administration, Y.D.; Funding acquisition, Y.D. All authors have read and agreed to the published version of the manuscript.

Funding

This paper is supported by the National Natural Science Foundation of China under Grant No. 52308207, the Natural Science Foundation of Sichuan Province under Grant No. 2022NSFSC1010, and the Young Scholars Development Fund of SWPU under Grant No. 2023QHZ005.

Data Availability Statement

The original contributions presented in the study are included in the article, further inquiries can be directed to the corresponding author.

Conflicts of Interest

Author Lei Xue was employed by the company China Railway First Survey and Design Institute Group Co., Ltd. The remaining authors declare that the research was conducted in the absence of any commercial or financial relationships that could be construed as a potential conflict of interest.

References

  1. Khalil, M.; Ruggieri, S.; Tateo, V.; Nascimbene, R.; Uva, G. A numerical procedure to estimate seismic fragility of cylindrical ground-supported steel silos containing granular-like material. Bull. Earthq. Eng. 2023, 21, 5915–5947. [Google Scholar] [CrossRef]
  2. Sun, G.H.; Gu, Q.; He, R.Q.; Fang, Y.Z. Performance Index and Damage Assessment of Steel Plate Shear Wall Structures. Chin. J. Civ. Eng. 2013, 46, 46–56. [Google Scholar]
  3. FEMA 356; Prestandard and Commentary for the Seismic Rehabilitation of Buildings. Federal Emergency Management Agency: Washington, DC, USA, 2000.
  4. GB 50011-2016; Code for Seismic Design of Buildings. China Construction Industry Press: Beijing, China, 2016. (In Chinese)
  5. Fan, C.L. Research on Performance-Based Seismic Design of Steel Frame-Steel Plate Shear Wall Structures. Ph.D. Thesis, Xi’an University of Architecture and Technology, Xi’an, China, 2014. (In Chinese). [Google Scholar]
  6. Newmark, N.M.; Rosenblueth, E. Fundamentals of Earthquake Engineering; Prentice Hall: Englewood Cliffs, NJ, USA, 1974. [Google Scholar]
  7. Antonella, C.; Paolo, N. A damage index of generalised applicability. Eng. Struct. 2005, 27, 1164–1174. [Google Scholar]
  8. Malkeshi, F.; Banazadeh, M.; Serajzadeh, S.A. Micro-finite element damage modeling in steel plate shear walls. J. Constr. Steel Res. 2020, 170, 106074. [Google Scholar] [CrossRef]
  9. Wang, M.; Yang, W.; Shi, Y.; Xu, J. Seismic behaviors of steel plate shear wall structures with construction details and materials. J. Constr. Steel Res. 2015, 107, 194–210. [Google Scholar] [CrossRef]
  10. Usefvand, M.; Maleki, A.; Alinejaad, B. Investigate of damage index of coupled steel plate shear walls (C-SPSW) system under seismic loading. Structures 2020, 28, 614–625. [Google Scholar] [CrossRef]
  11. Azandariani, A.G.; Gholhaki, M.; Azandariani, M.G. Assessment of damage index and seismic performance of steel plate shear wall (SPSW) system. J. Constr. Steel Res. 2022, 191, 107–157. [Google Scholar] [CrossRef]
  12. GB/T 2975-2018; Sampling Location and Sample Preparation for Mechanical Properties Test of Steel and Steel Products. China Standard Press: Beijing, China, 2018. (In Chinese)
  13. GB/T 228.1-2010; Tensile Test of Metallic Materials Part I: Test Method at Room Temperature. China Standard Press: Beijing, China, 2010. (In Chinese)
  14. Yu, J.G.; Liu, L.M.; Li, B.; Hao, J.P.; Gao, X.; Feng, X.T. Comparative study of steel plate shear walls with different types of unbonded stiffeners. J. Constr. Steel Res. 2019, 159, 384–396. [Google Scholar] [CrossRef]
  15. Zhao, Q.H.; Astaneh-Asl, A. Cyclic behavior of traditional and innovative composite shear walls. J. Struct. Eng. 2004, 130, 271–284. [Google Scholar] [CrossRef]
  16. Jiang, L.; Jiang, L.; Hu, Y.; Ye, J.; Zheng, H. Seismic life-cycle cost assessment of steel frames equipped with steel panel walls. Eng. Struct. 2020, 211, 110399. [Google Scholar] [CrossRef]
  17. FEMA 450; NEHRP Recommendation Provisions for Seismic Regulations for New Buildings and Other Structures. Federal Emergency Management Agency: Washington, DC, USA, 2003.
  18. Tan, J.K.; Zhou, X.H.; Su, H.; Wang, Y.H.; Zhou, T.; Wang, K. Interaction behaviour of buckling-restrained steel plate shear wall and boundary composite frame. J. Constr. Steel Res. 2022, 191, 107189. [Google Scholar] [CrossRef]
  19. Yu, J.; He, L.; Li, B.; Li, L.; Tian, L.; Men, J. Structural behaviour of post-earthquake steel plate shear wall repaired by non-welded oblique stiffeners. Structures 2022, 39, 70–85. [Google Scholar] [CrossRef]
  20. Jalali, S.A.; Amini, A.; Mansouri, I.; Hu, J.W. Seismic collapse assessment of steel plate shear walls considering the mainshock–aftershock effects. J. Constr. Steel Res. 2021, 182, 106688. [Google Scholar] [CrossRef]
  21. Lu, J.; Qiao, X.; Liao, J.; Tang, Y. Experimental study and numerical simulation on steel plate shear walls with non-uniform spacing slits. Int. J. Steel Struct. 2016, 16, 1373–1380. [Google Scholar] [CrossRef]
  22. Meng, B.; Xiong, Y.; Zhong, W.; Duan, S.; Li, H. Progressive collapse behaviour of composite substructure with large rectangular beam-web openings. Eng. Struct. 2023, 295, 116861. [Google Scholar] [CrossRef]
  23. Shakeri, A. Isotropic-kinematic cyclic hardening characteristics of plate steels. Int. J. Steel Struct. 2017, 17, 19–30. [Google Scholar] [CrossRef]
  24. Chaboche, J.L. Constitutive equations for cyclic plasticity and cyclic viscoplasticity. Int. J. Plast. 1989, 5, 247–302. [Google Scholar] [CrossRef]
  25. Xue, L. Damage Accumulation and Fracture Initiation in Uncracked Ductile Solids under Triaxial Loading-Part I: Pressure Sensitivity and Lode Dependence; MIT Impact and Crashworthiness Lab: Cambridge, MA, USA, 2005. [Google Scholar]
  26. Wierzbicki, T.; Xue, L. On the Effect of the Third Invariant of the Stress Deviator on Ductile Fracture; MIT Impact and Crashworthiness Lab: Cambridge, MA, USA, 2005. [Google Scholar]
  27. Afshar, S.; Masoud, H.A. Experimental and numerical study on the seismic behavior of steel plate shear wall with reduced web section beams. J. Build. Eng. 2022, 46, 103797. [Google Scholar]
  28. Park, Y.J.; Ang, A. Mechanistic seismic damage model for reinforced concrete. J. Struct. Eng. 1985, 111, 722–739. [Google Scholar] [CrossRef]
  29. Du, Y.P.; Shao, Y.B.; Cao, Y.F. Performance of repaired steel plate shear wall with earthquake-induced damage. J. Constr. Steel Res. 2022, 190, 107149. [Google Scholar] [CrossRef]
  30. Du, Y.P.; Shao, Y.B.; Zhong, L. Repairing damaged steel plate shear wall with additional ribs. Structures 2022, 41, 222–234. [Google Scholar] [CrossRef]
Figure 1. Details of the experimental specimen.
Figure 1. Details of the experimental specimen.
Buildings 14 00888 g001
Figure 2. Test setup.
Figure 2. Test setup.
Buildings 14 00888 g002
Figure 3. Loading protocol.
Figure 3. Loading protocol.
Buildings 14 00888 g003
Figure 4. Failure modes. (a) Residual deformation. (b) Creases. (c) Buckling in web. (d) Damage in the beam–column joints. (e) Bulging of the column foot. (f) Final failure mode.
Figure 4. Failure modes. (a) Residual deformation. (b) Creases. (c) Buckling in web. (d) Damage in the beam–column joints. (e) Bulging of the column foot. (f) Final failure mode.
Buildings 14 00888 g004
Figure 5. Hysteretic curves of the whole specimen and each story. (a) First story. (b) Second story. (c) Overall.
Figure 5. Hysteretic curves of the whole specimen and each story. (a) First story. (b) Second story. (c) Overall.
Buildings 14 00888 g005
Figure 6. Skeleton curves. (a) Curves of the entire specimen in both stages. (b) Curves of each story in Stage II.
Figure 6. Skeleton curves. (a) Curves of the entire specimen in both stages. (b) Curves of each story in Stage II.
Buildings 14 00888 g006
Figure 7. Bearing capacity degradation of the entire specimen.
Figure 7. Bearing capacity degradation of the entire specimen.
Buildings 14 00888 g007
Figure 8. Stiffness degradation. (a) Each story. (b) Entire specimen.
Figure 8. Stiffness degradation. (a) Each story. (b) Entire specimen.
Buildings 14 00888 g008
Figure 9. Calculation of equivalent viscous damping coefficient.
Figure 9. Calculation of equivalent viscous damping coefficient.
Buildings 14 00888 g009
Figure 10. First-order and second-order modes. (a) First-order buckling mode. (b) Third-order buckling mode.
Figure 10. First-order and second-order modes. (a) First-order buckling mode. (b) Third-order buckling mode.
Buildings 14 00888 g010
Figure 11. Boundary conditions of model.
Figure 11. Boundary conditions of model.
Buildings 14 00888 g011
Figure 12. Hysteresis curve comparison of experimental and FE results. (a) Hysteresis curves in Stage I. (b) Hysteresis curves in Stage II.
Figure 12. Hysteresis curve comparison of experimental and FE results. (a) Hysteresis curves in Stage I. (b) Hysteresis curves in Stage II.
Buildings 14 00888 g012
Figure 13. Comparison of failure modes. (a) Failure mode of FE model. (b) Failure mode of test specimen.
Figure 13. Comparison of failure modes. (a) Failure mode of FE model. (b) Failure mode of test specimen.
Buildings 14 00888 g013
Figure 14. Hysteresis curves of model structure with earthquake-induced damage. (a) A-0. (b) A-300. (c) A-230. (d) A-130. (e) A-90. (f) A-50.
Figure 14. Hysteresis curves of model structure with earthquake-induced damage. (a) A-0. (b) A-300. (c) A-230. (d) A-130. (e) A-90. (f) A-50.
Buildings 14 00888 g014
Figure 15. Skeleton curves of λ = 150.
Figure 15. Skeleton curves of λ = 150.
Buildings 14 00888 g015
Figure 16. Degradation of bearing capacity and stiffness of λ = 150.
Figure 16. Degradation of bearing capacity and stiffness of λ = 150.
Buildings 14 00888 g016
Figure 17. Hysteresis curve of 300 height-to-thickness ratio steel plate wall under different earthquake damages. (a) B-0. (b) B-300. (c) B-230. (d) B-130. (e) B-90. (f) B-50.
Figure 17. Hysteresis curve of 300 height-to-thickness ratio steel plate wall under different earthquake damages. (a) B-0. (b) B-300. (c) B-230. (d) B-130. (e) B-90. (f) B-50.
Buildings 14 00888 g017
Figure 18. Skeleton curves of λ = 300.
Figure 18. Skeleton curves of λ = 300.
Buildings 14 00888 g018
Figure 19. Degradation of bearing capacity and stiffness of λ = 300.
Figure 19. Degradation of bearing capacity and stiffness of λ = 300.
Buildings 14 00888 g019
Figure 20. Hysteresis curve of 450 height–thickness ratio steel plate wall under different earthquake damages. (a) C-0. (b) C-300. (c) C-230. (d) C-130. (e) C-90. (f) C-50.
Figure 20. Hysteresis curve of 450 height–thickness ratio steel plate wall under different earthquake damages. (a) C-0. (b) C-300. (c) C-230. (d) C-130. (e) C-90. (f) C-50.
Buildings 14 00888 g020
Figure 21. Skeleton curves of λ = 450.
Figure 21. Skeleton curves of λ = 450.
Buildings 14 00888 g021
Figure 22. Degradation curves of bearing capacity and stiffness of λ = 450.
Figure 22. Degradation curves of bearing capacity and stiffness of λ = 450.
Buildings 14 00888 g022
Table 1. Material properties.
Table 1. Material properties.
SamplesElastic Modulus
E/× 105 MPa
Yield Strength
fy/MPa
Tensile Strength
fu/MPa
Elongation
δ%
Frame column2.03371.67518.330.34
Top and bottom beams2.01316.67462.000.32
Middle beam2.00290398.330.31
Embedded plate2.05312.67436.000.24
Table 2. Structural performance level classification.
Table 2. Structural performance level classification.
Structural Performance LevelDrift AngleDamage Type
Immediate occupancy1/300No failure
Damage control1/230Minor failure
Life safety1/130Moderate failure
Collapse prevention1/90Severe failure
Collapse1/50Complete failure
Table 3. Mechanical characteristics.
Table 3. Mechanical characteristics.
Yield PointUltimate Force PointUltimate DisplacementDuctility
Δy/mmPy/kNΔmax/mmPmax/kNΔu/mmμ
43.7605.261.9651.8117.22.6
Table 4. Mixed hardening model parameters.
Table 4. Mixed hardening model parameters.
Steel TypeQ
/MPa
bisoCkin,1
/MPa
γ1Ckin,2
/MPa
γ2Ckin,3
/MPa
γ3Ckin,4
/MPa
γ4
Q235211.26013173502412030263299035
Q345211.279931756773116285434145029
Table 5. Comparison of mechanical properties.
Table 5. Comparison of mechanical properties.
Py/kNδy/mmPmax/kNδmax/mmPu/kNδu/mm
Experiment605.243.7651.861.9554.0109.6
FE analysis554.944.7617.175524.0113.5
Deviation (%)−8.32.3−5.421.2−5.43.6
Table 6. Finite-element models.
Table 6. Finite-element models.
FE ModelThicknessLoading Displacement
in Stage I
FE ModelThicknessLoading Displacement
in Stage I
A-0150NoneA-3001501/300
A-2301501/230A-1301501/130
A-901501/90A-501501/50
B-0300NoneB-3003001/300
B-2303001/230B-1303001/130
B-903001/90B-503001/50
C-0450NoneC-3004501/300
C-2304501/230C-1304501/130
C-904501/90C-504501/50
Table 7. Mechanical properties of λ = 150.
Table 7. Mechanical properties of λ = 150.
λ = 150
None1/3001/2301/1301/901/50
Pmax (kN)1329.731318.281317.431300.211281.77839.53
Decline ratio-0.86%0.92%2.22%3.61%36.86%
K (kN/mm)54.2254.9654.5845.2437.2025.59
Decline ratio-−1.36%−0.66%16.56%31.39%52.80%
Ultimate deformation (mm)91.8891.8791.5980.5180.2860.09
Table 8. Mechanical properties of λ = 300.
Table 8. Mechanical properties of λ = 300.
λ = 300
None1/3001/2301/1301/901/50
Pmax (kN)938.79933.95932.03905.41900.06766.14
Decline ratio-0.5%0.7%3.5%4.1%18%
k (kN/mm)32.2832.1932.0024.1118.0412.93
Decline ratio-0.2%0.8%25%44%60%
Ultimate deformation (mm)110.38112112103.0295102
Table 9. Mechanical properties of λ = 450.
Table 9. Mechanical properties of λ = 450.
λ = 450
None1/3001/2301/1301/901/50
Pmax (kN)756.33753.03749.79729.94724.06669.2
Decline ratio-0.44%0.86%3.49%4.27%11.52%
k (kN/mm)32.2832.1932.0024.1118.0412.93
Decline ratio-0.04%0.98%29.47%40.36%59.15%
Ultimate deformation (mm)107.48107.18106.0596.5894.3695.93
Disclaimer/Publisher’s Note: The statements, opinions and data contained in all publications are solely those of the individual author(s) and contributor(s) and not of MDPI and/or the editor(s). MDPI and/or the editor(s) disclaim responsibility for any injury to people or property resulting from any ideas, methods, instructions or products referred to in the content.

Share and Cite

MDPI and ACS Style

Du, Y.; Zhang, M.; Cao, Y.; Xue, L. Degradation of Seismic Performance of Thin Steel Plate Shear Walls in Earthquakes. Buildings 2024, 14, 888. https://doi.org/10.3390/buildings14040888

AMA Style

Du Y, Zhang M, Cao Y, Xue L. Degradation of Seismic Performance of Thin Steel Plate Shear Walls in Earthquakes. Buildings. 2024; 14(4):888. https://doi.org/10.3390/buildings14040888

Chicago/Turabian Style

Du, Yipeng, Min Zhang, Yifang Cao, and Lei Xue. 2024. "Degradation of Seismic Performance of Thin Steel Plate Shear Walls in Earthquakes" Buildings 14, no. 4: 888. https://doi.org/10.3390/buildings14040888

APA Style

Du, Y., Zhang, M., Cao, Y., & Xue, L. (2024). Degradation of Seismic Performance of Thin Steel Plate Shear Walls in Earthquakes. Buildings, 14(4), 888. https://doi.org/10.3390/buildings14040888

Note that from the first issue of 2016, this journal uses article numbers instead of page numbers. See further details here.

Article Metrics

Back to TopTop