Abstract
During the promotion of the modular steel structure in the architecture, engineering, and construction (AEC) industry, building information modeling (BIM) is leveraged to integrate the design process into the whole construction sequence. The absence of standards and interactive, tech-friendly tools for project participants limits the general implementation of the BIM-based design process. The present study proposes an automatic design optimization method based on the BIM platform for modular steel structures. The method consists of digital modeling sequences that contain data exchange between different software applications and the program of structural design optimization. A prototype workflow of the method is explained and assessed in a case study to indicate its reliability and practicability. The proposed design coheres with common design rules and enhances the utilization rate of column structure by 40–50% with minimal redundancy compared to initial designs. The proposed method is also discussed through interviews with and surveys of engineers working in the AEC industry in terms of its potential adoption in actual projects. The discussion shows that this method can reduce the time consumption of the model creation and optimization of modular steel structures effectively. Special knowledge of the relevant software is no longer a hindrance for engineers.
1. Introduction
In the last decade, prefabricated construction (PC) technology has been encouraged in the architecture, engineering, and construction (AEC) industries worldwide to meet increasing housing demands and promote sustainability. PC has significant capability to reduce construction time, improve safety and quality, and increase management efficiency [1]. As a typical form of PC, modular construction (MC) is based on the idea of prefabricating standardized and repetitive units as “modules” offsite and connecting them onsite. The development of the modular building system can be traced back to World War One, which led to a great demand for ready-made timber houses [2]. It has been gradually extended to steel and concrete structures nowadays and has become a popular topic among researchers in Asia, particularly China, which has mandated that 50% of new housing construction should be built using MC techniques in its labor-intensive construction industry [3,4]. Many other countries have also started to adopt such industrialization and technical innovation to reduce reliance on conventional construction methods [5]. For example, Russia has built residential units at one floor a week [6], and England has assembled 824 rooms of student residences in 32 weeks using MC, compared with an estimated 56 weeks using onsite methods [7].
The obvious advantages of MC can be observed compared with conventional techniques in terms of three key aspects: efficiency, quality, and socio-environmental impact [8]. With most building elements of modular structures prepared offsite and ready for installation onsite, construction duration can be reduced by up to 30–50% [9]. Factory-based production also allows parallel construction of projects with the aid of machinery to further speed up the manufacturing process [10]. Moreover, the quality of products can be easily maintained and improved in a controlled factory environment, unlike traditional construction, which suffers from onsite disruptions or uncertainties like bad weather conditions and excessive wet trades [11,12]. Cleaner construction can also be promised by MC, as it produces less waste and pollution with less onsite work and factorized management [13]. Cao et al. [14] analyzed buildings manufactured traditionally and with MC and found a range of 24.91% to 81.25% reduction of various construction waste materials. Environmental impacts can be further controlled during the design process to reduce variance in each modular unit. Cost savings and onsite safety are the other two benefits of MC. This claim can be derived from 70% less delivery transportation to the site [7] and bulk ordering for mass production [15]. Furthermore, exposure to uncertain site conditions and lower labor intensity are reduced when the majority of site assembly is done using machinery [16]. Despite the benefits, some challenges have also been identified in the adoption of MC, such as difficulties in manufacturing individualized designs, the transportation of modules, difficulties in coordination and planning the design and construction procedures, and the lack of codes [17].
Under MC techniques, there are two types of modules in terms of the loading path and materials: concrete wall load-bearing modules and steel corner-supported modules [7]. Compared with concrete structures, steel modular units have higher flexibility in design due to their wider open-space framing and longer span capability. They are lightweight, fast to assemble, and easily accessible for periodic maintenance and inspection under more complex axial load bearing and external load transfers. These advantages make them preferable in mid- and high-rise institutional buildings such as schools, hospitals, and offices [18]. Steel modules are further classified into three types based on their strength: modular steel buildings (MSB), light steel framed (LSF), and container modules [19,20]. The stacking construction process of steel modules gives rise to a double-beam configuration between stories of modular buildings, where each separate module has its own floor and ceiling beams. When modules are stacked, the ceiling and floor beams of two adjacent stories meet, with a small gap in between for MEP elements. Therefore, modular structural design requires optimal member selection for space optimization and structural integrity [21]. In addition to that, joints are a key component of steel modular construction’s stability and robustness [22]. In the field of steel modular structures, some studies have paid attention to the optimization of the design of modular joints [23]. Özkılıç et al. [24,25,26] investigated the cyclic and monotonic performance of both the stiffened and unstiffened extended end-plate connections with large-seized bolts and thin endplates using experimental and numerical methods. They proposed expressions for predicting the plastic moment resistance of the relevant joints.
Despite the interest in implementing MC techniques like modular steel structures, many have found the design process of modules to be complex and challenging under its coordinated management system [27]. Normally, the structural design is performed by designers independently when all the construction information is acquired, which means the design scheme can hardly be adjusted according to feedback from other parties during the construction. During this traditional design process, structure modeling and safety analysis are often conducted separately, while analysis results are used to improve the design manually, which is time-consuming. This fragmented working process results in a disconnect between the optimization of structural design and other important aspects during construction. Especially for modular construction, where more stakeholders are involved in collaborative operations including production, transportation, and monitoring, it leads to lagging behind the latest needs. With so many stakeholders involved throughout all stages of the project, flexibility for design changes can be restricted when any design changes must be updated and shared synchronously, which means close coordination and extensive project management across the entire project lifetime are mandatory to foster collaborative and timely decision-making [28].
Therefore, developing reliable tools to support the complex design process has also been a focal point of research to amplify the benefits of MC. In recent years, building information modeling (BIM) has become a new paradigm in the AEC industry. BIM’s interoperability and comprehensive digital database make it a perfect platform for detailed and efficient communication between project stakeholders to achieve timely and effective decision-making over the entire project lifecycle [10,29,30,31]. Researchers believe that BIM is the foundation of the next generation of the AEC industry and have explored ways to integrate BIM into various applications and project phases. The level of information contained in BIM models makes them ideal for shaping the design process to fit a smart framework centered on automation and intelligent modeling [32,33,34,35]. Since this research focuses on BIM-based automation to support the design stage of MC, studies have explored various frameworks for the application of BIM to realize this function, but few have been carried out in the context of engineering design. Singh et al. [32] used the capabilities of the parametric modeling software Dynamo to explore automation using rule-based objects in coordination design. Liu et al. [36] further proposed a construction-centric algorithm and expanded the rule-based object approach by applying iterative methods to produce an optimal design of boarding for light-frame houses. Oh et al. [37] explored interoperability issues like data loss when integrating multiple BIM software applications with industry foundation classes (IFC). BIM integration has become the subject of various studies and the development of workarounds for real projects to unify the collaborative potential of several BIM platforms [38,39,40]. Manrique et al. [41] developed a model called FRAMEX to alleviate the need for cross-software integration for the automation of fabrication drawings, cutting lists, and taking off lists from a highly detailed parametric model.
Nevertheless, some limitations have been identified in the general implementation of BIM-based design processes in MC. Tan et al. [42] presented a hierarchy of barriers to BIM implementation based on an interpretive structural modeling (ISM) approach, which indicated significant issues concerning the absence of standards for BIM and the lack of specific tools for BIM-based design, which hinder its productivity and competitiveness in the construction industry. In addition, digital modeling in BIM requires high levels of professional knowledge and experience on the part of users [36,43]. Establishing an interactive, tech-friendly environment for all project participants in BIM will speed up the collaborative construction process. An automated BIM design approach that integrates all design aspects, codes, analysis tools, and displays should also be established, which has rarely been studied for modular construction projects [44].
This study develops a comprehensive digital modeling sequence interacting with a BIM platform. Within the workflow, the automatic structural optimization computation is realized by Python programming. The proposed method allows the design program to access the entire local steel structure database and identify the optimal design based on stress analysis results and design standards by running the developed automatic searching procedure. It also enables efficient data exchange between software applications for digital design, structural stress analysis, and the BIM platform. In this way, any changes happening during the MC project can cause an update to the structural design that can be reflected in the BIM working environment synchronously, thus enabling all stakeholders to adjust their plans and respond to the latest design in the decision-making process in a timely manner.
The objective of the study is to provide a highly integrated automatic digital modeling method to promote the application of BIM in the design sector of modular steel structures. The original contribution of the work is the development of the structural optimization working sequences, including an optimizing computation program, in the proposed comprehensive digital modeling workflow. The proposed method makes the design process for modular steel structures simple and straightforward.
2. Workflow of the Proposed Method
The proposed method is based on the concept of integrating digital (parametric) modeling and automatic structural optimization methods into the BIM working process. A prototype workflow of the proposed method will be presented in detail in the following sub-sections that produce the steel skeleton of a modular building consisting of identical rectangular modules with a primary column and beam elements. As shown in Figure 1, the prototype workflow consists of four main parts: (1) initial structural modeling, (2) structural stress analysis, (3) automatically optimal design for structures, and (4) BIM visualization. In the first stage, an initial 3D grid frame model will be generated according to the input parameters provided by the designers. Then, the initial model will be sent into the robot structural analysis (RSA) software through the interaction add-on between the digital modeling environment (Dynamo in this study) and RSA software for structural stress evaluation under certain loading situations. After the evaluation, maximum axial forces and bending moments for column and beam members can be obtained, which will be used for the automatic design optimization in the third stage. The final step of the workflow is to translate the geometric representation into beam and column objects of the grid frame in a BIM platform (Revit), with the reflection of structure types being the result of the design optimization.
Figure 1.
Workflow of the proposed method of BIM-based automatic design optimization for modular steel structures.
In this prototype, a corner-supported steel structure design is considered where loads are resolved to the foundation through primary columns and beam elements only support the loads experienced by the individual module [45]. Moreover, this corner-supported design is represented by a ‘joint’ element as an extension of the primary columns and beams. Joints also serve as connections during construction and can be seen protruding from the top ends of columns and beams in the prototype model.
2.1. Initial Structural Modeling
A representation of geometry that is synonymous with the analytical model found in the stress analysis software is created. This representation only exists in the Dynamo workspace until it is rendered as objects in Revit. In this stage of digital modeling, a 3D grid frame is created first, where points and curves are the basic elements. The grid frame is essentially the arrangement of modules for the entire structure in line forms based on the specifications of the construction skeleton and the modular unit. The initially selected structural member sections from the preliminary design are then assigned to each grid line, forming a complete 3D structural model.
The MSB explained in the prototype workflow simulates a typical modular construction with one standardized unit. Therefore, units’ frames are generated using the same input parameters and modeling instructions. The frame drawing procedure for each unit starts with the floor plan, then the ceiling plan, and finally the vertical lines connecting both. If the construction has units of various sizes, it only needs to add blocks with different input parameters for each kind of unit. After the 3D grid frame’s creation, structural elements are categorized into different types according to their locations and loading conditions.
The Dynamo working sequence for the modeling is divided into three main parts, as shown in Figure 2, in which the left part (a) is a series of number slider nodes for designers to input necessary parameters and the middle part (b) consists of all processing nodes for the 3D grid frame modeling. Finally, initial sections are assigned to all grid members in part (c). Each block has been enlarged and displayed through the sequence for the content verification.
Figure 2.
Dynamo sequence for initial structural modeling.
The main features of creating the 3D grid frame model are given in Figure 3, which contains all the necessary inputs for the digital modeling in Dynamo. The standard size of each module is decided before modeling, including its length, width, and height. The construction area and number of stories are also important for determining the layout of floors and their distribution in the vertical direction. Offsets represent distances between modules in three directions. The detailed modeling procedure is explained below.
Figure 3.
Core features of digital structural modeling.
2.1.1. Number of Modules in the Floor Plan
The number of modules along two horizontal axes () can be derived based on parameters of the construction area, the module’s dimensions, and offset distances using Equations (1) and (2), which are encoded in the Dynamo coding script.
2.1.2. Ground Floor Modules
The steps for forming the ground floor modules are depicted in Figure 4. Mainly, the process involves creating points where the center of each module is positioned on a floor plan, then creating rectangles around those central points to represent the area of each module.
Figure 4.
Steps for forming ground floor modules. (a) Position of modules along the x-axis, (b) position of all modules, (c) floors of ground floor modules, (d) position of ground floor modules’ ceilings, and (e) ceilings of ground floor modules.
Firstly, the center point of each module in the first row along the x-axis is input (Figure 4a). This procedure is repeated for each row (Figure 4b). The perimeters are formed around the center points based on the modules’ dimensions (Figure 4c). The center points of the modules’ ceilings are added by copying the center points of the floors and elevating them by the modules’ height (Figure 4d). The perimeters of the ceilings are formed in the same way as for the floors (Figure 4e).
2.1.3. Modules of Upper Stories and Column Lines
Modules of upper stories are then generated by translating all the ground floor modules at an interval of module height plus offset distance in the vertical direction, the results of which are shown in Figure 5a. The indices of the rectangles in the upper stories are transposed to be consistent for the following steps. The next step is to break down the floor and ceiling rectangles in each storey into point and line elements, as in Figure 5b. The coordinates of corner points are then grouped separately as starts and ends, based on which the column lines of all modules can be formed, as seen in Figure 5c, while other line elements are set as beam structures.
Figure 5.
Steps for forming upper stories and columns. (a) Subsequent stories’ modules; (b) corner points of rectangles; and (c) columns of all modules.
2.1.4. Joints between Modules
The present proposed structural optimization method for MSB focuses on the beams and columns. Therefore, the joint elements are determined and defined before the initial structural modeling according to the building project. The design of joints, or intermodular connections (IMCs), is to ensure that all the forces between modules are effectively transferred. So far, there have been various types of joints suggested by former researchers for modular connections. However, specific design codes or guidelines do not exist for IMCs [46]. The explained MSB in the prototype workflow is assumed to adopt the normally discussed IMC, which is the bolted connection in high strength with welded cover plates [47]. This kind of connection consists of a T-shape gusset and column cover plates, both of which have bolt holes.
In the prototype workflow, joints between modules are simply modeled as short connection members spanning between corner points of the modules, which are referred to as three types of joints: vertical, horizontal_x, and horizontal_y joints (Figure 6). The detailed modeling process for these joints is explained below. When conducting the structural analysis in Autodesk Robot, the connection is defined as the pinned node that passes the shear strength and axial force [48,49].
Figure 6.
Short connections between modules in three directions.
The formation of vertical joint lines is completed similarly to that of column lines by connecting corner points of ceilings and their corresponding floors. One point that should be noticed is that the ceiling of the highest storey and the ground of the first floor must be excluded before creating the joints to avoid abnormal connections between these two structural elements. For horizontal joints, the consistency of the corner points’ indices is crucial and must be ordered specifically before the connection. For example, corner points on the right face of the module are connected to those on the left face of the adjacent module along the x-axis to create horizontal-x joints, as shown in Figure 7a. In Figure 7b, left-side points with ‘0’ and ‘1’ as their last indices will be linked to right-side points with ‘3’ and ‘2’ as their last indices, respectively. Separate lists are then set up to group and store all right-side and left-side corner points. Similarly, corner points on the rightmost and leftmost sides of the frame must be removed prior to creating joint lines. The same routines are also applied to the corner points along the y-axis to create horizontal-y joints (Figure 7c,d).

Figure 7.
Rules for creating horizontal joints. (a) Right- and left-side corner points, (b) indices of right- and left-side corner points, (c) back- and front-side corner points, and (d) indices of back- and front-side corner points.
2.1.5. Final Grid Frame and Structural Model
After all the Dynamo nodes of the proposed workflow are executed, a 3D grid frame of the steel structure will be modeled automatically in Dynamo and Revit (Figure 8).
Figure 8.
Three-dimensional grid frame of the steel modular structure.
To create a real structural model in the BIM platform, all the grid lines must be assigned the properties of valid steel components. Based on the identical modules assumed in this prototype, each modular unit has similar beam and column sections. Beams spanning the x and y directions may have different sections of different lengths. Variations in beam sections between floor and ceiling beams may also be possible due to different loading conditions. Therefore, all horizontal joints in both the x and y directions are assumed to have the same section length, in contrast to vertical joints, whose section length is identical to that of the column. These assumptions thus lead to six variations of structural members, to which different sections can be assigned (Figure 9).
Figure 9.
Several types of steel structures.
There are three main steps involved in structural member section assignment, as shown in Figure 10. Firstly, all line segments must be grouped in terms of structure types such as columns, beams, and joints. Various initial steel members from the Australian Engineering Database OneSteel 300PLUS [50] are then selected and assigned to corresponding structural members.
Figure 10.
Procedure for the structural section assignment.
2.2. Structural Stress Analysis
By using the structural analysis add-on for Dynamo software, the initial structural model in Dynamo can be interfaced directly with robot structure analysis (RSA) software. This operation is beneficial for users to check and verify the load behavior in the established structure. A fixed boundary condition is applied to the bottom node of every column. It is assumed that foundations have significant embedment, such that the column is rigid at ground level. No other boundary conditions have been specified, which instructs RSA to place pinned-fixed releases on all other members by default.
Surface loads on tributary areas like the roof are processed based on inputs to convert and apply them as uniformly distributed line loads, which means that one-way or two-way load paths should be defined as Dynamo codes beforehand. It is assumed that structural members like joists and purlins will span laterally between the longer beams, and so a tributary width (from the module width) is considered. For simplicity’s sake, the prototype will conservatively apply this loading to all beam elements, ignoring loading paths.
The “load case” in RSA is a grouping for the load definitions, and thus a load case of “ULS” is just an arbitrary name without considering loading factors. Therefore, different kinds of loads are combined by factors before being defined in RSA. Figure 11 summarizes the processing of load inputs using a ULS combination of 1.2 G + 1.5 Q, where G is the sum of dead loading and the structure’s self-weight, and Q represents the live loading. The RoofLOAD is the ULS multiplying half of the width, as indicated by purple and green on the roof in Figure 11.
Figure 11.
Loading definitions for structural stress analysis using the ULS method.
The structural stress analysis is finally conducted after all loads, restraints, and member fixities are applied in the given model. Once the analysis is complete, the deformation of all members can be displayed in multiple ways, such as a diagram, map, or Excel. Warning information will pop up when structural instability occurs or the structural deformation is beyond the defined limit. The general deformation of the analyzed structures is suggested to be less than l/250 in the vertical and l/125 in the horizontal, following the Australian Steel Structure Standard AS4100. After the completion of the analysis, an Excel database is built that stores the calculation results, including the maximum axial forces for vertical members and the maximum bending moments for horizontal members, for the following structural optimal design.
2.3. Automatically Optimal Design for Structures
In this stage, the optimization procedure targets two types of objects: beams and columns. The developed structural optimization computation program in the proposed method aims to identify the most suitable steel type and specification from the standard structure library for each structure member. The optimization is based on the preliminary design, which has some redundancy. Therefore, the optimizing computation is executed under the mechanical conditions that are retrieved from the structural analysis results of the original structures. The stability of the whole building can be ensured.
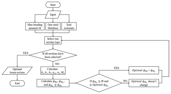
Optimal design for different beam elements is based on the AS4100 bending capacity calculation rules [51], using the analysis results from the former step. The calculation procedure runs through all available steel beam options in the Australia OneSteel 300PLUS database [50] to achieve the optimal structural section that satisfies both the safety requirements and economic benefit. This sequence is adopted for the different types of beams discussed in Section 2.2 that are on floors and ceilings, respectively.
To realize the optimization procedure, the entire computing process is coded in the Dynamo development platform, into which Excel files that contain all necessary data are imported. Prior to this, the Excel report can first be modified for easier data processing, such as by storing data on floor and ceiling beams separately under different sheets and renaming them accordingly. The data of a particular sheet can be stored in a Dynamo node based on its name. Bending moment values in that sheet are extracted as a list by making use of the index of different columns, while all strings and ‘null’ values are removed from the list. All bending moment values are then made absolute before retrieving the maximum value from the list for long and short beams, respectively. The same separation processing is also applied to the database of beams of UB, WB, RHS, and SHS types.
Figure 12 is the flow chart depicting the whole optimization procedure for beam structures, which is a loop of walking through the entire steel structure database. After all necessary data are inputted, one specific beam is selected, and factors including are calculated based on the manner of loading and structural restraints. The reduction factors and are calculated using Equations (3) and (5), while is defined by Equation (4), where are the yield strength and section area of the selected beam, respectively. is the geometry factor based on the dimension information obtained from the database. The effective bending strength of the selected section is compared with that of the current optimal section (Equations (6) and (7)) to decide if the optimal beam section needs to be updated. The loop continues until the last option in the database is selected.
Figure 12.
Flow chart of automatic design optimization for beams.
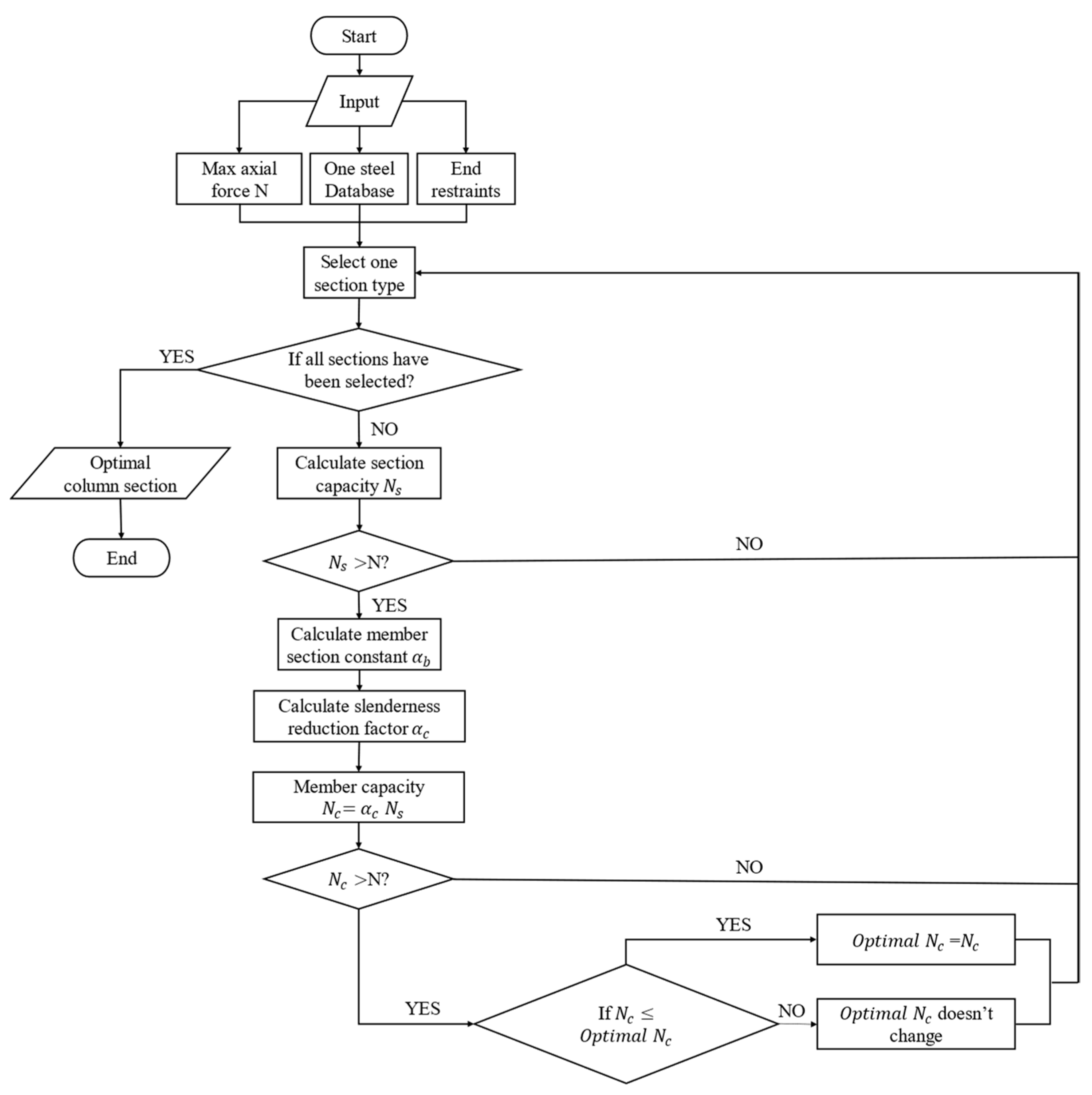
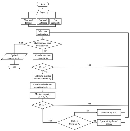
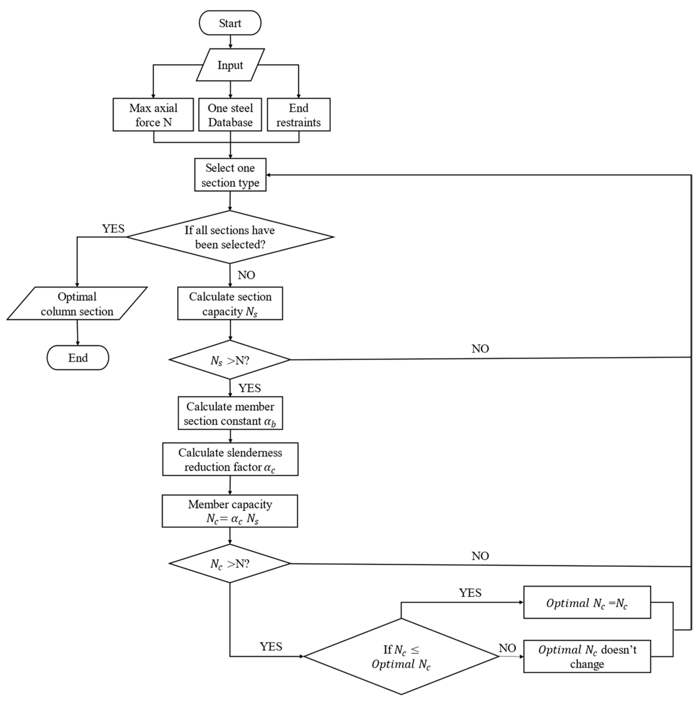
Another structural design optimization is for columns, as shown in Figure 13. Similarly, column properties, including form factor (), cross-sectional area (), and yield strength (), are extracted from the Australia OneSteel 300PLUS database. A calculation loop is needed to identify the best column section. Once a column type is selected, its section capacity is determined by Equation (8) according to the Australian AS4100 standard [51] to make a preliminary capacity assessment against the given maximum axial force N.
Figure 13.
Flow chart of automatic design optimization for columns.
According to the pre-stressing method in AS4100 6.3.3 [51], the member section constant () of the structure is obtained. The slenderness reduction factor can be determined by the series of equations below:
where and related are values of the modified member slenderness and λ, η, and ξ are transition parameters. Meanwhile, an effective length factor () of 0.85 is used to determine the effective length parameter () of the compression column in evaluating the slenderness reduction factor ():
Therefore, the nominal member capacity shall be obtained according to Equation (16). By comparing the of the selected section with N and the optimal , the calculation loop is capable of finding the optimal structure that provides the capacity with minimal redundancy (highest structural capacity utilized).
During the above bearing capacity calculations, deflection constraints are also considered and assessed for steel structures according to the design standards:
where and are the calculated and maximum deflections, respectively. Taking the statically indeterminate beam as an example, its mid-span deflection is with a uniform load , where is the beam length; is the elasticity modulus; and is the section inertia moment.
Finally, the proposed automatic optimization procedures for beams and columns are combined and implemented by translating calculation methods into an automatic computing Python program. The program is inserted into the proposed Dynamo working sequences. By doing this, optimal structural design based on design standards can be seamlessly integrated into the whole workflow.
2.4. BIM Visualization
Apart from identifying the optimal structural section results through the proposed integrated optimization method, it is also important to apply the results to the BIM design workflow of modular steel construction by projecting them onto the BIM platform, and to update project information to facilitate stakeholders’ timely adjustment and improvement of their plans, which will enhance working efficiency significantly. As for the visualization of the optimized structural model, the process consists of two main steps: one is reflecting the computing results in the grid framework in the same way as digital structural modeling as in Section 2.1, and the other is displaying the framework information in the BIM platform. As shown in Figure 14, the function nodes of Structural Framing and Structural Column are available for the assignment task in the Dynamo environment, and the grid frame model is finally transformed into a complete structural model in Revit.
Figure 14.
A final transformed structure design in Revit.
3. Case Study
3.1. Structural and Modeling Information
A prototype workflow of the proposed method was implemented and assessed through a case study benchmark based on an industry project provided by an Australian company. The purpose of this case study was to examine the working reliability and practicability of the developed program and to demonstrate the developed automated optimization sequence’s capability of accelerating the design process in comparison to the results of the real design.
The study model is based on a modular hotel project, modules of which are delivered whole as shipping containers and fully prefabricated to be ready to install onsite. After analyzing the project information, the model was represented in the prototype as a four storey 2 × 11 grid of adjacent modules. It was noticed that the corridor sections were secondary structural elements but were deemed necessary for their potential to influence load distributions. Therefore, the corridors were added to the prototype for the comparison study, using the element list to define the start and end points of the corridor within the structure. To do so, the idea of modifiers was proposed to shape the prototype into more realistic building configurations, in which the geometry data could be extracted in such a way that it could affect specific areas or the entire model. Suggestions for modifiers might include the following capabilities:
- Modifying module dimensions for single or groups of modules;
- Modifying grid layouts for irregular grid shapes;
- Removing modules for sensitivity analysis/test models;
- Modifiers for finer detail in the analysis model;
- Applying module pre-sets for buildings with room types.
Stair/lift cores were also incorporated, which were largely precast concrete modules and were thus ignored in this case study. All the building specifications and loads applied in the trial are presented in Figure 15 and Table 1. Specifically, the methodology report considered a plant room/MEP/generator room at the roof level, which was then superimposed with the working loads; this was automated over the whole structure, while dynamic loading scenarios were included in the live loading (LL).
Figure 15.
Layout and dimensions of the study model.
Table 1.
Loading conditions for structural stress analysis.
While Figure 16a shows the established grid frame for the study project from isometric and front views, initial sections assigned to different structural elements are based on the final design from the industry supplier, as shown in Figure 16b; for example, the column section is 150 × 100 × 6 RHS.
Figure 16.
Initial structural model of the study project: (a) 3D grid frame and (b) initial structure types given by the supplier.
In the stage of structural stress analysis, member fixities were assumed to acquire simply supported solutions, as suggested by the literature in Section 2.3. Linear static analysis was performed on the established initial structural model; all maximum bending moment results are summarized in Table 2. The stress analysis results were then entered into the proposed automatic design optimization program, which was executed to obtain the final output design. Figure 17 presents the final optimized structural designs provided by the program.
Table 2.
Maximum bending moment results.
Figure 17.
Design comparison. (a) Initial design and (b) optimized design.
3.2. Results
Under the circumstance where all design conditions were assumed to be identical, larger sections would play a more significant role in supporting the loads, while smaller sections would suggest a more economical design. In recreating the study model, the prototype’s resulting output specified a 200 × 100 × 4 RHS as the optimal column. Furthermore, the structural capacity ratios utilized for all column sections were calculated and collected, as shown in Figure 18. A comparison of ground column reactions reveals that the proposed design enhanced the utilization rate of column structure by 40–50% with minimal redundancy compared to initial designs. However, this proposed prototype workflow could be revised to refine the analysis model in future works for more accurate results, as the prototype was intended for single-module optimization prior to a change in the scope of research. In addition, designs for real modular projects would have less control over specific refinements, and other structural factors could have been more critical to the modular steel design. For example, the reaction forces in the study model were smaller at the outer columns, whereas in the prototype, they were more consistent throughout all columns. The module properties might also be limited by the selection provided by the supplier. Since the prototype was built for a corner-supported system, the joint elements in the model ensured that load paths would be resolved through the columns regardless; hence, the section comparison was reasonable. There might be other non-trivial or engineering factors beyond the load distribution considered in the study model. The suitability of this result is up to the engineer’s judgment, but this is a promising outcome in comparison to the prototype.
Figure 18.
Structural capacity results for different column types.
Nevertheless, with regards to its main aim, this case study has demonstrated the program’s capability in executing structural digital modeling and automatic design optimization for a modular steel structure with great ease, speed, and success. With some promising results for an industry benchmark, this workflow would benefit from further refinements.
4. Discussion
While the proposed method showcases the advantages of a BIM-based automatic structural optimization process, there needs to be further development to fully utilize the potential of BIM and create a process suitable for professional use. There are several key directions in which the prototype may be refined and evolved to support a larger breadth of the design phase of MC. Prototype refinements would exist largely in the form of modifiers to match diverse modular structures. Evolutions of the prototype would take the form of generative design to incorporate machine learning algorithms for a truly smart structural optimization to fully take advantage of prefabrication.
Staff involved in the case study project were interviewed for their advice on the appropriate developments and relevance of this research to industry practice. Questions were asked regarding the design process for an MC project and which aspects they considered to be most supported. According to their opinions and remarks, there are some time-consuming tasks during the design process. Slight changes to the design sketches would cause various modular detailing updates and a lot of corresponding input changes for test models of the structures. Moreover, analysis results must be translated into the structural model for construction detailing.
One of the key statements was that 25% of project hours are generally spent on the creation of design models and their future revisions. This is a significant portion that can be supported by the automation of model generation. With further refinements, this prototype could allow for less time to be spent on repetitive tasks and more on optimizing and exploring design options. The ultimate goal of these technical innovations is to provide the client with better-quality products and services. One of the biggest challenges is effectively communicating preliminary designs to stakeholders (who are not familiar with engineering principles), as 3D models typically do not exist in the early stages. This is a perfect reflection of collaboration and where smart engineering workflows can bring real benefits to the design phase.
With a smart workflow that supports automatic model design and analysis, the lead engineer can effectively handle the entire preliminary design process with massive time savings. The relevance of the proposed method’s current direction in supporting certain elements of the design phase. The important factors identified during preliminary design are already being targeted in this research, with module layout and size, load case response, and section types being key aspects addressed with the development of modifiers. Test models, like fire and the mentioned redundancy, would also be greatly supported by automation capabilities. Modifiers that are tailored to certain types of tests would be an ideal focus for prototype refinements.
The survey also reveals that micro-level support for modular projects is a highly attractive capability. The current process targets macro-level functionality with the holistic design and analysis process in mind. However, industrial production suggests that elements like construction detailing and integration with non-modular structures are an even bigger part of modular design, as non-modular structures could indeed be a major element. A lot of construction and other micro-level detailing is time-consuming due to the level of detail and the constant back-and-forth required between engineers detailing and modelers modeling. This is an example of double handling from the associate engineer’s earlier remark. The director pointed out that steel connection design is a major aspect of modular construction detailing. Chen et al. [45] also remarked upon the importance of inter-module connections in the complex load paths in corner-supported modules. The BIM platform would make it possible to collect large amounts of data and obtain intrinsic patterns by training them through machine learning algorithms [52], and it would be even more efficient to use the analysis methods already obtained from this method for further applications in connection design (and more). There is potential for a new branch of this research to explore smart engineering in construction detailing and other micro-level elements.
A personal inclination survey was also carried out, as shown in Figure 19, in which the score ranged from 0 to 5. The survey reveals that the interviewed staff were well inclined to adopt new tools and processes but not as keen when it came to an entirely new workflow. This may be a small indication of the barrier of negative attitudes toward change, but it could be traced to the barrier of a lack of adequate tools to support specific applications. With the proposed BIM-integrated design program, the user does not need to have specialist knowledge of software, as it has an intuitive interface and the design inputs that engineers often already consider in the realm of steel design. There would be less apprehension due to the costs associated with training, and the ease of use, combined with impressive capability, would hopefully make users more inclined to change.
Figure 19.
Personal inclination survey about the research topic.
The barrier of a lack of established workflows/standards is one of the key elements this research aims to address for automation technologies. Over time and with close industry collaboration, this research could refine a smart engineering workflow that is professionally relevant and demonstrates the power of BIM for such applications in the design phase of MC.
5. Conclusions
Building information modeling (BIM) has been a powerful platform that integrates all the resources required for promoting the implementation of modular construction (MC). However, the design optimization of modular structures is a complex problem in the BIM working mode. An interactive and user-friendly framework integrated into BIM is lacking. This paper presents a method that helps identify the optimal design for modular steel structures by combining different software within the BIM environment and integrating the design standards, structure database, and optimization procedure into the digital modeling program. The developed prototype workflow of the method uses rectangular modules as an example and is tested by a case study to examine its working reliability and practicability. Its potential adoption in the MC industry is also discussed according to interviews with and surveys of engineers involved in the project.
From the study, it can be concluded that (a) the proposed method can, via the developed program, successfully automatically optimize the design of a modular steel structure project; typically, the utilization rate of column structures can be improved by 40–50% using the method; (b) data from different software and the BIM platform can be exchanged smoothly through the method, and results can be visually displayed directly within the BIM platform; and (c) the attitude of people working in the architecture, engineering, and construction (AEC) industry towards the development of such efficient BIM-based tools is positive, but its commercial potential is still full of uncertainty. The proposed method demonstrates the capability of a BIM-based smart engineering process, but the accuracy of such an automated program’s output still depends on deep knowledge and understanding of the actual project conditions, which will lead to suitable inputs and judgment of the results.
Future research on automatic design optimization for MC integrated into BIM will focus on the refinement and feasibility extension of the developed method, including the following: (a) more structural elements can be added to the automated design program to enrich the target projects; new modeling blocks should be defined to match diverse modular structures; (b) it is recommended to consider more complex loading situations; test models, such as wind and seismic tests, can be included by adding modifying instructions; (c) the structure database can be expanded to include more sections, which would be beneficial for the design optimization; (d) other software can be made compatible with the method by developing effective data transformation tools. The workflow of the proposed method could also be made more compliant with the definition of smart engineering by blending computing methods like machine learning and metaheuristic searching to innovate processes of optimization, decision-making, and collaboration.
Author Contributions
Conceptualization, J.K. and Y.H.; methodology, J.K.; software, validation, and formal analysis, J.K. and W.D.; investigation and data curation, J.K.; writing—original draft preparation, J.K.; writing—review and editing, W.D.; supervision, Y.H. All authors have read and agreed to the published version of the manuscript.
Funding
This research received no external funding.
Data Availability Statement
The data presented in this study are contained within the article.
Conflicts of Interest
The authors declare no conflict of interest.
References
- Lu, W.; Chen, K.; Xue, F.; Pan, W. Searching for an optimal level of prefabrication in construction: An analytical framework. J. Clean. Prod. 2018, 201, 236–245. [Google Scholar] [CrossRef]
- Staib, G.; Dörrhöfer, A.; Rosenthal, M. Components and Systems: Modular Construction—Design, Structure, New Technologies; Edition DETAIL; Walter de Gruyter: Berlin, Germany, 2008. [Google Scholar]
- Zhang, J.; Long, Y.; Lv, S.; Xiang, Y. BIM-enabled Modular and Industrialized Construction in China. Procedia Eng. 2016, 145, 1456–1461. [Google Scholar] [CrossRef]
- MOHURD, Development Outline of Informatization in the Construction Industry 2016–2020. Available online: https://www.mohurd.gov.cn/gongkai/zhengce/zhengcefilelib/201609/20160919_228929.html (accessed on 28 May 2023).
- Jaillon, L.; Poon, C. Life cycle design and prefabrication in buildings: A review and case studies in Hong Kong. Autom. Constr. 2014, 39, 195–202. [Google Scholar] [CrossRef]
- Generalova, E.; Generalov, V.; Kuznetsova, A.A. Modular Buildings in Modern Construction. Procedia Eng. 2016, 153, 167–172. [Google Scholar] [CrossRef]
- Lawson, R.M.; Ogden, R.G.; Bergin, R. Application of Modular Construction in High-Rise Buildings. J. Arch. Eng. 2012, 18, 148–154. [Google Scholar] [CrossRef]
- Deng, E.-F.; Yan, J.-B.; Ding, Y.; Zong, L.; Li, Z.-X.; Dai, X.-M. Analytical and numerical studies on steel columns with novel connections in modular construction. Int. J. Steel Struct. 2017, 17, 1613–1626. [Google Scholar] [CrossRef]
- English, S.; Brown, P.-E.; Brown, B. An Introduction to Steel and Concrete Modular Construction, 1st Residential Building Design & Construction Conference. Bethlehem 2013, 20–21. Available online: https://www.phrc.psu.edu/assets/docs/Publications/2013RBDCCPapers/English-2013-RBDCC.pdf (accessed on 28 May 2023).
- Yin, X.; Liu, H.; Chen, Y.; Al-Hussein, M. Building information modelling for off-site construction: Review and future directions. Autom. Constr. 2019, 101, 72–91. [Google Scholar] [CrossRef]
- Kamali, M.; Hewage, K. Life cycle performance of modular buildings: A critical review. Renew. Sustain. Energy Rev. 2016, 62, 1171–1183. [Google Scholar] [CrossRef]
- Gibb, A.; Isack, F. Re-engineering through pre-assembly: Client expectations and drivers. Build. Res. Inf. 2003, 31, 146–160. [Google Scholar] [CrossRef]
- Jaillon, L.; Poon, C.S.; Chiang, Y.H. Quantifying the waste reduction potential of using prefabrication in building construction in Hong Kong. Waste Manag. 2009, 29, 309–320. [Google Scholar] [CrossRef]
- Cao, X.; Li, X.; Zhu, Y.; Zhang, Z. A comparative study of environmental performance between prefabricated and traditional residential buildings in China. J. Clean. Prod. 2015, 109, 131–143. [Google Scholar] [CrossRef]
- Chiu, S.T.-L. An Analysis on the Potential of Prefabricated Construction Industry. 2012. Available online: http://hdl.handle.net/2429/42792 (accessed on 28 May 2023).
- Kamali, M.; Hewage, K. Development of performance criteria for sustainability evaluation of modular versus conventional construction methods. J. Clean. Prod. 2017, 142, 3592–3606. [Google Scholar] [CrossRef]
- Wai, C.T.; Yi, P.W.; Olanrewaju, O.I.; Abdelmageed, S.; Hussein, M.; Tariq, S.; Zayed, T. A critical analysis of benefits and challenges of implementing modular integrated construction. Int. J. Constr. Manag. 2021, 23, 656–668. [Google Scholar] [CrossRef]
- Lawson, M.; Ogden, R.; Goodier, C. Design in Modular Construction, 1st ed; CRC Press: London, UK, 2014. [Google Scholar] [CrossRef]
- Lacey, A.W.; Chen, W.; Hao, H.; Bi, K. Structural response of modular buildings—An overview. J. Build. Eng. 2018, 16, 45–56. [Google Scholar] [CrossRef]
- Gorgolewski, M.T.; Grubb, P.J.; Lawson, R.M. Modular Construction using Light Steel Framing: Design of Residential Buildings. 2001. Available online: https://www.steelconstruction.info/images/2/2f/SCI_P302.pdf (accessed on 28 May 2023).
- Liew, R.J.; Dai, Z.; Chau, Y.S. Steel Concrete Composite Systems for Modular Construction of High-rise Buildings. In Proceedings of the 12th International Conference on Advances in Steel-Concrete Composite Structures—ASCCS 2018; Universitat Politècnica València: Valencia, Spain, 2018. [Google Scholar] [CrossRef]
- Liu, X.; Pu, S.; Zhang, A.; Xu, A.; Ni, Z.; Sun, Y.; Ma, L. Static and seismic experiment for bolted-welded joint in modularized prefabricated steel structure. J. Constr. Steel Res. 2015, 115, 417–433. [Google Scholar] [CrossRef]
- Park, K.-S.; Moon, J.; Lee, S.-S.; Bae, K.-W.; Roeder, C.W. Embedded steel column-to-foundation connection for a modular structural system. Eng. Struct. 2016, 110, 244–257. [Google Scholar] [CrossRef]
- Özkılıç, Y.O. Cyclic and monotonic performance of stiffened extended end-plate connections with large-sized bolts and thin end-plates. Bull. Earthq. Eng. 2022, 20, 7441–7475. [Google Scholar] [CrossRef]
- Özkılıç, Y.O.; Bozkurt, M.B. Numerical validation on novel replaceable reduced beam section connections for moment-resisting frames. Structures 2023, 50, 63–79. [Google Scholar] [CrossRef]
- Özkılıç, Y.O. Cyclic and monotonic performance of unstiffened extended end-plate connections having thin end-plates and large-bolts. Eng. Struct. 2023, 281, 115794. [Google Scholar] [CrossRef]
- Lu, N.; Liska, R.W. Designers’ and General Contractors’ Perceptions of Offsite Construction Techniques in the United State Construction Industry. Int. J. Constr. Educ. Res. 2008, 4, 177–188. [Google Scholar] [CrossRef]
- Said, H. Prefabrication Best Practices and Improvement Opportunities for Electrical Construction. J. Constr. Eng. Manag. 2015, 141, 04015045. [Google Scholar] [CrossRef]
- Li, X.; Shen, G.Q.; Wu, P.; Yue, T. Integrating Building Information Modeling and Prefabrication Housing Production. Autom. Constr. 2019, 100, 46–60. [Google Scholar] [CrossRef]
- Bryde, D.; Broquetas, M.; Volm, J.M. The project benefits of Building Information Modelling (BIM). Int. J. Proj. Manag. 2013, 31, 971–980. [Google Scholar] [CrossRef]
- Ernstrom, B.; Hanson, D. The Contractor’s Guide to BIM, 2nd ed; Associated General Contractors of America: Arlington, VI, USA, 2008. [Google Scholar]
- Singh, M.M.; Sawhney, A.; Borrmann, A. Modular Coordination and BIM: Development of Rule Based Smart Building Components. Procedia Eng. 2015, 123, 519–527. [Google Scholar] [CrossRef]
- Skilton, M.; Hovsepian, F. The 4th Industrial Revolution: Responding to the Impact of Artificial Intelligence on Business; Palgrave Macmillan: Cham, Switzerland, 2017. [Google Scholar]
- Niu, Y.; Lu, W.; Chen, K.; Huang, G.G.; Anumba, C. Smart Construction Objects. J. Comput. Civ. Eng. 2016, 30, 04016103. [Google Scholar] [CrossRef]
- Chen, K.; Xu, G.; Xue, F.; Zhong, R.Y.; Liu, D.; Lu, W. A Physical Internet-enabled Building Information Modelling System for prefabricated construction. Int. J. Comput. Integr. Manuf. 2017, 31, 349–361. [Google Scholar] [CrossRef]
- Liu, H.; Singh, G.; Lu, M.; Bouferguene, A.; Al-Hussein, M. BIM-based automated design and planning for boarding of light-frame residential buildings. Autom. Constr. 2018, 89, 235–249. [Google Scholar] [CrossRef]
- Oh, M.; Lee, J.; Hong, S.W.; Jeong, Y. Integrated system for BIM-based collaborative design. Autom. Constr. 2015, 58, 196–206. [Google Scholar] [CrossRef]
- Ciribini, A.L.C.; Mastrolembo Ventura, S.; Paneroni, M. Implementation of an interoperable process to optimise design and construction phases of a residential building: A BIM Pilot Project. Autom. Constr. 2016, 71, 62–73. [Google Scholar] [CrossRef]
- Plume, J.; Mitchell, J. Collaborative design using a shared IFC building model—Learning from experience. Autom. Constr. 2007, 16, 28–36. [Google Scholar] [CrossRef]
- Solnosky, R.; Solnosky, R.; Ramaji, I.J. Structural BIM Processes for Modular Multi-Story Buildings in Design and Construction. In Proceedings of the 2nd Residential Building Design & Construction Conference, State College, PA, USA, 19–20 February 2014. [Google Scholar]
- Manrique, J.D.; Al-Hussein, M.; Bouferguene, A.; Nasseri, R. Automated generation of shop drawings in residential construction. Autom. Constr. 2015, 55, 15–24. [Google Scholar] [CrossRef]
- Tan, T.; Chen, K.; Xue, F.; Lu, W. Barriers to Building Information Modeling (BIM) implementation in China’s prefabricated construction: An interpretive structural modeling (ISM) approach. J. Clean. Prod. 2019, 219, 949–959. [Google Scholar] [CrossRef]
- Dynamo: Open Source Graphical Programming for Design. Available online: https://dynamobim.org/ (accessed on 28 May 2023).
- Nawari, N.O. BIM Standard in Off-Site Construction. J. Arch. Eng. 2012, 18, 107–113. [Google Scholar] [CrossRef]
- Chen, Z.; Li, H.; Chen, A.; Yu, Y.; Wang, H. Research on pretensioned modular frame test and simulations. Eng. Struct. 2017, 151, 774–787. [Google Scholar] [CrossRef]
- Nadeem, G.; Safiee, N.A.; Abu Bakar, N.; Karim, I.A.; Nasir, N.A.M. Connection design in modular steel construction: A review. Structures 2021, 33, 3239–3256. [Google Scholar] [CrossRef]
- Deng, E.-F.; Zong, L.; Ding, Y.; Dai, X.-M.; Lou, N.; Chen, Y. Monotonic and cyclic response of bolted connections with welded cover plate for modular steel construction. Eng. Struct. 2018, 167, 407–419. [Google Scholar] [CrossRef]
- Özkılıç, Y.O. The capacities of unstiffened T-stubs with thin plates and large bolts. J. Constr. Steel Res. 2021, 186, 106908. [Google Scholar] [CrossRef]
- Özkılıç, Y.O. The capacities of thin plated stiffened T-stubs. J. Constr. Steel Res. 2021, 186, 106912. [Google Scholar] [CrossRef]
- Australia Engineering Database OneSteel 300PLUS. Available online: https://www.libertygfg.com/media/165356/seventh-edition-hot-rolled-and-structural-steel-productsseventh-edition-hot-rolled-and-structural-steel-products.pdf (accessed on 28 May 2023).
- AS 4100: Steel Structures. 2020. Available online: https://www.standards.org.au/standards-catalogue/sa-snz/building/bd-001/as--4100-colon-2020 (accessed on 28 May 2023).
- Krijnen, T.; Tamke, M. Assessing Implicit Knowledge in BIM Models with Machine Learning. In Modelling Behaviour; Springer International Publishing: Cham, Switzerland, 2015; pp. 397–406. [Google Scholar] [CrossRef]
Disclaimer/Publisher’s Note: The statements, opinions and data contained in all publications are solely those of the individual author(s) and contributor(s) and not of MDPI and/or the editor(s). MDPI and/or the editor(s) disclaim responsibility for any injury to people or property resulting from any ideas, methods, instructions or products referred to in the content. |
© 2023 by the authors. Licensee MDPI, Basel, Switzerland. This article is an open access article distributed under the terms and conditions of the Creative Commons Attribution (CC BY) license (https://creativecommons.org/licenses/by/4.0/).



















