Numerical Design of the Roof Structure of a Vehicle Charging Carport Based on the Dragonfly Wing Grid Pattern
Abstract
1. Introduction
2. Research Objects and Methods
2.1. Research Objects
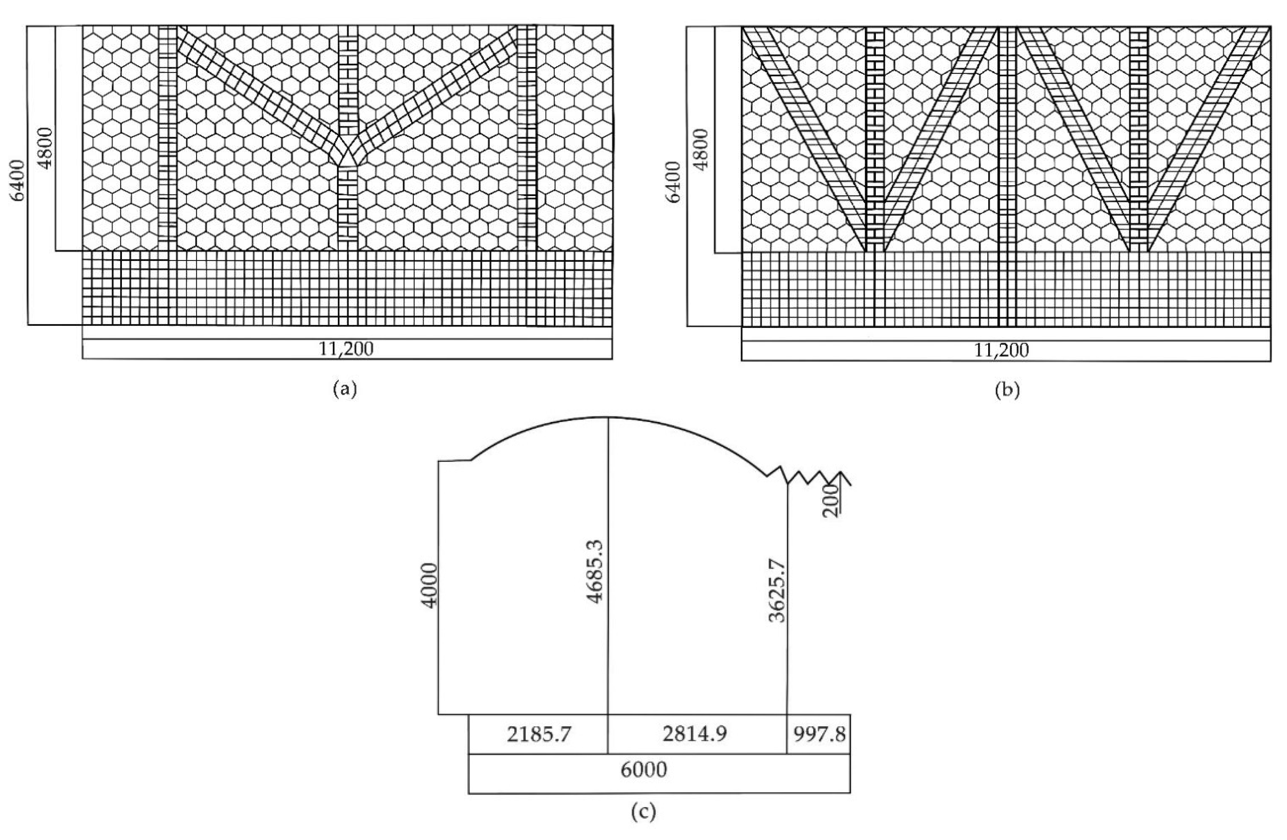
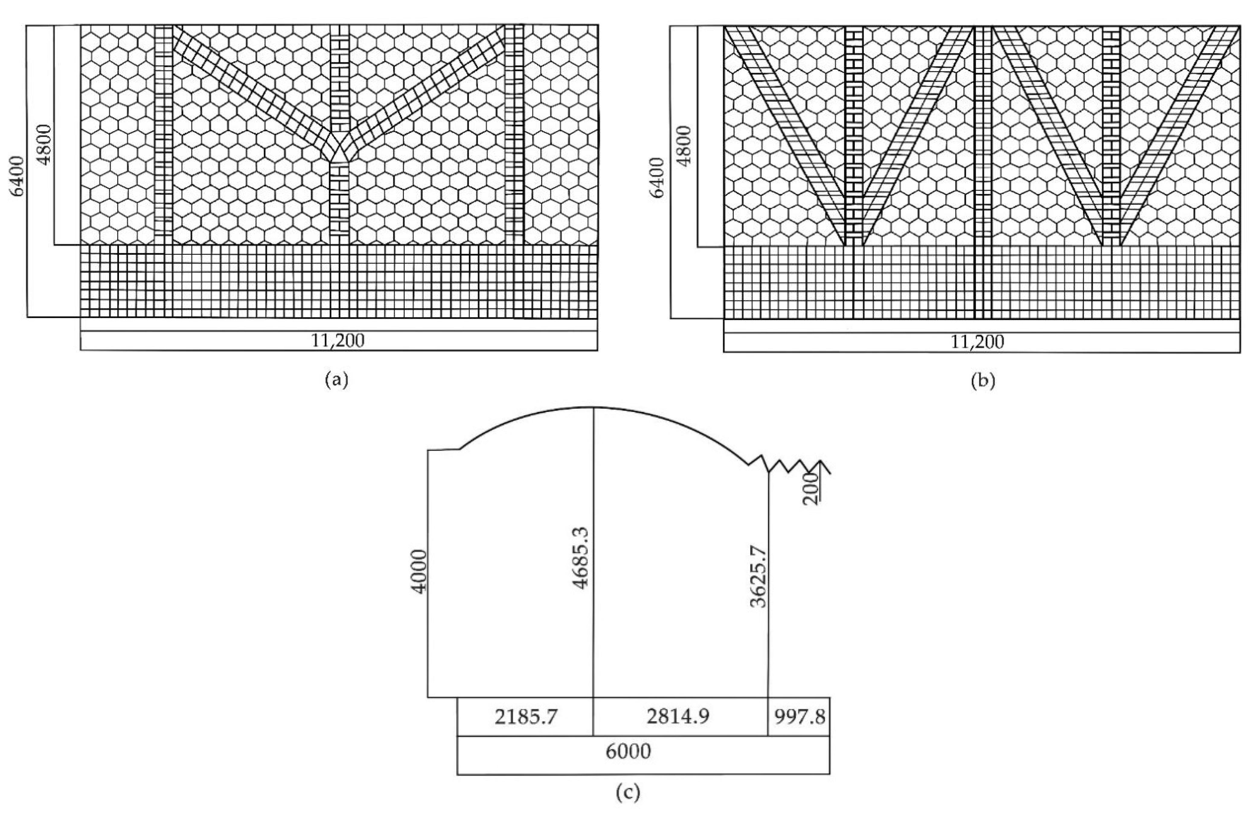
2.1.1. Modeling of Biomimetic Dragonfly Wing Mesh Structure
2.1.2. Establishing the Foundation Model of New Energy Vehicle Charging Post Carport
2.1.3. Existing Carport Modeling
2.1.4. New Energy Vehicle Charging Post Carport Material Characteristics
2.2. Experimental Simulation Method and Detail Setting
2.2.1. Load Experimental Analysis Method
2.2.2. Simulation Details
- a.
- Comparison of maximum deflection under the dead weight of the two models under the same uniformly distributed load.
- b.
- Comparison of tensile and compressive stresses under the dead weight and external uniformly distributed load.
- c.
- Comparison of the maximum deflection values of the skeleton and membrane cloth under the action of the dead weight.
- d.
- Comparison of the maximum deflection, tensile stress and compressive stress under the dead weight and external uniformly distributed load.
2.2.3. Expected Model Shed Roof Deformation
3. Results
3.1. Mechanical Comparison of New Energy Vehicle Charging Post Carport Models
3.1.1. New Energy Vehicle Charging Post Carport Model I Mechanical Comparison
3.1.2. Mechanical Comparison of the New Energy Vehicle Charging Post Carport Model II
3.2. Overall Performance Analysis of New Energy Vehicle Charging Post Carport Model
3.2.1. Analysis of the Overall Behavior of the Carport Model Structure in the Limit State
3.2.2. Analysis of the Overall Behavior of the Carport Model Structure in the Conventional State
- a.
- Stress analysis of the carport structure under the GK load. Figure 21 shows the total stresses of carport I and carport II under the GK load. Figure 22 shows the total stresses of carport I and carport II under the Gk + QW load. Figure 23 shows the total stresses of carport I and carport II under the Gk + 0.85 QS + QW load.
- b.
- Structural performance analysis of the carport under the Gk + QW load. Figure 22 shows the total stresses of carport one and carport two under the Gk + QW load.
- c.
- Structural performance analysis of the carport under the Gk + 0.85 QS + QW load. Figure 23 shows the total stresses of carport one and carport two under the Gk + 0.85 QS + QW load.
- a.
- The combined displacement diagram of carport I and carport II under the GK load.Figure 24 shows the maximum displacement diagram of carport I and carport II under the Gk load.
- b.
- Structural performance analysis of the carport under the Gk + QW load.Figure 25 shows the maximum displacement diagram of carport I and carport II under the Gk + QW load.
- c.
- Structural performance analysis of the carport under the Gk + 0.85 QS + QW load.Figure 26 shows the maximum displacement diagram of carport I and carport II under the Gk + 0.85 QS + QW load.
3.3. Constraints on the Optimal Design of Structural Stiffness of New Energy Vehicle Charging Pile Carport
3.4. Stiffness Comparison between the Study Model and the Existing Carport
4. Discussion
4.1. Static Load of the New Energy Vehicle Charging Pile Carport Model
4.2. The Ultimate Bearing Capacity of the New Energy Vehicle Charging Pile Shed Model
4.3. Conventional Load-Bearing Capacity of New Energy Vehicle Charging Pile Carport Model
4.4. The Deflection of the New Energy Vehicle Charging Post Carport
4.5. Comparison of Different Types of Carport Stiffness
5. Conclusions
- Under a constant load, the stiffness of the membrane-covered carport is significantly higher than that of the skeleton-covered carport, and the displacement values of both show a decreasing trend.
- Under the permanent and external uniformly distributed load, model 1 exhibits better compression resistance and higher stress values compared to model 2. The maximum displacement of both models under uniform load occurs at the front edge of the carport. In the stress plot, it is observed that both carports transfer the force to the corrugated structure, which bears the main load.
- The stability performance of the carports decreases as the bearing capacity increases under different operating conditions. Three types of extreme loads were studied and designed, and it was found that, under the ultimate strength limit state, the displacement values of both carports increased linearly with the increase of the load.
- The displacement values under the load of 1.2 GK + 1.4 QL + 1.4 × 0.85 QW show a significant increase, indicating that the key load in the ultimate strength limit state is the wind load, which acts on the outer surface of the structure rather than inward.
- Under the ultimate load, both carports are within the yield stress of the steel members, indicating that both carports meet the requirements of the carport under adverse conditions. The structural displacement is controlled by the gravitational load, and the total displacement is located at the front of the carport.
- Based on the actual situation, we added pillars at the force-bearing points of the carport and found that it greatly improved the rigidity of the carport.
- Field measurements and modeling were conducted on two common membrane-structure carports. The results showed that our newly designed model for the new energy vehicle charging station carport had stronger stability and compressive performance compared to conventional flat-top and gable-top carports.
Author Contributions
Funding
Data Availability Statement
Acknowledgments
Conflicts of Interest
References
- Chen, J.; Ma, K.J.; Xiao, J.C.; Wei, Y.H.; Chen, H.N.; Lu, Y.Q. Prefabricated construction process and unloading monitoring of space steel grid cassettle structure multi-storey large-span gymnasium. Int. J. Electr. Eng. Educ. 2021, 1–12. [Google Scholar] [CrossRef]
- Huang, W.; Wu, C.; Hu, J.; Gao, W. Weaving structure: A bending-active gridshell for freeform fabrication. Autom. Constr. 2022, 136, 114804. [Google Scholar] [CrossRef]
- Tahmasebinia, F.; Ma, Y.; Joshua, K.; Sepasgozar, S.; Yu, Y.; Li, J.; Sepasgozar, S.; Marroquin, F. Sustainable Architecture Creating Arches Using a Bamboo Grid Shell Structure: Numerical Analysis and Design. Sustainability 2021, 13, 2598. [Google Scholar] [CrossRef]
- Mahphood, A.; Arefi, H. Grid-based building outline extraction from ready-made building points. Autom. Constr. 2022, 139, 104321. [Google Scholar] [CrossRef]
- Ozkal, F.A.; Cakir, F.; Arkun, A. Finite element method for optimum design selection of carport structures under multiple load cases. Adv. Prod. Eng. Manag. 2016, 11, 287–298. [Google Scholar]
- Rezvani Tavakol, M.; Yarmohammad Tooski, M.; Jabbari, M.; Javadi, M. Effect of graphene nanoparticles on the strength of sandwich structure inspired by dragonfly wings under low-velocity impact. Polym. Compos. 2021, 42, 5249–5264. [Google Scholar] [CrossRef]
- Wang, Y.; He, X.; He, G.; Wang, Q.; Chen, L.; Liu, X. Aerodynamic performance of the flexibility of corrugated dragonfly wings in flapping flight. Acta Mech. Sin. 2022, 38, 322038. [Google Scholar] [CrossRef]
- Wang, C.; Zhang, R.; Zhou, C.; Sun, Z. Numerical Investigation on Flapping Aerodynamic Performance of Dragonfly Wings in Crosswind. Int. J. Aerosp. Eng. 2020, 2020, 7325154. [Google Scholar] [CrossRef]
- Xu, J.; Liu, T.; Zhang, Y.; Zhang, Y.; Wu, K.; Lei, C.; Fu, Q.; Fu, J. Dragonfly wing-inspired architecture makes a stiff yet tough healable material. Matter 2021, 4, 2474–2489. [Google Scholar] [CrossRef]
- Mintchev, S.; Shintake, J.; Floreano, D. Bioinspired dual-stiffness origami. Sci. Robot. 2018, 3, eaau0275. [Google Scholar] [CrossRef] [PubMed]
- Li, X.-J.; Zhang, Z.-H.; Liang, Y.-H.; Ren, L.-Q.; Jie, M.; Yang, Z.-G. Antifatigue properties of dragonflyPantala flavescenswings. Microsc. Res. Tech. 2014, 77, 356–362. [Google Scholar] [CrossRef]
- Bysiec, D. Sustainable Shaping of Lightweight Structures Created According to Different Methods. Sustainability 2023, 15, 3236. [Google Scholar] [CrossRef]
- Dede, T.; Atmaca, B.; Grzywinski, M.; Rao, R.V. Optimal design of dome structures with recently developed algorithm: Rao series. Structures 2022, 42, 65–79. [Google Scholar] [CrossRef]
- Degertekin, S.O.; Bayar, G.Y.; Lamberti, L. Parameter free Jaya algorithm for truss sizing-layout optimization under natural frequency constraints. Comput. Struct. 2021, 245, 106461. [Google Scholar] [CrossRef]
- Feng, S.; Zhang, W.; Meng, L.; Xu, Z.; Chen, L. Stiffener layout optimization of shell structures with B-spline parameterization method. Struct. Multidiscip. Optim. 2021, 63, 2637–2651. [Google Scholar] [CrossRef]
- Pavlovic, A.; Sintoni, D.; Fragassa, C.; Minak, G. Multi-Objective Design Optimization of the Reinforced Composite Roof in a Solar Vehicle. Appl. Sci. 2020, 10, 2665. [Google Scholar] [CrossRef]
- Li, N.; Zhang, D.-Q.; Liu, H.-T.; Li, T.-J. Optimal design and strength reliability analysis of pressure shell with grid sandwich structure. Ocean Eng. 2021, 223, 108657. [Google Scholar] [CrossRef]
- Liu, F.; Feng, R.; Tsavdaridis, K.D.; Yan, G. Designing efficient grid structures considering structural imperfection sensitivity. Eng. Struct. 2019, 204, 109910. [Google Scholar] [CrossRef]
- Arruda, M.R.T.; Castro, L.M.S. Non-linear dynamic analysis of reinforced concrete structures with hybrid mixed stress finite elements. Adv. Eng. Softw. 2021, 153, 102965. [Google Scholar] [CrossRef]
- Elsanadedy, H.M.; Al-Salloum, Y.A.; Alrubaidi, M.A.; Almusallam, T.H.; Abbas, H. Finite element analysis for progressive collapse potential of precast concrete beam-to-column connections strengthened with steel plates. J. Build. Eng. 2020, 34, 101875. [Google Scholar] [CrossRef]
- Pallares-Muñoz, M.R.; Paya-Zaforteza, I.; Hospitaler, A. A new methodology using beam elements for the analysis of steel frames subjected to non-uniform temperatures due to fires. Structures 2021, 31, 462–483. [Google Scholar] [CrossRef]
- Yu, P.; Yang, Q.; Law, S.-S. Lateral behavior of heritage timber frames with loose nonlinear mortise-tenon connections. Structures 2021, 33, 581–592. [Google Scholar] [CrossRef]
- Bagha, A.A.K.; Bahl, S. Finite element analysis of VGCF/pp reinforced square representative volume element to predict its mechanical properties for different loadings. Mater. Today Proc. 2020, 39, 54–59. [Google Scholar] [CrossRef]
- Dandekar, K.; Raju, B.I.; Srinivasan, M.A. 3-D Finite-Element Models of Human and Monkey Fingertips to Investigate the Mechanics of Tactile Sense. J. Biomech. Eng. 2003, 125, 682–691. [Google Scholar] [CrossRef]
- Zaid, M.; Mishra, S.; Rao, K.S. Finite Element Analysis of Static Loading on Urban Tunnels; Springer: Singapore, 2020. [Google Scholar]
- Hou, D.; Zhong, Z. Comparative analysis of deformation behaviors of dragonfly wing under aerodynamic and inertial forces. Comput. Biol. Med. 2022, 145, 105421. [Google Scholar] [CrossRef] [PubMed]
- Xu, F.; Wang, J.; Hua, L. Multi-objective biomimetic optimization design of stiffeners for automotive door based on vein unit of dragonfly wing. Proc. Inst. Mech. Eng. Part C J. Mech. Eng. Sci. 2021, 236, 4551–4564. [Google Scholar] [CrossRef]
- GB 50009-2012; Code for Structural Loading of Buildings. Ministry of Housing and Urban-Rural Development: Beijing, China, 2012.
- Suizi, J.; Wanlin, C.; Yuchen, Z. Low reversed cyclic loading tests for integrated precast structure of lightweight wall with single-row reinforcement under a lightweight steel frame. R. Soc. Open Sci. 2018, 5, 180321. [Google Scholar] [CrossRef] [PubMed]
- Tartaglia, R.; Milone, A.; Prota, A.; Landolfo, R. Seismic Retrofitting of Existing Industrial Steel Buildings: A Case-Study. Materials 2022, 15, 3276. [Google Scholar] [CrossRef]
- Wang, Z. Integral Fire Protection Analysis of Complex Spatial Steel Structure Based on Optimized Gaussian Transformation Model. Comput. Intell. Neurosci. 2022, 2022, 6127225. [Google Scholar] [CrossRef]
- Balasbaneh, A.T.; Ramli, M.Z. A comparative life cycle assessment (LCA) of concrete and steel-prefabricated prefinished volumetric construction structures in Malaysia. Environ. Sci. Pollut. Res. Int. 2020, 27, 43186–43201. [Google Scholar] [CrossRef]
- He, Y.; Zhu, M.; Zhao, Y.; Li, X. Influence of different cable–membrane connection models on wind-induced responses of an air supported membrane structure with orthogonal cable net. Thin Walled Struct. 2022, 180, 109840. [Google Scholar] [CrossRef]
- Zhang, C.; Yang, J.; Li, Y.; Song, J.; Guo, J.; Fang, Y.; Yang, X.; Yang, Q.; Wang, D.; Deng, X. Vapor–Liquid Transition-Based Broadband Light Modulation for Self-Adaptive Thermal Management. Adv. Funct. Mater. 2022, 32, 48. [Google Scholar] [CrossRef]
- Tian, G.; Fan, Y.; Gao, M.; Wang, H.; Zheng, H.; Liu, J.; Liu, C. Indoor thermal environment of thin membrane structure Buildings: A review. Energy Build. 2021, 234, 110704. [Google Scholar] [CrossRef]
- Zhang, X.; Gao, W.; Li, Y.; Wang, Z.; Ushifusa, Y.; Ruan, Y. Operational Performance and Load Flexibility Analysis of Japanese Zero Energy House. Int. J. Environ. Res. Public Health 2021, 18, 6782. [Google Scholar] [CrossRef]
- Segarra, E.L.; Ruiz, G.R.; Bandera, C.F. Probabilistic Load Forecasting for Building Energy Models. Sensors 2020, 20, 6525. [Google Scholar] [CrossRef] [PubMed]
- Xu, J.; Xu, H.; Zeng, C.; Xie, C.; Guo, J. CFD simulation study on wind load of perforated traffic sign board. PLoS ONE 2020, 15, e0240927. [Google Scholar] [CrossRef]
- Cheon, D.J.; Kim, Y.C.; Lee, J.H.; Yoon, S.W. Experimental Investigation of Wind Pressure Characteristics for Cladding of Dome Roofs. Materials 2021, 14, 5266. [Google Scholar] [CrossRef] [PubMed]
- Domede, N.; Pena, L.; Fady, N. Historical review of lighthouse design under wind load: The Ile Vierge lighthouse. Philos. Trans. R. Soc. A Math. Phys. Eng. Sci. 2019, 377, 20190167. [Google Scholar] [CrossRef]
- Aksoylu, C.; Özkılıç, Y.O.; Arslan, M.H. Damages on prefabricated concrete dapped-end purlins due to snow loads and a novel reinforcement detail. Eng. Struct. 2020, 225, 111225. [Google Scholar] [CrossRef]
- Milošević, V.S.; Marković, B.L.; Bedon, C. Comparison of Point and Snow Load Deflections in Design and Analysis of Tensile Membrane Structures. Adv. Civ. Eng. 2020, 2020, 8810085. [Google Scholar] [CrossRef]
- Jovanović, B.; Van Coile, R.; Hopkin, D.; Elhami Khorasani, N.; Lange, D.; Gernay, T. Review of Current Practice in Probabilistic Structural Fire Engineering: Permanent and Live Load Modelling. Fire Technol. 2021, 57, 1–30. [Google Scholar] [CrossRef]
- Fu, X.; Li, H.-N.; Li, G.; Dong, Z.-Q. Fragility analysis of a transmission tower under combined wind and rain loads. J. Wind. Eng. Ind. Aerodyn. 2020, 199, 104098. [Google Scholar] [CrossRef]
































| Density (cm3) | Young’s Modulus (E/Gpa) | Poisson’s Ratio (v) | Tensile Strength (σb/MPa) | Yield Strength (pa) |
|---|---|---|---|---|
| 7.85 | 210 | 0.3 | 450 | 235 |
| Density (cm3) | Young’s Modulus (Mpa) | Poisson’s Ratio (v) | Tensile Strength (σb/MPa) | Yield Strength (pa) |
|---|---|---|---|---|
| 2.15 | 280 | 0.307 | 2.53 | 1952 × 104 |
| Standard Value (KN/m2) | Coefficient of Combination Value ψc | Coefficient of Frequent Occurrence ψf | Quasi-Permanent Coefficient ψq |
|---|---|---|---|
| 0.7 | 0.8 | 0.7 | 0.0 |
| Working Condition of the Serial Number | Strength Limit State | Normal Use Limit State |
|---|---|---|
| 1 | 1.2 Gk + 1.4 Qw | GK |
| 2 | 1.2 Gk + 1.4 QL + 1.4 × 0.85 QW | Gk + QW |
| 3 | 1.2 Gk + 1.4 × 0.85 QS + 1.4 QW | Gk + 0.85 QS + QW |
| Model | Load Analysis | Film-Containing Cloth (without Considering Stress Stiffening) | Film-Containing Cloth (Considering Stress Stiffening) |
|---|---|---|---|
| Model I | Maximum deflection value under permanent load (mm) | 122.6 | 120.4 |
| Maximum deflection value under permanent plus external load (mm) | 246.2 | 235.1 | |
| Maximum tensile stress of the rod under the action of permanent plus external load (Mpa) | 99.6 | 98.2 | |
| Maximum compressive stress of the rod under the action of permanent plus external load (Mpa) | 96.5 | 93.4 | |
| Model II | Maximum deflection value under permanent load (mm) | 195.6 | 190.3 |
| Maximum deflection value under permanent plus external load (mm) | 286.3 | 274.3 | |
| Maximum tensile stress of the rod under the action of permanent plus external load (Mpa) | 100.4 | 99.4 | |
| Maximum compressive stress of the rod under the action of permanent plus external load (Mpa) | 111.2 | 100.6 |
| Carport I Load | X-Axis | Y-Axis | Z-Axis | Combined Displacement |
|---|---|---|---|---|
| 1.2 Gk + 1.4 Qw | 39.07 | 18.39 | 1.241 | 190.9 |
| 1.2 Gk + 1.4 QL + 1.4 × 0.85 QW | 61.05 | 28.54 | 2.032 | 306.9 |
| 1.2 Gk + 1.4 × 0.85 QS + 1.4 QW | 48.52 | 22.74 | 1.574 | 239.9 |
| Carport II | 52.59 | 27.26 | 1.666 | 251.8 |
| 76.02 | 39.22 | 2.521 | 375.9 | |
| 62.71 | 32.44 | 2.027 | 304.4 |
| Carport I Load | X-Axis | Y-Axis | Z-Axis | Combined Displacement |
|---|---|---|---|---|
| Gk | 33.08 | 15.54 | 1.307 | 160.1 |
| Gk + QW | 32.8 | 15.4 | 1.03 | 158.9 |
| Gk + 0.85 QS + QW | 39.66 | 18.54 | 1.265 | 193.8 |
| Carport II | 44.51 | 22.96 | 1.387 | 210.7 |
| 44.25 | 22.84 | 1.383 | 209.5 | |
| 51.65 | 26.59 | 1.637 | 246.9 |
| Load | Bionic Structure of Dragonfly Wings | Flat-Top Membrane | Cap-Top Membrane |
|---|---|---|---|
| 1.2 Gk + 1.4 Qw | 190.9 | 248.4 | 236.2 |
| 1.2 Gk + 1.4 QL + 1.4 × 0.85 QW | 306.9 | 480.7 | 434.5 |
| 1.2 Gk + 1.4 × 0.85 QS + 1.4 QW | 239.9 | 369.4 | 326.7 |
| Stress Value Load | |||
| 1.2 Gk + 1.4 Qw | 91.94 | 146.2 | 124.8 |
| 1.2 Gk + 1.4 QL + 1.4 × 0.85 QW | 147.5 | 164.2 | 151.9 |
| 1.2 Gk + 1.4 × 0.85 QS + 1.4 QW | 115.5 | 132.8 | 128.4 |
Disclaimer/Publisher’s Note: The statements, opinions and data contained in all publications are solely those of the individual author(s) and contributor(s) and not of MDPI and/or the editor(s). MDPI and/or the editor(s) disclaim responsibility for any injury to people or property resulting from any ideas, methods, instructions or products referred to in the content. |
© 2023 by the authors. Licensee MDPI, Basel, Switzerland. This article is an open access article distributed under the terms and conditions of the Creative Commons Attribution (CC BY) license (https://creativecommons.org/licenses/by/4.0/).
Share and Cite
Mei, X.; Liu, C.; Wang, X.; Wei, Y. Numerical Design of the Roof Structure of a Vehicle Charging Carport Based on the Dragonfly Wing Grid Pattern. Buildings 2023, 13, 1071. https://doi.org/10.3390/buildings13041071
Mei X, Liu C, Wang X, Wei Y. Numerical Design of the Roof Structure of a Vehicle Charging Carport Based on the Dragonfly Wing Grid Pattern. Buildings. 2023; 13(4):1071. https://doi.org/10.3390/buildings13041071
Chicago/Turabian StyleMei, Xiaoqing, Chajuan Liu, Xinxia Wang, and Yangyang Wei. 2023. "Numerical Design of the Roof Structure of a Vehicle Charging Carport Based on the Dragonfly Wing Grid Pattern" Buildings 13, no. 4: 1071. https://doi.org/10.3390/buildings13041071
APA StyleMei, X., Liu, C., Wang, X., & Wei, Y. (2023). Numerical Design of the Roof Structure of a Vehicle Charging Carport Based on the Dragonfly Wing Grid Pattern. Buildings, 13(4), 1071. https://doi.org/10.3390/buildings13041071

