Justification of an Energy-Efficient Air Purification System in Subways Based on Air Dust Content Studies
Abstract
:1. Introduction
- −
- For fine particles PM2.5 (absorbable into blood)—the daily average value is no more than 20 µg/m3 and the average annual value is no more than 10 µg/m3;
- −
- For coarse particles PM10 (can penetrate in lungs)—the daily average value is no more than 50 µg/m3 and the average annual value is no more than 25 µg/m3.
Literature Review
2. Methods
3. Results
- −
- Number of dust particles, units/L;
- −
- The volume of dust concentration, µg/m3.
- −
- The percentage of dust particles by their diameters relative to the total volume, q, %, and the percentage of dust particles smaller than a certain diameter, Q, %;
- −
- The metal mass concentration, Cm, mg/kg;
4. Discussion
- −
- Raiymbek Batyr: PM2.5—92 µg/m3 (higher than the WOS allowable daily average value by 4.6 times), PM10—224 µg/m3 (higher than the allowable daily average value by 4.48 times);
- −
- Almaty: PM2.5—143 µg/m3 (higher than the allowable daily average value by 7.15 times), PM10—315 µg/m3 (higher than the allowable daily average value by 6.3 times);
- −
- Baikonyr: PM2.5—153 µg/m3 (higher than the allowable daily average value by 7.65 times), PM10—309 µg/m3 (higher than the allowable daily average value by 6.18 times);
- −
- Alatau: PM2.5—116 µg/m3 (higher than the allowable daily average value by 5.8 times), PM10—230 µg/m3 (higher than the allowable daily average value by 4.6 times).
5. Conclusions
- The article substantiates the use of an energy-efficient air purification from dust system installed in a ventilation failure in the subway, through which air movement is carried out due to air flows from the piston action of trains.
- The research results are correct for subways with single-track tunnels and open-type stations.
- In situ measurements of fine dust parameters have been accomplished at four stations of the Almaty Metro.
- The concentration and the number of particles of fine dust in subway air greatly exceed these values in outside air. Accordingly, the main sources of dust exist inside the subways, and cleaning of incoming air at the air intake points can only insignificantly reduce the dust concentration in subway air.
- The dust concentrations in the air at the subway stations exceed the effective rates and WHO recommendations by 4.6–7.65 and 4.6–6.3 times in terms of particulate dust matters PM2.5 and PM10, respectively. The average density of dust is 3639 kg/m3. The elemental composition of dust is mostly oxides of iron, Fe, and lesser oxides of silicon, Si, sodium, Na and calcium, Ca, which is reflective of the dust sources represented by train brake shoes, eroded surfaces of metal works and reinforced concrete tubing in tunnels. Some dust comes in the subway on passenger shoes.
- The dust concentration has the highest value at the passenger platforms in subways. This is connected with the fact that a passenger platform lies in an air circulation loop generated by air flows through the tunnels and adjacent stations. These areas are the main generators and accumulators of dust as these circulation loops involve little fresh air. Therefore, it is most efficient to trap dust and to reduce dust concentration immediately at the points of dust generation—in tunnels, at stations and in ventilation connections.
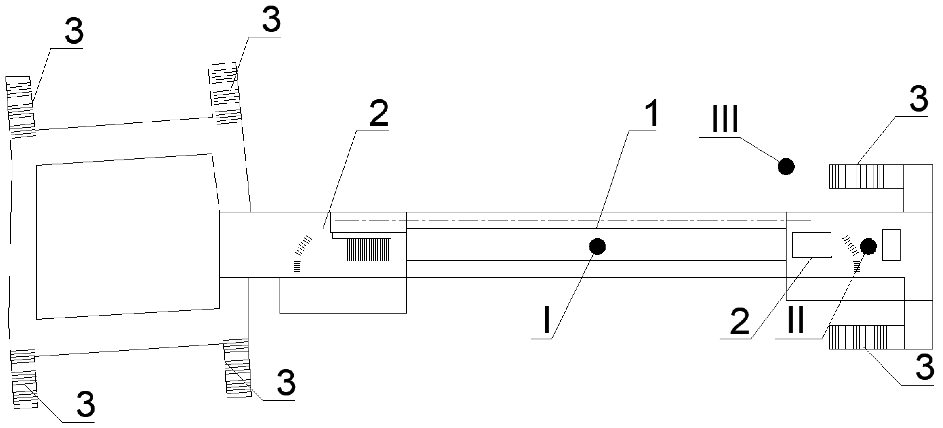
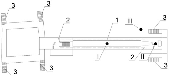
- It is proposed to place filtration equipment in the station ventilation connections as they are involved in the air circulation loops, and this contributes to multiple passages of one and the same air volumes through the connections. Moreover, filters placed in the station ventilation connections do not clog the train movement.
- Air flows through ventilation connections greatly affect the operation of the filtration equipment placed there. In cases wherein air flows under the piston effect only, the filtration equipment should possess a sufficiently low air resistance to have no influence on air distribution in the subway. For this reason, it is suggested to install inertial and electrostatic filters in ventilation connections.
- Alongside the filtration equipment, it is possible to place air flow controllers (ventilation valves) and adiabatic cooling systems for tunnel air in ventilation connections. In this manner, a station ventilation connection serves an important component of the integrated air handling systems in subways.
- A preliminary assessment of the energy efficiency of the proposed method of air purification from dust has been carried out; with a frequency of 24 pairs of trains per hour, energy savings will amount to 240,170 kWh per year per ventilation failure.
- The in situ testing results work as the source data for numerical modeling of dust trapping by the filters with a view to their design and improvement.
Author Contributions
Funding
Data Availability Statement
Acknowledgments
Conflicts of Interest
References
- WHO. WHO Air Quality Guidelines. Solid Particles, Ozone, Nitrogen Dioxide and Sulfur Dioxide. Global Updates. 2005; World Health Organization: Geneva, Switzerland, 2006; 31p. [Google Scholar]
- WHO. WHO Global Air Quality Guidelines. Particulate Matter (PM2.5 and PM10), Ozone, Nitrogen Dioxide, Sulfur Dioxide and Carbon Monoxide; World Health Organization: Geneva, Switzerland, 2021; 273p. [Google Scholar]
- Sazonova, A.M. Dust factor of the production environment in subways. In Occupational Health and Safety in Transportation; Russian Research Institute of Transport Hygiene: Saint Petersburg, Russia, 2016; Volume 1, pp. 79–85. [Google Scholar]
- Sachkova, O.S.; Matveeva, T.V.; Zubrev, N.I.; Ustinova, M.V.; Kashintseva, V.L. Health improvement of working conditions for tunnel workers. XXI Century Outcome Past Present Chall. 2018, 7, 145–149. [Google Scholar]
- Kopytenkova, I.I.; Shilova, E.A.; Sazonova, A.M. Integrated approach to biodestructive factors in underground space development. Sci. Sci. Internet J. 2015, 7, 1–16. [Google Scholar]
- Jung, H.-J.; Kim, B.; Malek, M.A.; Koo, Y.S.; Jung, J.H.; Son, Y.-S.; Ro, C.-U. Chemical speciation of size-segregated floor dusts and airborne magnetic particles collected at underground subway stations in Seoul, Korea. J. Hazard. Mater. 2012, 213–214, 331–340. [Google Scholar] [CrossRef] [PubMed]
- Ji, W.; Li, X.; Wang, C. Composition and exposure characteristics of PM2. 5 on subway platforms and estimates of exposure reduction by protective masks. Environ. Res. 2021, 197, 111042. [Google Scholar] [CrossRef] [PubMed]
- Ji, W.; Liu, Z.; Liu, C.; Wang, C.; Li, X. Characteristics of fine particulate matter and volatile organic compounds in subway station offices in China. Build. Environ. 2021, 188, 107502. [Google Scholar] [CrossRef]
- Roy, D.; Seo, Y.-C.; Namgung, H.-G.; Kwon, S.-B. Inhalation cancer risk from PM10 in the metropolitan subway stations in Korea. J. Transp. Health 2019, 14, 100580. [Google Scholar] [CrossRef]
- Minguillón, M.C.; Reche, C.; Martins, V.; Amato, F.; de Miguel, E.; Capdevila, M.; Moreno, T. Aerosol sources in subway environments. Environ. Res. 2018, 167, 314–328. [Google Scholar] [CrossRef]
- Font, O.; Moreno, T.; Querol, X.; Martins, V.; Sánchez Rodas, D.; de Miguel, E.; Capdevila, M. Origin and speciation of major and trace PM elements in the Barcelona subway system. Transp. Res. Part D Transp. Environ. 2019, 72, 17–35. [Google Scholar] [CrossRef]
- Park, D.; Oh, M.; Yoon, Y.; Park, E.; Lee, K. Source identification of PM10 pollution in subway passenger cabins using positive matrix factorization. Atmos. Environ. 2012, 49, 180–185. [Google Scholar] [CrossRef]
- Lu, S.; Liu, D.; Zhang, W.; Liu, P.; Fei, Y.; Gu, Y.; Wang, Q. Physico-chemical characterization of PM2. 5 in the microenvironment of Shanghai subway. Atmos. Res. 2015, 153, 543–552. [Google Scholar] [CrossRef]
- Xie, Z.; Xiao, Y.; Jiang, C.; Ren, Z.; Li, X.; Yu, K. Numerical research on airflow-dust migration behavior and optimal forced air duct installation position in a subway tunnel during drilling operation. Powder Technol. 2021, 388, 176–191. [Google Scholar] [CrossRef]
- Roy, D.; Ahn, S.H.; Lee, T.K.; Seo, Y.-C.; Park, J. Cancer and non-cancer risk associated with PM10-bound metals in subways. Transp. Res. Part D Transp. Environ. 2020, 89, 102618. [Google Scholar] [CrossRef]
- Yang, S.; Liu, J.; Bi, X.; Ning, Y.; Qiao, S.; Yu, Q.; Zhang, J. Risks related to heavy metal pollution in urban construction dust fall of fast-developing Chinese cities. Ecotoxicol. Environ. Saf. 2020, 197, 110628. [Google Scholar] [CrossRef] [PubMed]
- Figueroa-Lara, J.J.; Murcia-González, J.M.; García-Martínez, R.; Romero-Romo, M.; Torres Rodríguez, M.; Mugica-Álvarez, V. Effect of platform subway depth on the presence of Airborne PM2.5, metals, and toxic organic species. J. Hazard. Mater. 2019, 377, 427–436. [Google Scholar] [CrossRef]
- Qiao, T.; Xiu, G.; Zheng, Y.; Yang, J.; Wang, L.; Yang, J.; Huang, Z. Preliminary investigation of PM1, PM2.5, PM10 and its metal elemental composition in tunnels at a subway station in Shanghai, China. Transp. Res. Part D Transp. Environ. 2015, 41, 136–146. [Google Scholar] [CrossRef]
- Juraeva, M.; Ryu, K.J.; Jeong, S.-H.; Song, D.J. Influences of the train-wind and air-curtain to reduce the particle concentration inside a subway tunnel. Tunn. Undergr. Space Technol. 2016, 52, 23–29. [Google Scholar] [CrossRef]
- Martins, V.; Moreno, T.; Minguillón, M.C.; van Drooge, B.L.; Reche, C.; Amato, F.; Querol, X. Origin of inorganic and organic components of PM 2.5 in subway stations of Barcelona, Spain. Environ. Pollut. 2016, 208, 125–136. [Google Scholar] [CrossRef]
- Mugica-Álvarez, V.; Figueroa-Lara, J.; Romero-Romo, M.; Sepúlveda-Sánchez, J.; López-Moreno, T. Concentrations and properties of airborne particles in the Mexico City subway system. Atmos. Environ. 2012, 49, 284–293. [Google Scholar] [CrossRef]
- Du, T.; Nie, W.; Chen, D.; Xiu, Z.; Yang, B.; Liu, Q.; Guo, L. CFD modeling of coal dust migration in an 8.8-meter-high fully mechanized mining face. Energy 2020, 212, 118616. [Google Scholar] [CrossRef]
- Hua, Y.; Nie, W.; Liu, Q.; Yin, S.; Peng, H. Effect of wind curtain on dust extraction in rock tunnel working face: CFD and field measurement analysis. Energy 2020, 197, 117214. [Google Scholar] [CrossRef]
- Shi, J.; Zhang, W.; Guo, S.; An, H. Numerical modelling of blasting dust concentration and particle size distribution during tunnel construction by drilling and blasting. Metals 2022, 12, 547. [Google Scholar] [CrossRef]
- Stone, L.; Hastie, D.; Zigan, S. Using a coupled CFD–DPM approach to predict particle settling in a horizontal air stream. Adv. Powder Technol. 2019, 30, 869–878. [Google Scholar] [CrossRef]
- Todorov, V.; Dimov, I. Unveiling the Power of Stochastic Methods: Advancements in Air Pollution Sensitivity Analysis of the Digital Twin. Atmosphere 2023, 14, 1078. [Google Scholar] [CrossRef]
- Al-Sakkaf, A.; Bagchi, A.; Zayed, T. Evaluating Life-Cycle Energy Costs of Heritage Buildings. Buildings 2022, 12, 1271. [Google Scholar] [CrossRef]
- Pang, L.; Yang, C.; Cao, X.; Tian, Q.; Li, B. Experimental Investigation of Air Quality in a Subway Station with Fully Enclosed Platform Screen Doors. Int. J. Environ. Res. Public Health 2020, 17, 5213. [Google Scholar] [CrossRef]
- Krasyuk, A.M.; Lugin, I.V.; Pavlov, S.A. Circulatory air rings and their influence on air distribution in shallow subways. J. Min. Sci. 2010, 46, 431–437. [Google Scholar] [CrossRef]
- Krasyuk, A.M.; Lugin, I.V.; Kiyanitsa, L.A.; Unaspekov, B.A.; Irgibaev, T.I.; Berdali, M.N. Technique to Remove Dust from Tunnel Air in Subways. Eurasian Patent No. 041484, 28 October 2022. [Google Scholar]
- Lugin, I.V.; Alferova, E.L. Parameters of equipment of adiabatic cooling systems for air in underground tunnels in subways. J. Fundament. Appl. Min. Sci. 2021, 8, 244–251. [Google Scholar] [CrossRef]










Disclaimer/Publisher’s Note: The statements, opinions and data contained in all publications are solely those of the individual author(s) and contributor(s) and not of MDPI and/or the editor(s). MDPI and/or the editor(s) disclaim responsibility for any injury to people or property resulting from any ideas, methods, instructions or products referred to in the content. |
© 2023 by the authors. Licensee MDPI, Basel, Switzerland. This article is an open access article distributed under the terms and conditions of the Creative Commons Attribution (CC BY) license (https://creativecommons.org/licenses/by/4.0/).
Share and Cite
Irgibayev, T.; Lugin, I.; Kiyanitsa, L. Justification of an Energy-Efficient Air Purification System in Subways Based on Air Dust Content Studies. Buildings 2023, 13, 2771. https://doi.org/10.3390/buildings13112771
Irgibayev T, Lugin I, Kiyanitsa L. Justification of an Energy-Efficient Air Purification System in Subways Based on Air Dust Content Studies. Buildings. 2023; 13(11):2771. https://doi.org/10.3390/buildings13112771
Chicago/Turabian StyleIrgibayev, Tuleukhan, Ivan Lugin, and Lavrentij Kiyanitsa. 2023. "Justification of an Energy-Efficient Air Purification System in Subways Based on Air Dust Content Studies" Buildings 13, no. 11: 2771. https://doi.org/10.3390/buildings13112771
APA StyleIrgibayev, T., Lugin, I., & Kiyanitsa, L. (2023). Justification of an Energy-Efficient Air Purification System in Subways Based on Air Dust Content Studies. Buildings, 13(11), 2771. https://doi.org/10.3390/buildings13112771

