An Energy Dissipating Seismic Connector for Precast Concrete Shear Walls
Abstract
:1. Introduction
2. Objectives and Scope
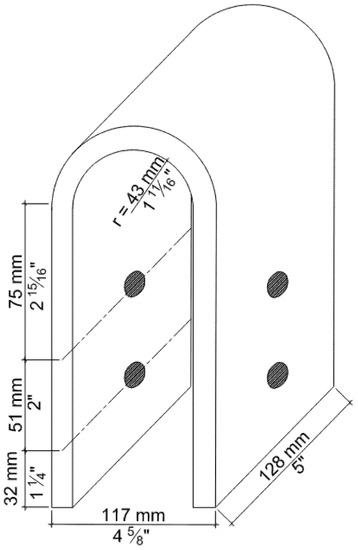
2.1. UFP Connector
2.2. Development of the New Seismic Connector
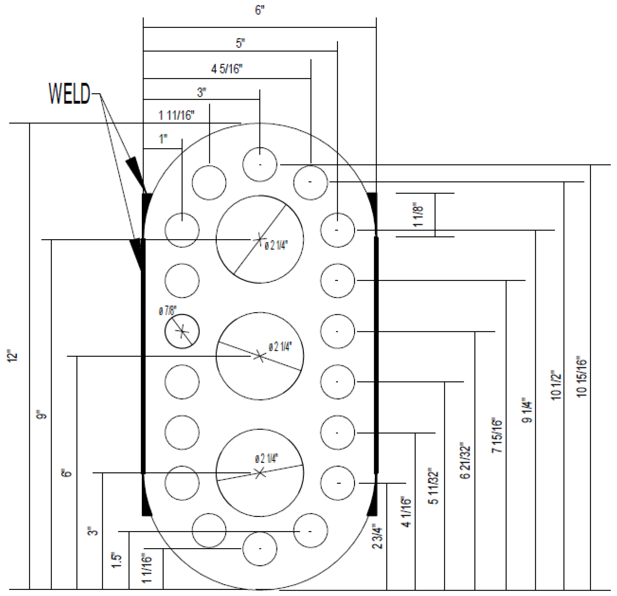
3. Localized Resistance in Concrete Shear Wall
4. Scaled Model Testing of MYZ Device
4.1. FEM Model of Shear Wall Building
4.2. Analysis with Vertical and Horizontal Springs
5. Summary and Conclusions
Author Contributions
Funding
Institutional Review Board Statement
Informed Consent Statement
Data Availability Statement
Acknowledgments
Conflicts of Interest
References
- Aljuboori, M. An Energy Dissipating Seismic Connector for Precast Concrete Shear Walls. Ph.D. Thesis, Department of Civil and Environmental Engineering, University of Wisconsin—Milwaukee, Milwaukee, WI, USA, August 2019. [Google Scholar]
- Basereh, S.; Okumus, P.; Aaleti, S. Reinforced Concrete Shear Walls Retrofitted Using Weakening and Self-Centering: Numerical Modeling. ASCE J. Struct. Eng. 2020, 146, 04020122. [Google Scholar] [CrossRef]
- Conley, J.; Sritharan, S.; Priestley, M.J.N. Precast Seismic Structural Systems PRESSS-3: The Five-Story Precast Building Vol.3-5: Wall Direction Response. Depratment of Structural Engineering, University of California, La Jolla, California. Available online: https://www.pci.org/PCI_Docs/Design_Resources/Guides_and_manuals/references/PRESSS/PRESSS-Phase-3_The-Five-Story-Precast-Test-Building_Vol-3-5_Wall-Direction-Response.pdf (accessed on 1 May 2019).
- Dal Lago, B.; Biondini, F.; Toniolo, G. Seismic performance of precast concrete structures with energy dissipating cladding panel connection systems. Struct. Concr. 2018, 19, 1908–1926. [Google Scholar] [CrossRef]
- Dang, L.; Liang, S.; Zhu, X.; Zhang, M.; Song, Y. Seismic performance of precast concrete wall with vertical energy-dissipating connection. Struct. Des. Tall Spec. Build. 2020, 30, e1820. [Google Scholar] [CrossRef]
- De Stefani, L.; Scotta, R. Seismic Behavior of Precast Buildings with Dissipative Connections. Front. Built Environ. 2021, 7. [Google Scholar] [CrossRef]
- Kelly, J.M.; Skinner, R.I.; Heine, A.J. Mechanism of Energy Absorption in Special Devices for use in Earthquake Resistant Structures. Bull. N. Z. Soc. Earthq. Eng. 1972, 5, 63–88. Available online: https://www.nzsee.org.nz/db/Bulletin/Archive/05(3)0063.pdf (accessed on 1 May 2019). [CrossRef]
- Krawinkler, H. Loading Histories for Cyclic Tests in Support of Performance Assessment; Deptartment of Civil and Environmental Engineering, Stanford University: Stanford, CA, USA, 2009; Available online: https://pdfs.semanticscholar.org/746d/a78be1d328c49ee7683143a6a0bb1d4380d5.pdf (accessed on 1 May 2019).
- Lu, X.L.; Wu, X.H.; Meng, L. Seismic behavior of a new type of seismic energy dissipation shear wall system. Struct. Eng. Mech. 1997, 5, 167–175. [Google Scholar] [CrossRef]
- Priestley, M.J.N. Overview of PRESSS Research Program. PCI J. 1991, 36, 50–57. Available online: https://www.pci.org/PCI/Publications/PCI_Journal/Issues/1991/July-August/Overview_of_PRESSS_Research_Program.aspx?WebsiteKey=5a7b2064-98c2-4c8e-9b4b-18c80973da1e (accessed on 1 May 2019). [CrossRef]
- Schultz, E.A.; Magana, A.R. Seismic Behavior of Connections in Precast Concrete Walls. Int. Concr. Abstr. Portal 1996, 162, 273–312. Available online: https://www.concrete.org/publications/internationalconcreteabstractsportal.aspx?m=details&id=1427 (accessed on 1 May 2019).
- Sritharan, S.; Aaleti, S.; Thomas, D.J. Seismic Analysis and Design of Precast Concrete Jointed Wall Systems; ISU-ERI-Ames Report ERI-07404; Iowa State University of Science and Technology: Ames, IA, USA, 2007; Available online: https://lib.dr.iastate.edu/ccee_reports/1/ (accessed on 1 May 2019).
- Stanton, J.F.; Nakaki, S.D. Design Guidelines for Precast Concrete Seismic Structural Systems; Department of Civil Engineering, University of Washington: Seattle, WA, USA, 2002; Available online: https://www.pci.org/PCI_Docs/Design_Resources/Guides_and_manuals/references/PRESSS/PRESSS-Phase-3_The-Five-Story-Precast-Test-Building_Vol-3-9_Design-Guidelines-For-Precast-Concrete-Seismic-Structural-Systems.pdf (accessed on 1 May 2019).
- Zhu, L.; Kong, L.; Zhang, C. Numerical Study on Hysteretic Behaviour of Horizontal-Connection and Energy-Dissipation Structures Developed for Prefabricated Shear Walls. Appl. Sci. 2020, 10, 1240. [Google Scholar] [CrossRef] [Green Version]


























Publisher’s Note: MDPI stays neutral with regard to jurisdictional claims in published maps and institutional affiliations. |
© 2022 by the authors. Licensee MDPI, Basel, Switzerland. This article is an open access article distributed under the terms and conditions of the Creative Commons Attribution (CC BY) license (https://creativecommons.org/licenses/by/4.0/).
Share and Cite
Aljuboori, M.; Tabatabai, H. An Energy Dissipating Seismic Connector for Precast Concrete Shear Walls. Buildings 2022, 12, 949. https://doi.org/10.3390/buildings12070949
Aljuboori M, Tabatabai H. An Energy Dissipating Seismic Connector for Precast Concrete Shear Walls. Buildings. 2022; 12(7):949. https://doi.org/10.3390/buildings12070949
Chicago/Turabian StyleAljuboori, Mohammed, and Habib Tabatabai. 2022. "An Energy Dissipating Seismic Connector for Precast Concrete Shear Walls" Buildings 12, no. 7: 949. https://doi.org/10.3390/buildings12070949
APA StyleAljuboori, M., & Tabatabai, H. (2022). An Energy Dissipating Seismic Connector for Precast Concrete Shear Walls. Buildings, 12(7), 949. https://doi.org/10.3390/buildings12070949

