Next Article in Journal
Quantification of Moment–Rotation Relationship of Monolithic Precast Beam–Column Connections
Previous Article in Journal
Integrated Design of Structure and Material of Epoxy Asphalt Mixture Used in Steel Bridge Deck Pavement
 
 
Font Type:
Arial Georgia Verdana
Font Size:
Aa Aa Aa
Line Spacing:
Column Width:
Background:
Article

Research on Optimal Placement of Actuators of High-Rise Buildings Considering the Influence of Seismic Excitation on Structural Modes

1
State Key Laboratory of Silicate Materials for Architecture, Wuhan University of Technology, Wuhan 430070, China
2
Hubei Key Laboratory of Roadway Bridge and Structure Engineering, Wuhan University of Technology, Wuhan 430070, China
*
Authors to whom correspondence should be addressed.
Buildings 2022, 12(1), 8; https://doi.org/10.3390/buildings12010008
Submission received: 4 December 2021 / Revised: 16 December 2021 / Accepted: 22 December 2021 / Published: 23 December 2021
(This article belongs to the Section Building Structures)

Abstract

:
Presently, most of the common placement methods of actuators are based on the structural response and system energy to select the optimal locations. In these methods, the contribution of controllability and the energy of seismic excitations to each mode of the structure are not considered, and a large number of cases need to be calculated. To solve this problem, the Clough–Penzien spectral model is combined with the Luenberger observable normal form of the system to calculate the energy of each state. The modal disturbance degree, considering modal energy and controllability, is defined by using the controllability gramian matrix and PBH system controllability index, and the modes are divided into the main disturbance modes (MDMs) and the secondary disturbance modes (SDMs). A novel optimal placement method of actuators based on modal controllability degree is proposed, which uses MDMs as the main control modes. The optimal placement of actuators and the vibration control simulation of a 20-story building model are carried out. The results show that the vibration reduction effect of the proposed placement method is significantly better than that of the method of uniformly distributed actuators (Uniform method) and the classical placement method of actuators based on the system controllability gramian matrix (Classical method).

1. Introduction

With the progress of engineering technology and rational use of land resources, high flexibility has become the main development direction of building structures, which leads to the gradual replacement of middle- and low-rise buildings with high-rise buildings. However, due to their high flexibility, high-rise buildings are vulnerable to damage from seismic excitations, such as the collapse of the 22-story Pino Suarez Complex building in the Mexico City earthquake [1], the severe damage to high-rise buildings of Santiago in the Chile earthquake [2,3], and the excessive inter-story drift ratio of some high-rise buildings in Osaka and Tokyo from the Tohoku earthquake [4,5,6]. In view of the anti-seismic problem of high-rise buildings, researchers have completed a large amount of theoretical and experimental work in the field of passive, active, and semi-active control, among which active control methods have been widely used due to their good control effect and fast response [6].
In active vibration control, the applications of actuators greatly ensure the safety and comfort of high-rise buildings, and their placement location has a great influence on the performance of active vibration control systems [7]. Therefore, the optimal placements of actuators have become one of the main directions of research into high-rise buildings. At present, in the field of structural vibration control, researchers have made great progress in the optimal placement methods of actuators. The common optimal placement methods of actuators are mainly divided into response minimization and energy minimization. In terms of response minimization, Liu et al. [8] solved the optimal locations of the actuators by genetic algorithm, with the maximum displacement of each story less than the design permissible value as the index. It was found that the optimal locations of the actuators are similar under different seismic excitations, which can cause a better vibration reduction effect. Cha et al. [9,10] minimized the number of actuators and the structural response as the optimization index, and applied the multi-objective genetic algorithm to calculate the optimal locations of actuators in 20-story high-rise buildings. The results showed that the peak displacement of each story is significantly reduced under seismic excitations. Mastali et al. [11] took the minimum weighted value of displacement and inter-story drift as the optimization index, and completed the optimal placement of actuators in high-rise buildings through the particle swarm optimization algorithm (PSO). It was found that the vibration reduction effect of the proposed optimization method is significantly better than that of the arbitrary placement of actuators. Nazarimofrad et al. [12] carried out an optimal placement method, with the displacement of the top floor and the minimum number of floors where the actuators are located as the optimization index. The multi-objective genetic algorithm was used to determine the locations of actuators. It was found that the bottom shear force of the buildings can be effectively controlled by this method through the vibration control simulation of 10-story and 20-story building models. Mei et al. [13] selected the inter-story drift as the index, the acceleration and control force as the constraint conditions, and used the improved genetic algorithm to determine the optimal locations of actuators in the 16-story and 32-story building models. It was found that this method has high computational efficiency and can achieve a better vibration control effect through the vibration control simulation.
In terms of energy minimization, Martin et al. [14] earlier proposed an optimal placement method of actuators with control energy minimization as the optimization index, and achieved a good vibration control effect. Based on this, Cheng et al. [15] studied an optimal placement method of actuators with the minimization of weighted control energy as the optimization index. Through the vibration control simulation of the 8-story building model, it was found that compared with the uncontrolled case, the maximum relative velocity and the acceleration of the controlled condition are reduced by 85%. Xu et al. [16] put forward an optimal placement method of actuators with linear quadratic energy function as the optimization index, and completed the optimal placement and vibration control simulation of 18-story high-rise buildings. The results showed that the vibration control effect of nine actuators is similar to that of fully distributed actuators. Abdullah et al. [17] obtained the actuator locations by minimizing the control energy and using the genetic algorithm. It was found that the vibration control effect of this method depends on the weight selection in the optimization index. Agranovich et al. [18] proposed an actuator placement method based on the LQG control algorithm, which can select the actuator locations according to the contribution of the actuator to energy dissipation when the actuators are fully distributed. The results showed that this method can achieve better vibration control effect under small input energy.
From the points of structural response and system energy, the above research expounds the important role of the optimal placement of the actuators in improving the vibration control effect; however, there are still some shortcomings, such as necessarily finding the optimal locations of the actuators by calculating a large number of cases, and not quantitatively evaluating the system controllability. Among them, the contribution of actuator locations to system controllability cannot be ignored. If the actuator is placed near the vibration node of a certain mode in the structure, the control effect of the system state corresponding to the mode of the structure will become worse [19]. It can be seen that considering the controllability degree of the system is particularly important for the control of each mode [20]. According to the minimum energy criterion proposed by Kalman, Arbel [21] earlier developed an optimization method based on the controllability gramian matrix of the full state. On this basis, Leleu et al. [22] further considered the controllability and input energy of each system state, and determined the effect of the actuators on the controllability and input energy of the system through the geometric mean, trace and singular value of the system controllability gramian matrix to balance the controllability and input energy of each system state. Subsequently, Liu et al. [23] applied the method proposed by Leleu to the thin-film structure, and used PSO to calculate the optimal locations of the actuators. It indicated that placing the piezoelectric actuators in the optimal locations can produce a better vibration control effect with smaller input voltage. Lu et al. [24] extended this method to the optimal placement of actuators for large space antenna structures, effectively weakening the vibration of the antenna structure. The results proved that it is reasonable and feasible to take the contribution of actuators to the system controllability as the optimization index, which can be extended to the optimal placement of actuators in civil engineering structures.
The frequency of seismic excitation is low and the disturbance degree of seismic excitation to each mode of the structure is different. Directly using the placement method of actuators proposed by Leleu et al. cannot limit the input energy of high-order modes, and reduces the vibration control effect of low-order modes because the optimization goal is the full state of the system. To study the modal controllability of structures, Hamdan et al. [25] carried out relevant research work in the early years, and proposed the concept of modal controllability based on the PBH system controllability index. In this method, through the projection of the control force matrix on the left eigenvector of the system characteristic matrix, the modal controllability is associated with the location of the control force, but the input energy of each mode is not considered, as it is not comprehensive enough. Therefore, a novel optimal placement method of actuators is proposed. The state-space representation based on the Luenberger observable canonical form, which can be used to calculate the energy of each state, is obtained by connecting the Clough–Penzien spectral model [26] and the structural transfer function in series. Considering the disturbance and input energy of each mode in the structure caused by seismic excitations, the modal disturbance degree is defined by combining the controllability gramian matrix and PBH system controllability index [25]. The structural modes can be divided into the main disturbance mode (MDMs) and the secondary disturbance mode (SDMs) through using the product of the sum and standard deviation of modal disturbance degrees as the evaluation index. In order to maximize the controllability and input energy of MDMs, we define the modal controllability degree, considering the controllability and input energy of the actuators. The quotient of the sum of the modal controllability degrees of MDMs and SDMs weighted by each modal disturbance degree is used as the optimization index to complete the optimal placement of actuators of the 20-story building model [27]. The results show that too many and too few modes should not be selected as MDMs, and the controller weight corresponding to MDMs and SDMs should not be too large. Compared with the placement method of uniformly distributed actuators (Uniform method) and the classical placement method of actuators based on the system controllability gramian matrix (Classic method) [22], it is found that the method proposed in this paper has better vibration control effect and higher control efficiency, which is more suitable for the vibration control of high-rise buildings.

2. Theory

2.1. Equations of Motion

The linear equation of motion of the building equipped with actuators is written as:
M x ¨ + D x ˙ + K x = B u u + B w w
in which M , D , and K are the matrices of mass, damping, and stiffness of the structure; B u and B w are the location matrices of the control force and the disturbance force; x , x ˙ , and x ¨ are the displacement, velocity, and acceleration of the structure; u and w are the control force and disturbance force; and w is seismic excitation.
Converting Equation (1) to modal space by mass normalization is written as:
q ¨ + d i a g 2 ξ i ω i q ˙ + d i a g ω i 2 q = B u u + B w w
B u = Φ T B u = B u 1 B u 2 B u i B u n T B w = Φ T B w = B w 1 B w 2 B w i B w n T
in which Φ is the modal shape matrix of the structure; ξ i is the damping ratio of the i th mode; ω i is the circular frequency of the i th mode; q , q ˙ , and q ¨ are the structural modal displacement, velocity, and acceleration, respectively; B u and B w are the location matrices of modal control force and disturbance force.
Equation (2) is transformed into the system state space representation as:
z ˙ = A z + B u + F w
in which A is the 2 n × 2 n matrix of the system characteristic; B is the 2 n × m 1 location matrix of the control force; F is the 2 n × m 2 location matrix of the disturbance force; z is the state vector of the system; n is the number of modes.
z , A , B and F are
z = z 1 z 2 z i z n T
A = d i a g A i , B = d i a g B i , F = F 1 F 2 F i F n T
in which
z i = q ˙ i ω i q i , A i = - 2 ξ i ω i - ω i ω i 0 , B i = B u i 0 , F i = B w i 0

2.2. Definition of Modal Disturbance Degree

The disturbance degree of the structural mode can be evaluated by the contribution of disturbance to system energy and controllability. According to the system state-space representation based on mass normalization, the system energy can be given by:
E n e r g = l i m T i = 1 n 0 T 1 2 q ˙ i 2 + ω i 2 q i d t   = l i m T 1 2 t r a c e 0 T z z T d t
It is assumed that w is white noise excitation, and its spectral density is:
s w = l i m T 1 2 π T W ω , T 2 = N 0
W ω , T = - T T w e - i ω t d t
in which W and N 0 are the Fourier transform form and spectral density of white noise excitation w respectively; t is the time of white noise excitation w .
According to Parseval’s theorem and the characteristics of white noise process, Equation (8) can be written as:
E n e r g = l i m T 1 4 π t r a c e - i ω I - A - 1 F W ω , T W T ω , T F T i ω I - A - T ¯ d ω   = l i m T 2 π T 4 π t r a c e - i ω I - A - 1 F N 0 F T i ω I - A - T ¯ d ω   = l i m T T 2 t r a c e 0 e A t F N 0 F T e A T t d t
in which N 0 is a positive definite diagonal matrix with s w as the diagonal element; i is the unit imaginary number; I is the unit matrix. Equation (11) shows that when time T is constant, the system energy is determined by 0 e A t F N 0 F T e A T t d t .
0 e A t F N 0 F T e A T t d t can be given by the solution P of the Lyapunov function, as follows:
A P + P A T + F N 0 F T = 0
in which P is the controllability gramian matrix weighted by the spectral density N 0 of w , and the sum of trace of P represents the total energy of the system. It can be seen from Equation (12) that when w is white noise excitation, the input energy is not only related to its excitation location, but also related to its spectral density. Since the actual disturbance force of high-rise buildings is seismic excitation, the influence of seismic excitations on each mode of the structure cannot be evaluated using Equation (12) directly. Hence, the Clough–Penzien spectrum model is selected to obtain the system transfer function with white noise as input, by connecting the transfer function of seismic excitation and structure in series, and then Equation (12) is used to evaluate the influence of seismic excitations.
Assuming that the bedrock acceleration caused by the earthquake is white noise with zero mean value [28,29], and the soil layer over bedrock is a single-degree-of-freedom system, it can be obtained as follows:
x ¨ g + 2 ξ g ω g x ˙ g + ω g 2 x g = - x ¨ b
v g = x ¨ g + x ¨ b
in which x g , x ˙ g , and x ¨ g are the displacement, velocity, and acceleration of the soil layer, respectively; x ¨ b is the absolute bedrock acceleration; v g is the absolute acceleration of seismic excitation; ξ g and ω g are the damping ratio and natural circular frequency of soil layer.
The Fourier transform of Equation (13) is
V g , K - T ω = ω g 2 + 2 i ξ g ω g ω ω g 2 - ω 2 + 2 i ξ g ω g ω X b ω
in which V g , K T ω and X b ω are the absolute acceleration of seismic excitation and bedrock in frequency domain, respectively.
Combining the Clough–Penzien spectrum model [26] and Equation (15), the transfer function and spectral density of seismic excitation can be obtained by:
V g , C - P ω = i ω 2 ω f 2 + i ω 2 + 2 i ξ f ω f ω V g , K - T ω
s C - P ω = ω 4 1 + 2 ξ g ω ω g 2 ω f 2 - ω 2 2 + 4 ξ f 2 ω f 2 ω 2 1 - ω 2 ω g 2 2 + 2 ξ g ω ω g 2 s 0
in which s 0 is the spectral density of absolute bedrock acceleration; ω f and ξ f are the low frequency cut-off frequency and damping ratio of the additional filter, respectively.
Based on Equations (15) and (16), Equation (4) with seismic excitation as input is converted into:
Z ω = I i ω I - A - 1 F ω g 2 + 2 i ξ g ω g ω ω g 2 - ω 2 + 2 i ξ g ω g ω i ω 2 ω f 2 + i ω 2 + 2 i ξ f ω f ω X b ω
in which I is the unit matrix consistent with the dimension of A ; X b is the Fourier transform of the absolute bedrock acceleration.
Considering the influence of seismic excitation, new zeros and poles are added to Z ω , which increases the dimension of the state-space representations corresponding to Z ω . As a result, it is impossible to directly evaluate the energy contribution of seismic excitation to each state of the system. To ensure that the output of the state-space representation corresponding to Z ω is consistent with the state vector of the original system, the state-space representation corresponding to Z ω is converted to the Luenberger observable canonical form in block form [30,31] as follows:
z ˙ L = A L z L + F L x ¨ b y L = C L z L
in which A L , F L , and C L are the system characteristic matrix, disturbance force location matrix, and output matrix of the Luenberger observable canonical form; z L and y L are the state vector and output vector of the Luenberger observable canonical form.
A L , F L , and C L are:
A L = d i a g A L , i i
F L = F L , 1 F L , 2 F L , i F L , n T
  C L = C L , 1 0 0 0 0 C L , 2 0 0 0 0 0 C L , n
in which
  A L , i i = 0 0 0 - α 0 , i i 1 0 0 - α 1 , i i 0 0 0 - α k , i i 0 0 0 - α o - 2 , i i 0 0 1 - α o - 1 , i i
  F L , i = β 0 , i β 1 , i β k , i β o - 1 , i
  C L , i = 0 0 0 1 1 × o
By using Equations (11), (12) and (19), the system controllability gramian matrix is written as:
  P L = 0 e A L t F L S 0 F L T e A L T t d t
in which S 0 is a positive definite diagonal matrix with s 0 as diagonal element, and P L is the system controllability gramian matrix of seismic excitation with S 0 as weight.
P L is written as:
P L = [ P L , 1 , 1 P L , 1 , 2 P L , 1 , 2 i 1 P L , 1 , 2 i P L , 1 , 2 n P L , 2 , 1 P L , 2 , 2 P L , 2 , 2 i 1 P L , 2 , 2 i P L , 2 , 2 n P L , 2 i 1 , 1 P L , 2 i 1 , 2 P L , 2 i 1 , 2 i P L , 2 i 1 , 2 i P L , 2 i 1 , 2 n P L , 2 i , 1 P L , 2 , 2 P L , 2 i , 2 i 1 P L , 2 i , 2 i P L , 2 i , 2 n P L , 2 n , 1 P L , 2 n , 2 P L , 2 n , 2 i 1 P L , 2 n , 2 i P L , 2 n , 2 n ]
in which P L , 2 i 1 , 2 i 1 and P L , 2 i , 2 i are the system controllability gramian matrices corresponding to the 2 i 1 -order and 2 i -order states of the original system, respectively i = 1 , 2 , , n 1 , n . Their o -row and o -column location elements P L , 2 i 1 , 2 i 1 and P L , 2 i , 2 i represent the energy of their corresponding states.
The energy of each mode of the structure can be written as:
  e L , i = p L , 2 i - 1 , 2 i - 1 + p L , 2 i , 2 i
in which e L , i is the energy of the i th mode in the total energy under seismic excitation. It should be noted that since the diagonal elements of S 0 are equal, the energy proportion of each mode of the structure is only related to site conditions, but not to seismic spectral density.
The energy proportion of each mode of the structure is:
  e m d i = e L i i = 1 n e L i
in which e m d i is the proportion of the energy of the i th mode in the total energy. Equation (29) gives the energy distribution of high-rise buildings in each mode under seismic excitation, but it is not intuitive to analyze it only from the perspective of input energy. The influence of seismic excitation on the system controllability should be further considered.
Seismic excitation is analogized as control force so that its influence on system controllability can be considered. Since the system controllability gramian matrix is difficult to evaluate the controllability of a certain state, we used the PBH system controllability index [25] (see Table A1 in Appendix A). This cannot directly obtain the whole system controllability; however, the controllability of each state can be evaluated by the projection of the disturbance force matrix F on the left eigenvector of the system matrix A , as follows:
  f d , 2 i - 1 = q 2 i - 1 F q 2 i - 1 , f d , 2 i = q 2 i F q 2 i
in which q 2 i 1 and q 2 i are the left eigenvectors of A corresponding to the i th mode of the structure, and the magnitudes of f d , 2 i 1 and f d , 2 i are positively correlated with the influence of seismic excitation on the i th mode of the structure.
The modal controllability index of each mode of the structure is written as:
  f m d , i = f d , 2 i - 1 f d , 2 i
Considering the structural energy and controllability, the modal disturbance degree of each mode of the structure is defined as:
  d i = f m d , i e m d , i
Equation (32) contains the energy contribution and controllability of the seismic excitation to each mode. The magnitude of d i is positively correlated with the disturbance degree of the i th mode of the structure, and the mode with the largest disturbance can be selected by its size as the main control mode.
Since the disturbance of seismic excitation on each mode of the structure is different, the modes can be divided into the main disturbance modes (MDMs) and the secondary disturbance modes (SDMs). To quantitatively give the selection criteria of MDM, v i is used as the evaluation index for analyzing the variation trend of the modal disturbance degree, as follows:
  v i = σ i = 1 m d i i = 1 m d i
In Equation (33), the σ reflects the variation trend of each modal disturbance degree with the increase in system order. If v i takes the maximum value, it shows that the sum of the first i modal disturbance degrees is larger, and its variation trend begins to slow down, which shows that the remaining n i modes are less disturbed, and the first i modes can be used as MDMs.

2.3. Optimal Placement Method of Actuators

Referring to the definition of the modal disturbance degree, we developed a modal controllability degree index, considering system controllability and input energy, and proposed an optimal placement method of actuators based on the modal controllability degree. It is necessary to maximize the H 2 norm [32] of the actuating force transfer function so as to maximize the system energy with a certain number of actuators, as follows:
J s y s = 1 2 π - t r a c e G H ω G ω d ω = t r a c e 0 e A τ B B T e A T τ d τ = t r a c e W c
in which G ω is the transfer function, with displacement and velocity as output and actuating force as input. The diagonal element of W c represents the energy of each state.
The PBH system controllability index of actuating force corresponding to the i th mode of the structure is:
  f c , i = q 2 i - 1 B q 2 i - 1 q 2 i B q 2 i
Thus, the modal controllability degree of each mode of the structure can be established:
  c i = f c , i w c , i
  w c , i = W c , 2 i - 1 , 2 i - 1 + W c , 2 i , 2 i
In which c i is the modal controllability degree of the i th mode, which is positively correlated with the modal controllability of i th mode; W c , 2 i 1 , 2 i 1 and W c , 2 i , 2 i are the 2 i 1 th and 2 i th diagonal elements of W c , respectively.
f c , i and w c , i in Equation (36), respectively, describe the controllability and input energy of each MDM. When the actuators are placed, the modes with a higher disturbance degree can be given a higher c i to ensure that they have sufficient control effect.
Hence, the optimal placement index of actuators is:
  c r i t = M D M d i c i / S D M d i c i
The quotient of the sum of modal controllability degrees of MDMs and SDMs weighted by each modal disturbance degree is used as the optimization index in Equation (38). It can limit the controllability and input energy of SDMs to ensure that the energy input to MDMs is as much as possible. The value of c r i t is positively correlated with the quality of actuator locations (see Table A2 in Appendix A).

3. Case Study

3.1. 20-Story Building Model

The simplified model of a 20-story building was taken as the research object [27], and the model and its parameters are shown in Figure 1 and Table 1. Setting the site condition as a medium bedrock soil layer, the characteristic frequency and damping ratio of the bedrock soil layer [33,34,35] is shown in Table 2.

3.2. Analysis of Modal Disturbance Degree

Combining Equations (32) and (33), the modal disturbance degree and evaluation index of the 20-story building model are obtained, as shown in Figure 2.
It can be seen from Figure 2 that the influence of seismic excitation on each mode of the high-rise building presents a trend of rapid attenuation from low-order mode to high-order mode. The modal disturbance degree tends to be stable from the fifth mode, and the proportion of the first five modes in the total modal disturbance degrees is 96.09%, which reached more than 90%. With the increase in modal order, v i shows a trend of first increase and then decrease, reaching its peak at the fifth mode, indicating that the modal disturbance degrees of the last 15 modes are very small, which may reduce the control energy input to them. The first five modes can be used as MDMs, in which the natural frequency range of MDMs is 0.2847 Hz~2.0187 Hz, and the natural frequency range of SDMs is 2.4508 Hz~8.5839 Hz.

3.3. Controller Design Based on Optimal Placement of Actuators

The selected active control method is the LQ control algorithm based on the state observer [36], which minimizes the energy function composed of the system state and the control force to achieve the optimal control effect. Equation (4) is transformed into the state-space representation with the output of absolute acceleration and displacement as follows:
  z ˙ = A z + B u + F w y = C z + D u
  C = ϕ 1 ϕ 1 ϕ i ϕ i ϕ n ϕ n T d i a g - 2 ξ i ω i - ω i 0 1 ω i 2 n × 2 n D = B u 1 0 B u i 0 B u n 0 T
in which ϕ i is the modal shape vector corresponding to the i th mode.
The state observer is written as:
  z ^ ˙ = A + B u + F w + L y - y ^ y ^ = C z ^ + D u
in which L is the gain matrix of the state observer.
The energy function J L Q and control force u are written as:
  J L Q = 0 z T Q z + u T R u d t
  u = - R - 1 B T P z ^
  P A + A T P - P B R - 1 B T P + Q = 0
in which Q is the 2 n × 2 n symmetric positive semidefinite weight matrix, and R is the m 1 × m 1 symmetric positive definite weight matrix.
In the controller design, it is necessary to take MDMs as the main control mode; the modal response and modal control force corresponding to MDMs are weighted in the energy function J L Q . Q and R are written as:
  Q = α 1 d i a g M i , m o d e , M D M 0 0 K i , m o d e , M D M 0 0 α 2 d i a g M j , m o d e , S D M 0 0 K j , m o d e , S D M
  R = B T 1 β 1 I M D M 0 0 1 β 2 I S D M B
in which α 1 and α 2 are the weight adjustment coefficients of Q ; M i , mod e , M D M and K i , mod e , M D M are the modal mass and stiffness of the i th mode in MDMs; M j , mod e , S D M and K j , mod e , S D M are the modal mass and stiffness of the j th mode in SDMs. β 1 and β 2 are the weight adjustment coefficients of R ; I M D M is a unit matrix with dimensions consistent with the number of MDMs; I S D M is a unit matrix with dimensions consistent with the number of SDMs.
Equations (45) and (46) consider not only the modal responses of MDMs and SDMs, but also the modal control force of MDMs and SDMs. When selecting the weight matrix Q and R , the weight of Q and R corresponding to MDMs can be appropriately increased and decreased, respectively, so as to achieve efficient control of MDMs.

3.4. Comparison of Actuator Placement

To verify that it is reasonable to select the first five modes as MDMs for the 20-story building model, the first 3, 4, 5, 6 and 7 modes are respectively used as MDMs to calculate the optimal placement floor with 10 actuators by PSO algorithm, as shown in Table 3. The placement of the actuator in the floor is shown in Figure 3, and the active tendons can be selected [12]. The Clough–Penzien spectrum model with medium site condition was selected to compare the singular-value Bode index of the closed-loop control system transfer function matrix, considering seismic excitation with structural displacement and velocity as output, which is given by Equation (47). The weight adjustment coefficients of the LQ controller are selected as shown in Table 4, and the comparison of singular-value Bode index under different coefficients is shown in Figure 4. The blue stars in the figures indicate the responses of the last natural frequency of the structure under uncontrolled case.
The singular-value Bode index of the closed-loop control system transfer function matrix is written as:
  κ = 20 l o g 10 ω 4 1 + 2 ξ g ω ω g 2 G c H G c ω f 2 - ω 2 2 + 4 ξ f 2 ω f 2 ω 2 1 - ω 2 ω g 2 2 + 2 ξ g ω ω g 2
in which G c is the closed-loop control system transfer function matrix corresponding to Equation (39).
It can be seen from Figure 4a–f that the singular-value Bode index curves have nine obvious peaks under uncontrolled case, and with the increase in the weight coefficient α 1 and β 1 , those corresponding to MDMs decrease significantly. Under different weight adjustment coefficients, the singular-value Bode indexes of Cases 1, 2, 3, and 4 near the 1st natural frequency are relatively close, and the singular-value Bode indexes of Case 3 near the 1st to 2nd natural frequencies are slightly smaller than those of Case 4. It should be noted that the singular-value Bode indexes of Case 5 near the 1st to 2nd natural frequencies are larger than those of other cases. This situation is caused by the fact that MDMs in Case 5 contain too many modes, resulting in the decrease in input energy and controllability of the previous modes. With the increase in α 1 and β 1 , the singular-value Bode indexes of each case near the 3rd to 9th natural frequencies gradually increase, and even exceed those of uncontrolled case. This occurs for the first time when Cases 1 and 2 take Case II as their weight adjustment coefficient. It shows that there are too few MDMs selected in Case 1 and 2, resulting in the decrease in controllability near the 2nd to 9th natural frequencies. The above analyses not only indicate that it is reasonable to select the first five modes as MDMs, but also indicate that the weight adjustment coefficients of MDMs and SDMs cannot be too different. Figure 4g shows the singular-value Bode indexes of Case 3 under different weight adjustment coefficients. It can be found that with the increase in α 1 and β 1 , the singular-value Bode indexes of Case IV, V, and VI near the 2nd to 4th natural frequencies of MDMs are significantly increased, and are close to, or even worse than, those of the uncontrolled case, which will reduce the control effect of the 3rd to 9th modes of the system. Hence, under Case 3, Case III should be selected as the weight adjustment coefficient.

3.5. Numerical Simulation

Further, the vibration control effect of the Case 3 placement scheme was compared with that of the uniformly distributed actuators placement (Uniform method) and the classical actuators placement based on the system controllability gramian matrix (Classic method) [22]. The locations of actuators and weight adjustment coefficients of the LQ controller are shown in Table 5. Three natural seismic waves and one artificial seismic wave are selected as seismic excitations. The selected natural seismic waves should satisfy the condition that the frequency band of higher peaks of the seismic acceleration spectrum can cover the natural frequency of the medium site soil bedrock [37]. In commonly used seismic waves, the peaks of acceleration spectrum of the Kobe wave are mainly concentrated between 1 Hz and 3 Hz, those of the El-Centro wave are mainly concentrated between 1 Hz and 3.2 Hz [38], and those of the Tabas wave are mainly concentrated between 0.8 Hz and 3 Hz [39], which satisfy the above condition. Therefore, Kobe, El-Centro, Tabas, and artificial seismic waves suitable for medium site conditions are used as seismic excitations [40,41,42], in which the artificial seismic wave is obtained by Clough–Penzien filter and white noise, as shown in Equation (16). To compare the vibration control effect of different placement methods, the evaluation indexes of the time-history response of the structure are selected. The evaluation indexes are negatively correlated with the vibration control effect, which is less than 1, indicating that the vibration control effect is good, as shown in Equations (48)–(51) [43,44].
  J a = m a x K o b e E I C e n t r o T a b a s A r t i f i c i a l m a x t , i x ¨ c , i x ¨ u m a x
  J d = m a x K o b e E I C e n t r o T a b a s A r t i f i c i a l m a x t , i d i / h i δ u
  J a = m a x K o b e E I C e n t r o T a b a s A r t i f i c i a l m a x x ¨ c , i x ¨ u m a x
  J d = m a x K o b e E I C e n t r o T a b a s A r t i f i c i a l m a x d i / h i δ u
In addition, the evaluation index of the vibration control efficiency is defined as follows:
  J w = m a x K o b e E I C e n t r o T a b a s A r t i f i c i a l W d i / h i n 2
in which J a and J d are the evaluation indexes of maximum acceleration and displacement; J a and J d are the evaluation indexes of normed acceleration and displacement; J w is the evaluation index of the vibration control efficiency, and the smaller J w is, the higher the control efficiency is; x ¨ u max is the maximum absolute acceleration in the uncontrolled structure; x ¨ u max is the maximum normed absolute acceleration in the uncontrolled structure; x ¨ c , i is the i th story absolute acceleration in the controlled structure; x ¨ c , i is the i th story normed absolute acceleration in the controlled structure; δ u is the maximum inter-story drift ratio in the uncontrolled structure; δ u is the maximum normed inter-story drift ratio in the uncontrolled structure; d i is the i th story inter-story drift in the controlled structure; d i is the i th story normed inter-story drift in the controlled structure; h i is height of each of the stories; W is the energy consumed by the actuators; n is the total number of stories.
Figure 5 and Figure 6 are the comparisons between the maximum and normed acceleration of each story under different seismic excitations. Table 6 shows the evaluation indexes of acceleration under different seismic excitations. It can be seen from Figure 5 and Figure 6 that the overall effect of the proposed method on the acceleration of each story is significantly better than that of the Uniform method and Classic method. By comparing the evaluation indexes of acceleration under various cases in Table 6, it is found that the evaluation indexes of acceleration using the Uniform method and Classic method are larger, which indicates that the vibration control effect of acceleration in some stories using the above two methods is poor, and the maximum acceleration is close to the uncontrolled case. However, the evaluation indexes of acceleration using the proposed method are small. Among them, J a is 0.7731, which is 19.83% smaller than that of the Uniform method and 26.53% smaller than that of the Classic method. J a is 0.6642, which is 12.48% smaller than that of the Uniform method and 10.59% smaller than that of the Classic method. The results show that the vibration control effect of acceleration with the proposed method is significantly better than that of the Uniform method and Classic method.
Figure 7 and Figure 8 are the comparison between the maximum and normed inter-story drift ratio of each story under different seismic excitations. Table 7 and Table 8 are the evaluation indexes of the inter-story drift ratio and vibration control efficiency under different seismic excitations. It can be seen from Figure 8 that the inter-story drift ratio of the proposed method is significantly smaller than that of the Uniform method and Classic method. Comparing the indexes in Table 7, it can be seen that the indexes using the Uniform method and Classic method are greater than those using the proposed method. When using the proposed method, J d is 0.6452, which is 18.75% smaller than the Uniform method and 12.13% smaller than the Classic method. J d is 0.6926, which is 17.83% smaller than that of the Uniform method and 11.75% smaller than that of the Classic method. It can be seen from Table 8 that the vibration control efficiency of the proposed method is significantly lower than that of the other two methods. When using the proposed method, J w is 16.5383 × 10 5 , which is 20.99% smaller than the Uniform method and 19.00% smaller than the Classic method. The above results show that the control effect and vibration control efficiency using the proposed method is much better than those of the Uniform method and Classic method.

4. Conclusions

Based on the state-space representation of the Luenberger observable canonical form which can be used to calculate the energy of each state, the evaluation index to measure the disturbance degree of seismic excitations to each mode of the structure were proposed and the structural modes were divided into MDMs and SDMs. The optimal placement method was established with the quotient of the sum of modal controllability degrees of MDMs and SDMs weighted by each modal disturbance degree as the optimization index. The actuator placement and vibration control simulation of the 20-story building model were completed and compared with those of the Uniform method and Classic method. The following conclusions were obtained:
  • When the site condition is medium bedrock soil layer, the modal disturbance degree of the first five modes of the 20-story building model caused by seismic excitation accounts for 96.09% of the total modal disturbance degree. The product of the sum of the first i modal disturbance degree and its standard deviation is used as the evaluation index of the modal disturbance. It is found that the index can reach its peak when the first five modes are selected as the MDMs, indicating that the remaining modes have little contribution to the response of the structure.
  • In the proposed placement method of actuators, the quotient of the sum of modal controllability degrees of MDMs and SDMs weighted by each modal disturbance degree is used as the optimization index, and the size of the index is positively correlated with the optimization effect. Compared with the singular-value index of the closed-loop control system with the first 3, 4, 5, 6, and 7 modes as MDMs, it can be found that selecting too many or too few modes as MDMs is not conducive to vibration control, and the weight adjustment coefficients of the controller corresponding to MDMs and SDMs should not be too large. The results show that it is reasonable to select the first five modes as MDMs.
  • In terms of the time domain response of the structure, the maximum and normed indexes of the acceleration and inter-story drift ratio based on the proposed method are far less than those of the Uniform method and Classic method. In terms of the control system efficiency, the index of vibration control efficiency based on the proposed method is lower than that of the Uniform method and Classic method. It shows that the effect and efficiency of vibration control based on the proposed method are excellent, which is suitable for the actuator placement of high-rise buildings.

Author Contributions

Conceptualization, J.Z.; methodology, J.Z.; software, J.Z. and Y.Z.; validation, J.Z., Z.L. and J.T.; formal analysis, J.Z.; writing—original draft preparation, J.Z.; writing—review and editing, J.Z.; supervision, J.T. All authors have read and agreed to the published version of the manuscript.

Funding

This research was funded by National Natural Science Foundation of China, grant number 51978550; Fundamental Research Funds for the Central Universities, grant number 2019-YB-024; Natural Science Foundation of Hubei Province, grant number 2016CFA020; Key Research Plan of Ministry of Science and Technology, grant number 2018YFC0705601.

Data Availability Statement

Not applicable.

Conflicts of Interest

The authors declare no conflict of interest.

Appendix A

Table A1. List of acronyms used in the article.
Table A1. List of acronyms used in the article.
AcronymDescription
LQLinear quadratic control algorithm
LQGLinear quadratic gaussian control algorithm
MDMMain disturbance mode
PSOParticle swarm optimization
PBH system controllability indexPopov–Belevitch–Hautus system controllability index
SDMSecondary disturbance mode
Table A2. List of important symbols used in the article.
Table A2. List of important symbols used in the article.
SymbolDescription
M Mass matrix
D Damping matrix
K Stiffness matrix
B u Location matrix of the control force (Equation of motion)
B w Location matrix of the disturbance force (Equation of motion)
s w Spectral density of white noise excitation
ξ g Damping ratio of soil layer.
ω g Natural circular frequency of soil layer.
ξ f Damping ratio of the additional filter
ω f Low frequency cut-off frequency of the additional filter
V g , K - T Absolute acceleration of seismic excitation in frequency domain (without the additional filter)
V g , C - P Absolute acceleration of seismic excitation in frequency domain (with the additional filter)
A System characteristic matrix
B Location matrix of the control force (State-space representation)
F Location matrix of the disturbance force (State-space representation)
C Output matrix (State-space representation)
D Direct feedthrough matrix (State-space representation)
A L System characteristic matrix of Luenberger observable canonical form
F L Disturbance force location matrix of Luenberger observable canonical form
C L Output matrix of Luenberger observable canonical form
α , i i The   coefficient   of   A L
β , i The   coefficient   of   F L
d i Modal disturbance degree of each mode
c i Modal controllability degree of each mode
c r i t Optimal placement index of actuators
z State vector of the system
z ^ Estimated state vector of the system
κ Singular-value Bode index of the closed-loop control system transfer function matrix
J a Evaluation index of maximum acceleration
J d Evaluation index of maximum displacement
J a Evaluation index of normed acceleration
J d Evaluation index of normed displacement
J w Evaluation index of the vibration control efficiency

References

  1. Ger, J.F.; Cheng, F.Y.; Lu, L.W. Collapse Behavior of Pino Suarez Building during 1985 Mexico City Earthquake. J. Struct. Eng. 1993, 119, 852–870. [Google Scholar] [CrossRef]
  2. Youssef, N.F.; Tunick, D.; Naeim, F.; Lew, M.; Carpenter, L.D.; Rojas, F.; Saragoni, G.R.; Adaros, M.S. Performance of the Torre Bosquemar and Olas buildings in San Pedro de la Paz and the Pedro de Valdivia building in Concepción in the 27 February 2010 offshore Maule, Chile earthquake. Struct. Des. Tall Spec. Build. 2011, 20, 65–82. [Google Scholar] [CrossRef]
  3. Naeim, F.; Lew, M.; Carpenter, L.D.; Youssef, N.F.; Rojas, F.; Saragoni, G.R.; Adaros, M.S. Performance of tall buildings in Santiago, Chile during the 27 February 2010 offshore Maule, Chile earthquake. Struct. Des. Tall Spec. Build. 2011, 20, 1–16. [Google Scholar] [CrossRef]
  4. Takewaki, I.; Murakami, S.; Fujita, K.; Yoshitomi, S.; Tsuji, M. The 2011 off the Pacific coast of Tohoku earthquake and response of high-rise buildings under long-period ground motions. Soil Dyn. Earthq. Eng. 2011, 31, 1511–1528. [Google Scholar] [CrossRef] [Green Version]
  5. Çelebi, M.; Hisada, Y.; Omrani, R.; Ghahari, F. Responses of two tall buildings in Tokyo, Japan, before, during, and after the M9.0 Tohoku Earthquake of 11 March 2011. Earthq. Spectra. 2016, 32, 463–500. [Google Scholar] [CrossRef]
  6. Çelebi, M.; Okawa, I. Drift Issues of Tall Buildings during the March 11, 2011 M9.0 Tohoku Earthquake, Japan Implications. In Proceedings of the 10th U.S. National Conference on Earthquake Engineering: Frontiers of Earthquake Engineering, Anchorage, AK, USA, 21–25 July 2014. [Google Scholar]
  7. Rao, A.R.M.; Sivasubramanian, K. Optimal placement of actuators for active vibration control of seismic excited tall buildings using a multiple start guided neighbourhood search (MSGNS) algorithm. J. Sound Vib. 2008, 311, 133–159. [Google Scholar]
  8. Liu, D.K.; Yang, Y.L.; Li, Q.S. Optimum positioning of actuators in tall buildings using genetic algorithm. Comput. Struct. 2003, 81, 2823–2837. [Google Scholar] [CrossRef]
  9. Cha, Y.J.; Agrawal, A.K.; Kim, Y.; Raich, A.M. Multi-objective genetic algorithms for cost-effective distributions of actuators and sensors in large structures. Expert Syst. Appl. 2012, 39, 7822–7833. [Google Scholar] [CrossRef]
  10. Cha., Y.J.; Anne, R.; Barroso, L.; Agrawal, A. Optimal placement of active control devices and sensors in frame structures using multi-objective genetic algorithms. Struct. Control Health Monit. 2013, 20, 16–44. [Google Scholar] [CrossRef]
  11. Mastali, M.; Kheyroddin, A.; Samali, B.; Vahdani, R. Optimal placement of active braces by using PSO algorithm in near- and far-field earthquakes. Int. J. Adv. Struct. Eng. 2016, 8, 29–44. [Google Scholar] [CrossRef] [Green Version]
  12. Nazarimofrad, E.; Farahani, S.; Zahrai, S.M. Multiobjective optimal placement of active tendons to control irregular multistory buildings with soil-structure interaction. Struct. Des. Tall Spec. Build. 2019, 28, e1581. [Google Scholar] [CrossRef]
  13. Mei, Z.; Guo, Z.; Guo, L.; Wang, H.; Gao, Y. Genetic algorithm-based integrated optimization of active control systems for civil structures subjected to random seismic excitations. Eng. Optimiz. 2020, 52, 1700–1719. [Google Scholar] [CrossRef]
  14. Martin, C.R.; Soong, T.T. Modal control of multistory structures. J. Eng. Mech. Div. 1976, 102, 613–623. [Google Scholar] [CrossRef]
  15. Pantelides, C.P.; Cheng, F.Y. Optimal placement of controllers for seismic structures. Eng. Struct. 1990, 12, 254–262. [Google Scholar] [CrossRef]
  16. Xu, Y.L.; Teng, J. Optimum design of active/passive control devices for tall buildings under earthquake excitation. Struct. Des. Tall Spec. Build. 2002, 11, 109–127. [Google Scholar] [CrossRef]
  17. Abdullah, M.M.; Richardson, A.; Hanif, J. Placement of sensors/actuators on civil structures using genetic algorithms. Earthq. Eng. Struct. Dyn. 2010, 30, 1167–1184. [Google Scholar] [CrossRef]
  18. Agranovich, G.; Ribakov, Y. A method for efficient placement of active dampers in seismically excited structures. Struct. Control Health Monit. 2010, 17, 513–531. [Google Scholar] [CrossRef]
  19. Kazuto, S. Vibration Control of Structure; Corona Publishing: Tokyo, Japan, 2006. [Google Scholar]
  20. Hać, A.; Liu, L. Sensor and Actuator Location in Motion Control of Flexible Structures. J. Sound Vib. 1993, 167, 239–261. [Google Scholar] [CrossRef]
  21. Arbel, A. Controllability measures and actuator placement in oscillatory systems. Int. J. Control 1981, 33, 565–574. [Google Scholar] [CrossRef]
  22. Leleu, S.; Abou-Kandil, H.; Bonnassieux, Y. Piezoelectric actuators and sensors location for active control of flexible structures. IEEE T. Instrum. Meas. 2001, 50, 1577–1582. [Google Scholar] [CrossRef]
  23. Liu, X.; Cai, G.; Peng, F. Piezoelectric Actuator Placement Optimization and Active Vibration Control of a Membrane Structure. Acta Mech. Solida Sin. 2018, 31, 66–79. [Google Scholar] [CrossRef]
  24. Lu, G.; Zhou, J.; Cai, G.; Lv, L.; Fang, G. Active Vibration Control of a Large Space Antenna Structure Using Cable Actuator. AIAA J. 2020, 59, 1457–1468. [Google Scholar] [CrossRef]
  25. Li, M.; Li, X.; Jing, Z. A modified method for simulating non-stationary multi-point earthquake ground motion. Earthq. Eng. Eng. Vib. 2010, 9, 201–211. [Google Scholar] [CrossRef]
  26. Hamdan, A.; Nayfeh, A. Measures of modal controllability and observability for first- and second-order linear systems. J. Guid. Control Dyn. 1989, 12, 421. [Google Scholar] [CrossRef]
  27. Lynch, J.P.; Law, K.H. Market-based control of linear structural systems. Earthq. Eng. Struct. Dyn. 2002, 31, 1855–1877. [Google Scholar] [CrossRef] [Green Version]
  28. Kanai, K. Semi-empirical formula for the seismic characteristics of the ground. Bull. Earthq. Res. Inst. 1957, 35, 308–325. [Google Scholar]
  29. Tajimi, H. A statistical method of determining the maximum response of a building structure during an earthquake. In Proceedings of the 2nd World Conference on Earthquake Engineering, Tokyo, Japan, 11–18 July 1960. [Google Scholar]
  30. Luenberger, D. Canonical Forms for Linear Multivariable Systems. IEEE Trans. Automat. Control 1967, 12, 290–293. [Google Scholar] [CrossRef]
  31. Vardulakis, A.I.G.; Kazantzidou, C. Denominator Assignment, Invariants and Canonical Forms under Dynamic Feedback Compensation in Linear Multivariable Systems. IEEE Trans. Automat. Control 2011, 56, 1180–1185. [Google Scholar] [CrossRef] [Green Version]
  32. Doyle, J.C.; Francis, B.A.; Tannenbaum, A. Feedback Control Theory; Macmillan Publishing: London, UK, 1990. [Google Scholar]
  33. Hwang, H.; Ellingwood, B.; Shinozuka, M.; Reich, M. Probability-Based Design Criteria for Nuclear Plant Structures. J. Struct. Eng. 1987, 113, 925–942. [Google Scholar] [CrossRef]
  34. Deodatis, G. Non-stationary stochastic vector processes: Seismic ground motion applications. Probabilistic Eng. Mech. 1996, 11, 149–167. [Google Scholar] [CrossRef]
  35. Faes, M.; Valdebenito, M.; Moens, D.; Beer, M. Bounding the First Excursion Probability of Linear Structures Subjected to Imprecise Stochastic Loading. Comput. Struct. 2020, 239, 106320. [Google Scholar] [CrossRef]
  36. Bryson, A.E.; Ho, Y.C. Applied Optimal Control: Optimization, Estimation, and Control; CRC Press: New York, NY, USA, 1975. [Google Scholar]
  37. Zhou, Y. Viscoelastic Damping Structure Design; Wuhan University of Technology Press: Wuhan, China, 2006. [Google Scholar]
  38. Ma, H.; Ma, J. Design of a Transverse Shaking Table Test for Utility Tunnels. China Earthq. Eng. J. 2020, 42, 175–181. [Google Scholar]
  39. Deringöl, A.H.; Güneyisi, E.M. Influence of nonlinear fluid viscous dampers in controlling the seismic response of the base-isolated buildings. Structures 2021, 34, 1923–1941. [Google Scholar] [CrossRef]
  40. Yang, J.; Long, Y.; Zhuang, H.; Ren, J.; Chen, W. Seismic performance levels of frame-type subway underground station with three layers and three spans. Chin. J. Geotechnol. Eng. 2020, 42, 2240–2248. [Google Scholar]
  41. Tso, W.K.; Zhu, T.J.; Heidebrecht, A.C. Engineering implication of ground motion A/V ratio. Soil Dyn. Earthq. Eng. 1992, 11, 133–144. [Google Scholar] [CrossRef]
  42. Zain, M.; Usman, M.; Farooq, S.H. A Framework with reduced computational burden for Seismic Fragility Assessment of Reinforced Concrete Buildings in High-Intensity Seismic Zones. Structures 2021, 33, 3055–3065. [Google Scholar] [CrossRef]
  43. Ohtori, Y.; Christenson, R.E.; Spencer, B.F.; Dyke, S.J. Benchmark Control Problems for Seismically Excited Nonlinear Buildings. J. Eng. Mech. 2004, 130, 366–385. [Google Scholar] [CrossRef] [Green Version]
  44. Lu, K.C.; Loh, C.H.; Yang, J.N.; Lin, P.Y. Decentraliszed sliding mode control of a building using MR dampers. Smart Mater. Struct. 2008, 17, 055006. [Google Scholar] [CrossRef]
Figure 1. 20-story building model.
Figure 1. 20-story building model.
Buildings 12 00008 g001
Figure 2. Modal disturbance degree and its evaluation index under medium soil condition: (a) Modal disturbance degree; (b) v i .
Figure 2. Modal disturbance degree and its evaluation index under medium soil condition: (a) Modal disturbance degree; (b) v i .
Buildings 12 00008 g002
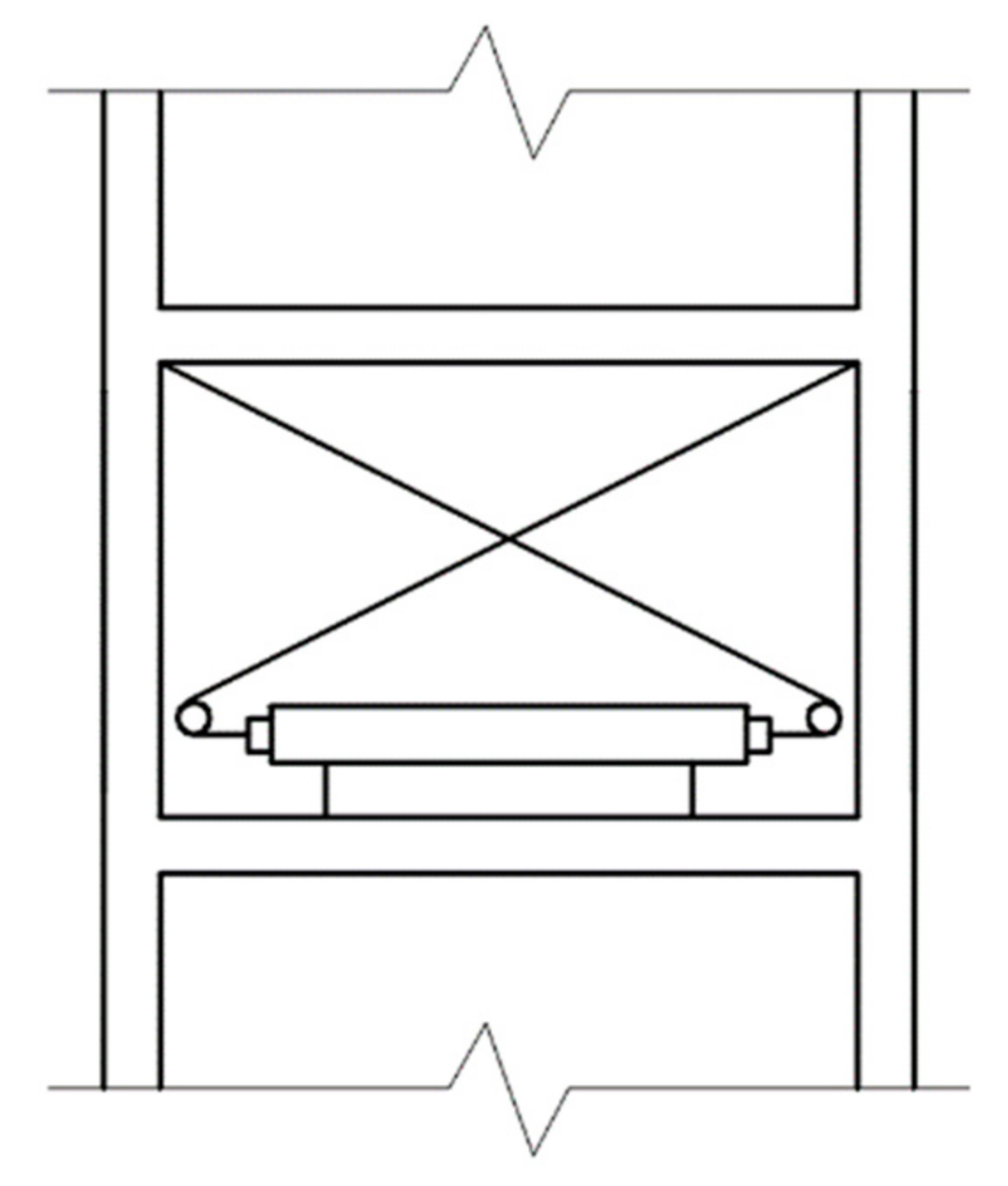
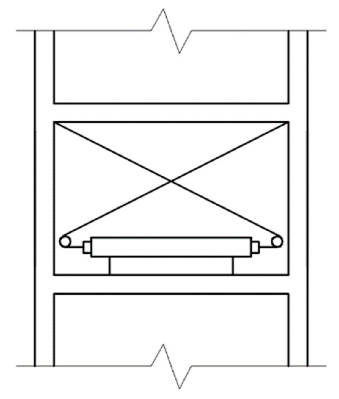
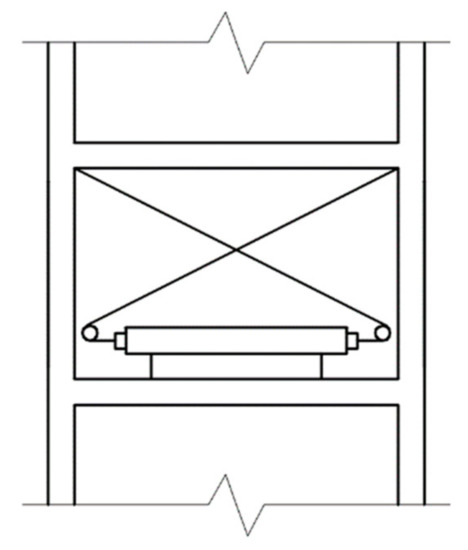
Figure 3. Actuator with horizontal placement.
Figure 3. Actuator with horizontal placement.
Buildings 12 00008 g003
Figure 4. Comparison of singular-value Bode indexes of closed-loop system transfer function of under different weight coefficients: (a) Case I; (b) Case II; (c) Case III; (d) Case IV; (e) Case V; (f) Case VI; (g) Case I–IV in the Case 3.
Figure 4. Comparison of singular-value Bode indexes of closed-loop system transfer function of under different weight coefficients: (a) Case I; (b) Case II; (c) Case III; (d) Case IV; (e) Case V; (f) Case VI; (g) Case I–IV in the Case 3.
Buildings 12 00008 g004
Figure 5. Maximum acceleration of each story with different actuator placements: (a) Kobe; (b) El-Centro; (c) Tabas; (d) Artificial seismic wave.
Figure 5. Maximum acceleration of each story with different actuator placements: (a) Kobe; (b) El-Centro; (c) Tabas; (d) Artificial seismic wave.
Buildings 12 00008 g005
Figure 6. Normed acceleration of each story with different actuator placement: (a) Kobe; (b) El-Centro; (c) Tabas; (d) Artificial seismic wave.
Figure 6. Normed acceleration of each story with different actuator placement: (a) Kobe; (b) El-Centro; (c) Tabas; (d) Artificial seismic wave.
Buildings 12 00008 g006
Figure 7. Maximum inter-story drift ratio of each story with different actuator placement: (a) Kobe; (b) El-Centro; (c) Tabas; (d) Artificial seismic wave.
Figure 7. Maximum inter-story drift ratio of each story with different actuator placement: (a) Kobe; (b) El-Centro; (c) Tabas; (d) Artificial seismic wave.
Buildings 12 00008 g007
Figure 8. Normed inter-story drift ratio RMS of each story with different actuator placement: (a) Kobe; (b) El-Centro; (c) Tabas; (d) Artificial seismic wave.
Figure 8. Normed inter-story drift ratio RMS of each story with different actuator placement: (a) Kobe; (b) El-Centro; (c) Tabas; (d) Artificial seismic wave.
Buildings 12 00008 g008
Table 1. Parameter of 20-story building model.
Table 1. Parameter of 20-story building model.
CategoryFloor NumberParameter Value
Seismic Mass1st1.126 × 106 kg
2nd–19th1.100 × 106 kg
20th1.170 × 106 kg
Story Stiffness1st–5th862.07 × 103 kN/m
6th–11th554.17 × 103 kN/m
12th–14th453.51 × 103 kN/m
15th–17th291.23 × 103 kN/m
18th–19th256.46 × 103 kN/m
20th171.70 × 103 kN/m
Natural Damping/5%
Table 2. Foundation frequency and damping ratio.
Table 2. Foundation frequency and damping ratio.
Foundation Type ω g ξ g ω f ξ f
Medium15.710.61.5710.6
Table 3. Actuator placement in different MDM selections.
Table 3. Actuator placement in different MDM selections.
CasesActuator Placement
Case 1 (1–3 modes)1, 2, 3, 4, 5, 6, 9, 10, 11, 17
Case 2 (1~4 modes)1, 2, 3, 4, 5, 7, 8, 9, 10, 14
Case 3 (1~5 modes)1, 2, 3, 4, 6, 7, 8, 11, 12, 16
Case 4 (1~6 modes)1, 2, 3, 4, 6, 7, 8, 10, 11, 17
Case 5 (1~7 modes)1, 2, 3, 6, 8, 9, 10, 12, 15, 20
Table 4. Weight adjustment coefficients in Case I–IV.
Table 4. Weight adjustment coefficients in Case I–IV.
Cases α 1 α 2 β 1 β 2
Case I 1 × 10 5 1 × 10 5 1 × 10 5 1 × 10 5
Case II 5 × 10 5 1 × 10 5 5 × 10 5 1 × 10 5
Case III 10 × 10 5 1 × 10 5 10 × 10 5 1 × 10 5
Case IV 50 × 10 5 1 × 10 5 50 × 10 5 1 × 10 5
Case V 100 × 10 5 1 × 10 5 100 × 10 5 1 × 10 5
Case VI 500 × 10 5 1 × 10 5 500 × 10 5 1 × 10 5
Table 5. Actuator placement in different methods.
Table 5. Actuator placement in different methods.
MethodActuator Placement FloorsWeight Coefficients
Uniform method2, 4, 6, 8, 10, 12, 14, 16, 18, 20Case III
Classic method3, 5, 6, 8, 10, 12, 14, 15, 17, 20Case III
Presented (Case 3)1, 2, 3, 4, 6, 7, 8, 11, 12, 16Case III
Table 6. Evaluation indexes of acceleration under different seismic excitations.
Table 6. Evaluation indexes of acceleration under different seismic excitations.
MethodEvaluation Indexes of Acceleration (Max/Norm) J a / J a
KobeEl CentroTabasArtificial
Uniform0.7932/0.70970.9644/0.75880.7892/0.67410.8814/0.74400.9644/0.7588
Classic0.7881/0.69341.0523/0.74290.7937/0.70030.8620/0.73471.0523/0.7429
Presented0.6962/0.57790.7731/0.66420.6636/0.61420.7336/0.65770.7731/0.6642
Table 7. Evaluation indexes of the inter-story drift ratio under different seismic excitations.
Table 7. Evaluation indexes of the inter-story drift ratio under different seismic excitations.
MethodEvaluation Indexes of the Inter-Story Drift Ratio (Max/Norm) J d / J d
KobeEl CentroTabasArtificial
Uniform0.5490/0.61020.7576/0.84290.7652/0.81190.7941/0.81670.7941/0.8429
Classic0.5292/0.55200.7105/0.78480.7172/0.75260.7343/0.75750.7343/0.7848
Presented0.4820/0.42830.6452/0.69260.6046/0.64030.5855/0.60610.6452/0.6926
Table 8. Evaluation indexes of the vibration control efficiency under different seismic excitations.
Table 8. Evaluation indexes of the vibration control efficiency under different seismic excitations.
Method Evaluation   Indexes   of   the   Vibration   Control   Efficiency   × 10 5 J w
KobeEl CentroTabasArtificial
Uniform9.52170.037720.93202.347120.9320
Classic9.32380.037320.41902.231420.4190
Presented6.85900.030916.53831.710616.5383
Publisher’s Note: MDPI stays neutral with regard to jurisdictional claims in published maps and institutional affiliations.

Share and Cite

MDPI and ACS Style

Zhang, J.; Zhu, Y.; Li, Z.; Tu, J. Research on Optimal Placement of Actuators of High-Rise Buildings Considering the Influence of Seismic Excitation on Structural Modes. Buildings 2022, 12, 8. https://doi.org/10.3390/buildings12010008

AMA Style

Zhang J, Zhu Y, Li Z, Tu J. Research on Optimal Placement of Actuators of High-Rise Buildings Considering the Influence of Seismic Excitation on Structural Modes. Buildings. 2022; 12(1):8. https://doi.org/10.3390/buildings12010008

Chicago/Turabian Style

Zhang, Jiarui, Yaoyang Zhu, Zhao Li, and Jianwei Tu. 2022. "Research on Optimal Placement of Actuators of High-Rise Buildings Considering the Influence of Seismic Excitation on Structural Modes" Buildings 12, no. 1: 8. https://doi.org/10.3390/buildings12010008

APA Style

Zhang, J., Zhu, Y., Li, Z., & Tu, J. (2022). Research on Optimal Placement of Actuators of High-Rise Buildings Considering the Influence of Seismic Excitation on Structural Modes. Buildings, 12(1), 8. https://doi.org/10.3390/buildings12010008

Note that from the first issue of 2016, this journal uses article numbers instead of page numbers. See further details here.

Article Metrics

Back to TopTop