Experimental Study on the Behavior of Steel–Concrete Composite Decks with Different Shear Span-to-Depth Ratios
Abstract
:1. Introduction
2. Experimental Program
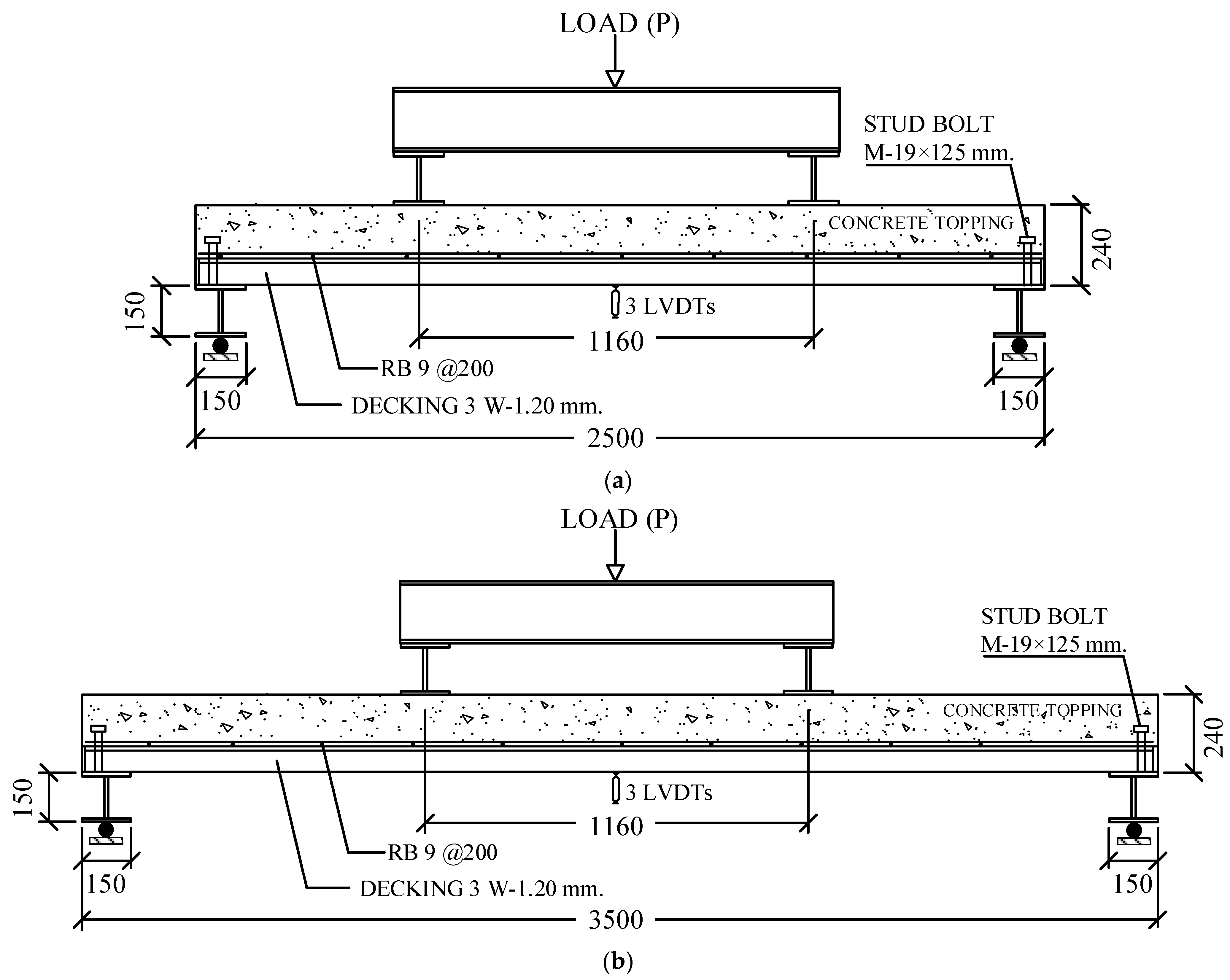
2.1. Test Specimens
2.2. Test Setup and Instrumentation
3. Results and Discussion
3.1. Load and Midspan Deflection Relationship
3.2. Crack Pattern and Mode of Failure
4. Conclusions
- The stiffness, the cracking load, and the load-carrying capacity of the steel‒concrete composite decks increased with the decrease of the shear span-to-depth ratio. However, the composite decks with a longer shear span could provide greater displacement ductility.
- The current research found that the flexural strength of the composite decks predicted by conventional section analysis overestimated the experimental values, which is critical for safety. Therefore, in future, experimental, numerical, and analytical investigations should be conducted to comprehensively develop the strength model for composite decks.
- The shear span-to-depth ratio noticeably affected the failure mechanism of the steel‒concrete composite decks. The flexural cracks concentrated in the pure bending region were observed in the specimen with a shear span-to-depth ratio of 2.5. The specimen with a shear span-to-depth ratio of 4.6 showed the flexural cracks distributed under loading areas. It should be noted that the longer shear span length, the larger the flexural cracks observed in the composite deck.
- At failure completion, the detachment of profile sheeting steel to concrete was observed. A measurement of the bond‒slip profile between the steel sheet and concrete is needed. An on-going study on innovative anchorage and friction systems to prevent the slippage between steel and concrete in the composite slabs is planned by the authors.
- This study might serve as a source for the initial design of steel‒concrete composite slabs regarding the shear span-to-depth ratios.
Author Contributions
Funding
Institutional Review Board Statement
Informed Consent Statement
Data Availability Statement
Acknowledgments
Conflicts of Interest
References
- Allen, D. History of Cold Formed Steel. 2006. Available online: http://www.structuremag.org (accessed on 10 May 2021).
- Canadian Sheet Steel Building Institute (CSSBI). Roof Deck and Composite Floor Deck. 2020. Available online: https://cssbi.ca/products/roof-deck-composite-floor-deck/ (accessed on 15 May 2021).
- Avudaiappan, S.; Flores, E.I.S.; Araya-Letelier, G.; Thomas, W.J.; Raman, S.N.; Murali, G.; Amran, M.; Karelina, M.; Fediuk, R.; Vatin, N. Experimental investigation on composite deck slab made of cold-formed profiled steel sheeting. Metals 2021, 11, 229. [Google Scholar] [CrossRef]
- Gholamhoseini, A.; Gilbert, R.; Bradford, M.; Chang, Z. Longitudinal shear stress and bond–slip relationships in composite concrete slabs. Eng. Struct. 2014, 69, 37–48. [Google Scholar] [CrossRef]
- Akhand, A.; Badaruzzaman, W.W.; Wright, H. Combined flexure and web crippling strength of a low-ductility high strength steel decking: Experiment and a finite element model. Thin-Walled Struct. 2004, 42, 1067–1082. [Google Scholar] [CrossRef]
- Crisinel, M.; Marimon, F. A new simplified method for the design of composite slabs. J. Constr. Steel Res. 2004, 60, 481–491. [Google Scholar] [CrossRef]
- Kim, H.-Y.; Jeong, Y.-J. Ultimate strength of a steel–concrete composite bridge deck slab with profiled sheeting. Eng. Struct. 2010, 32, 534–546. [Google Scholar] [CrossRef]
- Mohammed, B.S.; Al-Ganad, M.A.; Abdullahi, M. Analytical and experimental studies on composite slabs utilising palm oil clinker concrete. Constr. Build. Mater. 2011, 25, 3550–3560. [Google Scholar] [CrossRef]
- Prajapati, K.K.; Vanza, M.G.; Vakil, M.D. Behavior of cold-formed stainless steel composite deck. Int. J. Earth Sci. Eng. 2011, 4, 616–618. [Google Scholar]
- Baskar, R.; Jeyasehar, C.A. Experimental and numerical studies on composite deck slabs. Int. Eng. Res. Dev. 2012, 3, 22–32. [Google Scholar]
- Hedaoo, N.; Gupta, L.M.; Ronghe, G.N. Design of composite slabs with profiled steel decking: A comparison between experimental and analytical studies. Int. J. Adv. Struct. Eng. 2012, 4, 1. [Google Scholar] [CrossRef] [Green Version]
- Abdullah, R.; Easterling, W.S. New evaluation and modeling procedure for horizontal shear bond in composite slabs. J. Constr. Steel Res. 2009, 65, 891–899. [Google Scholar] [CrossRef] [Green Version]
- Chen, S. Load carrying capacity of composite slabs with various end constraints. J. Constr. Steel Res. 2003, 59, 385–403. [Google Scholar] [CrossRef]
- Eldib, M.A.-H.; Maaly, H.; Beshay, A.; Tolba, M. Modelling and analysis of two-way composite slabs. J. Constr. Steel Res. 2009, 65, 1236–1248. [Google Scholar] [CrossRef]
- Chen, S.; Shi, X. Shear bond mechanism of composite slabs—A universal FE approach. J. Constr. Steel Res. 2011, 67, 1475–1484. [Google Scholar] [CrossRef]
- Marimuthu, V.; Seetharaman, S.; Jayachandran, S.A.; Chellappan, A.; Bandyopadhyay, T.; Dutta, D. Experimental studies on composite deck slabs to determine the shear-bond characteristic values of the embossed profiled sheet. J. Constr. Steel Res. 2006, 63, 791–803. [Google Scholar] [CrossRef]
- European Committee for Standardization. Design of Composite Steel and Concrete Structures—General Rules and Rules for Buildings; EN 1994: Part 1. 2003. Available online: http://www.phd.eng.br/wp-content/uploads/2015/12/en.1992.1.1.2004.pdf (accessed on 15 May 2021).
- BSI-BS 5950-4. Use of Steelwork in Building—Code of Practice for Design of Composite Slabs with Profiled Steel Sheeting; BS 5950: Part 4; British Standards Institution (BSI): London, UK, 1994; Available online: https://www.ihsti.com/CIS/document/83107 (accessed on 15 May 2021).
- Baskar, R. Experimental and numerical studies on composite deck slabs. Int. J. Eng. Technol. 2012, 2, 1116–1125. [Google Scholar]
- Lakshmikandhan, K.N.; Sivakumar, P.; Ravichandran, R.; Jayachandran, S.A. Investigations on efficiently interfaced steel concrete composite deck slabs. J. Struct. 2013, 2013, 628759. [Google Scholar] [CrossRef] [Green Version]
- Siva, A.; Senthil, R.; Saddam, M.A. Experimental investigation on longitudinal shear behaviour of steel concrete composite deck slab. J. Struct. Eng. 2016, 43, 445–453. [Google Scholar] [CrossRef]
- Siva, A.; Swaminathan, S.; Prasanth, K.; Senthil, R. Experimental investigation of trapezoidal profile sheeting under varying shear spans. Appl. Mech. Mater. 2016, 845, 148–153. [Google Scholar] [CrossRef]
- Sheet, I.S.; Ahmed, S.M.; Avudaiappan, S.; Flores, E.I.S.; Chandra, Y.; Astroza, R. Shear bond behaviour of elemental composite beams with different configurations. Eng. Struct. 2019, 201, 109742. [Google Scholar] [CrossRef]
- Ahmed, S.M.; Avudaiappan, S.; Sheet, I.S.; Flores, E.I.S.; Pina, J.C.; Yanez, S.J.; Guzmán, C.F. Prediction of longitudinal shear resistance of steel-concrete composite slabs. Eng. Struct. 2019, 193, 295–300. [Google Scholar] [CrossRef]
- Shirgaonkar, A.A.; Patil, Y.D.; Patil, H.S. Influence of stiffeners and pattern of shear screws on behaviour of cold formed profiled deck composite floor. Case Stud. Constr. Mater. 2021, 15, e00572. [Google Scholar] [CrossRef]
- Lim, S.-S.; Wong, J.-Y.; Yip, C.-C.; Pang, J.-W. Flexural strength test on new profiled composite slab system. Case Stud. Constr. Mater. 2021, 15, e00638. [Google Scholar] [CrossRef]
- Hu, B.; Wu, Y.-F. Effect of shear span-to-depth ratio on shear strength components of RC beams. Eng. Struct. 2018, 168, 770–783. [Google Scholar] [CrossRef]
- Shahnewaz, M.; Rteil, A.; Alam, M.S. Shear strength of reinforced concrete deep beams – A review with improved model by genetic algorithm and reliability analysis. Structures 2019, 23, 494–508. [Google Scholar] [CrossRef]
- Londhe, R. Shear strength analysis and prediction of reinforced concrete transfer beams in high-rise buildings. Struct. Eng. Mech. 2011, 37, 39–59. [Google Scholar] [CrossRef] [Green Version]
- Ashour, A.F. Shear capacity of reinforced concrete deep beams. J. Struct. Eng. 2000, 126, 1045–1052. [Google Scholar] [CrossRef]
- Chiu, C.-K.; Ueda, T.; Chi, K.-N.; Chen, S.-Q. Shear crack control for high strength reinforced concrete beams considering the effect of shear-span to depth ratio of member. Int. J. Concr. Struct. Mater. 2016, 10, 407–424. [Google Scholar] [CrossRef] [Green Version]
- ACI Committee 211.4R; Guide for Selecting Proportions for High-Strength Concrete Using Portland Cement and Other Cementitious Materials; American Concrete Institute Pubs: Farmington Hills, MI, USA, 2008.
- Higuchi, K.; Iwama, K.; Maekawa, K. Remaining shear capacity of fire-damaged high strength RC beams after moist curing. J. Adv. Concr. Technol. 2021, 19, 897–912. [Google Scholar] [CrossRef]
- ACI Committee 318-19; Building Code Requirements for Structural Concrete and Commentary; American Concrete Institute: Farmington Hills, MI, USA, 2019.
- Thongchom, C.; Lenwari, A.; Aboutaha, R.S. Effect of sustained service loading on post-fire flexural response of reinforced concrete T-beams. ACI Struct. J. 2019, 116, 243–254. [Google Scholar] [CrossRef]
- Lenwari, A.; Thongchom, C.; Aboutaha, R.S. Cyclic flexural performance of fire-damaged reinforced concrete beams strengthened with carbon fiber-reinforced polymer plates. ACI Struct. J. 2020, 117, 133–146. [Google Scholar] [CrossRef]









| Series | Specimen No. | Width (mm) | Depth (mm) | Length (mm) | Span Length (mm) | Shear Span (mm) | Shear Span-to-Depth (a/h) |
|---|---|---|---|---|---|---|---|
| I | S1 | 1000 | 240 | 2500 | 2350 | 595 | 2.5 |
| S2 | 1000 | 240 | 2500 | 2350 | 595 | 2.5 | |
| II | S3 | 1000 | 240 | 3500 | 3350 | 1095 | 4.6 |
| S4 | 1000 | 240 | 3500 | 3350 | 1095 | 4.6 |
| Series | Specimen No. | Cracking Load (kN) | Cracking Moment (kN-m) | Maximum Load (kN) | Maximum Moment (kN-m) | Maximum Moment by Section Analysis (kN-m) | Difference in Maximum Moment (%) | Deflection at Peak Load (mm) | Failure Mode |
|---|---|---|---|---|---|---|---|---|---|
| I | S1 | 79.8 | 23.7 | 268.1 | 79.8 | 65.2 | 18.3 | 42.9 | SD-CF * |
| S2 | 108.3 | 32.2 | 213 | 63.4 | 65.2 | 2.8 | 38.2 | SD-CF | |
| II | S3 | 50.7 | 27.8 | 93.17 | 51 | 65.2 | 27.8 | 25 | SD-CF |
| S4 | 55 | 30.1 | 113.17 | 62 | 65.2 | 5.2 | 23.9 | SD-CF |
Publisher’s Note: MDPI stays neutral with regard to jurisdictional claims in published maps and institutional affiliations. |
© 2021 by the authors. Licensee MDPI, Basel, Switzerland. This article is an open access article distributed under the terms and conditions of the Creative Commons Attribution (CC BY) license (https://creativecommons.org/licenses/by/4.0/).
Share and Cite
Sirimontree, S.; Thongchom, C.; Keawsawasvong, S.; Nuaklong, P.; Jongvivatsakul, P.; Dokduea, W.; Bui, L.V.H.; Farsangi, E.N. Experimental Study on the Behavior of Steel–Concrete Composite Decks with Different Shear Span-to-Depth Ratios. Buildings 2021, 11, 624. https://doi.org/10.3390/buildings11120624
Sirimontree S, Thongchom C, Keawsawasvong S, Nuaklong P, Jongvivatsakul P, Dokduea W, Bui LVH, Farsangi EN. Experimental Study on the Behavior of Steel–Concrete Composite Decks with Different Shear Span-to-Depth Ratios. Buildings. 2021; 11(12):624. https://doi.org/10.3390/buildings11120624
Chicago/Turabian StyleSirimontree, Sayan, Chanachai Thongchom, Suraparb Keawsawasvong, Peem Nuaklong, Pitcha Jongvivatsakul, Warayut Dokduea, Linh Van Hong Bui, and Ehsan Noroozinejad Farsangi. 2021. "Experimental Study on the Behavior of Steel–Concrete Composite Decks with Different Shear Span-to-Depth Ratios" Buildings 11, no. 12: 624. https://doi.org/10.3390/buildings11120624
APA StyleSirimontree, S., Thongchom, C., Keawsawasvong, S., Nuaklong, P., Jongvivatsakul, P., Dokduea, W., Bui, L. V. H., & Farsangi, E. N. (2021). Experimental Study on the Behavior of Steel–Concrete Composite Decks with Different Shear Span-to-Depth Ratios. Buildings, 11(12), 624. https://doi.org/10.3390/buildings11120624

