Local Retrofit of Reinforced Concrete Structures by the ACM System
Abstract
:1. Introduction
2. Case Study Building
2.1. Geometrical and Structural Characteristics
2.2. Time-History Evaluation Analysis
3. ACM-Based Retrofit Solution
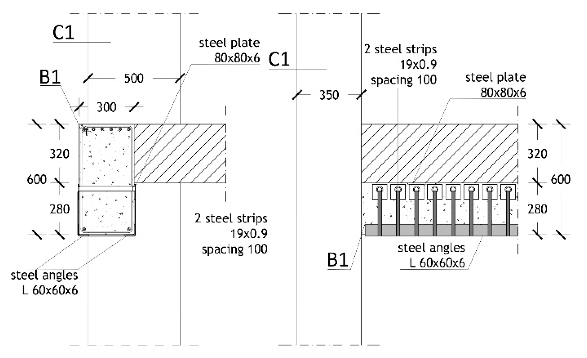
3.1. Beams and Columns
3.2. Beam-to-Column Joints
4. Conclusions
- –
- The response of the structure at the BDE level of seismic action highlights unsafe shear stress states in most beams and columns, with the maximum demand/capacity ratios reaching 2.6 in the former and 3.49 in the latter. Furthermore, about 40% of beams do not meet stress checks in flexure, and more than 50% of columns in normal force/biaxial flexure. About 40% of beam-to-column joints are in unsafe conditions too.
- –
- On the other hand, thanks to the structural regularity of the building and to its low number of storeys, the response in terms of inter-storey drifts is not so poor.
- –
- As a consequence of the combined stress states/drifts assessment, a local strengthening strategy, like the ACM, was evaluated as the preferable retrofit choice for the building.
- –
- Thanks to the active confinement action offered by this technology, the intervention allows reaching a safe response of all members. This is obtained with a relatively small number of strips in all beams (two strip layers with 100 mm spacing) and columns (characterised by the same design output, except for two elements, where four strip layers and a 50 mm spacing are requested).
- –
- A comparable quantity of strips is computed for most beam-to-column joints, except for the perimeter ones, where the number of strip layers exceptionally reaches a maximum of 10 for two of them, situated on the ground storey, and eight or six in four other perimeter joints. This is due to the total absence of stirrups and of any type of transversal reinforcement in the joints, which is typical of the RC structures of the time, causing a remarkably poor response capacity in tension in the most stressed ones.
- –
- In addition to the effects on strength, the confinement action supplied by the ACM produces remarkable benefits in terms of ductility as well, as quantified by an increase in ultimate curvature in columns always greater than 100%, with the peak of 160%.
- –
- The reliable cost analysis of a complete building offered in this study allowed an estimation of the amount of structural works which was 25–30% lower than the cost typically associated to traditional retrofit strategies. This is owed to fewer demolitions, as well as to quicker installation times required by the ACM.
- –
- The localization of the intervention inherent to this retrofit strategy, and the practically null increase in the strengthened RC member sections, helps to avoid any appreciable increase in the lateral stiffness of the structural system, and, thus, any related growth in storey shears.
- –
- The combined seismic performance enhancement/cost evaluation obtained as a final result of the study confirms the opportunity of a wider application of the ACM method to the seismic retrofit of RC frame structures in the next future.
Author Contributions
Funding
Conflicts of Interest
Abbreviations
| ACM | Active Confinement of Masonry (“CAM” in Italian, registered trademark) | 
| ALC | active lateral confinement | 
| PLC | passive lateral confinement | 
| RC | reinforced concrete | 
| BDE | Basic Design Earthquake | 
| SDE | Serviceability Design Earthquake | 
| DCR | demand/capacity ratio | 
References
- Thermou, G.E.; Pantazopoulou, S.J. Assessment indices for the seismic vulnerability of existing R.C. buildings. Earthq. Eng. Struct. Dyn. 2011, 40, 293–313. [Google Scholar] [CrossRef]
- Sorace, S.; Terenzi, G. Structural assessment of a modern heritage building. Eng. Struct. 2013, 49, 743–755. [Google Scholar] [CrossRef]
- Sorace, S.; Terenzi, G. Motion control-based seismic retrofit solutions for a R/C school building designed with earlier Technical Standards. Bull. Earthq. Eng. 2014, 12, 2723–2744. [Google Scholar] [CrossRef]
- Richart, F.A.; Brandtzaeg, A.; Brow, R.L. A Study of the Failure of Concrete under Combined Compressive Stress; University of Illinois Engineering Experiment Station Bulletin: Urbana, IL, USA, 1928. [Google Scholar]
- Kent, D.C.; Park, R. Flexural members with confined concrete. ASCE J. Struct. Div. 1971, 97, 1969–1990. [Google Scholar] [CrossRef]
- Desayi, P.; Iyengar, K.T.S.A.; Reddy, T.S. Equations for stress strain curve of concrete confined in circular steel spiral. Mater. Struct. Test. Res. 1978, 11, 33945. [Google Scholar] [CrossRef]
- Mander, J.B.; Priestley, M.J.N.; Park, R. Theoretical stress strain model for confined concrete. ASCE J. Struct. Eng. 1988, 114, 1804–1826. [Google Scholar] [CrossRef] [Green Version]
- Saatcioglu, M.; Razvi, S.R. Strength and ductility of confined concrete. ASCE J. Struct. Eng. 1992, 118, 1590–1607. [Google Scholar] [CrossRef]
- Uy, B. Strength of reinforced concrete columns bonded with external steel plates. Mag. Concr. Res. 2002, 54, 61–76. [Google Scholar] [CrossRef]
- Li, Y.F.; Chen, S.H.; Chang, K.C.; Liu, K.Y. A constitutive model of concrete confined by steel reinforcements and steel jackets. Can. J. Civ. Eng. 2005, 32, 279–288. [Google Scholar] [CrossRef]
- Gimenez, E.; Adam, J.M.; Ivorra, S.; Calderon, P.A. Influence of strips configuration on the behavior of axially loaded RC columns strengthened by steel angles and strips. Mater. Des. 2009, 30, 4103–4111. [Google Scholar] [CrossRef]
- Montuori, R.; Piluso, V. Reinforced concrete columns strengthened with angles and battens subjected to eccentric load. Eng. Struct. 2009, 31, 539–550. [Google Scholar] [CrossRef]
- Nagaprasad, P.; Sahoo, D.P.; Rai, C.D. Seismic strengthening of RC columns using external steel cage. Earthq. Eng. Struct. Dyn. 2009, 38, 1563–1586. [Google Scholar] [CrossRef]
- Roca, J.G.; Adam, J.M.; Calderon, P.A. Behavior of RC columns strengthened by steel caging under combined bending and axial loads. Constr. Build. Mater. 2011, 25, 2402–2412. [Google Scholar] [CrossRef]
- Wang, L.; Kai-Leung, S.R. Theoretical and experimental study of plate-strengthened concrete columns under eccentric compression loading. ASCE J. Struct. Eng. 2013, 139, 350–359. [Google Scholar] [CrossRef] [Green Version]
- Rodriguez, M.; Park, R. Seismic load tests of reinforced concrete columns strengthened by jacketing. ACI Struct. J. 1994, 91, 150–159. [Google Scholar]
- Priestley, N.M.J.; Seible, F.; Xiao, Y.; Verma, R. Steel jacket retrofitting of reinforced concrete bridge columns for enhanced shear strength—Part 2: Test results and comparison with theory. ACI Struct. J. 1994, 91, 537–548. [Google Scholar]
- Aboutaha, R.S.; Engelhardt, M.D.; Jirsa, J.O.; Kreger, M.E. Retrofit of concrete columns with inadequate lap splices by the use of rectangular steel jackets. Earthq. Spectra 1996, 12, 693–714. [Google Scholar] [CrossRef]
- Xiao, Y.; Wu, H. Retrofit of reinforced concrete columns using partially stiffened steel jackets. ASCE J. Struct. Eng. 2003, 129, 725–732. [Google Scholar] [CrossRef]
- Kaliyaperumal, G.; Sengupta, A.K. Seismic retrofit of columns in buildings for flexure using concrete jacket. ISET Earthq. Techn. J. 2009, 46, 77–107. [Google Scholar]
- Lin, M.N.; Chen, P.C.; Tsai, K.C.; Yu, Y.J.; Liu, J.G. Seismic steel jacketing of rectangular RC bridge columns for the mitigation of lap splice failures. Earthq. Eng. Struct. Dyn. 2010, 39, 1687–1710. [Google Scholar] [CrossRef]
- Belal, M.F.; Mohamed, H.M.; Morad, S.A. Behavior of reinforced concrete columns strengthened by steel jacket. HBRC J. 2015, 11, 201–212. [Google Scholar] [CrossRef] [Green Version]
- Júlio, E.S.; Branco, F.; Silva, V.D. Structural rehabilitation of columns with reinforced concrete jacketing. Prog. Struct. Eng. Mater. 2003, 5, 29–37. [Google Scholar] [CrossRef] [Green Version]
- Bousias, S.N.; Biskinis, D.E.; Fardis, M.N. Strength, stiffness and cyclic deformation capacity of concrete jacketed members. ACI Struct. J. 2007, 104, 521–531. [Google Scholar]
- Vandoros, K.G.; Dritsos, S.E. Concrete jacket construction detail effectiveness when strengthening RC columns. Constr. Build. Mater. 2008, 22, 264–276. [Google Scholar] [CrossRef]
- Sezen, H.; Miller, E.A. Experimental evaluation of axial behavior of strengthened circular reinforced-concrete columns. J. Bridge Eng. 2011, 16, 238–247. [Google Scholar] [CrossRef]
- Foti, D.; Vacca, S. Mechanical behavior of concrete columns reinforced with rheoplastic mortar. Mater. Constr./Build. Mater. 2013, 63, 267–282. [Google Scholar] [CrossRef] [Green Version]
- Lorenzis, L.D.; Tepfers, R. Comparative study of models on confinement of concrete cylinders with fiber-reinforced polymer composites. ASCE J. Compos. Constr. 2003, 7, 21937. [Google Scholar] [CrossRef]
- Xiao, Y.; Wu, H. Compressive behavior of concrete confined by carbon fiber composite jackets. J. Mater. Civ. Eng. 2000, 12, 13946. [Google Scholar] [CrossRef]
- Ilki, A.; Peker, O.; Karamuk, E.; Demir, C.; Kumbasar, N. FRP retrofit of low and medium strength circular and rectangular reinforced concrete columns. J. Mater. Civ. Eng. 2008, 20, 169–188. [Google Scholar] [CrossRef]
- Rousakis, T.C.; Karabinis, A.I. Adequately FRP confined reinforced concrete columns under axial compressive monotonic or cyclic loading. RILEM Mater. Struct. 2012, 45, 957–975. [Google Scholar] [CrossRef]
- Mazza, F.; Mazza, M. Seismic retrofitting of gravity-loads designed r.c. framed buildings combining CFRP and hysteretic damped braces. Bull. Earthq. Eng. 2019, 17, 3423–3445. [Google Scholar] [CrossRef]
- Madotto, R.; Van Engelen, N.C.; Das, S.; Russo, G.; Pauletta, M. Shear and flexural strengthening of RC beams using BFRP fabrics. Eng. Struct. 2021, 229, 111606. [Google Scholar] [CrossRef]
- Rossi, E.; Randl, N.; Mészöly, T.; Harsányi, P. Flexural strengthening with fiber-/textile-reinforced concrete. ACI Struct. J. 2021, 118, 97–107. [Google Scholar]
- Krstulovic-Opara, N.; Thiedeman, P.D. Active confinement of concrete members with self-stressing composites. ACI Struct. J. 2000, 97, 297–308. [Google Scholar]
- Triantafillou, T.C. Seismic retrofitting of structures with fibre-reinforced polymers. Prog. Struct. Eng. Mater. 2001, 3, 57–65. [Google Scholar] [CrossRef]
- Mortazavi, A.; Pilakoutas, K.; Son, K.S. RC column strengthening by lateral pre-tensioning of FRP. Constr. Build. Mater. 2003, 17, 491–497. [Google Scholar] [CrossRef] [Green Version]
- Saatcioglu, M.; Yalcin, C. External prestressing of concrete columns for improved seismic shear resistance. ASCE J. Struct. Eng. 2003, 129, 105770. [Google Scholar] [CrossRef]
- Tamuzs, V.; Tepfers, R.; Chi-Sang, Y.; Rousakis, T.; Repelis, I.; Skruls, V.; Vilks, U. Behaviour of concrete cylinders confined by carbon-composite tapes and prestressed yarns. 1—Experimental data. Mech. Compos. Mater. 2006, 42, 13–32. [Google Scholar] [CrossRef]
- Janke, L.; Czaderski, C.; Ruth, J.; Motavalli, M. Experiments on the residual load-bearing capacity of prestressed confined concrete columns. Eng. Struct. 2009, 31, 2247–2256. [Google Scholar] [CrossRef]
- Andrawes, B.; Shin, M.; Wierschem, N. Active confinement of reinforced concrete bridge columns using shape memory alloys. ASCE J. Bridge Eng. 2010, 15, 81–89. [Google Scholar] [CrossRef]
- Choi, E.; Nam, T.-H.; Yoon, S.J.; Cho, S.K.; Park, J. Confining jackets for concrete cylinder using NiTiNb and NiTi shape memory alloys wires. Phys. Scr. 2010, T139, 014058. [Google Scholar] [CrossRef]
- Shin, M.; Andrawes, B. Experimental investigation of actively confined concrete using shape memory alloys. Eng. Struct. 2010, 32, 656–664. [Google Scholar] [CrossRef]
- Zuboski, G.R. Stress-Strain Behaviour for Actively Confined Concrete Using Shape Memory Alloys. Master’s Thesis, Department of Civil Engineering, The Ohio State University, Columbus, OH, USA, 2013. [Google Scholar]
- Holmes, N.; Niall, D.; O’Shea, C. Active confinement of weakened concrete columns. Mater. Struct. 2015, 48, 2759–2777. [Google Scholar] [CrossRef] [Green Version]
- Tran, H.; Balandraud, X.; Destrebecq, J.F. Improvement of the mechanical performances of concrete cylinders confined actively or passively by means of SMA wires. Arch. Civ. Mech. Eng. 2015, 15, 292–299. [Google Scholar] [CrossRef]
- Fakharifar, M.; Chen, G.; Wu, C.; Shamsabadi, A.; ElGawady, M.A.; Dalvand, A. Rapid repair of earthquake-damaged RC columns with prestressed steel jackets. J. Bridge Eng. 2016, 21, 4015075. [Google Scholar] [CrossRef]
- Abdelrahman, K.; El-Hacha, R. Experimental investigation of RC columns confined with Ni–Ti shape memory alloy wires versus CFRP sheets. Can. J. Civ. Eng. 2021, 48, 925–940. [Google Scholar] [CrossRef]
- Dolce, M.; Nigro, D.; Ponzo, F.C.; Marnetto, R. The CAM system for the retrofit of masonry structures. In Proceedings of the 7th International Seminar on Seismic Isolation, Passive Energy Dissipation and Active Control of Vibrations of Structures, Assisi, Italy, 2–5 October 2001; p. 9. [Google Scholar]
- Marnetto, R.; Vari, A.; Leonori, M. Il Sistema CAM—Consolidamento Strutturale Con Cuciture Inox; 21mo Secolo: Milan, Italy, 2017. (In Italian) [Google Scholar]
- Dolce, M.; Nicoletti, M.; De Sortis, A.; Marchesini, S.; Spina, D.; Talanas, F. Osservatorio Sismico delle Strutture: The Italian structural seismic monitoring network. Bull. Earthq. Eng. 2017, 15, 621–641. [Google Scholar] [CrossRef] [Green Version]
- Dipartimento della Protezione Civile. Available online: https://www.protezionecivile.gov.it (accessed on 22 September 2021).
- SAP2000NL. Theoretical and Users’ Manual; Computers & Structures Inc.: Berkeley, CA, USA, 2021. [Google Scholar]
- Takeda, T.; Sozen, M.A.; Nielsen, N.N. Reinforced concrete response to simulated earthquakes. ASCE J. Struct. Div. 1970, 96, 2557–2573. [Google Scholar] [CrossRef]
- Ministry of Infrastructure and Transport. Update of Technical Standards for Constructions; Ministerial Decree, 17 January 2018, Ordinary supplement to G.U. no. 42, 20 February 2018; Ministry of Infrastructure and Transport: Rome, Italy, 2018. (In Italian) [Google Scholar]
- Ministry of Infrastructure and Transport. Instructions for the application of the Update of Technical Standards for Constructions; Circular no. 7, 21 January 2019, Ordinary supplement to G.U. no. 35; Ministry of Infrastructure and Transport: Rome, Italy, 2019. (In Italian) [Google Scholar]

























| Column Type | Strips (Layers/Spacing) | fcc (MPa) | εcc | εccu | 
|---|---|---|---|---|
| C1 | 2/100 mm | 22.65 | 0.00314 | 0.01136 | 
| C2 | 2/50 mm | 24.77 | 0.00413 | 0.01859 | 
| C3 | 2/100 mm | 22.67 | 0.00315 | 0.01141 | 
| C4 | 2/100 mm | 22.92 | 0.00327 | 0.01231 | 
| C5 | 2/100 mm | 22.59 | 0.00311 | 0.01113 | 
| C6 | 2/100 mm | 22.59 | 0.00311 | 0.01113 | 
| C7 | 4/50 mm | 28.58 | 0.00606 | 0.03072 | 
| C8 | 2/100 mm | 24.88 | 0.00423 | 0.01914 | 
| C9 | 2/100 mm | 23.25 | 0.00343 | 0.01348 | 
| C10 | 4/50 mm | 31.31 | 0.00739 | 0.03813 | 
| C11 | 2/50 mm | 25.92 | 0.00474 | 0.02257 | 
| Beam Type | Strips (Layers/Spacing) | fcc (MPa) | εcc | εccu | 
|---|---|---|---|---|
| B1 | 2/100 mm | 23.79 | 0.0037 | 0.01541 | 
| B2 | 2/100 mm | 24.14 | 0.00385 | 0.01663 | 
| B3/B4 | 2/100 mm | 23.43 | 0.00352 | 0.01414 | 
| B7 | 2/100 mm | 22.58 | 0.0031 | 0.01109 | 
| B9/B10 | 2/100 mm | 22.57 | 0.00302 | 0.01048 | 
| Column | Storey | VEd (kN) | VRsd,c (kN) | VRsd,r (kN) | DCRc | DCRr | 
|---|---|---|---|---|---|---|
| C1 | Ground | 113.4 | 59.8 | 275.3 | 1.90 | 0.41 | 
| C2 | Ground | 287.2 | 99.7 | 530.6 | 2.88 | 0.54 | 
| C4 | Ground | 105.2 | 53.6 | 247.5 | 1.96 | 0.43 | 
| C1 | 1 | 85.6 | 59.8 | 275.3 | 1.43 | 0.31 | 
| C3 | 1 | 110.4 | 74.7 | 290.2 | 1.48 | 0.38 | 
| C4 | 1 | 82.6 | 66.9 | 260.9 | 1.23 | 0.32 | 
| C7 | 1 | 186.9 | 78.9 | 653.7 | 2.37 | 0.29 | 
| C8 | 2 | 117.9 | 78.9 | 423.6 | 1.49 | 0.28 | 
| C10 | 3 | 143.7 | 41.1 | 435.2 | 3.49 | 0.33 | 
| Beam | Storey | VEd (kN) | VRsd,c (kN) | VRsd,r (kN) | DCRc | DCRr | 
|---|---|---|---|---|---|---|
| B1 | Ground | 137.8 | 72.3 | 192.9 | 1.91 | 0.71 | 
| B2 | Ground | 125.6 | 59.8 | 137.4 | 2.60 | 0.91 | 
| B1 | 1 | 121.5 | 72.3 | 192.9 | 1.68 | 0.63 | 
| B2 | 1 | 132.1 | 59.8 | 137.4 | 2.36 | 0.96 | 
| B7 | 2 | 84.5 | 59.8 | 167.5 | 1.41 | 0.51 | 
| Joint Type | Storey | DCRc | DCRr | 
|---|---|---|---|
| C | 1 | 2.25 | 0.97 | 
| H | 1 | 2.00 | 0.96 | 
| N | 1 | 2.23 | 0.94 | 
| O | 1 | 1.95 | 0.93 | 
| P | 1 | 1.47 | 0.89 | 
| B | 2 | 2.74 | 0.99 | 
| E | 2 | 2.25 | 0.90 | 
| F | 2 | 2.14 | 0.94 | 
| Publisher’s Note: MDPI stays neutral with regard to jurisdictional claims in published maps and institutional affiliations. | 
© 2021 by the authors. Licensee MDPI, Basel, Switzerland. This article is an open access article distributed under the terms and conditions of the Creative Commons Attribution (CC BY) license (https://creativecommons.org/licenses/by/4.0/).
Share and Cite
Sorace, S.; Terenzi, G.; Fuso, E. Local Retrofit of Reinforced Concrete Structures by the ACM System. Buildings 2021, 11, 575. https://doi.org/10.3390/buildings11120575
Sorace S, Terenzi G, Fuso E. Local Retrofit of Reinforced Concrete Structures by the ACM System. Buildings. 2021; 11(12):575. https://doi.org/10.3390/buildings11120575
Chicago/Turabian StyleSorace, Stefano, Gloria Terenzi, and Elena Fuso. 2021. "Local Retrofit of Reinforced Concrete Structures by the ACM System" Buildings 11, no. 12: 575. https://doi.org/10.3390/buildings11120575
APA StyleSorace, S., Terenzi, G., & Fuso, E. (2021). Local Retrofit of Reinforced Concrete Structures by the ACM System. Buildings, 11(12), 575. https://doi.org/10.3390/buildings11120575
 
         
                                                



 
       