Effect of Preheating Temperature on Microstructure and Properties of 42CrMo4/38MnVS6 Heterogeneous Laser Welded Joint
Abstract
1. Introduction
2. Materials and Methods
2.1. Materials
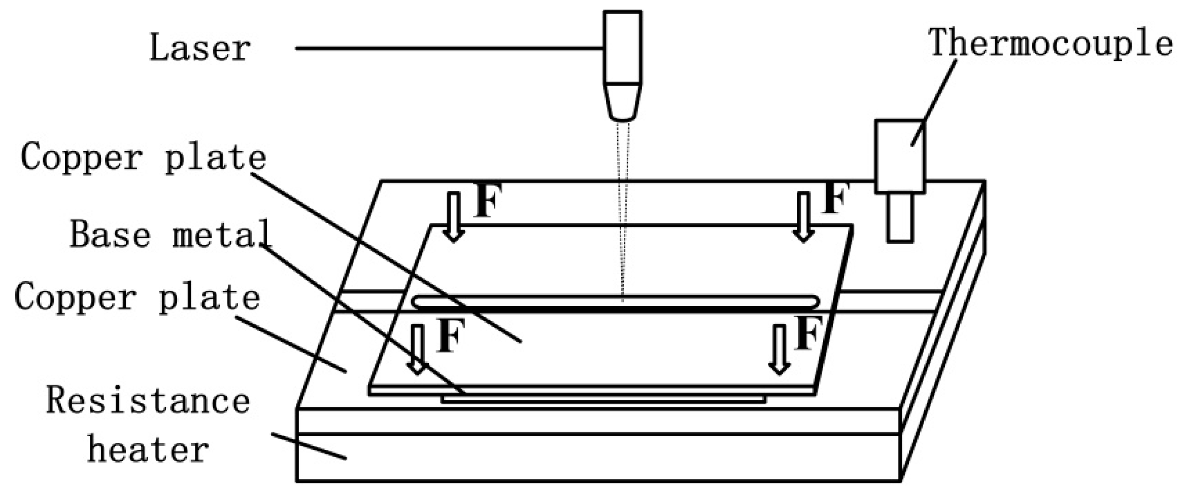
2.2. Process Parameters of Laser Welding
2.3. Metallography and XRD Test
2.4. Mechanical Performance Test
3. Results and Discussion
3.1. Effect of Preheating on the Cross-Section of Laser Welded Joints
3.2. Effect of Preheating on Weld Microstructure
3.3. Effect of Preheating on Martensite in Weld
σ = 130 + 2800x + 0.2(800 − T) (MN/m2)
3.4. Effect of Preheating on Microhardness and Planar Fracture Toughness of Welds
3.5. Effect of Preheating on Tensile Properties of Welded Joints
4. Conclusions
- The weld width of 42CrMo/38MnVS6 laser welded joint changes significantly with the preheating temperature increasing. As the preheating temperature changes from 0 to 300 °C, the weld joint varied from funnel type to X type with the bottom width increasing by 2.57 times. However, the top width increased only by 12.47%;
- The microstructure of weld without preheating is twin martensite with high hardness and poor toughness and the tensile fracture locates at the weld and belongs to brittle fracture;
- With the increase of preheating temperature before welding, the weld structure changes from twin martensite to mixed structure of lath martensite, ferrite and bainite, which is related to the change of distortion energy and strain energy. The increase of preheating temperature can reduce the distortion energy caused by volume change in weld and is beneficial to the growth of martensite along the habit plane, which promotes the formation of lath martensite;
- With the increase of preheating temperature, the average microhardness of the weld gradually decreases. The plane fracture toughness of the weld and the tensile strength of the welded joint first increase and then decrease. The mechanical properties of the welded joint are better when the preheating temperature is in the range of 100–200 °C.
Author Contributions
Funding
Acknowledgments
Conflicts of Interest
References
- Zeng, S.B. Development Trend of Piston Structure and Materials for Heavy Duty Diesel Engines. Auto Manuf. Eng. 2016, 6, 75–77. [Google Scholar]
- Li, H.B.; Li, Y.J.; Wang, J. Research Status of Steel Piston Welding in Internal Combustion Engines. Weld. Dig. Mach. Manuf. 2018, 1, 20–25. [Google Scholar]
- Gabriel, D.; Hettich, T. Top Weld(R) Steel Piston for High Speed Diesel Engine. Foreign Intern. Combust. Engine 2015, 47, 45–49. [Google Scholar]
- Hisham, S.; Kadirgama, K.; Ramasamy, D.; Noor, M.M.; Amirruddin, A.K.; Najafi, G.; Rahman, M.M. Waste cooking oil blended with the engine oil for reduction of friction and wear on piston skirt. Fuel 2017, 205, 247–261. [Google Scholar] [CrossRef]
- Du, S.J.; Gao, M.; Yan, X.B.; Zhang, Y.L. Friction welding parameters and joint microstructure analysis of forged steel pistons. Welding 2014, 04, 13–16. [Google Scholar]
- Dong, H.; Yu, L.; Deng, D.; Zhou, W.; Dong, C. Direct Friction Welding of TiAl Alloy to 42CrMo Steel Rods. Mater. Manuf. Process. 2015, 30, 1104–1108. [Google Scholar] [CrossRef]
- Wu, W. Study on Brazing Joint Process and Mechanism of TC4 Titanium Alloy and 38MnVS6 Steel. Master’s Thesis, Harbin Institute of Technology, Harbin, China, 2017. [Google Scholar]
- Datta, R.; Mukerjee, D.; Jha, S.; Narasimhan, K.; Veeraraghavan, R. Weldability characteristics of shielded metal arc welded high strength quenched and tempered plates. J. Mater. Eng. Perform. 2002, 11, 5–10. [Google Scholar] [CrossRef]
- Yayla, P.; Kaluc, E.; Ural, K. Effects of welding processes on the mechanical properties of HY 80 steel weldments. Mater. Des. 2007, 28, 1898–1906. [Google Scholar] [CrossRef]
- Chang, K.H.; Lee, C.H. Residual stresses and fracture mechanics analysis of a crack in welds of high strength steels. Eng. Fract. Mech. 2007, 74, 980–994. [Google Scholar] [CrossRef]
- Naz, N.; Tariq, F.; Baloch, R.A. Failure analysis of HAZ cracking in low C–CrMoV steel weldment. J. Fail. Anal. Prev. 2009, 9, 370–379. [Google Scholar] [CrossRef]
- Yoo, Y.T.; Ahn, D.G.; Ro, K.B.; Song, S.W.; Shin, H.J.; Im, K. Welding characteristics of S45C medium carbon steel in laser welding process using a high power CW Nd: YAG laser. J. Mater. Sci. 2004, 39, 6117–6119. [Google Scholar] [CrossRef]
- Kuryntsev, S.V.; Gilmutdinov, A.K. Heat treatment of welded joints of steel 0.3C–1Cr–1Si produced by high-power fiber lasers. Opt. Laser Technol. 2015, 74, 125–131. [Google Scholar] [CrossRef]
- Liu, W.J.; Shi, X.M.; Gao, B.; Ma, X.J. Development of a new type of laser welded integral forged steel structure piston. Intern. Combust. Engine Power Plant 2015, 32, 31–33. [Google Scholar]
- Maurizi, M.; Hrdina, D. New MAHLE Steel Piston and Pin Coating System for Reduced TCO of CV Engines. SAE Int. J. Commer. Veh. 2017, 9, 270–275. [Google Scholar] [CrossRef]
- Zhang, Y.; Chen, G.; Chen, B.; Wang, J.; Zhou, C. Experimental study of hot cracking at circular welding joints of 42CrMo steel. Opt. Laser Technol. 2017, 97, 327–334. [Google Scholar] [CrossRef]
- Zhang, Y.; Chen, G.; Zhou, C.; Jiang, Y.; Zhong, P.; Li, S. Pores formation in laser–MAG welding of 42CrMo steel. J. Mater. Process. Technol. 2017, 245, 309–317. [Google Scholar] [CrossRef]
- Köse, C.; Kaçar, R. The effect of preheat & post weld heat treatment on the laser weldability of AISI 420 martensitic stainless steel. Mater. Des. 2014, 64, 221–226. [Google Scholar]
- Hu, L.H.; Huang, J.; Li, Z.G.; Wu, Y.X. Effects of preheating temperature on cold cracks, microstructures and proper- ties of high power laser hybrid welded 10Ni3CrMoV steel. Mater. Des. 2011, 32, 1931–1939. [Google Scholar] [CrossRef]
- Piekarska, W.; Goszczyńska-Króliszewska, D.; Domański, T.; Bokota, A. Analytical and Numerical Model of Laser Welding Phenomena with the Initial Preheating. Procedia Eng. 2017, 177, 149–154. [Google Scholar] [CrossRef]
- Yan, L.; Xinhua, T.; Haichao, C.; Hailiang, X.; Zhipeng, R.; Houyin, Y. Effect of Preheating Temperature on the Microstructure of QSTE420TM+X C45 Dissimilar Steel Laser Welded Joints. Rare Met. Mater. Eng. 2013, 42, 50–54. [Google Scholar]
- Song, M.X.; Wang, H.; Liu, Z.H.; Sun, B. Effect of preheating on laser weld formation of aluminum alloy. Welding 2018, 02, 51–53, 64. [Google Scholar]
- Liu, Q.B. Laser Processing Technology and Its Application; Metallurgical Industry Press: Beijing, China, 2007. [Google Scholar]
- Sun, C.W.; Lu, Q.S.; Fan, Z.X.; Li, C.F. Laser Irradiation Effects; National Defense Industry Press: Beijing, China, 2002. [Google Scholar]
- Lu, F.; Li, X.; Li, Z.; Tang, X.; Cui, H. Formation and influence mechanism of keyhole-induced porosity in deep-penetration laser welding based on 3D transient modeling. Int. J. Heat Mass Transf. 2015, 90, 1143–1152. [Google Scholar] [CrossRef]














| Material | C | Si | Mn | Cr | Mo | S | P | V | N | Fe |
|---|---|---|---|---|---|---|---|---|---|---|
| 42CrMo4 | 0.41 | 0.32 | 0.62 | 1.02 | 0.23 | 0.04 | 0.035 | - | - | base |
| 38MnVS6 | 0.38 | 0.22 | 1.42 | - | - | 0.03 | 0.025 | 0.14 | 0.01 | base |
| Material | Tensile Strength (MPa) | Yield Strength (MPa) | Elongation (%) |
|---|---|---|---|
| 42CrMo4 | 949 | 801 | 16.7 |
| 38MnVS6 | 895 | 698 | 15.2 |
| Preheat (°C) | Pulse Current (A) | Pulse Width (ms) | Frequency |
|---|---|---|---|
| - | |||
| 100 | |||
| 150 | |||
| 200 | 120 | 17.5 | 8 |
| 250 | |||
| 300 |
© 2019 by the authors. Licensee MDPI, Basel, Switzerland. This article is an open access article distributed under the terms and conditions of the Creative Commons Attribution (CC BY) license (http://creativecommons.org/licenses/by/4.0/).
Share and Cite
Su, J.; Qiu, X.; Xing, F.; Ruan, Y. Effect of Preheating Temperature on Microstructure and Properties of 42CrMo4/38MnVS6 Heterogeneous Laser Welded Joint. Metals 2019, 9, 870. https://doi.org/10.3390/met9080870
Su J, Qiu X, Xing F, Ruan Y. Effect of Preheating Temperature on Microstructure and Properties of 42CrMo4/38MnVS6 Heterogeneous Laser Welded Joint. Metals. 2019; 9(8):870. https://doi.org/10.3390/met9080870
Chicago/Turabian StyleSu, Jinlong, Xiaoming Qiu, Fei Xing, and Ye Ruan. 2019. "Effect of Preheating Temperature on Microstructure and Properties of 42CrMo4/38MnVS6 Heterogeneous Laser Welded Joint" Metals 9, no. 8: 870. https://doi.org/10.3390/met9080870
APA StyleSu, J., Qiu, X., Xing, F., & Ruan, Y. (2019). Effect of Preheating Temperature on Microstructure and Properties of 42CrMo4/38MnVS6 Heterogeneous Laser Welded Joint. Metals, 9(8), 870. https://doi.org/10.3390/met9080870
