Effect of Basicity and Al2O3 Content in Slag on Cleanliness of Electroslag Ingot
Abstract
1. Introduction
2. Experimental Section
2.1. Experimental Equipment and Material
2.2. Experimental Schemes and Process
3. Experimental Result
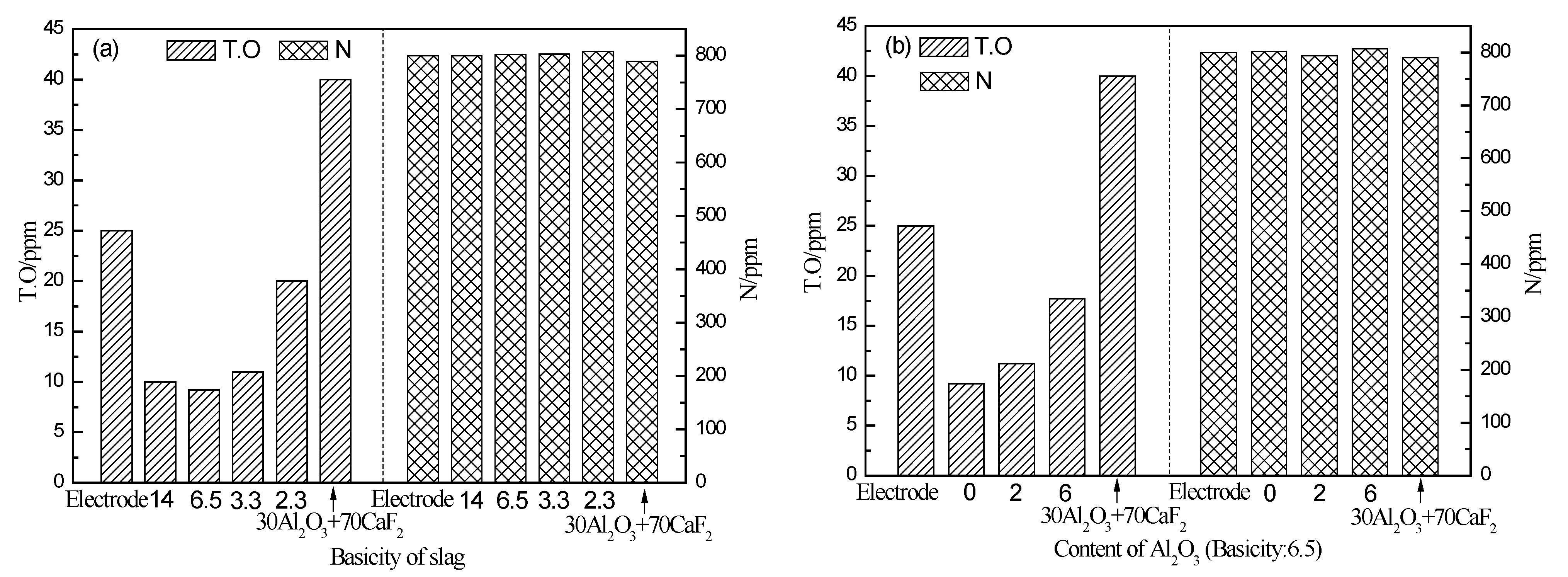
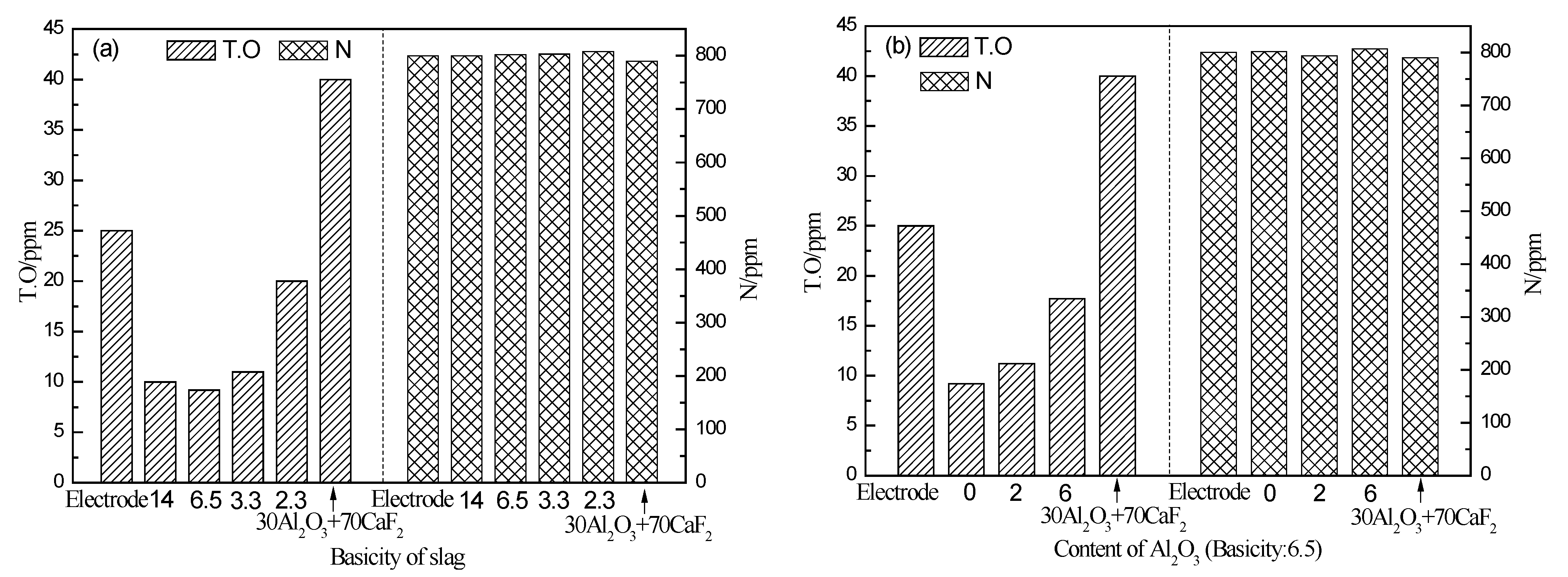
3.1. Variation in Gas Content and Chemical Composition in Electroslag Ingots Prepared with Different Slag
3.2. Effect of Basicity on the Number and Size of Inclusions
3.3. Effect of Basicity on Composition and Morphology of Inclusions
3.4. Effect of Al2O3 Content on the Number and Diameter of Inclusions
3.5. Effect of Al2O3 on Inclusion Compositions in Electroslag Ingot
4. Discussion
5. Conclusions
- The basicity and Al2O3 content in slag have a very important effect on the oxygen content in electroslag ingots. When the basicity was 14~3.3, the oxygen content was 9~11 mm. When the basicity dropped to 2.3, the oxygen content increased to 20 ppm. When no Al2O3 was present in slag with the basicity of 6.5, the oxygen content was 9.2 ppm. As the Al2O3 content increased to 6%, the oxygen content rapidly increased to 17.7 ppm.
- With the decrease in basicity, the number of inclusions in the electroslag ingots increased, and the inclusions were mainly calcium aluminate. As the basicity decreased from 14 to 2.3, the number of inclusions increased from 200 to 1379. When Al2O3-free slag was used for remelting, 204 inclusions were found. When the Al2O3 content increased to 6%, the number of inclusions increased to 491. With the increase in the Al2O3 content, the Ca content in inclusions decreased, and the Al content increased gradually until pure Al2O3 inclusions appeared.
- The decomposition of SiO2 and Al2O3 in the slag pool at a high temperature was the main reason for the increased oxygen content in the electroslag ingots. Therefore, to improve the cleanliness of electroslag ingots, it is advantageous to adopt high-basicity and low-Al2O3 slag for remelting.
Author Contributions
Funding
Institutional Review Board Statement
Informed Consent Statement
Data Availability Statement
Conflicts of Interest
References
- Krewerth, D.; Lippmann, T.; Weidner, A.; Biermann, H. Influence of non-metallic inclusions on fatigue life in the very high cycle fatigue regime. Int. J. Fatigue 2016, 84, 40–52. [Google Scholar] [CrossRef]
- Wang, Z.Y.; Xing, Z.G.; Wang, H.Z.; Shan, D.B. Research progress in influence of non-metallic inclusion characteristics on fatigue properties of iron and steel material. J. Mater. Eng. 2020, 48, 1900669. [Google Scholar]
- Liu, R.; Sun, D.X.; Hou, J.L.; Liu, F.J.; Li, Q. Fatigue life analysis of wind turbine gear with oxide inclusion. Fatigue Fract. Eng. Mater. Struct. 2021, 44, 776–787. [Google Scholar] [CrossRef]
- Yu, F.; Chen, P.X.; Xu, H.F.; Dong, H.; Weng, Y.Q.; Cao, W.Q. Current status of metallurgical quality and fatigue performance of rolling bearing steel and development direction of high-end bearing steel. Acta Metall. Sin. 2020, 56, 513–522. [Google Scholar]
- Bag, A.; Delbergue, D.; Bocher, P.; Lévesque, M.; Brochu, M. Statistical analysis of high cycle fatigue life and inclusion size distribution in shot peened 300M steel. Int. J. Fatigue 2019, 118, 126–138. [Google Scholar] [CrossRef]
- Yang, Z.G.; Li, S.X.; Li, Y.D.; Liu, Y.B.; Hui, W.J.; Weng, Y.Q. Relationship among fatigue life, inclusion size and hydrogen concentration for high-strength steel in the VHCF regime. Mater. Sci. Eng. A 2010, 527, 559–564. [Google Scholar] [CrossRef]
- Lei, Z.Q.; Hong, Y.S.; Xie, J.J.; Sun, C.Q.; Zhao, A.G. Effects of inclusion size and location on very-high-cycle fatigue behavior for high strength steels. Mater. Sci. Eng. A 2012, 558, 234–241. [Google Scholar] [CrossRef]
- Li, Z.B. Electroslag Metallurgy Theory and Practice; Metallurgical Industry Press: Beijing, China, 2010. [Google Scholar]
- Zhou, D.G.; Chen, X.C.; Fu, J.; Wang, P.; Li, J.; Xu, M.D. Inclusions in electroslag remelting and continuous casting bearing steels. J. Univ. Sci. Technol. Beijing 2000, 22, 26–30. [Google Scholar]
- Lin, P.; Jiang, F.; Xue, Z.X.; Du, Y.Q.; Zheng, Y.X.; Guo, B.S. Production of high quality hot work die steel h13 billet with low cost by protective electroslag rapid remelting process (ESRR). In Proceedings of the 6th International Congress on the Science and Technology of Steelmaking, Beijing, China, 12–14 May 2015; pp. 1078–1080. [Google Scholar]
- Zhou, L.X.; Ding, L.; Su, C.Y.; Pan, M.X.; Zhang, Z.; Liu, X.S. Carburized bearing steel G20CrNi2MoA for railway remelted by an intert gas shielding atmosphere5t electroslag remelting furnace. Spec. Steel 2012, 33, 25–28. [Google Scholar]
- Huang, X.C.; Li, B.K.; Liu, Z.Q.; Jiang, T.C.; Chai, Y.Y.; Wu, X.X. Oxygen transport behavior and characteristics of nonmetallic inclusions during vacuum electroslag remelting. Vacuum 2019, 164, 114–120. [Google Scholar] [CrossRef]
- Schneider, R.E.S.; Molnar, M.; Klosch, G.; Schüller, C.; Fasching, J. Effect of the Al2O3 content in the slag on the remelting behavior of a bearing steel. Steel Res. Int. 2020, 91, 2000241. [Google Scholar] [CrossRef]
- Schneider, R.E.S.; Molnar, M.; Klosch, G.; Schüller, C. Effect of the Al2O3 content in the slag on the chemical reactions and nonmetallic inclusions during electroslag remelting. Metall. Mat. Trans. B Process Metall. Mat. Process Sci. 2020, 51, 1904–1911. [Google Scholar] [CrossRef]
- Chang, L.Z.; Shi, X.F.; Cong, J.Q. Study on mechanism of oxygen increase and countermeasure to control oxygen content during electroslag remelting process. Ironmak. Steelmak. 2014, 41, 182–186. [Google Scholar] [CrossRef]
- Chang, K.H.; Xu, T.; Zhu, C.L.; Zhang, L.F.; Su, Y.L.; Shi, X.F.; Chang, L.Z. Effect of ESR on oxygen content and inclusions in GCr15 bearing steel. Iron Steel Vanadium Titan. 2021, 42, 175–181. [Google Scholar]
- Medina, S.F.; Lopez, F.; Coedo, A.G. Manufacture by electroslag remelting of microalloyed steels with two precipitating metal elements. Ironmak. Steelmak. 1997, 24, 329–336. [Google Scholar]
- Medina, S.F.; de Andres, M.P. Electrical field in the resistivity medium (slag) of the ESR process: Influence on ingot production and quality. Ironmak. Steelmak. 1987, 14, 110–121. [Google Scholar]
- Narita, K.; Onoye, T.; Iwamoto, K. On electro-slag remelting of steels. Testu Hagane 1969, 55, 981–1006. [Google Scholar] [CrossRef]














| Elements | C | Si | Mn | P | S | Ni | Cr | O | N | Al |
|---|---|---|---|---|---|---|---|---|---|---|
| wt% | 0.019 | 0.41 | 1.18 | 0.037 | 0.0025 | 8.10 | 18.27 | 0.0025 | 0.080 | 0.010 |
| Slags | Slag Composition | Basicity(R) | Electrical Parameters | ||||
|---|---|---|---|---|---|---|---|
| CaF2 + MgF2/wt% | Al2O3/wt% | CaO + MgO/wt% | SiO2/wt% | Voltage/V | Current/A | ||
| 1 | rest | 0 | 28 | 2 | 14 | 28 | 2200~2500 |
| 2 | rest | 0 | 26 | 4 | 6.5 | 28 | 2200~2500 |
| 3 | rest | 0 | 23 | 7 | 3.3 | 28 | 2200~2500 |
| 4 | rest | 0 | 21 | 9 | 2.3 | 28 | 2200~2500 |
| 5 | rest | 2 | 26 | 4 | 6.5 | 28 | 2200~2500 |
| 6 | rest | 6 | 26 | 4 | 6.5 | 28 | 2200~2500 |
| 7 | 70% CaF2 | 30 | 28 | 1500 | |||
| Experimental Schemes | Chemical Composition wt% | ||||||||
|---|---|---|---|---|---|---|---|---|---|
| C | Si | Mn | P | S | Cr | Ni | Al | Ca | |
| 1 | 0.026 | 0.44 | 1.14 | 0.037 | 0.0011 | 18.12 | 8.19 | 0.008 | 0.0007 |
| 2 | 0.027 | 0.45 | 1.14 | 0.038 | 0.0011 | 18.22 | 8.15 | 0.010 | 0.0008 |
| 3 | 0.020 | 0.45 | 1.14 | 0.039 | 0.0011 | 18.25 | 8.21 | 0.008 | 0.0007 |
| 4 | 0.020 | 0.45 | 1.15 | 0.038 | 0.0024 | 18.26 | 8.16 | 0.009 | 0.0004 |
| 5 | 0.023 | 0.44 | 1.14 | 0.038 | 0.0010 | 18.21 | 8.21 | 0.018 | 0.0005 |
| 6 | 0.020 | 0.43 | 1.13 | 0.037 | 0.0010 | 18.18 | 8.25 | 0.032 | 0.0005 |
| 7 | 0.022 | 0.42 | 1.13 | 0.037 | 0.0028 | 18.16 | 8.19 | 0.036 | 0.0004 |
| Oxides | CaO | Al2O3 | MgO | TiO2 | SiO2 |
| 2.16 | 1.61 | 1.34 | 1.14 | 1.00 |
| Slags | Slag-1 | Slag-2 | Slag-3 | Slag-4 | Slag-5 | Slag-6 | Slag-7 |
| S | 2.09 | 2.01 | 1.90 | 1.83 | 2.00 | 1.97 | 1.61 |
Disclaimer/Publisher’s Note: The statements, opinions and data contained in all publications are solely those of the individual author(s) and contributor(s) and not of MDPI and/or the editor(s). MDPI and/or the editor(s) disclaim responsibility for any injury to people or property resulting from any ideas, methods, instructions or products referred to in the content. |
© 2023 by the authors. Licensee MDPI, Basel, Switzerland. This article is an open access article distributed under the terms and conditions of the Creative Commons Attribution (CC BY) license (https://creativecommons.org/licenses/by/4.0/).
Share and Cite
Shi, X.; Wang, Y.; Wang, B.; Chang, L. Effect of Basicity and Al2O3 Content in Slag on Cleanliness of Electroslag Ingot. Metals 2023, 13, 642. https://doi.org/10.3390/met13040642
Shi X, Wang Y, Wang B, Chang L. Effect of Basicity and Al2O3 Content in Slag on Cleanliness of Electroslag Ingot. Metals. 2023; 13(4):642. https://doi.org/10.3390/met13040642
Chicago/Turabian StyleShi, Xiaofang, Yu Wang, Bingjie Wang, and Lizhong Chang. 2023. "Effect of Basicity and Al2O3 Content in Slag on Cleanliness of Electroslag Ingot" Metals 13, no. 4: 642. https://doi.org/10.3390/met13040642
APA StyleShi, X., Wang, Y., Wang, B., & Chang, L. (2023). Effect of Basicity and Al2O3 Content in Slag on Cleanliness of Electroslag Ingot. Metals, 13(4), 642. https://doi.org/10.3390/met13040642
