Effect of Magnet Alternate Stirring on the Internal Quality of Sn-Pb Alloy
Abstract
:1. Introduction
2. Experimental Section
2.1. Construction of PMS
2.2. Selection of Permanent Magnets
2.3. Selection of Alloy
2.4. Preparation of Experiments
3. Detection of Test Samples
3.1. Detection of Solidification Structure
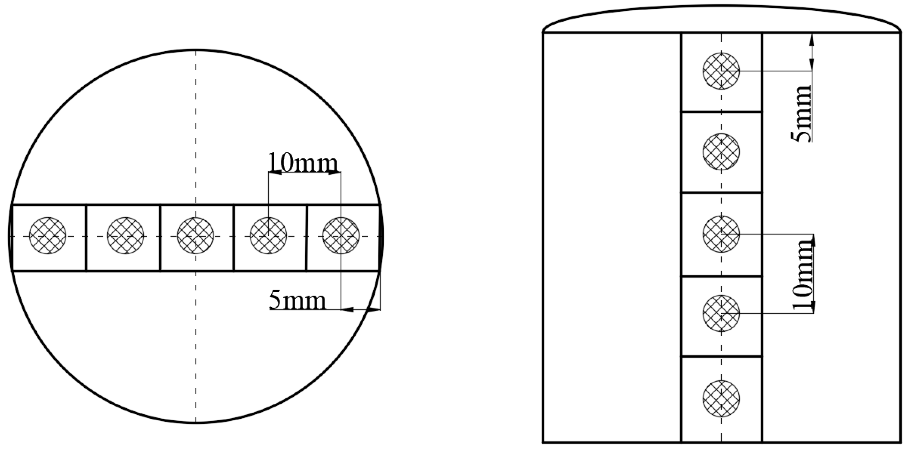
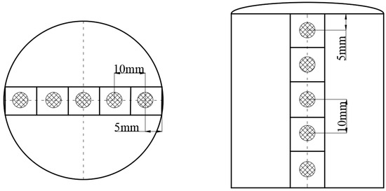
3.2. Detection of Element Uniformity
4. Results and Discussion
4.1. Top Morphology of Ingots
4.2. Solidification Morphology of Ingots
4.3. Distribution of Sn Element Inside Ingots
5. Conclusions
- (1)
- When the alternate stirring mode of the magnetic field was adopted, it obviously stabilized the molten alloy in the crucible. The flutter height at the ingot edge reduced from 4.12 mm to 1.86 mm after the magnetic field was adjusted from the continuous to alternate stirring mode with a speed of 200 rpm.
- (2)
- When the alternate stirring mode of the magnetic field was adopted, it obviously shortened the grain size in the ingot and improved its compactness. When the magnetic field was stationary, the average grain size was about 301 μm. The magnetic field stirring speed was set to 200 rpm, and the corresponding grain size for the continuous stirring and alternate stirring modes were 241 μm and 223 μm, respectively.
- (3)
- When the magnetic field was stationary, the Pb element was deposited at the bottom of the ingot, and the proportion of Sn element at the top and bottom of the ingot was 88.5% to 65.0%. With the circular motion of the magnetic field, the uniformity of the elements in the ingots was improved. When the magnetic alternate stirring mode was adopted, the proportion of Sn element at the top and bottom of the ingot was 86.7% and 85.3%, which greatly improved the uniformity of the element distribution inside the ingot.
- (4)
- Regarding circular ingots, the magnetic alternate stirring mode can significantly improve the quality of the ingot. It can be further envisioned that in the continuous casting of round billet, the alternate electromagnetic stirring mode could be used in the production process to improve the internal quality of the billet.
Author Contributions
Funding
Data Availability Statement
Conflicts of Interest
References
- Zhou, J.; Zhu, L.; Sun, L.; Wang, B.; Xiao, P. Analysis of the Formation Mechanism of Surface Cracks of Continuous Casting Slabs Caused by Mold Wear. Processes 2022, 10, 797. [Google Scholar] [CrossRef]
- Yang, B.; Wang, M.; Zhang, H.; Liu, S.; Wang, G.; Wang, X. Optimization of Heavy Reduction Process on Continuous-Casting Bloom. Metals 2022, 12, 1873. [Google Scholar] [CrossRef]
- Li, X.; Wang, X.; Bao, Y.; Gong, J.; Pang, W.; Wang, M. Effect of Electromagnetic Stirring on the Solidification Behavior of High-Magnetic-Induction Grain-Oriented Silicon Steel Continuous Casting Slab. JOM 2020, 72, 3628–3633. [Google Scholar] [CrossRef]
- Han, Y.-S.; Yan, W.; Zhang, J.-S.; Chen, J.; Chen, W.-Q.; Liu, Q. Comparison and integration of final electromagnetic stirring and thermal soft reduction on continuous casting billet. J. Iron Steel Res. Int. 2020, 28, 160–167. [Google Scholar] [CrossRef]
- Arh, B.; Tehovnik, F.; Plostajner, H. The influence of the electromagnetic stirring on macro and microstructure of the continuously casting billets. Metalurgija 2005, 44, 305–310. [Google Scholar]
- Cong, J.; Wang, H.; Ling, H.; Yang, J.; Hu, P.; Zhang, X. The research on internal crack formation and solving in billet during soft reduction. Met. Res. Technol. 2017, 114, 517. [Google Scholar] [CrossRef]
- Zou, J.; Zhang, H.; Wu, Z.; Wang, J.; Li, B.; Cui, J.; Nagaumi, H.; Li, Y. Effects of an intermittent permanent magnet stirring on the melt flow and grain refinement of Al–4.5Cu alloy. J. Mater. Res. Technol. 2021, 14, 1585–1600. [Google Scholar] [CrossRef]
- Ma, H.; Zhang, J.; Yin, Y.; Yan, Z.; Liu, H. Numerical simulation on the central macro-segregation during billet continuous casting with the soft reduction. Ironmak. Steelmak. 2022, 49, 887–897. [Google Scholar] [CrossRef]
- Geng, X.; Li, X.; Liu, F.B.; Li, H.B.; Jiang, Z.H. Optimization of electromagnetic stirring parameters for round billet continuous casting molds. J. Cent. South Univ. 2015, 46, 4411–4416. [Google Scholar]
- Guoping, L.; Yaoguang, W.; Jianping, Z. Research on effect of mold electromagnetic stirring on quality of round billets. Iron. Steel. 2005, 40, 30–32,53. [Google Scholar]
- Wu, C.; Wang, Q.; Li, D.; Zhu, X.; Jin, B.; Wang, L.; Lei, H. Macro-segregation under new flow pattern and temperature distribution induced by electromagnetic swirling flow in nozzle during continuous casting of square billet. J. Mater. Res. Technol. 2020, 9, 5630–5639. [Google Scholar] [CrossRef]
- Li, J.B.; Deng, B.R.; Yang, X.Z.; Liang, L.; Wang, H.C.; Wu, T. Microstructure control of continuous casting slab of grain oriented silicon steel. Mater. Trans. 2022, 63, 112–117. [Google Scholar] [CrossRef]
- Li, S.; Han, Z.; Zhang, J. Numerical Modeling of the Macrosegregation Improvement in Continuous Casting Blooms by Using F-EMS. JOM 2020, 72, 4117–4126. [Google Scholar] [CrossRef]
- Jiang, D.-Q.; Wang, R.; Zhang, Q.; Zhang, Z.-Q.; Tu, T.-S.; Wang, J.; Ren, Z.-M. Effect of final electromagnetic stirring on solidification microstructure of GCr15 bearing steel in simulated continuous casting. J. Iron Steel Res. Int. 2020, 27, 141–147. [Google Scholar] [CrossRef]
- Nick, A.S.; Vynnycky, M. On longitudinal electromagnetic stirring in the continuous casting of steel blooms. J. Eng. Math. 2020, 120, 129–151. [Google Scholar] [CrossRef]
- An, H.; Bao, Y.; Wang, M.; Zhao, L. Effects of electromagnetic stirring on fluid flow and temperature distribution in billet continuous casting mould and solidification structure of 55SiCr. Met. Res. Technol. 2017, 115, 103. [Google Scholar] [CrossRef]
- Yu, H.Q.; Zhu, M.Y. Influence of electromagnetic stirring on transport phenomena in round billet continuous casting mould and macrostructure of high carbon steel billet. Ironmak. Steelmak. 2012, 39, 574–584. [Google Scholar] [CrossRef]
- Jiang, D.; Wang, R.; Zhu, L.; Zhang, Q.; Li, C.; Wang, J.; Ren, Z. Thermal and numerical simulation of mould electromagnetic stirring of GCr15 bearing steel. Mater. Sci. Technol. 2019, 35, 2173–2180. [Google Scholar] [CrossRef]
- Yang, B.; Deng, A.-Y.; Li, Y.; Xu, X.-J.; Wang, E.-G. Numerical simulation of flow and solidification in continuous casting process with mold electromagnetic stirring. J. Iron Steel Res. Int. 2018, 26, 219–229. [Google Scholar] [CrossRef]
- Xia, Y.; Li, L.; Wang, P.; Tie, Z.-P.; Lan, P.; Tang, H.-Y.; Zhang, J.-Q. Characteristics of the as-cast high-carbon micro-alloyed continuous casting bloom steel for expansion-break connecting rods. Chin. J. Eng. 2022, 44, 189–197. [Google Scholar]
- Zhan, N.; Hu, Z.; Zhang, X. Experimental Investigation of Fatigue Crack Growth Behavior in Banded Structure of Pipeline Steel. Metals 2020, 10, 1193. [Google Scholar] [CrossRef]
- Cheng, C.G.; Liu, Z.T.; Wan, W.C.; Zheng, Y.R.; Di, Y.T. Study on Formation Mechanism of Frame-Shaped Segregation in 40Cr Wire Rod Rolled from Bloom. Adv. Mater. Res. 2011, 402, 211–214. [Google Scholar] [CrossRef]
- He, X.; Wang, X.; Wang, Y.; Meng, Y. Formation and effects of banded structures in 55SiCrA spring steel wire rod. Met. Res. Technol. 2015, 112, 606. [Google Scholar] [CrossRef]
- Zhang, Z.; Wu, M.; Zhang, H.; Hahn, S.; Wimmer, F.; Ludwig, A.; Kharicha, A. Modeling of the as-cast structure and macrosegregation in the continuous casting of a steel billet: Effect of M-EMS. J. Mater. Process. Technol. 2022, 301, 117434. [Google Scholar] [CrossRef]
- Wang, P.; Tie, Z.; Li, S.; Lan, P.; Tang, H.; Zhang, J. Effect of M-EMS current intensity on the subsurface segregation and internal solidification structure for bloom casting of 42CrMo steel. Ironmak. Steelmak. 2021, 48, 779–787. [Google Scholar] [CrossRef]
- Huo, Y.-K.; Zhao, L.-H.; An, H.-H.; Wang, M.; Zou, C.-D. Model prediction of the effect of in-mold electromagnetic stirring on negative segregation under bloom surface. Int. J. Miner. Met. Mater. 2020, 27, 319–327. [Google Scholar] [CrossRef]
- Wang, P.; Xiao, H.; Shen, H.; Chen, X.; Chen, L.; Lan, P.; Zhang, J. Effect of mold electromagnetic stirring on the gear steel solidification behavior of its large-sized round casting. J. Mech. Eng. 2021, 57, 105–111. [Google Scholar]
- Lijima, Y.; Kakehi, K. Effect of Pb on the mechanical properties of Inconel 718. J. Jpn. I Met. Mater. 2014, 78, 201–204. [Google Scholar]
- Jiang, Y.; Zhao, J.; Sun, L.; Gong, H.; Gong, X. Effects of alloying elements on cohesion and brittleness of grain boundary of iron. Mater. Chem. Phys. 2022, 275, 125291. [Google Scholar] [CrossRef]















| Material Properties | Sn-20 wt-% Pb Alloy | GCr15 Steel |
|---|---|---|
| Liquid temperature/°C | 206 | 1467 |
| Solidus temperature/°C | 183 | 1366 |
| Density/kg·m−3 | 7860 | 7200 |
| Electrical conductivity/1·(Ω·m)−1 | 1.90 × 106 | 7.14 × 105 |
| Kinematic viscosity/m2·s−1 | 3.02 × 10−7 | 5.72 × 10−7 |
| No. | Stirring Mode | Stirring Speed/rpm | Stirring Time |
|---|---|---|---|
| 1 | PMS—NO | 0 | 0 |
| 2 | PMS—CS | 100 | 60 min |
| 3 | PMS—CS | 200 | 60 min |
| 4 | PMS—AS | 200 | 7 s–5 s–7 s, 60 min |
| Stirring Mode | Continuous Stirring | Alternate Stirring | ||
|---|---|---|---|---|
| Stirring speed/rpm | 0 | 100 | 200 | 200 |
| Flutter height/mm | 0 | 1.12 | 4.12 | 1.86 |
| H1 | H2 | H3 | H4 | H5 | Z1 | Z2 | Z3 | Z4 | Z5 | |
|---|---|---|---|---|---|---|---|---|---|---|
| 0 rpm | 84.2 | 84.9 | 83.7 | 84.6 | 84.7 | 88.5 | 87.5 | 83.7 | 81.1 | 65.0 |
| 100 rpm-CS | 79.9 | 85.1 | 85.8 | 84.9 | 80.3 | 88.3 | 86.6 | 85.8 | 83.2 | 77.6 |
| 200 rpm-CS | 82.1 | 85.7 | 86.2 | 85.2 | 81.8 | 87.7 | 86.2 | 86.2 | 84.7 | 82.4 |
| 200 rpm-AS | 84.8 | 85.9 | 86.2 | 86.5 | 84.6 | 86.7 | 85.3 | 86.8 | 86.2 | 85.3 |
Disclaimer/Publisher’s Note: The statements, opinions and data contained in all publications are solely those of the individual author(s) and contributor(s) and not of MDPI and/or the editor(s). MDPI and/or the editor(s) disclaim responsibility for any injury to people or property resulting from any ideas, methods, instructions or products referred to in the content. |
© 2023 by the authors. Licensee MDPI, Basel, Switzerland. This article is an open access article distributed under the terms and conditions of the Creative Commons Attribution (CC BY) license (https://creativecommons.org/licenses/by/4.0/).
Share and Cite
Zhang, M.; Bao, Y.; Zhang, H. Effect of Magnet Alternate Stirring on the Internal Quality of Sn-Pb Alloy. Metals 2023, 13, 1732. https://doi.org/10.3390/met13101732
Zhang M, Bao Y, Zhang H. Effect of Magnet Alternate Stirring on the Internal Quality of Sn-Pb Alloy. Metals. 2023; 13(10):1732. https://doi.org/10.3390/met13101732
Chicago/Turabian StyleZhang, Mengyun, Yanping Bao, and Haibo Zhang. 2023. "Effect of Magnet Alternate Stirring on the Internal Quality of Sn-Pb Alloy" Metals 13, no. 10: 1732. https://doi.org/10.3390/met13101732
APA StyleZhang, M., Bao, Y., & Zhang, H. (2023). Effect of Magnet Alternate Stirring on the Internal Quality of Sn-Pb Alloy. Metals, 13(10), 1732. https://doi.org/10.3390/met13101732
