Experimental Observation and Simulation on Crack Growth Behavior of An Equivalent Welding Joint for A Deep-Sea Spherical Hull
Abstract
:1. Introduction
2. Design of the Equivalent Welding Joint
2.1. Material of the Equivalent Welding Joint
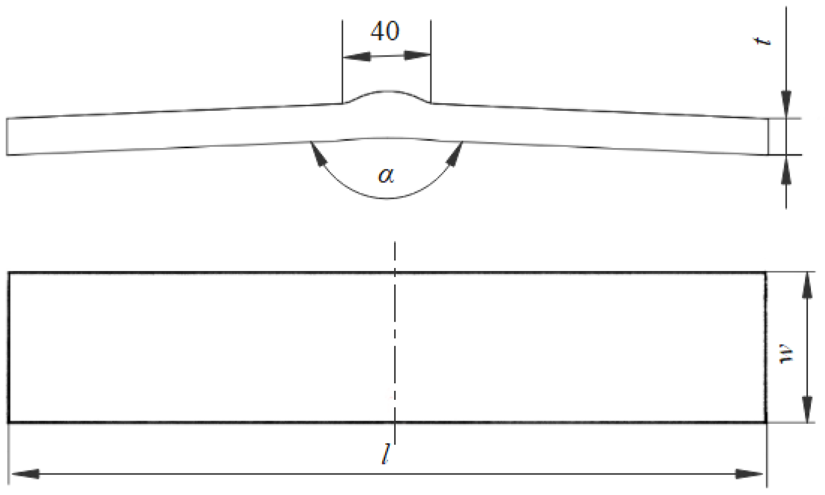
2.2. Design of the Equivalent Welding Joint
3. Experiment
3.1. Residual Stress Measurement
3.2. Fatigue Experiment
4. Results and Discussions
4.1. Experimental Observation
4.2. Numerical Simulation
5. Summary and Conclusions
Author Contributions
Funding
Institutional Review Board Statement
Informed Consent Statement
Data Availability Statement
Acknowledgments
Conflicts of Interest
References
- Gorman, J.J.; Louie, L.L. Submersible pressure hull design parametrics. SNAME Trans. 1991, 99, 119–146. [Google Scholar]
- Cui, W.C.; Wang, F.; Pan, B.B.; Hu, Y.; Du, Q.H. Chapter 1 Issues to be Solved in the Design, Manufacture and Maintenance of a Full Ocean Depth Manned Cabin. In Advances in Engineering Research; Petrova, V.M., Ed.; Nova Science Publishers: New York, NY, USA, 2015; Volume 11. [Google Scholar]
- Wang, F.; Zhang, S.J.; Yu, S.; Du, Q.H.; Zhang, J.; Jiang, Z.; Cui, W.C. Design and analysis on a model sphere made of maraging steel to verify the applicability of the current design code. Ships Offshore Struct. 2019, 14, 86–94. [Google Scholar] [CrossRef]
- Zhang, J.; Di, C.; Wang, F.; Tang, W. Buckling of segmented toroids under external pressure. Ocean Eng. 2021, 239, 109921. [Google Scholar] [CrossRef]
- ASME PVHO-1-2007; Safety Standard for Pressure Vessels for Human Occupancy, Edition 2007. The American Society of Mechanical Engineers: New York, NY, USA, 2007.
- Wang, F.; Wang, W.W.; Cui, W.C. Influential factors to be considered for a tentative long-term service life assessment method of the deep-sea manned cabins. Chin. J. Ship Res. 2019, 14, 39–46. [Google Scholar]
- Zhang, J.; Zhang, Y.W.; Wang, F.; Zhu, Y.M.; Cui, W.C.; Chen, Y. Experimental and numerical studies on the buckling of the hemispherical shells made of maraging steel subjected to extensively high external pressure. Int. J. Press. Vessel. Pip. 2019, 172, 56–64. [Google Scholar] [CrossRef]
- Wang, F.; Pan, B.; Shen, Y.; Cui, W. On fracture resistance parameter from non-standard fracture test specimens of titanium alloy. Ships Offshore Struct. 2012, 9, 177–185. [Google Scholar] [CrossRef]
- Wang, F.; Cui, W.; Pan, B.; Shen, Y.; Huang, X. Normalised fatigue and fracture properties of candidate titanium alloys used in the pressure hull of deep manned submersibles. Ships Offshore Struct. 2014, 9, 297–310. [Google Scholar] [CrossRef]
- Li, L.B.; Bao, H.N.; Wan, Z.Q.; Li, Y.Q.; Sun, K.X.; Luo, G.E. Influence of residual stress due to the equatorial weld on the ultimate strength of a Ti80 spherical pressure shell. Int. J. Adv. Manuf. Technol. 2021, 116, 1831–1841. [Google Scholar] [CrossRef]
- Zhu, Y.M.; Yao, X.; Yang, L.F.; Wang, F.; Zhang, J. Effect of stress intensity factor on surface crack of deep-sea spherical shell. J. Ship Mech. 2019, 5, 476–484. [Google Scholar]
- Zhang, S.J.; Wang, F.; Cui, W.C. Fatigue Crack Growth Properties of 18Ni(250) and 18Ni(350) Used for Full-Ocean-Depth Pressure Hull. J. Ship Mech. 2018, 22, 1540–1548. [Google Scholar]
- Jasion, P.; Magnucki, K. Elastic buckling of clothoidalspherical shells under external pressure-theoretical study. ThinWalled Struct. 2015, 86, 18–23. [Google Scholar]
- Yu, C.L.; Chen, Z.T.; Chen, C.; Chen, Y.T. Influence of initial imperfections on ultimate strength of spherical shells. Int. J. Nav. Archit. Ocean. Eng. 2017, 9, 473–483. [Google Scholar] [CrossRef]
- Zhu, Y.M.; Ma, Q.L.; Zhang, J.; Tang, W.X.; Dai, Y.J. Opening reinforcement design and buckling of spherical shell subjected to external pressure. Int. J. Press. Vessel. Pip. 2017, 158, 29–36. [Google Scholar] [CrossRef]
- Zhang, J.; Zhang, M.; Cui, W.; Tang, W.; Wang, F.; Pan, B. Elastic-plastic buckling of deep sea spherical pressure hulls. Mar. Struct. 2018, 57, 38–51. [Google Scholar] [CrossRef]
- Zhang, J.; Hu, H.F.; Wang, F.; Li, Y.S.; Tang, W.X. Buckling of externally pressurized torispheres with uniform and stepwise thickness. Thin-Walled Struct. 2022, 173, 109045. [Google Scholar] [CrossRef]
- Huang, C.; Zhang, J.; Wang, F.; Di, C.Y. Restoration of Ultimate Strength of Dented Hemispheres Under External Hydrostatic Pressure. China Ocean. Eng. 2022, 36, 500–507. [Google Scholar] [CrossRef]
- China Classification Society (CCS). Specification for Classification of Diving Systems and Submersibles; China Classification Society: Beijing, China, 2018. [Google Scholar]
- Wang, F.; Wang, K.; Cui, W.C. A simplified life estimation method for the spherical hull of deep manned submersibles. Mar. Struct. 2015, 44, 159–170. [Google Scholar] [CrossRef]
- Wang, F.; Cui, W.C. Recent Developments on the Unified Fatigue Life Prediction Method and its Applications. J. Mar. Sci. Eng. 2020, 8, 427. [Google Scholar] [CrossRef]
- Wang, F.; Hu, Y.; Wang, Y.Y.; Lu, Z.Q.; Du, Q.H.; Cui, W.C. Life assessment procedure of PMMA viewport in full-ocean-depth manned submersible. In Proceedings of the 1st International Conference on Ships and Offshore Structures (ICSOS), Hamburg, Germany, 31 August–2 September 2016. [Google Scholar]
- Sun, C.; Li, Y.; Xu, K.; Xu, B. Effects of intermittent loading time and stress ratio on dwell fatigue behavior of titanium alloy ti-6al-4v eli used in deep-sea submersibles. J. Mater. Sci. Technol. 2021, 77, 223–236. [Google Scholar] [CrossRef]
- Labeas, G.; Diamantakos, I.; Kermanidis, T. Assessing the effect of residual stresses on the fatigue behavior of integrally stiffened structures. Theor. Appl. Fract. Mech. 2009, 51, 95–101. [Google Scholar] [CrossRef]
- Hobbacher, A. Recommendations for Fatigue Design of Welded Joints and Components; Springer International Publishing: Cham, Switzerland, 2016. [Google Scholar]
- Yu, C.L.; Guo, Q.B.; Gong, X.B.; Yang, Y.F.; Zhang, J. Fatigue life assessment of pressure hull of deep-sea submergence vehicle. Ocean. Eng. 2022, 245, 110528. [Google Scholar] [CrossRef]
- Miskulski, Z.; Lassen, T. Fatigue crack initiation and subsequent crack growth in fillet welded steel joints. Int. J. Fatigue 2019, 120, 303–318. [Google Scholar] [CrossRef]
- Cui, W.; Wang, F.; Huang, X. A unified fatigue life prediction method for marine structures. Mar. Struct. 2011, 24, 153–181. [Google Scholar] [CrossRef]
- Cui, W.C.; Huang, X.P. A general constitutive relation for fatigue crack growth analysis of metal structures. Acta Metall. Sin. (Engl. Lett.) 2009, 16, 342–354. [Google Scholar]
- Wang, F.; Zhang, X.Z.; Zhang, J.F.; Luo, R.L.; Zhang, J.; Wang, Y.M. An improved small-time-scale crack growth rate model considering overloading and load-sustaining effects for deep-sea pressure hulls. Ocean. Eng. 2022, 247, 110361. [Google Scholar] [CrossRef]
- Kang, Y.T.; Feng, Y.L.; Lin, J.G.; Zhang, W.M. Load spectrum for creep-fatigue life prediction of viewport used in human occupied vehicle. Comput. Model. New Technol. 2014, 18, 1185–1190. [Google Scholar]
- Wang, F.; Wang, M.Q.; Wang, W.W.; Yang, L.; Zhang, X.Z. Time-dependent axial displacement of PMMA frustums designed for deep-sea manned cabin. Ships Offshore Struct. 2020, 16, 827–837. [Google Scholar] [CrossRef]
- Wang, F.; Wang, Y.Y.; Cui, W.C. Prediction of crack growth rates of a high strength titanium alloy for deep sea pressure hull under three loading patterns. J. Ship Mech. 2016, 20, 699–709. [Google Scholar]
- Wang, F.; Cui, W.C.; Wang, Y.Y.; Shen, Y.S. Overload and dwell time effects on crack growth property of high strength titanium alloy TC4 ELI used in submersibles. In Proceedings of the Analysis and Design of Marine Structures V, Southampton, UK, 25–27 March 2015. [Google Scholar]
- ASTM E837-08; Standard Test Method for Determining Residual Stresses by the Hole-Drilling Strain-Gage Method. ASTM: West Conshohocken, PA, USA, 2008.
- Wang, Y.; Cui, W.; Wu, X.; Wang, F.; Huang, X. The extended McEvily model for fatigue crack growth analysis of Metal Structures. Int. J. Fatigue 2008, 30, 1851–1860. [Google Scholar] [CrossRef]
- Wang, F.; Cui, W.C. Approximate method to determine the model parameters in a new crack growth rate model. Mar. Struct. 2009, 22, 744–757. [Google Scholar] [CrossRef]





















| Position | σb (MPa) | σs (MPa) | ε (%) | E (GPa) | υ |
|---|---|---|---|---|---|
| Base material | 930 | 876 | 12 | 116 | 0.31 |
| Weld material | 850 | 770 | 7 | 112 | 0.31 |
| Tensile Strength, Rm/MPa | Elongation after Fracture, A/% | |
|---|---|---|
| ERTA2ELI | ≥400 | ≥12 |
| F. | Positions and stresses (MPa) | |||||||||||||
| 1-1# | 1-2# | 1-3# | 1-4# | 1-5# | 1-6# | 2-1# | 2-2# | 2-3# | 1-3# | 2-4# | 2-5# | 2-6# | ||
| σx | 91 | 258 | 351 | 283 | 281 | 111 | −120 | −184 | −50 | 351 | −10 | −95 | −136 | |
| σy | −83 | −89 | −26 | −53 | −96 | −90 | −42 | −28 | 113 | −26 | 138 | -3 | −37 | |
| B. | Positions and stresses (MPa) | |||||||||||||
| 1′-1# | 1′-2# | 1′-3# | 1′-4# | 1′-5# | 1′-6# | 1′-7# | 2′-1# | 2′-2# | 2′-3# | 1′-3# | 2′-4# | 2′-5# | 2′-6# | |
| σx | 188 | 302 | 308 | 369 | 291 | 270 | 210 | −7 | −18 | 100 | 369 | 109 | −35 | −29 |
| Σy | 49 | 80 | 76 | 70 | 49 | 40 | 2 | −20 | −9 | 248 | 70 | 292 | 19 | −3 |
Publisher’s Note: MDPI stays neutral with regard to jurisdictional claims in published maps and institutional affiliations. |
© 2022 by the authors. Licensee MDPI, Basel, Switzerland. This article is an open access article distributed under the terms and conditions of the Creative Commons Attribution (CC BY) license (https://creativecommons.org/licenses/by/4.0/).
Share and Cite
Wang, F.; Zhong, H.; Yang, L.; Wang, Y.; Chen, F.; Wu, Y.; Zhang, J.; Luo, R. Experimental Observation and Simulation on Crack Growth Behavior of An Equivalent Welding Joint for A Deep-Sea Spherical Hull. Metals 2022, 12, 1592. https://doi.org/10.3390/met12101592
Wang F, Zhong H, Yang L, Wang Y, Chen F, Wu Y, Zhang J, Luo R. Experimental Observation and Simulation on Crack Growth Behavior of An Equivalent Welding Joint for A Deep-Sea Spherical Hull. Metals. 2022; 12(10):1592. https://doi.org/10.3390/met12101592
Chicago/Turabian StyleWang, Fang, Huageng Zhong, Lu Yang, Yongmei Wang, Fengluo Chen, Yu Wu, Jinfei Zhang, and Ruilong Luo. 2022. "Experimental Observation and Simulation on Crack Growth Behavior of An Equivalent Welding Joint for A Deep-Sea Spherical Hull" Metals 12, no. 10: 1592. https://doi.org/10.3390/met12101592
APA StyleWang, F., Zhong, H., Yang, L., Wang, Y., Chen, F., Wu, Y., Zhang, J., & Luo, R. (2022). Experimental Observation and Simulation on Crack Growth Behavior of An Equivalent Welding Joint for A Deep-Sea Spherical Hull. Metals, 12(10), 1592. https://doi.org/10.3390/met12101592

