Effect of Er-Rich Precipitates on Microstructure and Electrochemical Behavior of the Al–5Zn–0.03In Alloy
Abstract
:1. Introduction
2. Materials and Methods
2.1. Preparation of Al–Zn–In–Er Alloy
2.2. Preparation of the Al3Er-Simulated Alloy
2.3. Microstructure Observation and Electrochemical Performance Test of the Alloy
3. Results and Discussion
3.1. Microstructure and Phase Analysis of Experimental Alloy
3.2. Electrochemical Properties of Experimental Alloys
3.2.1. Polarization Curve Test of Al–5Zn–0.03In–xEr Alloy
3.2.2. AC Impedance Test of the Al–5Zn–0.03In–xEr Alloy
3.2.3. Electrochemical Properties
3.2.4. The Corrosion Morphology of Al–5Zn–0.03In–xEr Alloy
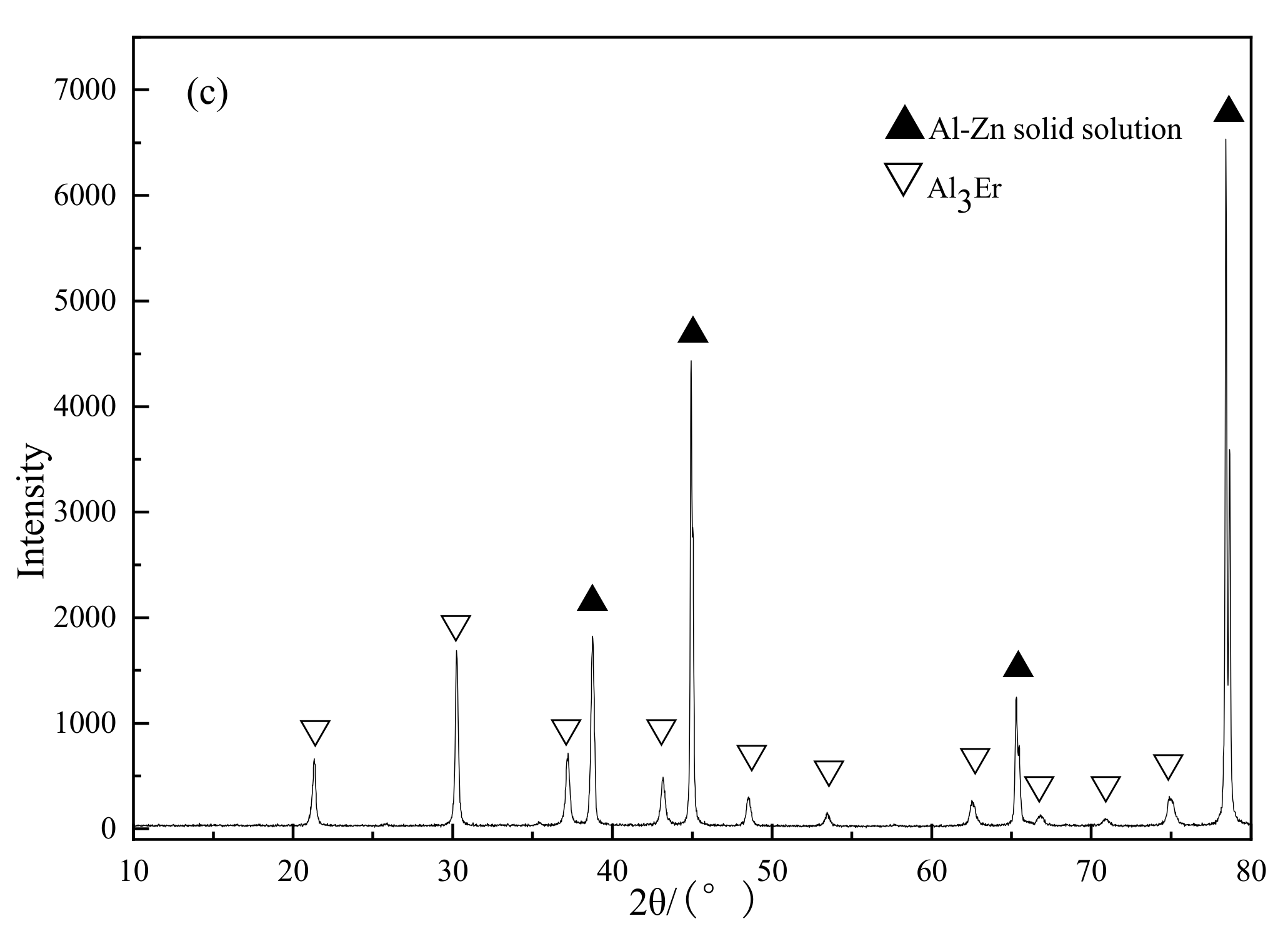
3.3. Microstructure and Phase Detection of Simulated Alloy
3.4. Electrochemical Properties of Simulated Alloy
3.4.1. Polarization Properties of Simulated Alloy
3.4.2. AC Impedance of Simulated Alloy
4. Conclusions
- With the increase in Er content, the structure is refined, gradually transitioning from coarse dendrites to fine dendrites. The alloy structure is mainly composed of Al–Zn solid solution and Al3Er precipitated phase.
- With the addition of Er element, the self-corrosion potential of the alloy moved positively, the potential difference between Al–5Zn–0.03In and Al–5Zn–0.03In–1Er reaches 119.1 mV, the self-corrosion current density decreases, and the corrosion resistance increases.
- The electrochemical impedance spectra of the alloy were fitted by the equivalent cir cuit Rsol (QRct (LR)). The dissolution process of the anode is first caused by pitting corrosion, and the anode can be activated and dissolved continuously through the “dissolution re-deposition” process. The impedance of the alloy increased with the increase of Er content, and the corrosion resistance increases, which was consistent with the polarization curve.
- When Er content is less than 1 wt.%, the refinement of microstructure improved the dissolution state of the Al–5Zn–0.03In–xEr alloy, and increased the current efficiency of the Al–5Zn–0.03In–xEr alloy. When Er content is more than 1 wt.%, a large number preferentially dissolve and fall off in the segregation phase, resulting in the loss of current efficiency. The right amount of Er in Al–Zn–In alloy is 1 wt.%.
- Compared with the Al–Zn–In alloy, the self-corrosion potential of simulated segregation phase Al3Er has a negative shift of 38 mV, and the self-corrosion current density increases by 13.05 μA/cm2. The passivation phenomenon occurred during the experiment, which inhibited the further activation of the dissolution reaction of the Al–Zn–In-Er alloy to some extent.
Author Contributions
Funding
Institutional Review Board Statement
Informed Consent Statement
Data Availability Statement
Acknowledgments
Conflicts of Interest
References
- Sina, H.; Emamy, M.; Saremi, M.; Keyvani, A.; Mahta, M.; Campbell, J. The influence of Ti and Zr on electrochemical properties of aluminum sacrificial anodes. Mater. Sci. Eng. A 2006, 431, 263–276. [Google Scholar] [CrossRef]
- Saeri, M.R.; Keyvani, A. Optimization of Manganese and Magnesium Contents in As-cast Aluminum-Zinc-Indium Alloy as Sacrificial Anode. J. Mater. Sci. Technol. 2011, 27, 785–792. [Google Scholar] [CrossRef]
- Tang, D.; Du, Y.; Li, X.; Liang, Y.; Lu, M. Effect of alternating current on the performance of magnesium sacrificial anode. Mater. Des. 2016, 93, 133–145. [Google Scholar] [CrossRef]
- El Abedin, S.Z.; Endres, F. Electrochemical behaviour of Al and some of its alloys in chloride solutions. In Passivation of Metals and Semiconductors, and Properties of Thin Oxide Layers; Elsevier: Amsterdam, The Netherlands, 2006; pp. 633–638. [Google Scholar]
- Pathak, S.S.; Mendon, S.K.; Blanton, M.D.; Rawlins, J.W. Magnesium-Based Sacrificial Anode Cathodic Protection Coatings (Mg-Rich Primers) for Aluminum Alloys. Metals 2012, 2, 353–376. [Google Scholar] [CrossRef]
- Feng, X.; Yan, Q.; Lu, X.; Wu, T.; Zhang, Y.; Zuo, Y.; Wang, J. Protection performance of the submerged sacrificial anode on the steel reinforcement in the conductive carbon fiber mortar column in splash zones of marine environments. Corros. Sci. 2020, 174, 108818. [Google Scholar] [CrossRef]
- Shibli, S.M.A.; Jabeera, B.; Manu, R. Development of high performance aluminium alloy sacrificial anodes reinforced with metal oxides. Mater. Lett. 2007, 61, 3000–3004. [Google Scholar] [CrossRef]
- Xiong, W.; Qi, G.T.; Guo, X.P.; Lu, Z.L. Anodic dissolution of Al sacrificial anodes in NaCl solution containing Ce. Corros. Sci. 2011, 53, 1298–1303. [Google Scholar] [CrossRef]
- Munoz, A.G.; Saidman, S.B.; Bessone, J.B. Corrosion of an Al–Zn–In alloy in chloride media. Corros. Sci. 2002, 44, 2171–2182. [Google Scholar] [CrossRef]
- Salinas, D.R.; Bessone, J.B. Electrochemical Behavior of Al-5%Zn-0.1%Sn Sacrificial Anode in Aggressive Media: Influence of Its Alloying Elements and the Solidification Structure. Corrosion 2012, 47, 665–674. [Google Scholar] [CrossRef]
- Shayeb, H.A.E.; Wahab, F.M.A.E.; Abedin, S.Z.E. Electrochemical behaviour of Al, Al–Sn, Al–Zn and Al–Zn–Sn alloys in chloride solutions containing indium ions. J. Appl. Electrochem. 2001, 43, 655–669. [Google Scholar]
- Muñoz, A.G.; Saidman, S.B.; Bessone, J.B. Corrosion mechanism of Al-Zn-In alloys in chloride solutions. Investig. Apl. Latinoam. 2003, 33, 275–280. [Google Scholar]
- Nie, Z.R.; Jin, T.; Fu, J.; Xu, G.; Yang, J.; Zhou, J.X.; Zuo, T.Y. Research on Rare Earth in Aluminum. Mater. Sci. Forum 2002, 1731, 396–402. [Google Scholar] [CrossRef]
- Kong, W.B.; Li, X.X.; Hu, X.P. Effects of RE Micro-Alloying Additions on the Corrosion Behavior of an Al-Mg-Si Alloy. Key Eng. Mater. 2017, 729, 40–45. [Google Scholar] [CrossRef]
- Majeed, F.S.A.; Bin Mohd Yusof, N.; Azlan Suhaimi, M.; Bin Ahmad, R.; Basher Asmael, M.; Sallehuddin Bin Yusof, M. Outcome of mix Ce and Er addition on solidification microstructure of the LM25 (Al-7Si-alloy). Mater. Today Proc. 2021, 39, 935–940. [Google Scholar] [CrossRef]
- Pan, S.; Chen, X.; Zhou, X.; Wang, Z.; Chen, K.; Cao, Y.; Lu, F.; Li, S. Micro-alloying effect of Er and Zr on microstructural evolution and yield strength of Al-3Cu (wt.%) binary alloys. Mater. Sci. Eng. A 2020, 790, 139391. [Google Scholar] [CrossRef]
- Wang, Y.; Zhang, S.; Wu, R.; Turakhodjaev, N.; Hou, L.; Zhang, J.; Betsofen, S. Coarsening kinetics and strengthening mechanisms of core-shell nanoscale precipitates in Al-Li-Yb-Er-Sc-Zr alloy. J. Mater. Sci. Technol. 2021, 61, 197–203. [Google Scholar] [CrossRef]
- Colombo, M.; Albu, M.; Gariboldi, E.; Hofer, F. Microstructural changes induced by Er and Zr additions to A356 alloy investigated by thermal analyses and STEM observations. Mater. Charact. 2020, 161, 110117. [Google Scholar] [CrossRef]
- Vo, N.Q.; Dunand, D.C.; Seidman, D.N. Improving aging and creep resistance in a dilute Al–Sc alloy by microalloying with Si, Zr and Er. Acta Mater. 2014, 63, 73–85. [Google Scholar] [CrossRef]
- Liu, L.; Jiang, J.-T.; Cui, X.-Y.; Zhang, B.; Zhen, L.; Ringer, S.P. Correlation between precipitates evolution and mechanical properties of Al-Sc-Zr alloy with Er additions. J. Mater. Sci. Technol. 2022, 99, 61–72. [Google Scholar] [CrossRef]
- Ma, J.; Wen, J. The effects of lanthanum on microstructure and electrochemical properties of Al–Zn–In based sacrificial anode alloys. Corros. Sci. 2009, 51, 2115–2119. [Google Scholar] [CrossRef]
- Torre, A.; Pérez-Bustamante, R.; Camarillo-Cisneros, J.; Gómez-Esparza, C.; Medrano-Prieto, H.M.; Martínez-Sánchez, R. Mechanical properties of the A356 aluminum alloy modified with La/Ce. J. Rare Earths 2013, 31, 811–816. [Google Scholar] [CrossRef]
- Ma, J.; Wen, J.; Zhai, W.; Li, Q.J.M.C. In situ corrosion analysis of Al-Zn-In-Mg-Ti-Ce sacrificial anode alloy. Mater. Charact. 2012, 65, 86–92. [Google Scholar] [CrossRef]
- Nie, Z.R.; Li, B.L.; Wang, W.; Jin, T.N.; Zuo, T.Y. Study on the Erbium Strengthened Aluminum Alloy. Mater. Sci. Fourm 2007, 623, 546–549. [Google Scholar]
- She, X.; Jiang, X.; Qi, B.; Chen, K. Effect of Er on Microstructure and Mechanical Properties of 5052 Aluminum Alloy with Big Width-To-Thickness Ratio. Materials 2020, 13, 568. [Google Scholar] [CrossRef] [PubMed] [Green Version]
- Bai, S.; Huang, T.; Xu, H.; Liu, Z.; Wang, J.; Yi, X. Effects of small Er addition on the microstructural evolution and strength properties of an Al–Cu–Mg–Ag alloy aged at 200 °C. Mater. Sci. Eng. A 2019, 766, 138351. [Google Scholar] [CrossRef]
- Venugopal, A.; Angal, R.D.; Raja, V.S. Effect of Grain-Boundary Corrosion on Impedance Characteristics of an Aluminum-Zinc-Indium Alloy in 3.5% Sodium Chloride Solution. Corrosion 1996, 52, 138–142. [Google Scholar] [CrossRef]
- Salinas, D.R.; García, S.G.; Bessone, J.B. Influence of alloying elements and microstructure on aluminium sacrificial anode performance: Case of Al–Zn. J. Appl. Electrochem. 1999, 29, 1063–1071. [Google Scholar] [CrossRef]
- Hang, L.; Bing, W.; Zhengbing, X.; Jianmin, Z.; Rong, C.; Heng, L.; Yanyan, L. Effect of Er on Microstructure and Electrochemical Performance of Al-Zn-In Anode. Rare Met. Mater. Eng. 2016, 45, 1848–1854. [Google Scholar]
- Shen, Z.; Chen, X.; Li, H.; Xu, Z.; Zeng, J. Effect of Er Content on the Microstructure and Current Efficiency of Al-Zn-In-xEr Alloy. Foundry Technol. 2018, 39, 765–768. [Google Scholar]
- Osório, W.R.; Freitas, E.S.; Garcia, A. EIS and potentiodynamic polarization studies on immiscible monotectic Al–In alloys. Electrochim. Acta. 2013, 102, 436–445. [Google Scholar] [CrossRef]
- Osório, W.R.; Peixoto, L.C.; Moutinho, D.J.; Gomes, L.G.; Ferreira, I.L.; Garcia, A. Corrosion resistance of directionally solidified Al–6Cu–1Si and Al–8Cu–3Si alloys castings. Mater. Design 2011, 32, 3832–3837. [Google Scholar] [CrossRef]
- Zhang, X.L.; Jiang, Z.H.; Yao, Z.P.; Song, Y.; Wu, Z.D. Effects of scan rate on the potentiodynamic polarization curve obtained to determine the Tafel slopes and corrosion current density. Corros. Sci. 2009, 51, 581–587. [Google Scholar] [CrossRef]
- McCafferty, E. Validation of corrosion rates measured by the Tafel extrapolation method. Corros. Sci. 2005, 47, 3202–3215. [Google Scholar] [CrossRef]
- Zahra, A.; Zahra, C.Y.; Ciach, R. Contribution to the study of the Al-Zn phase diagram. J. Therm. Anal. 1983, 26, 303–307. [Google Scholar] [CrossRef]
- Okamoto, H. Al-Er (Aluminum-Erbium). J. Phase Equilibria Diffus. 2011, 32, 261–262. [Google Scholar] [CrossRef]
- Wang, Y.; Wu, X.; Cao, L.; Tong, X.; Couper, M.J.; Liu, Q. Effect of trace Er on the microstructure and properties of Al–Zn–Mg–Cu–Zr alloys during heat treatments. Mater. Sci. Eng. A 2020, 792, 139807. [Google Scholar] [CrossRef]
- Nie, Z.R.; Wen, S.P.; Huang, H.; Li, B.L.; Zuo, T.Y. Research progress of Er-containing aluminum alloy. Chin. J. Nonferrons Met. 2011, 21, 2361–2370. [Google Scholar]
- Guo, W.C.; Chen, X.H.; Liu, P.; Yu, G.L.; Fu, S.L.; Fan, J.; Zhou, H.L.; Liu, H. Effects of Er Additions on the Microstructure, Mechanical Properties, and Electrical Conductivity of the Al-0.4Fe-0.05Si Alloy. Adv. Eng. Mater. 2020, 23, 2000955. [Google Scholar] [CrossRef]
- Karnesky, R.A.; Dunand, D.C.; Seidman, D.N. Evolution of nanoscale precipitates in Al microalloyed with Sc and Er. Acta Mater. 2009, 57, 4022–4031. [Google Scholar] [CrossRef]
- Ma, J.L.; Wen, J.B.; Lu, X.W.; Li, Y.Z. Electrochemical impedance spectroscopy of aluminum alloy anode during corrosion process. Corros. Prot. 2009, 30, 373–376. [Google Scholar]
- Ma, J.L.; Wen, J.B.; Li, G.F.; Jiao, M.W. Study on aluminum alloy containing manganese element sacrificial anode material. Heat Treat. Met. 2008, 33, 57–60. [Google Scholar]
- Liu, Q.; Ma, Q.X.; Chen, G.Q.; Cao, X.; Zhang, S.; Pan, J.L.; Zhang, G.; Shi, Q.Y. Enhanced corrosion resistance of AZ91 magnesium alloy through refinement and homogenization of surface microstructure by friction stir processing. Corros. Sci. 2018, 138, 284–296. [Google Scholar] [CrossRef]
- Bastidas, J.M.; Polo, J.; Torres, C.; Cano, E. A study on the stability of AISI 316L stainless steel pitting corrosion through its transfer function. Corros. Sci. 2001, 43, 269–281. [Google Scholar] [CrossRef] [Green Version]
- Mohazzab, B.F.; Jaleh, B.; Fattah-alhosseini, A.; Mahmoudi, F.; Momeni, A. Laser surface treatment of pure titanium: Microstructural analysis, wear properties, and corrosion behavior of titanium carbide coatings in Hank’s physiological solution. Surf. Interfaces 2020, 20, 100597. [Google Scholar] [CrossRef]
- Reboul, M.C.; Gimenez, P.; Rameau, J.J. A Proposed Activation Mechanism for Al Anodes. Corrosion 2012, 40, 366–371. [Google Scholar] [CrossRef]
















| Alloy | Er | Zn | In | Al |
|---|---|---|---|---|
| 1# | 0 | 5 | 0.03 | Balance |
| 2# | 0.5 | 5 | 0.03 | Balance |
| 3# | 1 | 5 | 0.03 | Balance |
| 4# | 4 | 5 | 0.03 | Balance |
| Alloys | Ecorr | icorr |
|---|---|---|
| Al–5Zn–0.03In | −1098 mV | 10.81 ± 0.6 μA/cm2 |
| Al–5Zn–0.03In–0.5Er | −1002 mV | 1.43 ± 0.2 μA/cm2 |
| Al–5Zn–0.03In–1Er | −978.9 mV | 1.36 ± 0.3 μA/cm2 |
| Al–5Zn–0.03In–4Er | −976.6 mV | 1.13 ± 0.2 μA/cm2 |
| Alloy | Rsol (Ω·cm2) | Rct (Ω·cm2) | Q (Ω−1·cm−2·s−1) | n | R (Ω·cm2) | L (H·cm2) | χ2 * |
|---|---|---|---|---|---|---|---|
| Al–Zn–In | 3.35 (±0.16) | 684.1 (±114) | 9.147 (±1.1) × 10−5 | 0.873 | 275.6 (±29) | 239.6 | 10.85 × 10−3 |
| Al–5Zn–0.03In–0.5Er | 7.07 (±0.15) | 1356 (±47.8) | 4.693 (±0.24) × 10−5 | 0.861 | 910.1 (±46) | 976.8 | 6.25 × 10−3 |
| Al–5Zn–0.03In–1Er | 9.13 (±0.15) | 1801 (±79) | 2.227 (±0.11) × 10−5 | 0.866 | 74.2 (±2) | 86.32 | 3.49 × 10−3 |
| Al–5Zn–0.03In–4Er | 6.35 (±0.16) | 2528 (±101.2) | 8.615 (±0.29) × 10−5 | 0.809 | 4430 (±841) | 4.314 | 4.87 × 10−3 |
| Alloy | OCP/V | CCP/V | Q0/A/(h·kg) | Q/A/(h·kg) | η/% |
|---|---|---|---|---|---|
| Al–Zn–In | −1.046~−1.109 | −1.003~−1.099 | 2871.3 | 2340 | 81.4 |
| Al–5Zn–0.03In–0.5Er | −0.963~−1.027 | −0.939~−1.043 | 2858.8 | 2565 | 89.7 |
| Al–5Zn–0.03In–1Er | −0.957~−1.008 | −0.925~−0.950 | 2846.3 | 2414 | 84.8 |
| Al–5Zn–0.03In–4Er | −0.996~−1.120 | −0.941~−0.967 | 2771.3 | 1888 | 68.1 |
| Alloy | Ecorr | icorr |
|---|---|---|
| Al–Zn–In | −1098 mV | 10.81 ± 0.6 μA/cm2 |
| Al3Er | −1136 mV | 23.86 ± 0.8 μA/cm2 |
| Alloy | Rsol (Ω·cm2) | Rct (Ω·cm2) | Q (Ω−1·cm−2·s−1) | n | R (Ω·cm2) | χ2 * |
|---|---|---|---|---|---|---|
| Al–Zn–In | 3.35 (±0.16) | 684.1 (±114) | 9.147 (±1.1) × 10−5 | 0.8734 | 275.6 (±28.9) | 10.85 × 10−3 |
| Al3Er | 4.47 (±0.05) | 177 (±9.36) | 222.3 (±7.95) × 10−5 | 0.6605 | 3518 (±598) | 1.58 × 10−3 |
Publisher’s Note: MDPI stays neutral with regard to jurisdictional claims in published maps and institutional affiliations. |
© 2022 by the authors. Licensee MDPI, Basel, Switzerland. This article is an open access article distributed under the terms and conditions of the Creative Commons Attribution (CC BY) license (https://creativecommons.org/licenses/by/4.0/).
Share and Cite
Yu, M.; Cui, J.; Tang, Z.; Shen, Z.; Chen, X.; Xu, Z.; Zeng, J. Effect of Er-Rich Precipitates on Microstructure and Electrochemical Behavior of the Al–5Zn–0.03In Alloy. Metals 2022, 12, 131. https://doi.org/10.3390/met12010131
Yu M, Cui J, Tang Z, Shen Z, Chen X, Xu Z, Zeng J. Effect of Er-Rich Precipitates on Microstructure and Electrochemical Behavior of the Al–5Zn–0.03In Alloy. Metals. 2022; 12(1):131. https://doi.org/10.3390/met12010131
Chicago/Turabian StyleYu, Muzhi, Jin Cui, Zhichao Tang, Zinan Shen, Xiaoyang Chen, Zhengbing Xu, and Jianmin Zeng. 2022. "Effect of Er-Rich Precipitates on Microstructure and Electrochemical Behavior of the Al–5Zn–0.03In Alloy" Metals 12, no. 1: 131. https://doi.org/10.3390/met12010131
APA StyleYu, M., Cui, J., Tang, Z., Shen, Z., Chen, X., Xu, Z., & Zeng, J. (2022). Effect of Er-Rich Precipitates on Microstructure and Electrochemical Behavior of the Al–5Zn–0.03In Alloy. Metals, 12(1), 131. https://doi.org/10.3390/met12010131

