A Novel Specimen Produced by Additive Manufacturing for Pure Plane Strain Fatigue Crack Growth Studies
Abstract
1. Introduction
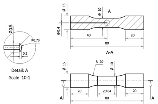
2. Production of Specimens by Selective Laser Melting (SLM)
3. Experimental Determination of da/dN-ΔK Curves
4. Numerical Analysis
5. Discussion
- the use of synchrotron tomography and in situ testing [31]. However, this needs complex equipment that is not easily available. Additionally, it would not be easy to place the mechanical device needed to apply the load, inside the tomography equipment.
- use of vibration analysis to measure crack length. The resonant frequency depends on material properties and geometry. The presence of defects may change the resonant frequency. Macek et al. [48] proposed the use of the changes in the dynamic response, using uniaxial acceleration sensors, enabling the correlation of the stiffness variations with the crack length.
- use of potential drop. A similar problem exists in tests at elevated temperature inside a furnace even using standard specimens [49]. Therefore, crack length was measured using a potential drop. Small wires made of titanium were welded to opposite flanks of the notch, and the crack growth produces an increase of potential drop. A calibration curve was used to obtain crack length from potential drop measurements. Campagnolo et al. [50] studied fatigue crack initiation and propagation phases of cylindrical circumferentially notched specimens characterized by different values of the notch tip radius. Crack length was monitored by the electrical potential drop method, and the calibration curves were derived by means of electrical finite element analyses.
- The variation of compliance is an alternative solution to measure the crack length. This is also proposed in ASTM standard for the measurement of crack length in C(T) and MT specimens.
6. Conclusions
- A pure plane strain state exists along all crack front.
- There is no crack closure level under plane strain state for the titanium alloy studied. Under plane stress state, a crack closure level of 10% was predicted.
- The crack grows, keeping a circular shape, without corner points. This avoids different issues, namely the effect of crack shape on compliance changes. Besides, any departure from pure circular shape is an indication of incorrect loading alignment.
- Delays of 1250 cycles and 5400 cycles were found under plane strain and plane stress states, respectively, for an overload ratio of 1.75. Therefore, under plane stress state there is a much higher effect of overloads on fatigue life. Although there is a plane strain state in the central cracked specimens, overloads can affect the da/dN-ΔK curves. Thus, alternative approaches not involving the application of overloads are recommended for crack length measurement, which will be exploited in the near future.
- Since the atmosphere does not have access to crack front, the specimens are also interesting to develop studies in vacuum. Similar specimens with channels to conduct air to the crack front may be produced for comparative studies of the effect of atmosphere. These comparative studies are more relevant at relatively low crack growth rates because the diffusion is a time-dependent mechanism.
Author Contributions
Funding
Conflicts of Interest
Nomenclature
| a | Crack length |
| aOL | Crack length at which the overload was applied |
| C(T) | Compact-Tension (specimen) |
| CTOD | Crack Tip Opening Displacement |
| Cx | Material constant of kinematic hardening |
| da/dN | Fatigue crack growth rate |
| K | Stress intensity factor |
| Kmax | Maximum stress intensity factor |
| M(T) | Middle-Tension (specimen) |
| N | Number of load cycles |
| OLR | Overload ratio |
| PICC | Plasticity Induced Crack Closure |
| r | Radius of the specimen with central crack |
| R | Stress ratio |
| SLM | Selective Laser Melting |
| U* | Crack closure level (in percentage) |
| Xsat | Material constant of kinematic hardening |
| Y0 | Initial yield stress |
| β | Angle of crack front with surface at corner point |
| ν | Poisson’s ratio |
| λ | Ratio between the crack length and the radius of the specimen |
| λ* | Order of singularity at the crack tip |
| σ | Remote stress |
| σmax | Maximum remote stress |
| σmin | Minimum remote stress |
| ΔK | Stress intensity factor range |
References
- ASTM. ASTM E 647-11: Standard Test Method for Measurement of Fatigue Crack Growth Rates; American Society for Testing and Materials: West Conshohocken, PA, USA, 2011. [Google Scholar]
- ISO. ISO 12108. Metallic Materials-Fatigue Testing-Fatigue Crack Growth Method; International Organization for Standardization (ISO): Geneva, Switzerland, 2012. [Google Scholar]
- Daneshpour, S.; Koçak, M.; Langlade, S.; Horstmann, M. Effect of overload on fatigue crack retardation of aerospace Al-alloy laser welds using crack-tip plasticity analysis. Int. J. Fatigue 2009, 31, 1603–1612. [Google Scholar] [CrossRef]
- Zheng, S.; Yu, Q.; Gao, Z.; Jiang, Y. Loading history effect on fatigue crack growth of extruded AZ31B mgnesium alloy. Eng. Fract. Mech. 2013, 114, 42–54. [Google Scholar] [CrossRef]
- Shercliff, H.R.; Fleck, N.A. Effect of specimen geometry on fatigue crack growth in plane strain—II overload response. Fatigue Fract. Eng. Mater. Struct. 1990, 13, 297–310. [Google Scholar] [CrossRef]
- Bichler, C.; Pippan, R. Effect of single overloads in ductile metals: A reconsideration. Eng. Fract. Mech. 2007, 74, 1344–1359. [Google Scholar] [CrossRef]
- Branco, R.; Silva, J.M.; Infante, V.; Antunes, F.V.; Ferreira, F. Using a standard specimen for crack propagation under plane strain conditions. Int. J. Struct. Integr. 2010, 1, 332–343. [Google Scholar] [CrossRef]
- Antunes, F.V.; Ferreira, J.A.M.; Branco, C.M.; Byrne, J. Influence of stress state on high temperature fatigue crack growth in Inconel 718. Fatigue Fract. Eng. Mater. Struct. 2001, 24, 127–135. [Google Scholar] [CrossRef]
- Benthem, J.P. State of stress at the vertex of a quarter-infinite crack in a half-space. Int. J. Solids Struct. 1977, 13, 479–492. [Google Scholar] [CrossRef]
- Bažant, Z.P.; Estenssoro, L.F. Surface singularity and crack propagation. Int. J. Solids Struct. 1979, 15, 405–426. [Google Scholar] [CrossRef]
- Branco, R.; Antunes, F.V.; Martins, R.F. Modelling fatigue crack propagation in CT specimens. Fatigue Fract. Eng. Mater. Struct. 2008, 31, 452–465. [Google Scholar] [CrossRef]
- ASTM. ASTM E399-20. Standard Test Method for Linear-Elastic Plane-Strain Fracture Toughness of Metallic Materials; ASTM International: West Conshohocken, PA, USA, 2020. [Google Scholar]
- Towers, O.L.; Smith, A.P. Stress intensity factors for curved crack fronts in compact tension specimens. Int. J. Fracture 1984, 25, R43–R48. [Google Scholar] [CrossRef]
- Ewalds, H.L.; Furnée, R.T. Crack closure measurements along the crack front in center cracked specimens. Int. J. Fract. 1978, 14, R53–R55. [Google Scholar]
- Matsuoka, S.; Tanaka, K. The influence of sheet thickness on delayed retardation phenomena in fatigue crack growth in HT80 steel and A5083 aluminium alloy. Eng. Fract. Mech. 1980, 13, 293–306. [Google Scholar] [CrossRef]
- Ray, S.K.; Grandt, A.F. Comparison of methods for measuring fatigue crack closure in a thick specimen. In Mechanics of fatigue Crack Closure; ASTM STP 982; Newman, J.C., Jr., Elber, W., Eds.; American Society for Testing and Material: West Conshohocken, PA, USA, 1988; pp. 197–213. [Google Scholar]
- Wei, L.-W.; James, M.N. A study of fatigue crack closure in polycarbonate CT specimens. Eng. Fract. Mech. 2000, 66, 223–242. [Google Scholar] [CrossRef]
- Bao, H.; McEvily, A.J. On Plane Stress-Plane Strain Interactions in Fatigue Crack Growth. Int. J. Fatigue 1998, 20, 441–448. [Google Scholar] [CrossRef]
- Josefson, B.L.; Svensson, T.; Ringsberg, J.W.; Gustafsson, T.; de Mare, J. Fatigue life and crack closure in specimens subjected to variable amplitude loads under plane strain conditions. Eng. Fract. Mech. 2000, 66, 587–600. [Google Scholar] [CrossRef]
- Solanki, K.; Daniewicz, S.R.; Newman, J.C., Jr. Finite element modelling of plasticity-induced crack closure with emphasis on geometry and mesh refinement effects. Eng. Fract. Mech. 2003, 70, 1475–1489. [Google Scholar] [CrossRef]
- Zhao, L.G.; Tong, J.; Byrne, J. The evolution of the stress–strain fields near a fatigue crack tip and plasticity induced crack closure revisited. Fatigue Fract. Eng. Mater. Struct. 2004, 27, 19–29. [Google Scholar] [CrossRef]
- Matos, P.F.P.; Nowell, D. The influence of the Poisson’s ratio and corner point singularities in three-dimensional plasticity-induced fatigue crack closure: A numerical study. Int. J. Fatigue 2008, 30, 1930–1943. [Google Scholar]
- Vor, K.; Gardin, C.; Sarrazin-Baudoux, C.; Petit, J. Wake length and loading history effects on crack closure of through-thickness long and short cracks in 304L: Part II—3D numerical simulation. Eng. Fract. Mech. 2013, 99, 306–323. [Google Scholar] [CrossRef]
- Louat, N.; Sadananda, K.; Duesbery, M.; Vasudevan, A.K. A theoretical evaluation of crack closure. Metall. Transact. 1993, 24A, 2225–2232. [Google Scholar] [CrossRef]
- Vasudevan, A.K.; Sadananda, K.; Louat, N. A review of crack closure, fatigue crack threshold and related phenomena. Mater. Sci. Eng. A 1994, A188, 1–22. [Google Scholar] [CrossRef]
- Vasudevan, A.K.; Sadananda, K.; Glinka, G. Critical parameters for fatigue damage. Int. J. Fatigue 2001, 23, 39–53. [Google Scholar] [CrossRef]
- Camas, D.; Garcia-Manrique, J.; Gonzalez-Herrera, A. Numerical study of the thickness transition in bi-dimensional specimen cracks. Int. J. Fatigue 2011, 33, 921–928. [Google Scholar] [CrossRef]
- Newman, J.C. A Crack Opening Stress Equation for Fatigue Crack Growth. Int. J. Fract. 1984, 24, R131–R135. [Google Scholar] [CrossRef]
- Nishijima, S.; Kanazawa, K. Stepwise S–N curve and fish-eye failure in gigacycle fatigue. Fatigue Fract. Eng. Mater. 1999, 22, 601–607. [Google Scholar] [CrossRef]
- Sakai, T. Review and prospects for current studies on very high cycle fatigue of metallic materials for machine structural use. J. Solid Mech. Mater. Eng. 2009, 3, 425–439. [Google Scholar] [CrossRef]
- Juneta, A.; Messager, A.; Boulnat, X.; Weck, A.; Boller, E.; Helfen, L.; Buffiere, J.-Y. Fabrication of artificial defects to study internal fatigue crack propagation in metals. Scripta Materialia 2019, 171, 87–91. [Google Scholar] [CrossRef]
- Sunder, R. Unraveling the Science of Variable Amplitude Fatigue. J. ASTM Int. 2012, 9, 1–32. [Google Scholar] [CrossRef]
- Mi, Y.; Aliabadi, M.H. Three-dimensional crack growth simulation using BEM. Comput. Struct. 1994, 52, 871–878. [Google Scholar] [CrossRef]
- Kim, I.; Zhao, Y.; Choi, B.-H.; Lee, J.M.; Lee, K.-S.; Lee, J.-M. Numerical analysis of asymmetric fatigue crack growth behaviors of circular notched bar specimen resulting from various geometric misalignments. Eng. Fract. Mech. 2013, 108, 50–64. [Google Scholar] [CrossRef]
- Murakami, Y. Metal Fatigue: Effects of Small Defects and Nommetallic Inclusions; Elsevier Science: London, UK, 2002. [Google Scholar]
- Ferreira, N.; Jesus, J.S.; Ferreira, J.A.M.; Capela, C.; Costa, J.M.; Batista, A.C. Effect of bead characteristics on the fatigue life of shot peened Al 7475-T7351 specimens. Int. J. Fatigue 2020, 134, 105521. [Google Scholar] [CrossRef]
- FKM Guideline. Fracture Mechanics Proof of Strength for Engineering Components, 1st ed.; VDMA Publ. House: Frankfurt am Main, Germany, 2001. [Google Scholar]
- Jesus, J.S.; Borrego, L.P.; Ferreira, J.A.M.; Costa, J.D.; Capela, C. Fatigue crack growth behavior in Ti6Al4V alloy specimens produced by selective laser melting. Int. J. Fatigue 2019, 223, 123–133. [Google Scholar]
- Salvati, E.; Zhang, H.; Fong, K.S.; Song, X.; Korsunsky, A.M. Separating plasticity-induced closure and residual stress contributions to fatigue crack retardation following an overload. J. Mech. Phys. Solids 2017, 98, 222–235. [Google Scholar] [CrossRef]
- Yoshinaka, F.; Nakamura, T.; Takaku, K. Effects of vacuum environment on small fatigue crack propagation in Ti–6Al–4V. Int. J. Fatigue 2016, 91, 29–38. [Google Scholar] [CrossRef]
- Nakamura, T.; Oguma, H.; Shinohara, Y. The effect of vacuum-like environment inside sub-surface fatigue crack on the formation of ODA fracture surface in high strength steel. Proc. Eng. 2010, 2, 2121–2129. [Google Scholar] [CrossRef]
- Benedetti, M.; Fontanari, V.; Bandini, M.; Savio, E. High-and very high-cycle plain fatigue resistance of shot peened high-strength aluminum alloys: The role of surface morphology. Int. J. Fatigue 2015, 70, 451–462. [Google Scholar] [CrossRef]
- Stanzl-Tschegg, S.; Schönbauer, B. Near-threshold fatigue crack propagation and internal cracks in steel. Proc. Eng. 2010, 2, 1547–1555. [Google Scholar] [CrossRef]
- Menezes, L.F.; Teodosiu, C. Three-dimensional numerical simulation of the deep-drawing process using solid finite elements. J. Mater. Process. Technol. 2000, 97, 100–106. [Google Scholar] [CrossRef]
- Ferreira, F.F.; Neto, D.M.; Jesus, J.S.; Prates, P.A.; Antunes, F.V. Numerical Prediction of the Fatigue Crack Growth Rate in SLM Ti-6Al-4V Based on Crack Tip Plastic Strain. Metals 2020, 10, 1133. [Google Scholar] [CrossRef]
- Macek, W.; Owsinski, R.; Trembacz, J.; Branco, R. Three-dimensional fractographic analysis of total fracture areas in 6082 aluminium alloy specimens under fatigue bending with controlled damage degree. Mech. Mater. 2020, 147, 103410. [Google Scholar] [CrossRef]
- Werner, K. The fatigue crack growth rate and crack opening displacement in 18G2A-steel. Int. J. Fatigue 2012, 39, 25–31. [Google Scholar] [CrossRef]
- Branco, R.; Antunes, F.V.; Ricardo, L.C.H.; Costa, J.D. Extent of surface regions near corner points of notched cracked bodies subjected to mode-I loading. Finite Elem. Anal. Des. 2012, 50, 147–160. [Google Scholar] [CrossRef]
- Černý, I. The use of DCPD method for measurement of growth of cracks in large components at normal and elevated temperatures. Eng. Fract. Mech. 2004, 71, 837–848. [Google Scholar] [CrossRef]
- Campagnolo, A.; Meneghetti, G.; Berto, F.; Tanaka, K. Crack initiation life in notched steel bars under torsional fatigue: Synthesis based on the averaged strain energy density approach. Int. J. Fatigue 2017, 100, 563–574. [Google Scholar] [CrossRef]










| Material | Y0 [MPa] | K [MPa] | n | CX | XSat [MPa] |
|---|---|---|---|---|---|
| Ti-6Al-4V + HT | 700.0 | 738.6 | −0.013 | 88.1 | 585.2 |
Publisher’s Note: MDPI stays neutral with regard to jurisdictional claims in published maps and institutional affiliations. |
© 2021 by the authors. Licensee MDPI, Basel, Switzerland. This article is an open access article distributed under the terms and conditions of the Creative Commons Attribution (CC BY) license (http://creativecommons.org/licenses/by/4.0/).
Share and Cite
Jesus, J.d.; Borges, M.; Antunes, F.; Ferreira, J.; Reis, L.; Capela, C. A Novel Specimen Produced by Additive Manufacturing for Pure Plane Strain Fatigue Crack Growth Studies. Metals 2021, 11, 433. https://doi.org/10.3390/met11030433
Jesus Jd, Borges M, Antunes F, Ferreira J, Reis L, Capela C. A Novel Specimen Produced by Additive Manufacturing for Pure Plane Strain Fatigue Crack Growth Studies. Metals. 2021; 11(3):433. https://doi.org/10.3390/met11030433
Chicago/Turabian StyleJesus, Joel de, Micael Borges, Fernando Antunes, José Ferreira, Luis Reis, and Carlos Capela. 2021. "A Novel Specimen Produced by Additive Manufacturing for Pure Plane Strain Fatigue Crack Growth Studies" Metals 11, no. 3: 433. https://doi.org/10.3390/met11030433
APA StyleJesus, J. d., Borges, M., Antunes, F., Ferreira, J., Reis, L., & Capela, C. (2021). A Novel Specimen Produced by Additive Manufacturing for Pure Plane Strain Fatigue Crack Growth Studies. Metals, 11(3), 433. https://doi.org/10.3390/met11030433

