A Modified M-K Method for Accurate Prediction of FLC of Aluminum Alloy
Abstract
1. Introduction
2. Materials and Methods
2.1. Theoretical Analysis
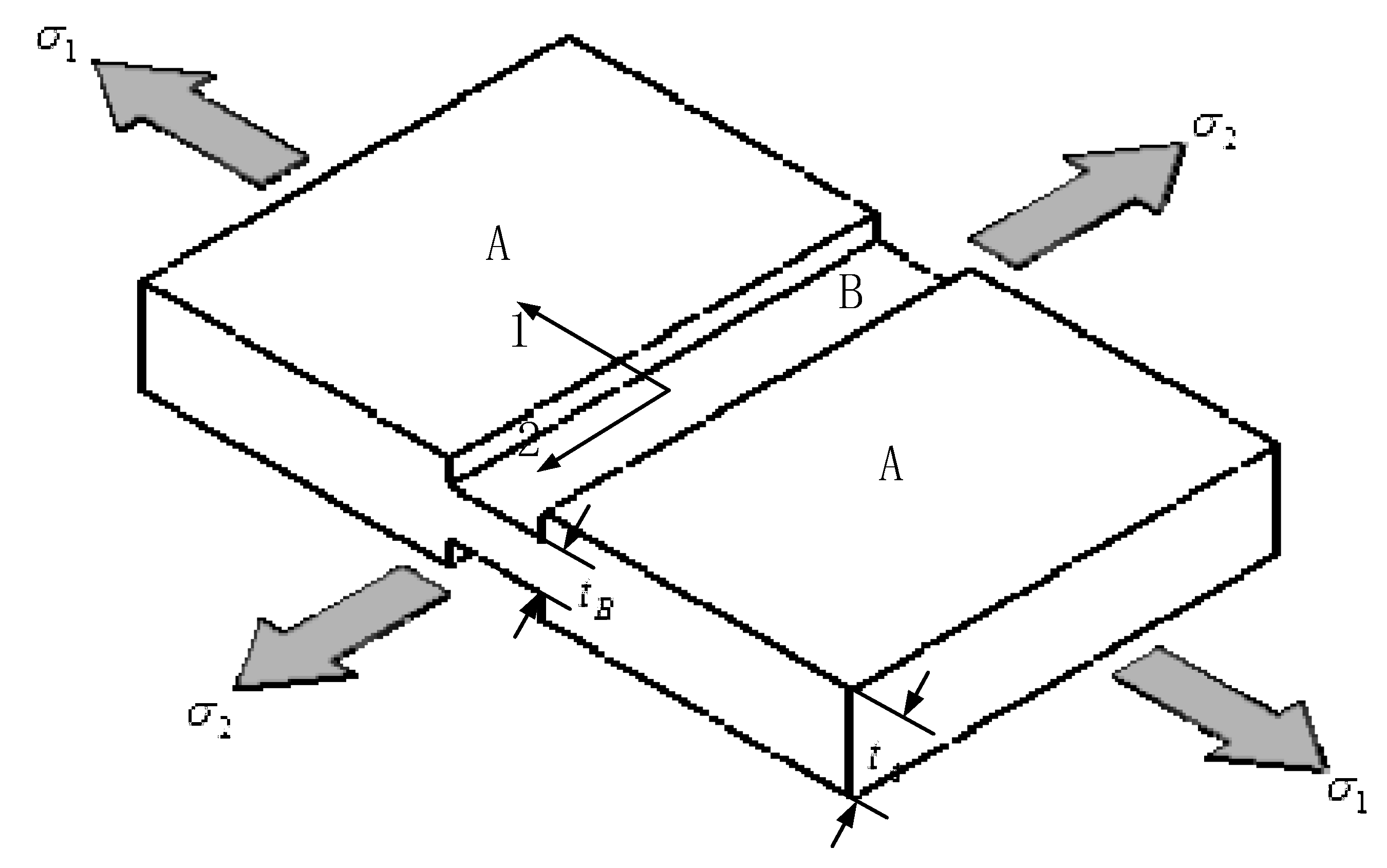
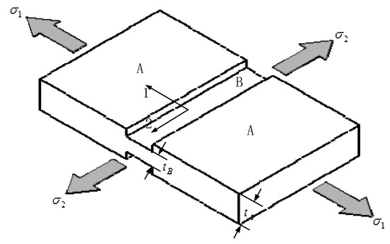
2.1.1. Original M-K Model
2.1.2. Relationship between M-K Model and Keeler’s Empirical Formula
2.1.3. The Modified M-K Model
2.2. Experiments to Determine the Material Properties
3. Results and Discussion
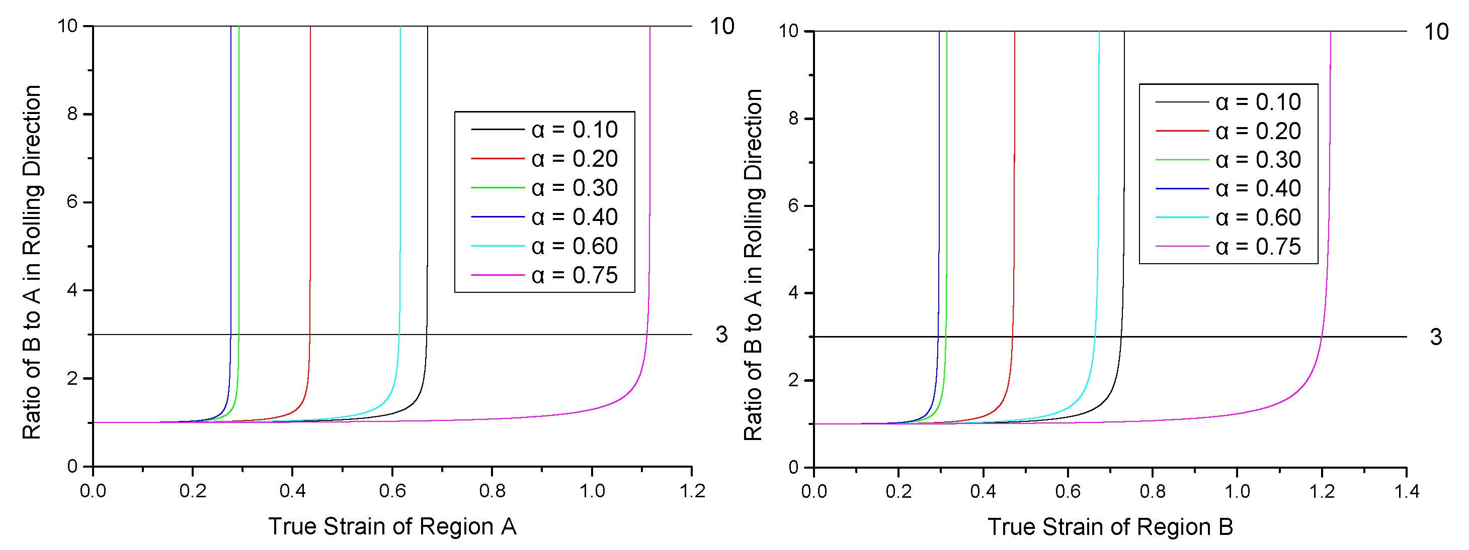
3.1. Parameters’ Effect on the Prediction of the FLC
3.2. Performance of the Improved M-K Model
4. Conclusions
- By comparison with the experimental data of AA6016 and AA5182, the predicted FLC is independent on the strength coefficient under the M-K method. The FLC tends to move up when the strength coefficient or the initial thickness imperfection increases. In addition, the relies on the hardening exponent and the initial thickness imperfection factor.
- Under the M-K method, is regarded as the termination condition of the algorithm.
- Although there are some similarities between Keeler’s empirical formula and the M-K method, those predicted results are quite different in both the lowest point of the FLC, , and the shape of the FLC.
- When the initial thickness imperfection factor is suitable, the predicted FLC under the proposed new method fits the results of the experiments very well for both AA6016 and AA5182.
Author Contributions
Funding
Institutional Review Board Statement
Informed Consent Statement
Data Availability Statement
Conflicts of Interest
References
- Guiju, Z.; Caiyuan, X. Study on lightweight design of aluminium alloy wheels. Aust. J. Mech. Eng. 2018, 16, 30–36. [Google Scholar] [CrossRef]
- Ferreira, V.; Egizabal, P.; Popov, V.; Cortazar, M.; Irazustabarrena, A.; López-Sabirón, A.; Ferreira Ferreira, G. Lightweight automotive components based on nanodiamond-reinforced aluminium alloy: A technical and environmental evaluation. Diam. Relat. Mater. 2019, 92, 174–186. [Google Scholar] [CrossRef]
- Samuel Ratna Kumar, P.S.; Edwin Sudhagar, P.; John Alexis, S.; Subramani, M. Vibration Study on Aluminium Alloy 5083 Composite Reinforced with Montmorillonite. Trans. Indian Inst. Met. 2019, 72, 2449–2456. [Google Scholar] [CrossRef]
- Gao-shan, M.; Min, W.; Xiang-dong, W. Theoretical prediction of FLDs for Al-Li alloy at elevated temperature based on M-K model. Chin. J. Nonferrous Met. 2008, 18, 980–984. [Google Scholar]
- Mohammed, B.; Park, T.; Kim, H.; Pourboghrat, F.; Esmaeilpour, R. The Forming Limit Curve for Multiphase Advanced High Strength Steels Based on Crystal Plasticity Finite Element Modeling. Mater. Sci. Eng. A 2018, 725, 250–266. [Google Scholar] [CrossRef]
- Wang, H.; Yan, Y.; Han, F.; Wan, M. Experimental and theoretical investigations of the forming limit of 5754O aluminum alloy sheet under different combined loading paths. Int. J. Mech. Sci. 2017, 133, 147–166. [Google Scholar] [CrossRef]
- Swift, H.W. Plastic instability under plane stress. J. Mech. Phys. Solids 1952, 1, 1–18. [Google Scholar] [CrossRef]
- Hill, R. On discontinuous plastic states, with special reference to localized necking in thin sheets. J. Mech. Phys. Solids 1952, 1, 19–30. [Google Scholar] [CrossRef]
- Manopulo, N.; Hora, P.; Peters, P.; Gorji, M.; Barlat, F. An extended Modified Maximum Force Criterion for the prediction of localized necking under non-proportional loading. Int. J. Plast. 2015, 75, 189–203. [Google Scholar] [CrossRef]
- Marciniak, Z.; Kuczyński, K. Limit strains in the processes of stretch-forming sheet metal. Int. J. Mech. Sci. 1967, 9, 609–620. [Google Scholar] [CrossRef]
- LI, X.-q.; DONG, H.-r.; WANG, H.-b.; GUO, G.-q.; LI, D.-s. Effect of strain rate difference between inside and outside groove in M−K model on prediction of forming limit curve of Ti6Al4V at elevated temperatures. Trans. Nonferrous Met. Soc. China 2020, 30, 405–416. [Google Scholar] [CrossRef]
- Ghazanfari, A.; Assempour, A. A New Calibration Method for FLCs in the M-K Frame-Work. Adv. Mater. Res. 2012, 341–342, 426–431. [Google Scholar] [CrossRef]
- Haiyan, Y.; Yunkai, G. Study on Forming Limit Diagram for Transformation—Induced Plasticity Sheet Steel Based on M-K Model. China Mech. Eng. 2007, 18, 109–113. [Google Scholar]
- Penga, L.F.; Xua, Z.T.; Fubc, M.W.; Laia, X.M. Forming limit of sheet metals in meso-scale plastic forming by using different failure criteria. Int. J. Mech. Sci. 2017, 120, 190–203. [Google Scholar] [CrossRef]
- Keeler, S. Plastic Instability and Fracture in Sheets Stretched over Rigid Punches; Massachusetts Institute of Technology: Cambridge, MA, USA, 1961. [Google Scholar]
- Hill, R. A Theory of the Yielding and Plastic Flow of Anisotropic Metals. Proc. R. Soc. Lond. 1948, 193, 281–297. [Google Scholar] [CrossRef]
- Standardization Administration of China. Metallic Materials—Tensile Testing—Part 1: Method of Test at Room Temperature; Standardization Administration of China: Beijing, China, 2010. [Google Scholar]
- Standardization Administration of China. Sheet Metal Formability and Test Methods—Part 8: Guidelines for the Determination of Forming-Limit Diagrams; Standardization Administration of China: Beijing, China, 2008. [Google Scholar]











| Material | Strength Coefficient K/MPa | Hardening Exponent N | Coefficient of Normal Anisotropy R |
|---|---|---|---|
| 6016 | 126 | 0.27 | 0.56 |
| 5182 | 121 | 0.33 | 0.66 |
| True Strain in Region A | True Strain in Region B | |||||||
|---|---|---|---|---|---|---|---|---|
| Percent of | ||||||||
| 0.10 | 0.6689 | 0.6707 | 0.0018 | 0.3 | 0.7259 | 0.7335 | 0.0076 | 1.0 |
| 0.20 | 0.4347 | 0.4358 | 0.0011 | 0.3 | 0.4692 | 0.4739 | 0.0047 | 1.0 |
| 0.30 | 0.2924 | 0.2931 | 0.0007 | 0.2 | 0.3115 | 0.3145 | 0.003 | 1.0 |
| 0.40 | 0.2761 | 0.2768 | 0.0007 | 0.3 | 0.2931 | 0.2963 | 0.0032 | 1.1 |
| 0.60 | 0.6137 | 0.6162 | 0.0025 | 0.4 | 0.6639 | 0.6733 | 0.0094 | 1.4 |
| 0.75 | 1.1103 | 1.1164 | 0.0061 | 0.6 | 1.1994 | 1.2201 | 0.0207 | 1.7 |
Publisher’s Note: MDPI stays neutral with regard to jurisdictional claims in published maps and institutional affiliations. |
© 2021 by the authors. Licensee MDPI, Basel, Switzerland. This article is an open access article distributed under the terms and conditions of the Creative Commons Attribution (CC BY) license (http://creativecommons.org/licenses/by/4.0/).
Share and Cite
Li, X.; Chen, Y.; Lang, L.; Xiao, R. A Modified M-K Method for Accurate Prediction of FLC of Aluminum Alloy. Metals 2021, 11, 394. https://doi.org/10.3390/met11030394
Li X, Chen Y, Lang L, Xiao R. A Modified M-K Method for Accurate Prediction of FLC of Aluminum Alloy. Metals. 2021; 11(3):394. https://doi.org/10.3390/met11030394
Chicago/Turabian StyleLi, Xiaoxing, Yangkai Chen, Lihui Lang, and Rui Xiao. 2021. "A Modified M-K Method for Accurate Prediction of FLC of Aluminum Alloy" Metals 11, no. 3: 394. https://doi.org/10.3390/met11030394
APA StyleLi, X., Chen, Y., Lang, L., & Xiao, R. (2021). A Modified M-K Method for Accurate Prediction of FLC of Aluminum Alloy. Metals, 11(3), 394. https://doi.org/10.3390/met11030394
