Effect of Exercise-Induced Muscle Damage on Bowling-Specific Motor Skills in Male Adolescent Cricketers
Abstract
1. Introduction
2. Materials and Methods
2.1. Participants
2.2. Research Design
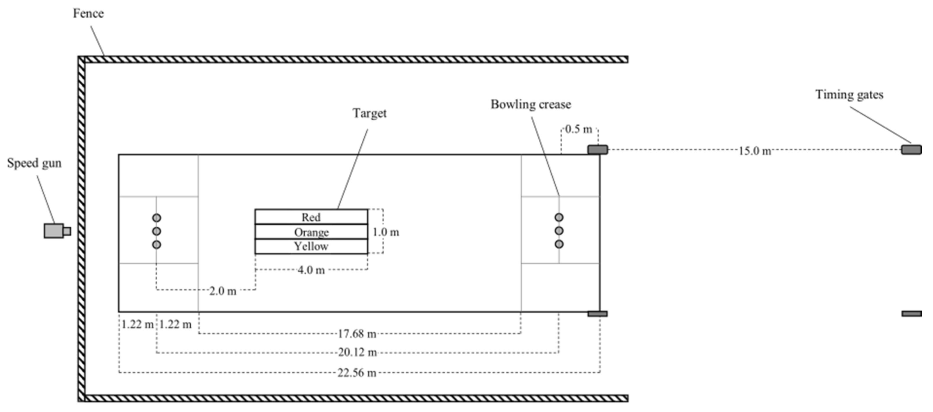
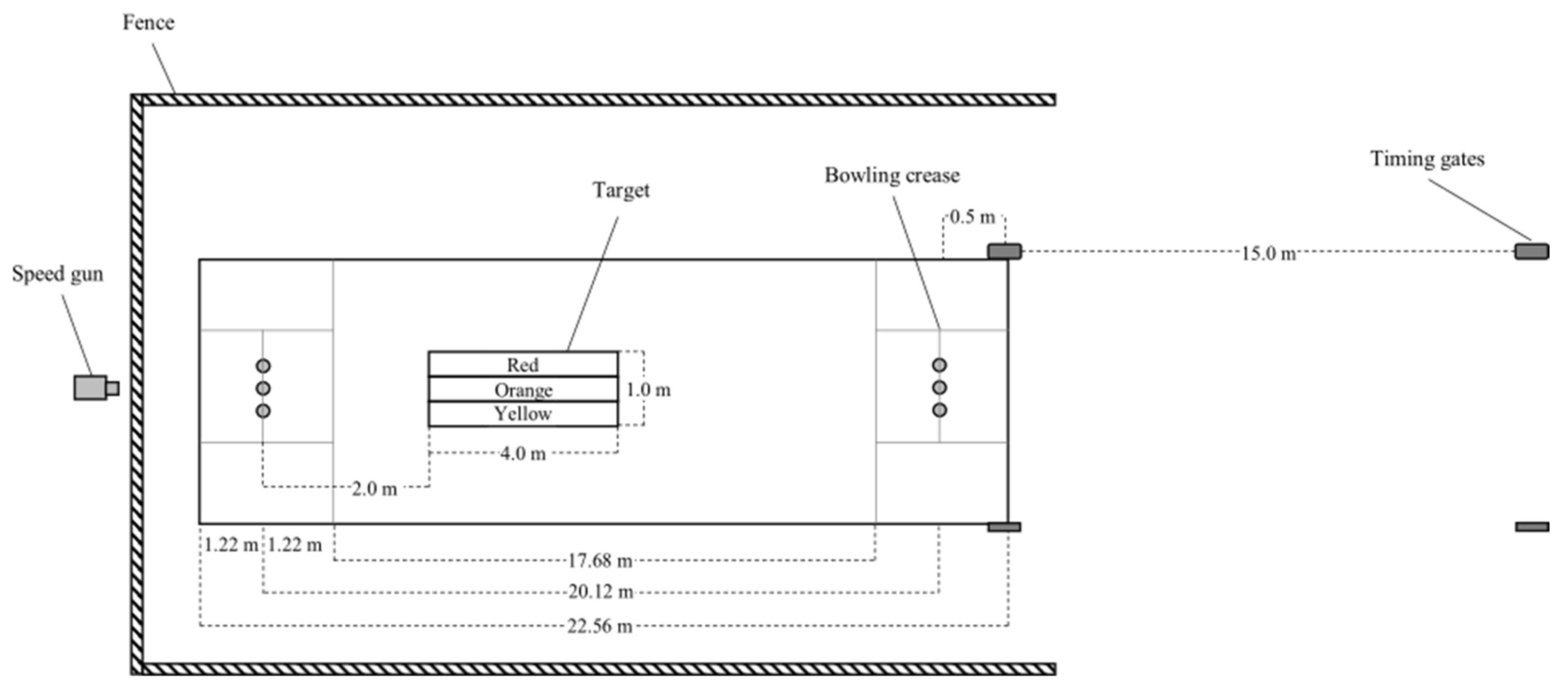
2.3. Bowling-Specific Performance Test
2.4. Anaerobic Performance and Sprint Tests
2.5. Indirect Muscle Damage Markers
2.6. Repetition Maximum Assessment
2.7. Resistance Training Session
2.8. Statistical Analyses
3. Results
3.1. Bowling Speed and Accuracy
3.2. Run-Up Speed and RPE
3.3. Anaerobic Power and Indirect Muscle Damage Markers
4. Discussion
5. Limitation
6. Conclusions
Author Contributions
Funding
Institutional Review Board Statement
Informed Consent Statement
Data Availability Statement
Acknowledgments
Conflicts of Interest
References
- Johnstone, J.A.; Mitchell, A.C.; Hughes, G.; Watson, T.; Ford, P.A.; Garrett, A.T. The athletic profile of fast bowling in cricket: A review. J. Strength Cond. Res. 2014, 28, 1465–1473. [Google Scholar] [CrossRef]
- Maunder, E.; Kilding, A.E.; Cairns, S.P. Do fast bowlers fatigue in cricket? A paradox between player anecdotes and quantitative evidence. Int. J. Sports Physiol. Perform. 2017, 12, 719–727. [Google Scholar] [CrossRef] [PubMed]
- Coratella, G.; Vertinato, L. Isoload vs. isokinetic eccentric exercise: A direct comparison of exercise-induced muscle damage and repeated bout effect. Sport Sci. Health 2014, 11, 87–96. [Google Scholar] [CrossRef]
- Doma, K.; Schumann, M.; Leicht, A.S.; Heilbronn, B.E.; Damas, F.; Burt, D. The repeated bout effect of traditional resistance exercises on running performance across 3 bouts. Appl. Physiol. Nutr. Metab. 2017, 42, 978–985. [Google Scholar] [CrossRef] [PubMed]
- Doma, K.; Schumann, M.; Sinclair, W.H.; Leicht, A.S.; Deakin, G.B.; Hakkinen, K. The repeated bout effect of typical lower body strength training sessions on sub-maximal running performance and hormonal response. Eur. J. Appl. Physiol. 2015, 115, 1789–1799. [Google Scholar] [CrossRef] [PubMed]
- Doma, K.; Deakin, G.B. The effects of strength training and endurance training order on running economy and performance. Appl. Physiol. Nutr. Metab. 2013, 38, 651–656. [Google Scholar] [CrossRef]
- Lavender, A.P.; Nosaka, K. Changes in fluctuation of isometric force following eccentric and concentric exercise of the elbow flexors. Eur. J. Appl. Physiol. Occup. Physiol. 2006, 96, 235–240. [Google Scholar] [CrossRef] [PubMed]
- Warren, G.L.; Lowe, D.A.; Armstrong, R.B. Measurement tools used in the study of eccentric contraction-induced injury. Sports Med. 1999, 27, 43–59. [Google Scholar] [CrossRef]
- Doma, K.; Deakin, G. The acute effect of concurrent training on running performance over 6 days. Res. Q. Exerc. Sport 2015, 86, 387–396. [Google Scholar] [CrossRef] [PubMed]
- Doma, K.; Deakin, G.B. The acute effects intensity and volume of strength training on running performance. Eur. J. Sport Sci. 2014, 14, 107–115. [Google Scholar] [CrossRef] [PubMed]
- Doma, K.; Nicholls, A.; Gahreman, D.; Damas, F.; Libardi, C.A.; Sinclair, W. The effect of a resistance training session on physiological and thermoregulatory measures of sub-maximal running performance in the heat in heat-acclimatized men. Sports Med. Open 2019, 5, 21. [Google Scholar] [CrossRef]
- Hayter, K.J.; Doma, K.; Schumann, M.; Deakin, G.B. The comparison of cold-water immersion and cold air therapy on maximal cycling performance and recovery markers following strength exercises. PeerJ 2016, 4, e1841. [Google Scholar] [CrossRef]
- Lignell, A.; Kerosuo, L.; Streichan, S.J.; Cai, L.; Bronner, M.E. Identification of a neural crest stem cell niche by spatial genomic analysis. Nat. Commun. 2017, 8, 1830. [Google Scholar] [CrossRef]
- Doma, K.; Leicht, A.; Sinclair, W.; Schumann, M.; Damas, F.; Burt, D.; Woods, C. Impact of exercise-induced muscle damage on performance test outcomes in elite female basketball players. J. Strength Cond. Res. 2018, 32, 1731–1738. [Google Scholar] [CrossRef] [PubMed]
- De Freitas, V.H.; Ramos, S.P.; Bara-Filho, M.G.; Freitas, D.G.; Coimbra, D.R.; Cecchini, R.; Guarnier, F.A.; Nakamura, F.Y. Effect of cold water immersion performed on successive days on physical performance, muscle damage, and inflammatory, hormonal, and oxidative stress markers in volleyball players. J. Strength Cond. Res. 2017, 186, 123–128. [Google Scholar] [CrossRef] [PubMed]
- Doma, K.; Deakin, G.B.; Bentley, D.J. Implications of impaired endurance performance following single bouts of resistance training: An alternate concurrent training perspective. Sports Med. 2017, 47, 2187–2200. [Google Scholar] [CrossRef]
- McGuigan, M.R.; Wright, G.A.; Fleck, S.J. Strength training for athletes: Does it really help sports performance? Int. J. Sports Physiol. Perform. 2012, 7, 2–5. [Google Scholar] [CrossRef] [PubMed]
- King, M.A.; Worthington, P.J.; Ranson, C.A. Does maximising ball speed in cricket fast bowling necessitate higher ground reaction forces? J. Sports Sci. 2016, 34, 707–712. [Google Scholar] [CrossRef] [PubMed]
- Mohr, M.; Draganidis, D.; Chatzinikolaou, A.; Barbero-Alvarez, J.C.; Castagna, C.; Douroudos, I.; Avloniti, A.; Margeli, A.; Papassotiriou, I.; Flouris, A.D.; et al. Muscle damage, inflammatory, immune and performance responses to three football games in 1 week in competitive male players. Eur. J. Appl. Physiol. 2016, 116, 179–193. [Google Scholar] [CrossRef] [PubMed]
- Weerakkody, N.; Allen, T. The effects of fast bowling fatigue and adhesive taping on shoulder joint position sense in amateur cricket players in Victoria, Australia. J. Sports Sci. 2017, 35, 1954–1962. [Google Scholar] [CrossRef] [PubMed]
- Paschalis, V.; Nikolaidis, M.G.; Giakas, G.; Jamurtas, A.Z.; Pappas, A.; Koutedakis, Y. The effect of eccentric exercise on position sense and joint reaction angle of the lower limbs. Muscle Nerve 2007, 35, 496–503. [Google Scholar] [CrossRef] [PubMed]
- Leite, C.M.F.; Profeta, V.; Chaves, S.F.N.; Benine, R.P.C.; Bottaro, M.; Ferreira-Junior, J.B. Does exercise-induced muscle damage impair subsequent motor skill learning? Hum. Mov. Sci. 2019, 67, 102504. [Google Scholar] [CrossRef] [PubMed]
- Doma, K.; Connor, J.; Gahreman, D.; Boullosa, D.; Ahtiainen, J.P.; Nagata, A. Resistance training acutely impairs agility and spike-specific performance measures in collegiate female volleyball players returning from the off-season. Int. J. Environ. Res. Public Health 2020, 17, 6448. [Google Scholar] [CrossRef] [PubMed]
- Myers, A.M.; Beam, N.W.; Fakhoury, J.D. Resistance training for children and adolescents. Transl. Pediatr. 2017, 6, 137–143. [Google Scholar] [CrossRef]
- Harwood, M.J.; Yeadon, M.R.; King, M.A. Scaling the cricket pitch to fit junior players. J. Sports Sci. 2021, 39, 31–37. [Google Scholar] [CrossRef]
- Ramachandran, A.K.; Singh, U.; Connor, J.D.; Doma, K. Biomechanical and physical determinants of bowling speed in cricket: A novel approach to systematic review and meta-analysis of correlational data. Sports Biomech. 2021, 1–23. [Google Scholar] [CrossRef] [PubMed]
- Horder, M.; Jorgensen, P.J.; Hafkenscheid, J.C.; Carstensen, C.A.; Bachmann, C.; Bauer, K.; Neuwald, C.; Rosalki, S.B.; Foo, A.Y.; Vogt, W. Creatine kinase determination: A European evaluation of the creatine kinase determination in serum, plasma and whole blood with the Reflotron system. Eur. J. Clin. Chem. Clin. Biochem. 1991, 29, 691–696. [Google Scholar]
- Pierce, D.R.; Doma, K.; Raiff, H.; Golledge, J.; Leicht, A.S. Influence of exercise mode on post-exercise arterial stiffness and pressure wave measures in healthy adult males. Front. Physiol. 2018, 9, 1468. [Google Scholar] [CrossRef] [PubMed]
- Harris, J.E.; Boushey, C.; Bruemmer, B.; Archer, S.L. Publishing nutrition research: A review of nonparametric methods, part 3. J. Am. Diet. Assoc. 2008, 108, 1488–1496. [Google Scholar] [CrossRef]
- Cohen, J. Statistical Power Analysis for the Behavioral Sciences; Lawrence Erlbaum Associates: Hillsdale, NJ, USA, 1988. [Google Scholar]
- Ebbeling, C.B.; Clarkson, P.M. Exercise-induced muscle damage and adaptation. Sports Med. 1989, 7, 207–234. [Google Scholar] [CrossRef]
- Geen, H.J. How important is endogenous muscle glycogen to fatigue in prolonged exercise? Can. J. Physiol. Pharmacol. 1990, 69, 290–297. [Google Scholar]
- Pyne, D.B.; Duthie, G.M.; Saunders, P.U.; Petersen, C.A.; Portus, M.R. Anthropometric and strength correlates of fast bowling speed in junior and senior cricketers. J. Strength Cond. Res. 2006, 20, 620–626. [Google Scholar] [CrossRef] [PubMed]
- Cockburn, E.; Bell, P.G.; Stevenson, E. Effect of milk on team sport performance after exercise-induced muscle damage. Med. Sci. Sports Exerc. 2013, 45, 1585–1592. [Google Scholar] [CrossRef] [PubMed]
- Twist, C.; Eston, R. The effects of exercise-induced muscle damage on maximal intensity intermittent exercise performance. Eur. J. Appl. Physiol. 2005, 94, 652–658. [Google Scholar] [CrossRef] [PubMed]
- Salter, C.W.; Sinclair, P.J.; Portus, M.R. The associations between fast bowling technique and ball release speed: A pilot study of the within-bowler and between-bowler approaches. J. Sports Sci. 2007, 25, 1279–1285. [Google Scholar] [CrossRef]
- Minett, G.M.; Duffield, R.; Kellett, A.; Portus, M. Effects of mixed-method cooling on recovery of medium-fast bowling performance in hot conditions on consecutive days. J. Sports Sci. 2012, 30, 1387–1396. [Google Scholar] [CrossRef][Green Version]
- Minett, G.M.; Duffield, R.; Kellett, A.; Portus, M. Mixed-method pre-cooling reduces physiological demand without improving performance of medium-fast bowling in the heat. J. Sports Sci. 2012, 30, 907–915. [Google Scholar] [CrossRef]
- Shinkle, J.; Nesser, T.W.; Demchak, T.J.; McMannus, D.M. Effect of core strength on the measure of power in the extremities. J. Strength Cond. Res. 2012, 26, 373–380. [Google Scholar] [CrossRef]
- Feros, S.A.; Young, W.B.; O’Brien, B.J. Relationship between selected physical qualities, bowling kinematics, and pace bowling skill in club-standard cricketers. J. Strength Cond. Res. 2018, 33, 2812–2825. [Google Scholar] [CrossRef]



| Tbase | T24 | T48 | |
|---|---|---|---|
| Averaged over six bowls in each over | |||
| BallavgV-Ov1 (km h−1) | 101.6 (96.3–110.4) | 98.9 (92.9–104.1); p = 0.012 *; ES = −0.61 | 102.0 (96.1–105.3); p = 0.208; ES = −0.32 |
| BallavgV-Ov2 (km h−1) | 100.7 (95.0–107.8) | 100.5 (95.2–103.5) | 101.1 (96.2–104.2) |
| BallavgV-Ov3 (km h−1) | 100.9 (94.5–107.9) | 97.0 (94.7–100.9); p = 0.025 *; ES = −0.50 | 101.1 (95.9–102.9); p = 0.484; ES = −0.14 |
| BallpeakV-Ov1 (km h−1) | 104.7 (99.1–114.1) | 101.3 (96.7–105.8); p = 0.018 *; ES = −0.66 | 104.8 (98.2–109.4); p = 0.123; ES = −0.35 |
| BallpeakV-Ov2 (km h−1) | 102.5 (98.1–111.1) | 102.4 (98.1–107.8) | 104.8 (97.3–108.3) |
| BallpeakV-Ov3 (km h−1) | 103.9 (97.6–112.4) | 100.0 (98.2–103.6); p = 0.036 *; ES = −0.61 | 104.5 (100.6–107.4); p = 0.483; ES = −0.12 |
| RunavgT-Ov1 (s) | 2.76 (2.49–2.81) | 2.84 (2.67–2.99) | 2.81 (2.48–3.02) |
| RunavgT-Ov2 (s) | 2.69 (2.51–2.49) | 2.81 (2.60–3.00); p = 0.042 *; ES = 0.50 | 2.84 (2.49–3.03); p = 0.025 *; ES = 0.56 |
| RunavgT-Ov3 (s) | 2.67 (2.52–2.89) | 2.87 (2.62–3.00) | 2.80 (2.51–3.01) |
| RunminT-Ov1 (s) | 2.68 (2.45–2.77) | 2.73 (2.60–2.87); p = 0.030 *; ES = 0.36 | 2.75 (2.44–2.95); p = 0.058; ES = 0.26 |
| RunminT-Ov2 (s) | 2.61 (2.48–2.75) | 2.77 (2.54–2.93) | 2.78 (2.56–2.88) |
| RunminT-Ov3 (s) | 2.63 (2.47–2.77) | 2.78 (2.45–2.96); p = 0.018 *; ES = 0.47 | 2.74 (2.45–2.96); p = 0.063; ES = 0.27 |
| RPE-Ov1 | 10 (8–12) | 11 (10–14); ES = 0.79 | 11 (9–13); ES = 0.62 |
| RPE-Ov2 | 12 (9–12) | 12 (12–15); ES = 0.99 | 11 (10–14) |
| RPE-Ov3 | 12 (10–13) | 12 (12–15); ES = 0.92 | 12 (11–15); ES = 0.62 |
| Accuracy-Ov1 (%) | 27.8 (11.1–37.5) | 22.2 (16.7–37.5) | 27.8 (0.0–43.0) |
| Accuracy-Ov2 (%) | 38.9 (29.2–48.6) | 22.2 (12.5–32.0); p = 0.028 *; ES = −0.39 | 30.6 (15.3–44.4); p = 0.080; ES = −0.27 |
| Accuracy-Ov3 (%) | 33.3 (19.4–45.8) | 16.7 (9.0–26.4); ES = −0.93 | 27.8 (18.1–54.2) |
| Averaged over three overs | |||
| BallavgV-Avg (km h−1) | 101.1 (95.1–108.7) | 98.4 (94.6–102.3); p = 0.012 *; ES = −0.46 | 101.6 (96.2–104.1); p = 0.263; ES = −0.21 |
| BallpeakV-Avg (km h−1) | 104.7 (99.6–104.1) | 103.2 (99.1–107.8); p = 0.012 *; ES = −0.56 | 105.9 (100.6–110.0); p = 0.441; ES = −0.14 |
| RunavgT-Avg (s) | 2.71 (2.51–2.81) | 2.84 (2.62–3.00); p = 0.021 *; ES = 0.48 | 2.76 (2.56–2.88); p = 0.036 *; ES = 0.48 |
| RunminT-Avg (s) | 2.63 (2.47–2.77) | 2.78 (2.56–2.94); p = 0.018 *; ES = 0.44 | 2.74 (2.45–2.96); p = 0.063; ES = 0.47 |
| RPE-Avg | 11 (10–13) | 12 (12–15); p = 0.050 *; ES = 0.98 | 11 (11–14); p = 0.123; ES = 0.64 |
| Accuracy-Avg (%) | 31.9 (25.0–44.0) | 27.8 (15.1–31.0); ES = −0.70 | 33.4 (18.5–41.7) |
Publisher’s Note: MDPI stays neutral with regard to jurisdictional claims in published maps and institutional affiliations. |
© 2021 by the authors. Licensee MDPI, Basel, Switzerland. This article is an open access article distributed under the terms and conditions of the Creative Commons Attribution (CC BY) license (https://creativecommons.org/licenses/by/4.0/).
Share and Cite
Doma, K.; Leicht, A.; Woods, C.; Harrison, D.; McGuckin, T.; Connor, J. Effect of Exercise-Induced Muscle Damage on Bowling-Specific Motor Skills in Male Adolescent Cricketers. Sports 2021, 9, 103. https://doi.org/10.3390/sports9070103
Doma K, Leicht A, Woods C, Harrison D, McGuckin T, Connor J. Effect of Exercise-Induced Muscle Damage on Bowling-Specific Motor Skills in Male Adolescent Cricketers. Sports. 2021; 9(7):103. https://doi.org/10.3390/sports9070103
Chicago/Turabian StyleDoma, Kenji, Anthony Leicht, Carl Woods, Drew Harrison, Teneale McGuckin, and Jonathan Connor. 2021. "Effect of Exercise-Induced Muscle Damage on Bowling-Specific Motor Skills in Male Adolescent Cricketers" Sports 9, no. 7: 103. https://doi.org/10.3390/sports9070103
APA StyleDoma, K., Leicht, A., Woods, C., Harrison, D., McGuckin, T., & Connor, J. (2021). Effect of Exercise-Induced Muscle Damage on Bowling-Specific Motor Skills in Male Adolescent Cricketers. Sports, 9(7), 103. https://doi.org/10.3390/sports9070103

