Study of the Kinematics and Dynamics of the Ring Pack of a Diesel Engine by Means of the Construction of CFD Model in Conjunction with Mathematical Models
Abstract
:1. Introduction
2. Test Bench Engine
3. Auxiliary Mathematical Models
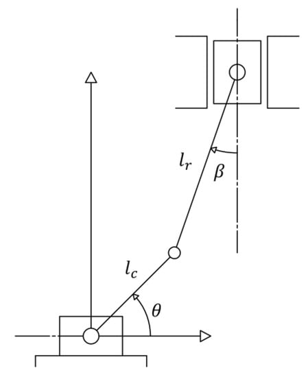
3.1. Piston Kinematics
3.2. Lubrication Oil Properties
3.3. Contact Friction Model
3.4. Blow-By Model
3.5. Tribological Model
4. CFD Procedure
5. Results and Discussion
5.1. Analysis of Movement of Piston Rings
5.2. Pressure Conditions Analysis
5.3. Leakage Flow Analysis
5.4. Analysis of Power Loss in the Piston Rings
6. Conclusions
Author Contributions
Funding
Institutional Review Board Statement
Data Availability Statement
Acknowledgments
Conflicts of Interest
Abbreviations
| Nomenclature | |
| Length of the crankshaft | |
| Length of the connecting rod | |
| Piston velocity | |
| Piston acceleration | |
| Coefficient of thermal expansion | |
| Lubricant piezo-viscosity index | |
| Thermo-viscosity index | |
| Atmospheric piezo-viscosity coefficient | |
| Thermo-viscosity coefficient | |
| Contact friction force | |
| Viscous friction force | |
| Asperity friction force | |
| Viscous shear stress of the lubricating oil | |
| Apparent contact area | |
| Real contact area between ring and liner | |
| Lubricant film thickness | |
| Asperity contact load | |
| Statistical function | |
| Coefficient of discharge | |
| Orifice upstream temperature | |
| Ring end-gap area | |
| Gas constant | |
| Compressibility factor | |
| Upstream pressure | |
| Downstream pressure | |
| Ratio of specific heats | |
| Thickness of the lubrication film | |
| Pressure between the ring surface and the cylinder liner | |
| Greek Letters | |
| Limiting Eyring shear stress | |
| Average radius of curvature of asperities | |
| Density of asperity peaks per unit area | |
| Surface roughness | |
| Stribeck lubricant film ratio | |
| Dynamic viscosity of the lubricating oil | |
| Angle between the connecting rod and the piston displacement axis | |
| Angular velocity of the crankshaft | |
| Relative angular velocity of the movement between connecting rod and piston | |
| Relative acceleration of the movement between connecting rod and piston | |
| Density of the lubricating oil | |
| Coefficient of asperity shear strength | |
References
- Reitz, R.D.; Ogawa, H.; Payri, R.; Fansler, T.; Kokjohn, S.; Moriyoshi, Y.; Agarwal, A.K.; Arcoumanis, D.; Assanis, D.; Bae, C.; et al. IJER editorial: The future of the internal combustion engine. Int. J. Engine Res. 2020, 21, 3–10. [Google Scholar] [CrossRef] [Green Version]
- Patil, V.; Shastry, V.; Himabindu, M.; Ravikrishna, R.V. Life-cycle analysis of energy and greenhouse gas emissions of automotive fuels in India: Part 2—Well-to-wheels analysis. Energy 2016, 96, 699–712. [Google Scholar] [CrossRef]
- Correa, G.; Muñoz, P.M.; Rodriguez, C.R. A comparative energy and environmental analysis of a diesel, hybrid, hydrogen and electric urban bus. Energy 2019, 187, 115906. [Google Scholar] [CrossRef]
- Holmberg, K.; Erdemir, A. The impact of tribology on energy use and CO2 emission globally and in combustion engine and electric cars. Tribol. Int. 2019, 135, 389–396. [Google Scholar] [CrossRef]
- Söderfjäll, M.; Herbst, H.M.; Larsson, R.; Almqvist, A. Influence on friction from piston ring design, cylinder liner roughness and lubricant properties. Tribol. Int. 2017, 116, 272–284. [Google Scholar] [CrossRef]
- Rahmani, R.; Rahnejat, H.; Fitzsimons, B.; Dowson, D. The effect of cylinder liner operating temperature on frictional loss and engine emissions in piston ring conjunction. Appl. Energy 2017, 191, 568–581. [Google Scholar] [CrossRef] [Green Version]
- Schommers, J.; Scheib, H.; Hartweg, M.; Bosler, A. Minimising friction in combustion engines. MTZ Worldw. 2013, 74, 28–35. [Google Scholar] [CrossRef]
- Gore, M.; Theaker, M.; Howell-Smith, S.; Rahnejat, H.; King, P.D. Direct measurement of piston friction of internal-combustion engines using the floating-liner principle. Proc. Inst. Mech. Eng. Part D J. Automob. Eng. 2014, 228, 344–354. [Google Scholar] [CrossRef] [Green Version]
- Hanke, W.; Ando, H.; Fahr, M.; Voigt, M. Friction Reduction in Power Cylinder Systems for Pass enger Car Diesel Engines. MTZ Worldw. 2014, 75, 26–31. [Google Scholar] [CrossRef]
- Koszalka, G.; Hunicz, J. Comparative study of energy losses related to the ring pack operation in homogeneous charge compression ignition and spark ignition combustion. Energy 2021, 235, 121388–121399. [Google Scholar] [CrossRef]
- Turnbull, R.; Dolatabadi, N.; Rahmani, R.; Rahnejat, H. An assessment of gas power leakage and frictional losses from the top compression ring of internal combustion engines. Tribol. Int. 2020, 142, 105991. [Google Scholar] [CrossRef]
- Bolander, N.W.; Steenwyk, B.D.; Kumar, A.; Sadeghi, F. Film thickness and friction measurement of piston ring cylinder liner contact with corresponding modeling including mixed lubrication. In Proceedings of the Internal Combustion Engine Division Fall Technical Conference, Long Beach, CA, USA, 24–27 October 2004; Volume 37467, pp. 811–821. [Google Scholar]
- Avan, E.Y.; Spencer, A.; Dwyer-Joyce, R.S.; Almqvist, A.; Larsson, R. Experimental and numerical investigations of oil film formation and friction in a piston ring–liner contact. Proc. Inst. Mech. Eng. Part J J. Eng. Tribol. 2013, 227, 126–140. [Google Scholar] [CrossRef]
- Zavos, A.; Nikolakopoulos, P.G. Tribology of new thin compression ring of fired engine under controlled conditions-A combined experimental and numerical study. Tribol. Int. 2018, 128, 214–230. [Google Scholar] [CrossRef]
- Koszalka, G. The use of the gas flow model to improve the design of the piston-rings-cylinder system of a diesel engine. In Proceedings of the IOP Conference Series: Materials Science and Engineering, Kragujevac, Serbia, 5–7 September 2019; Volume 659, p. 12072. [Google Scholar]
- Oliva, A.; Held, S. Numerical multiphase simulation and validation of the flow in the piston ring pack of an internal combustion engine. Tribol. Int. 2016, 101, 98–109. [Google Scholar] [CrossRef]
- Skoblo, T.S.; Sidashenko, A.I.; Satanovskii, E.A.; Oleinik, A.K.; Mal’tsev, T.V. Specific Features of Wear of Oil-Scraper Piston Rings with Tin Coatings in Bench Tests for Friction and Wear. Mater. Sci. 2018, 53, 501–507. [Google Scholar] [CrossRef]
- Niralgikar, K.H.; Bulsara, M.A. Investigation of Wear Pattern in Piston Ring of an IC Engine. Tribol. Ind. 2019, 41, 100–108. [Google Scholar] [CrossRef]
- Delprete, C.; Razavykia, A.; Baldissera, P. Detailed analysis of piston secondary motion and tribological performance. Int. J. Engine Res. 2020, 21, 1647–1661. [Google Scholar] [CrossRef]
- Delprete, C.; Razavykia, A. Piston ring--liner lubrication and tribological performance evaluation: A review. Proc. Inst. Mech. Eng. Part J J. Eng. Tribol. 2018, 232, 193–209. [Google Scholar] [CrossRef]
- Delprete, C.; Razavykia, A. Statistical Study of Ring Geometry Effect on Piston Ring/Liner Tribology Using Classical Design of Experiment; SAE Technical Paper; SAE International: Warrendale, PA, USA, 2018. [Google Scholar]
- Baker, C.; Theodossiades, S.; Rahmani, R.; Rahnejat, H.; Fitzsimons, B. On the Transient Three-Dimensional Tribodynamics of Internal Combustion Engine Top Compression Ring. J. Eng. Gas Turbines Power 2017, 139, 062801. [Google Scholar] [CrossRef]
- Xu, Y.; Zheng, Q.; Geng, J.; Dong, Y.; Tian, M.; Yao, L.; Dearn, K.D. Synergistic effects of electroless piston ring coatings and nano-additives in oil on the friction and wear of a piston ring/cylinder liner pair. Wear 2019, 422, 201–211. [Google Scholar] [CrossRef]
- Peng, Y.; Xu, Y.; Geng, J.; Dearn, K.D.; Hu, X. Tribological assessment of coated piston ring-cylinder liner contacts under bio-oil lubricated conditions. Tribol. Int. 2017, 107, 283–293. [Google Scholar] [CrossRef]
- Perera, M.S.M.; Theodossiades, S.; Rahnejat, H. Elasto-multi-body dynamics of internal combustion engines with tribological conjunctions. Proc. Inst. Mech. Eng. Part K J. Multi-Body Dyn. 2010, 224, 261–277. [Google Scholar] [CrossRef] [Green Version]
- Dowson, D.; Higginson, G.R. A Numerical Solution to the Elasto-Hydrodynamic Problem. J. Mech. Eng. Sci. 1959, 1, 6–15. [Google Scholar] [CrossRef]
- Houpert, L. New Results of Traction Force Calculations in Elastohydrodynamic Contacts. J. Tribol. 1985, 107, 241–245. [Google Scholar] [CrossRef]
- Rahnejat, H. Tribology and Dynamics of Engine and Powertrain: Fundamentals Applications and Future Trends; Woodhead Publishing: Cambridge, UK, 2010. [Google Scholar]
- Rahmani, R.; Theodossiades, S.; Rahnejat, H.; Fitzsimons, B. Transient elastohydrodynamic lubrication of rough new or worn piston compression ring conjunction with an out-of-round cylinder bore. Proc. Inst. Mech. Eng. Part J J. Eng. Tribol. 2012, 226, 284–305. [Google Scholar] [CrossRef] [Green Version]
- Teodorescu, M.; Taraza, D.; Henein, N.A.; Bryzik, W. Simplified Elasto-Hydrodynamic Friction Model of the Cam-Tappet Contact; SAE Technical Paper; SAE International: Warrendale, PA, USA, 2003. [Google Scholar]
- Teodorescu, M.; Balakrishnan, S.; Rahnejat, H. Integrated Tribological Analysis within a Multi- physics Approach to System Dynamics. Tribol. Interface Eng. Ser. 2005, 48, 725–737. [Google Scholar] [CrossRef]
- Theaker, M.; Rahmani, R.; Rahnejat, H. Prediction of Ring-Bore Conformance and Contact Condition and Experimental Validation. In Proceedings of the ASME 2012 Internal Combustion Engine Division Spring Technical Conference, Turin, Italy, 6–9 May 2012; American Society of Mechanical Engineers: New York, NY, USA, 2012; pp. 885–892. [Google Scholar]
- Woods, W.A. On the role of the harmonic mean isentropic exponent in the analysis of the closed-cycle gas turbine. Proc. Inst. Mech. Eng. Part A J. Power Energy 1991, 205, 287–291. [Google Scholar] [CrossRef]
- Jeng, Y.-R. Theoretical Analysis of Piston-Ring Lubrication Part I—Fully Flooded Lubrication. Tribol. Trans. 1992, 35, 696–706. [Google Scholar] [CrossRef]
- Priest, M.; Dowson, D.; Taylor, C.M. Theoretical modelling of cavitation in piston ring lubrication. Proc. Inst. Mech. Eng. Part C J. Mech. Eng. Sci. 2000, 214, 435–447. [Google Scholar] [CrossRef]
- Popoola, O.; Cao, Y. The influence of turbulence models on the accuracy of CFD analysis of a reciprocating mechanism driven heat loop. Case Stud. Therm. Eng. 2016, 8, 277–290. [Google Scholar] [CrossRef] [Green Version]
















| Model | Reference 4JJ1 |
|---|---|
| Manufacturer | ISUZU |
| Engine type | 4 cylinders |
| Bore | 95.4 mm |
| Stroke | 104.9 mm |
| Compression ratio | 17.5:1 |
| Injection system | Direct injection |
| Displaced volume | 2999 cc |
| Cycle | 4 Strokes |
| Properties | Unit | SAE 10W40 |
|---|---|---|
| Kinematic viscosity (40 °C) | m2/s | |
| Density (40 °C) | kg/m3 | 866 |
| Flash point | °C | 230 |
| Dynamic viscosity (40 °C) | m2/s | |
| Pressure—viscosity coefficient | m2/N |
| Crankshaft Angle (°) | Pressure (bar) | |||
|---|---|---|---|---|
| First Land | Second Land | Third Land | Crankcase | |
| 0 | 2.43 | 1.40 | 1.53 | 0.08 |
| 45 | 1.94 | 1.25 | 1.23 | 0.11 |
| 90 | 1.57 | 1.28 | 1.14 | 0.09 |
| 135 | 1.68 | 1.40 | 1.15 | 0.10 |
| 180 | 1.55 | 1.44 | 1.18 | 0.07 |
| 225 | 2.03 | 1.40 | 1.24 | 0.08 |
| 270 | 2.88 | 1.77 | 1.35 | 0.09 |
| 315 | 7.74 | 2.46 | 1.31 | 0.13 |
| 360 | 44.02 | 6.72 | 1.73 | 0.15 |
| 405 | 22.82 | 8.43 | 3.51 | 0.16 |
| 450 | 4.43 | 5.05 | 2.19 | 0.11 |
| 495 | 3.08 | 3.20 | 1.86 | 0.14 |
| 540 | 1.49 | 1.90 | 1.46 | 0.07 |
| 585 | 1.85 | 1.38 | 1.44 | 0.08 |
| 630 | 1.84 | 1.23 | 1.35 | 0.10 |
| 675 | 2.08 | 1.36 | 1.30 | 0.07 |
| 720 | 1.95 | 1.50 | 1.33 | 0.09 |
Publisher’s Note: MDPI stays neutral with regard to jurisdictional claims in published maps and institutional affiliations. |
© 2021 by the authors. Licensee MDPI, Basel, Switzerland. This article is an open access article distributed under the terms and conditions of the Creative Commons Attribution (CC BY) license (https://creativecommons.org/licenses/by/4.0/).
Share and Cite
Orozco Lozano, W.; Fonseca-Vigoya, M.D.S.; Pabón-León, J. Study of the Kinematics and Dynamics of the Ring Pack of a Diesel Engine by Means of the Construction of CFD Model in Conjunction with Mathematical Models. Lubricants 2021, 9, 116. https://doi.org/10.3390/lubricants9120116
Orozco Lozano W, Fonseca-Vigoya MDS, Pabón-León J. Study of the Kinematics and Dynamics of the Ring Pack of a Diesel Engine by Means of the Construction of CFD Model in Conjunction with Mathematical Models. Lubricants. 2021; 9(12):116. https://doi.org/10.3390/lubricants9120116
Chicago/Turabian StyleOrozco Lozano, Wilman, Marlen Del Socorro Fonseca-Vigoya, and Jhon Pabón-León. 2021. "Study of the Kinematics and Dynamics of the Ring Pack of a Diesel Engine by Means of the Construction of CFD Model in Conjunction with Mathematical Models" Lubricants 9, no. 12: 116. https://doi.org/10.3390/lubricants9120116
APA StyleOrozco Lozano, W., Fonseca-Vigoya, M. D. S., & Pabón-León, J. (2021). Study of the Kinematics and Dynamics of the Ring Pack of a Diesel Engine by Means of the Construction of CFD Model in Conjunction with Mathematical Models. Lubricants, 9(12), 116. https://doi.org/10.3390/lubricants9120116
