Optimization Design of Automotive Body Stiffness Using a Boundary Hybrid Genetic Algorithm
Abstract
1. Introduction
2. Formulation of Vehicle BIW Mathematical Model
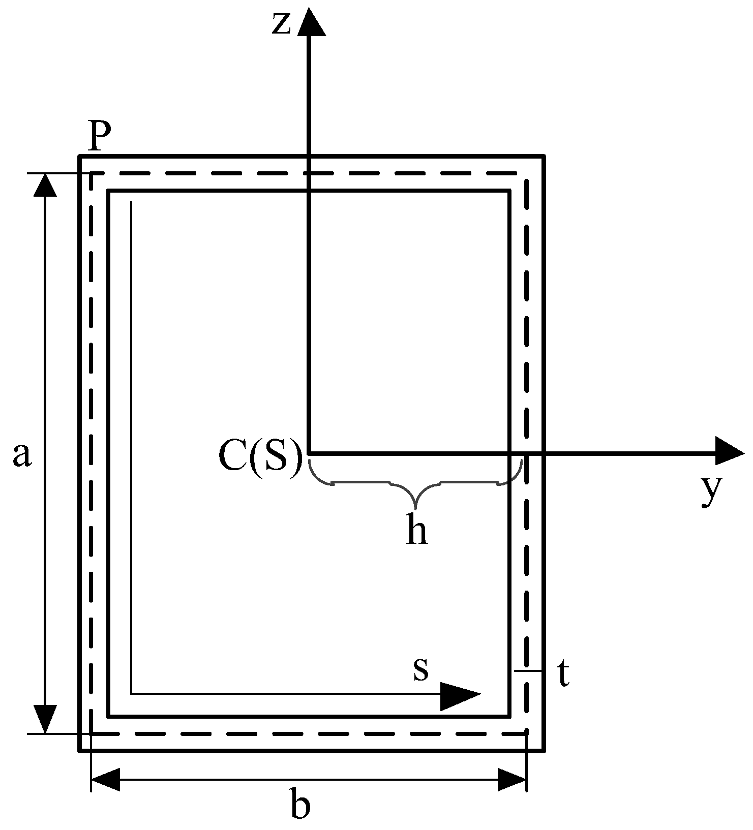
2.1. Formulation of Cross-Sectional Properties
2.2. TBTMM Mathematical Model of BIW Structure
2.3. Static Load Cases and Boundary Conditions
2.4. The Accuracy Verification
3. The Development of BHGA
- The BHGA randomly selects individuals from the boundary point set as the feasible initial population and performs a global search (GS) using the GA;
- Perform the elitist strategy and adaptively tune crossover and mutation operators;
- The LS procedure is used to handle constraints.
3.1. Generate the Initial Population
3.1.1. The Calculation of Boundary Points
- Step 1: Choose a feasible point a and an infeasible point b, then go to step 2.
- Step 2: Calculate the middle point c between a and b, then go to step 3.
- Step 3: If c is feasible, a = c, then go to step 6; otherwise, calculate the middle point d between c and b, then go to step 4.
- Step 4: If d is feasible, a = d, then go to step 6; otherwise, go to the next step.
- Step 5: Calculate the distance between b and d; if it , b = d, then go to step 2; otherwise, c = d, then go to step 3.
- Step 6: Calculate the distance between a and b; if it , terminate; otherwise, go to step 2.
3.1.2. The Initial Population
3.2. The Definition of GA Operators
3.3. The LS Strategy
- If the is feasible, calculate the objective function value of and the distance between and . If the current objective function value of is optimal compared to other individuals or the distance the set value , then is output as the repaired individual; otherwise, , and then go to step 2.
- If the is infeasible, then repair the infeasible individual with the reverse binary search method and go to step 2.where is used to tune the LS step and is the random number which is uniformly distributed in the interval .
4. Experimental Study and Discussion
4.1. Benchmark of Unconstrained Functions
4.2. Benchmark of Constrained Functions
4.3. Benchmark of Constrained Engineering Functions
5. Lightweight Design Based on BHGA
6. Conclusions
Author Contributions
Funding
Data Availability Statement
Conflicts of Interest
References
- Donders, S.; Takahashi, Y.; Hadjit, R.; Van Langenhove, T.; Brughmans, M.; Van Genechten, B.; Desmet, W. A reduced beam and joint concept modeling approach to optimize global vehicle body dynamics. Finite Elem. Anal. Des. 2009, 45, 439–455. [Google Scholar] [CrossRef]
- Bai, J.; Zhao, Y.; Meng, G.; Zuo, W. Bridging Topological Results and Thin-Walled Frame Structures Considering Manufacturability. J. Mech. Des. 2021, 143, 091706. [Google Scholar] [CrossRef]
- Mundo, D.; Hadjit, R.; Donders, S.; Brughmans, M.; Mas, P.; Desmet, W. Simplified modelling of joints and beam-like structures for BIW optimization in a concept phase of the vehicle design process. Finite Elem. Anal. Des. 2009, 45, 456–462. [Google Scholar] [CrossRef]
- Qin, H.; Liu, Z.; Liu, Y.; Zhong, H. An object-oriented MATLAB toolbox for automotive body conceptual design using distributed parallel optimization. Adv. Eng. Softw. 2017, 106, 19–32. [Google Scholar] [CrossRef]
- Liu, Y.; Liu, Z.; Qin, H.; Zhong, H.; Lv, C. An efficient structural optimization approach for the modular automotive body conceptual design. Struct. Multidiscip. Optim. 2018, 58, 1275–1289. [Google Scholar] [CrossRef]
- Nguyen, N.-L.; Jang, G.-W. Joint modeling using nonrigid cross-sections for beam-based analysis of a car body. Comput. Struct. 2021, 257, 106648. [Google Scholar] [CrossRef]
- Zhong, H.; Liu, Z.; Qin, H.; Liu, Y. Static analysis of thin-walled space frame structures with arbitrary closed cross-sections using transfer matrix method. Thin-Walled Struct. 2018, 123, 255–269. [Google Scholar] [CrossRef]
- Hou, W.B.; Zhang, H.Z.; Chi, R.F.; Hu, P. Development of an intelligent CAE system for auto-body concept design. Int. J. Automot. Technol. 2009, 10, 175–180. [Google Scholar] [CrossRef]
- Maghawry, A.; Hodhod, R.; Omar, Y.; Kholief, M. An approach for optimizing multi-objective problems using hybrid genetic algorithms. Soft Comput. 2020, 25, 389–405. [Google Scholar] [CrossRef]
- Ersavas, C.; Karatepe, E. Optimum allocation of FACTS devices under load uncertainty based on penalty functions with genetic algorithm. Electr. Eng. 2016, 99, 73–84. [Google Scholar] [CrossRef]
- Paszkowicz, W. Properties of a genetic algorithm equipped with a dynamic penalty function. Comput. Mater. Sci. 2009, 45, 77–83. [Google Scholar] [CrossRef]
- Lin, C.-H. A rough penalty genetic algorithm for constrained optimization. Inf. Sci. 2013, 241, 119–137. [Google Scholar] [CrossRef]
- Koziel, S.; Michalewicz, Z. Evolutionary Algorithms, Homomorphous Mappings, and Constrained Parameter Optimization. Evol. Comput. 1999, 7, 19–44. [Google Scholar] [CrossRef] [PubMed]
- Zhou, Y.; Li, Y.; He, J.; Kang, L. Multi-objective and MGG evolutionary algorithm for constrained optimization. In Proceedings of the Congress on Evolutionary Computing 2003 (CEC’2003), Canberra, Australia, 8–12 December 2003; pp. 1–5. [Google Scholar]
- Runarsson, T.P.; Yao, X. Search Biases in Constrained Evolutionary Optimization. IEEE Trans. Syst. Man Cybern. 2005, 35, 233–243. [Google Scholar] [CrossRef]
- Salcedo-Sanz, S. A survey of repair methods used as constraint handling techniques in evolutionary algorithms. Comput. Sci. Rev. 2009, 3, 175–192. [Google Scholar] [CrossRef]
- Li, X.; Du, G. Inequality constraint handling in genetic algorithms using a boundary simulation method. Comput. Oper. Res. 2012, 39, 521–540. [Google Scholar] [CrossRef]
- Coello, C.A.C.; Montes, E.M. Constraint-handling in genetic algorithms through the use of dominance-based tournament selection. Adv. Eng. Inform. 2002, 16, 193–203. [Google Scholar] [CrossRef]
- Isaacs, A.; Ray, T.; Smith, W. Blessings of maintaining infeasible solutions for constrained multi-objective optimization problems. In Proceedings of the 2008 IEEE Congress on Evolutionary Computation (IEEE World Congress on Computational Intelligence), Hong Kong, China, 1–6 June 2008; pp. 2780–2787. [Google Scholar]
- Genetic Algorithms Toolbox 2001. Available online: http://codem.group.shef.ac.uk/index.php/ga-toolbox (accessed on 2 March 2021).
- Liang, J.J.; Suganthan, P.N.; Deb, K. Novel composition test functions for numerical global optimization. In Proceedings of the IEEE Swarm Intelligence Symposium, Pasadena, CA, USA, 8–10 June 2005; pp. 68–75. [Google Scholar]
- Qin, H.; Guo, Y.; Liu, Z.; Liu, Y.; Zhong, H. Shape optimization of automotive body frame using an improved genetic algorithm optimizer. Adv. Eng. Softw. 2018, 121, 235–249. [Google Scholar] [CrossRef]
- Mirjalili, S.; Gandomi, A.H.; Mirjalili, S.Z.; Saremi, S.; Faris, H.; Mirjalili, S.M. Salp swarm algorithm: A bio-inspired optimizer for engineering design problems. Adv. Eng. Softw. 2017, 114, 163–191. [Google Scholar] [CrossRef]
- Saremi, S.; Mirjalili, S.; Lewis, A. Grasshopper Optimisation Algorithm: Theory and application. Adv. Eng. Softw. 2017, 105, 30–47. [Google Scholar] [CrossRef]
- Mirjalili, S.; Lewis, A. The whale optimization algorithm. Adv. Eng. Softw. 2016, 95, 51–67. [Google Scholar] [CrossRef]
- Mirjalili, S.; Mirjalili, S.M.; Lewis, A. Grey wolf optimizer. Adv. Eng. Softw. 2014, 69, 46–61. [Google Scholar] [CrossRef]
- Kennedy, J. Particle swarm optimization. In Encyclopedia of Machine Learning; Springer: New York, NY, USA, 2011; pp. 760–766. [Google Scholar]
- Rashedi, E.; Nezamabadi-Pour, H.; Saryazdi, S. GSA: A Gravitational Search Algorithm. Inf. Sci. 2009, 179, 2232–2248. [Google Scholar] [CrossRef]
- Mirjalili, S.; Mirjalili, S.M.; Hatamlou, A. Multi-verse optimizer: A nature-inspired algorithm for global optimization. Neural Comput. Appl. 2016, 27, 495–513. [Google Scholar] [CrossRef]
- Geem, Z.W.; Kim, J.H.; Loganathan, G.V. A new heuristic optimization algorithm: Harmony search. Simulation 2001, 76, 60–68. [Google Scholar] [CrossRef]
- Liang, J.; Runarsson, T.P.; Mezura-Montes, E.; Clerc, M.; Suganthan, P.N.; Coello, C.A.C.; Deb, K. Problem Definitions and Evaluation Criteria for the CEC 2006 Special Session on Constrained Real-Parameter Optimization; Technical report; Nanyang Technological University: Singapore, 2006. [Google Scholar]
- Liu, J.; Teo, K.L.; Wang, X.; Wu, C. An exact penalty function-based differential search algorithm for constrained global optimization. Soft Comput. 2015, 20, 1305–1313. [Google Scholar] [CrossRef]
- Patel, V.K.; Savsani, V.J. Heat transfer search (HTS): A novel optimization algorithm. Inf. Sci. 2015, 324, 217–246. [Google Scholar] [CrossRef]
- Mezura-Montes, E.; Coello, C.A.C. A Simple Multimembered Evolution Strategy to Solve Constrained Optimization Problems. IEEE Trans. Evol. Comput. 2005, 9, 1–17. [Google Scholar] [CrossRef]
- Zavala, A.E.M.; Aguirre, A.H.; Diharce, E.R.V. Constrained optimization via particle evolutionary swarm optimization algorithm (PESO). In Proceedings of the GECCO’05, Washington, DC, USA, 25–29 June 2005; pp. 209–216. [Google Scholar] [CrossRef]
- Mezura-Montes, E.; Miranda-Varela, M.E.; Gómez-Ramón, R.D.C. Differential evolution in constrained numerical optimization: An empirical study. Inf. Sci. 2010, 180, 4223–4262. [Google Scholar] [CrossRef]
- Karaboga, D.; Akay, B. A modified Artificial Bee Colony (ABC) algorithm for constrained optimization problems. Appl. Soft Comput. 2011, 11, 3021–3031. [Google Scholar] [CrossRef]
- Coello, C.A.C. Use of a self-adaptive penalty approach for engineering optimization problems. Comput. Ind. 2000, 41, 113–127. [Google Scholar] [CrossRef]
- Rao, R.V.; Savsani, V.J.; Vakharia, D.P. Teaching–learning-based optimization: A novel method for constrained mechanical design optimization problems. Comput. Aided Des. 2011, 43, 303–315. [Google Scholar] [CrossRef]










| Stiffness Type | FEM Analysis | TBTMM Analysis | Error |
|---|---|---|---|
| Bending stiffness (N/mm) | 6515.3846 | 5963.5323 | −6.9% |
| Torsion stiffness (N.m/°) | 2642.9129 | 2697.2338 | 2.1% |
| Prob. | N | Type of Function | LI | NI | (%) | BO |
|---|---|---|---|---|---|---|
| CF1 | 10 | nonlinear | 0 | 0 | 100 | - |
| CF2 | 10 | nonlinear | 0 | 0 | 100 | - |
| CF3 | 10 | nonlinear | 0 | 0 | 100 | - |
| CF4 | 10 | nonlinear | 0 | 0 | 100 | - |
| CF5 | 10 | nonlinear | 0 | 0 | 100 | - |
| CF6 | 10 | nonlinear | 0 | 0 | 100 | - |
| G01 | 13 | quadratic | 9 | 0 | 0.0111 | 6/9 |
| G02 | 20 | nonlinear | 0 | 2 | 99.9971 | 1/2 |
| G04 | 5 | quadratic | 0 | 6 | 52.1230 | 2/6 |
| G06 | 2 | cubic | 0 | 2 | 0.0066 | 2/2 |
| G07 | 10 | quadratic | 3 | 5 | 0.0003 | 6/8 |
| G08 | 2 | nonlinear | 0 | 2 | 0.8560 | 0/2 |
| G09 | 7 | polynomial | 0 | 4 | 0.5121 | 2/4 |
| G10 | 8 | linear | 3 | 3 | 0.0010 | 6/6 |
| G12 | 3 | quadratic | 0 | 1 | 4.7713 | 0/1 |
| G19 | 15 | nonlinear | 0 | 5 | 33.4761 | 5/5 |
| G24 | 2 | linear | 0 | 2 | 79.6556 | 2/2 |
| Eg01 | 3 | nonlinear | 1 | 3 | 0.7514 | 2/4 |
| Eg02 | 4 | cubic | 2 | 5 | 2.6627 | 4/7 |
| Eg03 | 4 | cubic | 3 | 1 | 75.9150 | 2/4 |
| Prob. | MaxGen | |||||||||
|---|---|---|---|---|---|---|---|---|---|---|
| CF1 | 40 | 0.95 | 0.85 | 0.2 | 0.01 | 1 | 0.1 | 1 | 30 | 1000 |
| CF2 | 40 | 0.95 | 0.85 | 0.2 | 0.01 | 1 | 0.1 | 1 | 30 | 1000 |
| CF3 | 40 | 0.95 | 0.85 | 0.2 | 0.01 | 1 | 0.1 | 1 | 30 | 1000 |
| CF4 | 40 | 0.95 | 0.85 | 0.2 | 0.01 | 1 | 0.1 | 1 | 30 | 1000 |
| CF5 | 40 | 0.95 | 0.85 | 0.2 | 0.01 | 1 | 0.1 | 1 | 30 | 1000 |
| CF6 | 40 | 0.95 | 0.85 | 0.2 | 0.01 | 1 | 0.1 | 1 | 30 | 1000 |
| G01 | 40 | 0.95 | 0.85 | 0.2 | 0.01 | 1 | 0.0001 | 0.1 | 200 | 1200 |
| G02 | 40 | 0.95 | 0.85 | 0.2 | 0.01 | 1 | 0.0001 | 0.1 | 200 | 1200 |
| G04 | 40 | 0.95 | 0.85 | 0.2 | 0.01 | 1 | 0.0001 | 0.1 | 200 | 1200 |
| G06 | 40 | 0.95 | 0.85 | 0.2 | 0.01 | 1 | 0.0001 | 0.1 | 200 | 1200 |
| G07 | 40 | 0.95 | 0.85 | 0.2 | 0.01 | 1 | 0.0001 | 0.1 | 200 | 1200 |
| G08 | 40 | 0.95 | 0.85 | 0.2 | 0.01 | 1 | 0.0001 | 0.1 | 200 | 1200 |
| G09 | 40 | 0.95 | 0.85 | 0.2 | 0.01 | 1 | 0.0001 | 0.1 | 200 | 1200 |
| G10 | 40 | 0.95 | 0.85 | 0.2 | 0.01 | 1 | 0.0001 | 0.1 | 200 | 1200 |
| G12 | 40 | 0.95 | 0.85 | 0.2 | 0.01 | 1 | 0.0001 | 0.1 | 200 | 1200 |
| G19 | 40 | 0.95 | 0.85 | 0.2 | 0.01 | 1 | 0.0001 | 0.1 | 200 | 1200 |
| G24 | 40 | 0.95 | 0.85 | 0.2 | 0.01 | 1 | 0.0001 | 0.1 | 200 | 1200 |
| Eg01 | 40 | 0.95 | 0.85 | 0.2 | 0.01 | 1 | 0.0001 | 0.1 | 100 | 200 |
| Eg02 | 40 | 0.95 | 0.85 | 0.2 | 0.01 | 1 | 0.0001 | 0.1 | 100 | 200 |
| Eg03 | 40 | 0.95 | 0.85 | 0.2 | 0.01 | 1 | 0.0001 | 0.1 | 100 | 200 |
| Algorithm | Statistic | F1 | F2 | F3 | F4 | F5 | F6 |
|---|---|---|---|---|---|---|---|
| BHGA | Ave. | 43.67 | 96.27 | 198.42 | 417.13 | 64.99 | 535.21 |
| Std. | 68.20 | 84.20 | 58.13 | 78.65 | 75.18 | 91.25 | |
| Rank | 3 | 3 | 4 | 6 | 2 | 1 | |
| BSGA | Ave. | 66.67 | 123.75 | 205.02 | 572.80 | 410.51 | 819.30 |
| Std. | 118.42 | 150.46 | 75.75 | 140.74 | 83.57 | 162.49 | |
| Rank | 5 | 4 | 6 | 10 | 11 | 8 | |
| IGA | Ave. | 46.67 | 89.10 | 191.15 | 344.55 | 90.21 | 544.26 |
| Std. | 77.61 | 4.10 | 61.34 | 54.47 | 57.41 | 68.40 | |
| Rank | 4 | 2 | 2 | 2 | 4 | 2 | |
| SSA | Ave. | 36.67 | 303.35 | 240.79 | 334.99 | 28.18 | 608.64 |
| Std. | 55.56 | 373.25 | 86.51 | 30.45 | 33.28 | 18.42 | |
| Rank | 2 | 11 | 7 | 1 | 1 | 3 | |
| GOA | Ave. | 120.00 | 261.49 | 341.83 | 516.50 | 195.43 | 846.43 |
| Std. | 121.48 | 121.63 | 132.22 | 166.93 | 191.41 | 13.79 | |
| Rank | 10 | 10 | 10 | 8 | 9 | 9 | |
| WOA | Ave. | 120.92 | 173.93 | 417.50 | 610.51 | 141.62 | 673.17 |
| Std. | 129.64 | 91.30 | 157.50 | 138.71 | 122.15 | 196.52 | |
| Rank | 11 | 7 | 11 | 11 | 7 | 4 | |
| GWO | Ave. | 82.19 | 146.49 | 200.72 | 430.56 | 93.48 | 860.55 |
| Std. | 115.17 | 93.06 | 72.71 | 125.21 | 102.17 | 123.24 | |
| Rank | 6 | 6 | 5 | 7 | 5 | 11 | |
| PSO | Ave. | 113.33 | 124.15 | 191.89 | 346.67 | 131.98 | 751.69 |
| Std. | 107.42 | 96.56 | 79.37 | 102.83 | 106.71 | 194.32 | |
| Rank | 9 | 5 | 3 | 3 | 6 | 5 | |
| GSA | Ave. | 3.33 | 186.67 | 157.14 | 410.00 | 195.43 | 814.97 |
| Std. | 18.26 | 50.74 | 55.12 | 156.06 | 191.41 | 113.47 | |
| Rank | 1 | 9 | 1 | 5 | 10 | 6 | |
| MVO | Ave. | 86.68 | 177.41 | 299.11 | 392.93 | 86.15 | 815.65 |
| Std. | 81.72 | 118.18 | 154.94 | 126.35 | 112.38 | 16.17 | |
| Rank | 7 | 8 | 9 | 4 | 3 | 7 | |
| HS | Ave. | 93.25 | 75.29 | 273.79 | 524.60 | 193.47 | 846.86 |
| Std. | 44.60 | 255.75 | 101.48 | 138.01 | 128.06 | 12.77 | |
| Rank | 8 | 1 | 8 | 9 | 8 | 10 |
| Prob. | Opti. | Best | Worst | Mean | SD |
|---|---|---|---|---|---|
| G01 | −15 | 15.0000 | −15.0000 | −15.0000 | 1.9 × 10−6 |
| G02 | −0.8036 | −0.8036 | −0.7926 | −0.8008 | 4.5 × 10−3 |
| G04 | −30,665.5387 | −30,665.5387 | −30,665.5387 | −30,665.5387 | 4.5 × 10−6 |
| G06 | −6961.8139 | −6961.8139 | −6961.8139 | −6961.8139 | 4.5 × 10−6 |
| G07 | 24.3062 | 24.3078 | 24.9419 | 24.4864 | 1.9 × 10−1 |
| G08 | −0.095825 | −0.095825 | −0.095825 | −0.095825 | 3.1 × 10−11 |
| G09 | 680.6301 | 680.6301 | 680.6626 | 680.6408 | 8.1 × 10−3 |
| G10 | 7049.2480 | 7114.8305 | 7795.3801 | 7354.5570 | 1.2 × 10−2 |
| G12 | −1 | −1.0000 | −1.0000 | −1.0000 | 6.1 × 10−13 |
| G19 | 32.6556 | 32.8912 | 38.8550 | 35.3045 | 1.5 |
| G24 | −5.5080 | −5.5080 | −5.5080 | −5.5080 | 3.7 × 10−8 |
| Prob. | BHGA | d-DS | BSGA | HTS | GA | PSO | DE | ABC | BBO | TLBO | |
|---|---|---|---|---|---|---|---|---|---|---|---|
| g01 | Best | −15.0000 | −15 | −14.9999 | −15 | 14.44 | −15 | −15 | −15 | −14.977 | −15 |
| Worst | −15.0000 | −13 | −14.9996 | −15 | −13 | −11.828 | −15 | −14.5882 | −6 | ||
| Mean | −15.0000 | −12.3 | −14.9997 | −15 | −14.236 | −14.71 | −14.555 | −15 | −14.7698 | −10.782 | |
| SD | 1.9 × 10−6 | 1.8 × 10−2 | 6.7 × 10−5 | - | - | - | - | - | - | - | |
| g02 | Best | −0.8036 | −0.803518 | −0.8036 | −0.7515 | −0.796321 | −0.669158 | −0.472 | −0.803598 | −0.7821 | −0.7835 |
| Worst | −0.7926 | −0.7743 | −0.7215 | −0.5482 | − | −0.299426 | - | −0.749797 | −0.7389 | −0.5518 | |
| Mean | −0.8008 | −0.7880 | −0.7669 | −0.6437 | −0.788588 | −0.41996 | −0.655 | −0.792412 | −0.7642 | −0.6705 | |
| SD | 4.5 × 10−3 | 7.0 × 10−4 | 2.3 × 10−2 | - | - | - | - | - | - | - | |
| g04 | Best | −30,665.5387 | −30,665.539 | −30,665.5385 | −30,665.5387 | −30626.053 | −30,665.539 | −30,665.539 | −30,665.539 | −30,665.539 | −30,665.539 |
| Worst | −30,665.5387 | −30,665.6475 | −30,665.5380 | −30,665.5387 | − | −30,665.539 | −30,665.539 | −30,665.539 | −29942.3 | −30,665.539 | |
| Mean | −30,665.5387 | −30,665.8862 | −30,665.5383 | −30,665.5387 | −30590.455 | −30,665.539 | −30,665.539 | −30,665.539 | −30411.865 | −30,665.539 | |
| SD | 4.5 × 10−6 | 1.2 × 10−1 | 1.3 × 10−4 | - | - | - | - | - | - | - | |
| G06 | Best | −6961.8139 | −6961.8139 | −6961.6025 | −6961.814 | −6952.472 | −6961.814 | −6954.434 | −6961.814 | −6961.814 | −6961.814 |
| Worst | −6961.8139 | 3.6128E+07 | −6959.5077 | −6961.814 | − | −6961.814 | −6954.434 | −6961.805 | −5404.4941 | −6961.814 | |
| Mean | −6961.8139 | 1.8436E+06 | −6961.1706 | −6961.814 | −6872.204 | −6961.814 | −6954.434 | −6961.813 | −6181.7461 | −6961.814 | |
| SD | 4.5 × 10−6 | 8.1 × 106 | 4.5 × 10−1 | - | - | - | - | - | - | - | |
| g07 | Best | 24.3078 | 24.315 | 24.3250 | 24.3104 | 31.097 | 24.37 | 24.306 | 24.33 | 25.6645 | 24.3103 |
| Worst | 24.9419 | 25.5336 | 36.3810 | 25.0083 | - | 56.055 | 24.33 | 25.19 | 37.6912 | 27.6106 | |
| Mean | 24.4864 | 24.7153 | 25.3126 | 24.4945 | 34.98 | 32.407 | 24.31 | 24.473 | 29.829 | 24.837 | |
| SD | 1.9 × 10−1 | 3.1 × 10−2 | 2.2 | - | - | - | - | - | - | - | |
| g08 | Best | −0.095825 | −0.095825 | −0.095825 | −0.095825 | −0.095825 | −0.095825 | −0.095825 | −0.095825 | −0.095825 | −0.095825 |
| Worst | −0.095825 | −0.09582 | −0.095825 | −0.095825 | - | −0.095825 | −0.095825 | −0.095825 | −0.095817 | −0.095825 | |
| Mean | −0.095825 | −0.0958 | −0.095825 | −0.095825 | −0.095799 | −0.095825 | −0.095825 | −0.095825 | −0.095824 | −0.095825 | |
| SD | 3.1 × 10−11 | 0 | 7.2 × 10−11 | - | - | - | - | - | - | - | |
| g09 | Best | 680.6301 | 680.630 | 680.6321 | 680.6301 | 685.994 | 680.63 | 680.63 | 680.634 | 680.6301 | 680.6301 |
| Worst | 680.6626 | 681.1324 | 680.7393 | 680.644 | 680.631 | 680.631 | 680.653 | 721.0795 | 680.6456 | ||
| Mean | 680.6408 | 680.7132 | 680.6587 | 680.6329 | 692.064 | 680.63 | 680.63 | 680.64 | 692.7162 | 680.6336 | |
| SD | 8.1 × 10−3 | 1.1 × 10−3 | 2.6 × 10−2 | - | - | - | - | - | - | - | |
| g10 | Best | 7114.8305 | 7056.76 | 7479.5547 | 7049.4836 | 9079.77 | 7049.481 | 7049.548 | 7053.904 | 7679.0681 | 7250.9704 |
| Worst | 7795.3801 | 7846.7898 | 10074.6906 | 7252.0546 | - | 7894.812 | 9264.886 | 7604.132 | 9570.5714 | 7291.3779 | |
| Mean | 7354.5570 | 7350.3449 | 8945.5845 | 7119.7015 | 10003.225 | 7205.5 | 7147.334 | 7224.407 | 8764.9864 | 7257.0927 | |
| SD | 1.2 × 10−2 | 2.0 × 101 | 8.0 × 102 | − | - | - | - | - | - | - | |
| g12 | Best | −1.0000 | −1 | −1 | −1 | −1 | −1 | −1 | −1 | −1 | −1 |
| Worst | −1.0000 | −1 | −1 | −1 | −0.994 | −1 | −1 | −1 | −1 | ||
| Mean | −1.0000 | −1 | −1 | −1 | −1 | −0.998875 | −1 | −1 | −1 | −1 | |
| SD | 6.1 × 10−13 | 0 | 6.0 × 10−13 | - | - | - | - | - | - | - | |
| g19 | Best | 32.8912 | 32.6556 | 33.5364 | 32.7132 | - | 33.5358 | 32.6851 | 33.3325 | 39.1471 | 32.7916 |
| Worst | 38.8550 | 46.1658 | 47.2062 | 33.2140 | - | 39.8443 | 32.9078 | 38.5614 | 71.3106 | 36.1935 | |
| Mean | 35.3045 | 32.8047 | 37.4585 | 32.7903 | - | 36.6172 | 32.7680 | 36.0078 | 51.8769 | 34.0792 | |
| SD | 1.5 | 2.8 | 3.3 | - | - | 2.04 | 6.28 × 10−2 | 1.83 | 1.12 × 101 | 9.33 × 10−1 | |
| g24 | Best | −5.5080 | −5.5080 | −5.5080 | −5.5080 | - | −5.5080 | −5.5080 | −5.5080 | −5.5080 | −5.5080 |
| Worst | −5.5080 | −5.4661 | −5.5080 | −5.5080 | - | −5.5080 | −5.5080 | −5.5080 | −5.4857 | −5.5080 | |
| Mean | −5.5080 | −5.5080 | −5.5080 | −5.5080 | - | −5.5080 | −5.5080 | −5.5080 | −5.4982 | −5.5080 | |
| SD | 3.7 × 10−8 | 3.4 × 10−6 | 3.5 × 10−6 | - | - | 9.36 × 10−16 | 9.36 × 10−16 | 9.36 × 10−16 | 6.75 × 10−3 | 9.36 × 10−16 |
| Algorithm | Design Variables | Optimum Result | Max. Eval. | ||
|---|---|---|---|---|---|
| x1 | x2 | x3 | |||
| BHGA | 0.051702 | 0.357034 | 11.270455 | 0.012665 | 20,000 |
| IGA | 0.051760 | 0.358421 | 11.191034 | 0.012667 | 50,000 |
| BSGA | 0.052499 | 0.376505 | 10.216692 | 0.012677 | 20,000 |
| GA (2000) | - | - | - | 0.012822 | 900,000 |
| GA (2002) | 0.051989 | 0.363965 | 10.890522 | 0.012973 | 80,000 |
| TLBO | - | - | - | 0.012665 | 10,000 |
| Algorithm | Design Variables | Optimum Result | Max. Eval. | |||
|---|---|---|---|---|---|---|
| x1 | x2 | x3 | x4 | |||
| BHGA | 0.205711 | 3.470841 | 9.036781 | 0.205729 | 1.724893 | 20,000 |
| IGA | 0.205218 | 3.481537 | 9.036823 | 0.205731 | 1.725597 | 50,000 |
| BSGA | 0.191842 | 3.802379 | 9.023441 | 0.206332 | 1.749193 | 20,000 |
| GA (2000) | - | - | - | - | 1.748309 | 900,000 |
| GA (2002) | 0.205986 | 3.471328 | 9.020224 | 0.206480 | 1.728226 | 80,000 |
| TLBO | - | - | - | - | 1.724852 | 10,000 |
| Algorithm | Design Variables | Optimum Result | Max. Eval. | |||
|---|---|---|---|---|---|---|
| x1 | x2 | x3 | x4 | |||
| BHGA | 0.789938 | 0.390530 | 40.9293 | 191.683131 | 5905.9633 | 20,000 |
| IGA | 0.815752 | 0.403932 | 42.248583 | 174.814712 | 5957.9898 | 50,000 |
| BSGA | 0.8074 | 0.3990 | 41.8153 | 180.1774 | 5939.1857 | 20,000 |
| GA (2000) | 0.812500 | 0.434500 | 40.323900 | 200.000000 | 6288.7445 | 900,000 |
| GA (2002) | 0.812500 | 0.437500 | 42.097398 | 176.654050 | 6059.9463 | 80,000 |
| TLBO | - | - | - | - | 6059.714335 | 10,000 |
| Prob. | MaxGen | |||||||||
|---|---|---|---|---|---|---|---|---|---|---|
| BIW | 20 | 0.95 | 0.85 | 0.2 | 0.01 | 1 | 0.0001 | 0.5 | 40 | 200 |
| No. | Design Variable | |||||||||||
|---|---|---|---|---|---|---|---|---|---|---|---|---|
| a (mm) | b (mm) | t (mm) | ||||||||||
| Initial | LB | UB | Optimum | Initial | LB | UB | Optimum | Initial | LB | UB | Optimum | |
| 1 | 80 | 70 | 90 | 70.0091 | 50 | 40 | 60 | 40.3296 | 2 | 1 | 3 | 1.2210 |
| 2 | 50 | 40 | 60 | 40.0002 | 60 | 50 | 70 | 50.0298 | 2 | 1 | 3 | 1.1240 |
| 3 | 50 | 40 | 60 | 58.9283 | 60 | 50 | 70 | 50.3071 | 2 | 1 | 3 | 1.5336 |
| 4 | 50 | 40 | 60 | 43.0401 | 100 | 90 | 110 | 90.0902 | 2 | 1 | 3 | 1.4500 |
| 5 | 50 | 40 | 60 | 40.0000 | 140 | 130 | 150 | 130.0087 | 2 | 1 | 3 | 1.1200 |
| 6 | 50 | 40 | 60 | 59.0542 | 80 | 70 | 90 | 70.3845 | 2 | 1 | 3 | 1.6700 |
| 7 | 50 | 40 | 60 | 50.4979 | 80 | 70 | 90 | 77.0980 | 2 | 1 | 3 | 1.7085 |
| 8 | 50 | 40 | 60 | 40.0013 | 80 | 70 | 90 | 70.7770 | 2 | 1 | 3 | 2.2068 |
| 9 | 50 | 40 | 60 | 50.8359 | 60 | 50 | 70 | 50.0000 | 2 | 1 | 3 | 1.1000 |
Publisher’s Note: MDPI stays neutral with regard to jurisdictional claims in published maps and institutional affiliations. |
© 2022 by the authors. Licensee MDPI, Basel, Switzerland. This article is an open access article distributed under the terms and conditions of the Creative Commons Attribution (CC BY) license (https://creativecommons.org/licenses/by/4.0/).
Share and Cite
Zhong, H.; Xu, T.; Yang, J.; Sun, M.; Gao, F. Optimization Design of Automotive Body Stiffness Using a Boundary Hybrid Genetic Algorithm. Machines 2022, 10, 1171. https://doi.org/10.3390/machines10121171
Zhong H, Xu T, Yang J, Sun M, Gao F. Optimization Design of Automotive Body Stiffness Using a Boundary Hybrid Genetic Algorithm. Machines. 2022; 10(12):1171. https://doi.org/10.3390/machines10121171
Chicago/Turabian StyleZhong, Haolong, Ting Xu, Jianglin Yang, Meng Sun, and Fei Gao. 2022. "Optimization Design of Automotive Body Stiffness Using a Boundary Hybrid Genetic Algorithm" Machines 10, no. 12: 1171. https://doi.org/10.3390/machines10121171
APA StyleZhong, H., Xu, T., Yang, J., Sun, M., & Gao, F. (2022). Optimization Design of Automotive Body Stiffness Using a Boundary Hybrid Genetic Algorithm. Machines, 10(12), 1171. https://doi.org/10.3390/machines10121171
