Next Article in Journal
Deep-Water Traction Current Sedimentation in the Lower Silurian Longmaxi Formation Siliceous Shales, Weiyuan Area, Sichuan Basin, China, Using Nano-Resolution Petrological Evidence
Next Article in Special Issue
Processing of a Phosphate Flotation Tails for Recovery of Rare Earths and Phosphate
Previous Article in Journal
Genesis of the Shabaosi Gold Field in the Western Mohe Basin, Northeast China: Evidence from Fluid Inclusions and H-O-S-Pb Isotopes
Previous Article in Special Issue
Variation in the Composition of Municipal Solid Waste Incineration Ash
 
 
Font Type:
Arial Georgia Verdana
Font Size:
Aa Aa Aa
Line Spacing:
Column Width:
Background:
Article

Utilisation of Pyrometallurgical Wastes: Recovery of Copper from the Spent Refractory Bricks from a Smelter in Namibia

by
Titus Nghipulile
*,
Godfrey Dzinomwa
,
Benjamin Mapani
,
Jaquiline Tatenda Kurasha
and
Chanda Anamela Kambobe
Department of Civil, Mining and Process Engineering, Namibia University of Science and Technology, Windhoek 9000, Namibia
*
Author to whom correspondence should be addressed.
Minerals 2025, 15(7), 722; https://doi.org/10.3390/min15070722
Submission received: 11 May 2025 / Revised: 5 July 2025 / Accepted: 7 July 2025 / Published: 10 July 2025
(This article belongs to the Special Issue Circular Economy of Remining Secondary Raw Materials)

Abstract

The reprocessing of metallurgical wastes to recover much-needed metals such as copper not only ensures an adequate supply of metals but also contributes to the cleaning of the environment. A copper smelter in Namibia accumulated significant amounts of spent refractory bricks that are enriched with metal values including copper. This supposedly waste material can potentially serve as a supplement to the ore concentrate, as a smelter feedstock for this toll smelter. Representative samples of crushed bricks, designated as Sample 1 and Sample 2, were used for mineralogical characterisation and flotation test work. The assays for Sample 1 and Sample 2 were 14% Cu and 18% Cu, respectively. Microscopy results identified various copper phases including metallic Cu, bornite, malachite and chalcopyrite. Batch flotation tests were conducted to investigate the effect of grind size (P80 of 53, 75 and 106 μm), pulp pH (natural pulp pH, 10, 10.5 and 11) and collector (potassium amyl xanthate, PAX) dosage (70, 100 and 130 g/t) on the recovery of copper, concentrate grade and weight recovery. In some tests, a co-collector (dithiophosphate, DTP) and sulphidiser (Na2S) were also added in the quest to maximise the recovery of copper. Based on the test conditions investigated in this study, the grind size is the key variable affecting the recovery of copper. The best copper recovery of 86% (with a weight recovery in the range of 42 to 45% (w/w) and concentrate grade of 37% Cu) was achieved for the finest grind size of 53 μm. The reagent suite that yielded the best recovery was 70 g/t PAX with no addition of the sulphidiser while the pH was 10. There is scope for developing the process routes to recover other valuable metals such as iron, lead and zinc that are also in the spent bricks, as well as potential reuse of the spent bricks (after recovering valuable metals) to make new refractory bricks.

1. Introduction

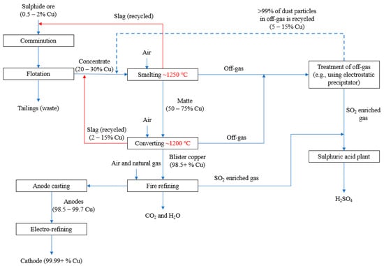
The global demand for copper and other critical metals required for the green energy transition and industrial revolution will continue to increase [1,2,3,4]. Ores containing copper sulphide minerals (e.g., chalcopyrite, bornite and chalcocite) are usually processed using pyrometallurgical processes, schematically presented in Figure 1. The process starts with comminution (crushing and milling) to liberate the valuable copper minerals from the gangue before separating the copper minerals from the gangue using froth flotation. The copper concentrate is then advanced to the smelting furnace, where a Cu-Fe-S-rich product (i.e., matte) is produced. The slag, containing mainly the oxides of gangue elements and some inclusions of copper as oxide, sulphide or metallic, is generally disposed of as a waste product. This has changed in recent years, with the reprocessing of smelting furnace slag now being common in the world [5,6,7,8,9,10,11,12,13,14,15]. Kundu et al. [16] and Guo et al. [17] provide a comprehensive review of the methods that can be applied to recover copper and/or other valuable metals from smelter slags. Flotation is one of the methods recommended for recovering copper from the slags. As shown in Figure 1, copper matte goes to the converter where the air is supplied to oxidise iron and sulphur and produce blister copper. The slag produced in a converter is recycled to the smelting furnace since it tends to have a high copper content in the range 2 to 15% Cu [18]. This loss is mainly due to the mechanical entrainment of matte droplets in the converter slag [18,19,20]. Blister copper is then fire-refined to reduce the sulphur and oxygen contents using air and carbon/hydrocarbon, respectively. The refined copper is finally cast into anodes for electrolytic refining to produce the final copper cathodes (+99.99% Cu).
The furnaces used for smelting, converting and fire refining are lined with refractory bricks, which can withstand high temperatures, while at the same time they have poor thermal conductivity to keep the heat within the furnace. To ensure a longer service life, the bricks should be able to withstand the mechanical, chemical and thermal stresses that are prevalent in furnaces since the bricks are exposed to high temperatures and corrosive liquids or gases [21,22,23,24,25,26,27]. The refractory bricks, e.g., magnesia–chromite refractories widely used as the refractory lining in copper smelters [27,28,29], that are removed from the furnace during relining, can potentially be considered as waste material. However, some copper phases tend to infiltrate into the bricks through cracks and holes [25,26,30]. It has been reported that copper oxides have the highest degree of infiltration, metallic copper has an intermediate degree of infiltration, and copper sulphide cannot easily get entrapped in the cracks within the bricks [25]. Due to the presence of copper in the spent bricks, this refractory material is receiving attention in the circular economy [31,32,33,34].
The consumption rate of refractory bricks are not well documented in the literature, but some estimates that could be gathered in the literature are that for Peirce–Smith converters, the consumption rate is in the range of 1.5 to 4.5 kg of refractory bricks per tonne of copper produced, while in flash furnaces, it is in the order of 0.25 kg per tonne of copper produced [35,36]. The lower consumption rate in the flash furnace is attributed to stable bath and effective cooling which minimise the degradation of the refractory bricks [19,35]. Furthermore, the relining of the Peirce–Smith converter is roughly equivalent to one year while for the flash furnace it extends to at least five years [35]. The difference in the frequency of relining for the two types of technologies implies for the Peirce–Smith converters, more spent refractory bricks are generated than with the flash furnaces. The authors acknowledge that the spent refractory bricks may not be a frequent secondary source of the smelters, but when relining of the furnaces is done this supposedly waste material becomes available for reprocessing to recover the copper and other metals.
The world is now faced with overcapacity due to many smelting facilities [37]. This, in turn, negatively affects the supply of copper concentrates for toll smelters (e.g., Sinomine Tsumeb Smelter [38]), which buy copper concentrates from concentrators around the world. The utilisation of metallurgical wastes, such as tailings, slag and spent bricks, can help to ensure a constant supply of toll smelter feedstock while also contributing to cleaning the environment [39]. A toll smelter in Namibia accumulated a significant amount of spent refractory bricks. To investigate the recovery of copper from the spent bricks at the Namibian smelter, representative samples of spent refractory bricks were collected in two different months of 2020 and prepared for this study. This study’s objectives were (1) to determine the mineralogical characteristics of the spent bricks, and (2) to assess the floatability of the copper mineral phases in the bricks.
There are not many studies on recovery of copper from spent refractory bricks. This is primarily because the amount of this material as a potential source of copper is limited. However, as already pointed out, when it becomes available after the relining of furnaces it can potentially serve as a secondary source. One reference study in the literature by Han et al. [25] characterised the spent magnesia–chrome refractory bricks from a copper smelter and found that the spent bricks were mainly composed of periclase, magnesiochromite, metallic copper, cuprite (Cu2O) and magnesium copper oxide. In their study [25], they applied froth flotation method to recover copper from the spent MgO-Cr2O3 refractory bricks and achieved the best copper recovery of 95% with concentrate grade of 21% Cu and recommended the tailings to be used as raw materials for new refractory bricks. The best results were achieved with emulsified kerosene (200 g/t), sodium isoamyl xanthate (400 g/t) and sodium sulphide (400 g/t) [25]. The current study did not use emulsified kerosene and sodium isoamyl xanthate. Instead, potassium amyl xanthate (PAX) as a primary collector and dithiophosphate (DTP) as a secondary collector were used with and without the sulphidiser (Na2S) while also investigating the effects of particle size and pulp pH on the recovery of copper.

2. Materials and Methods

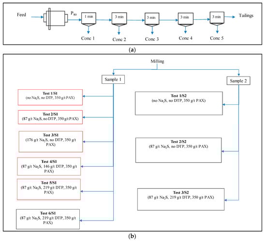
The smelter prepared two approximately 30 kg representative samples of the spent refractory bricks collected in two different months during the year 2020. The samples were first crushed to −10 mm, using the laboratory jaw crusher in the Minerals Processing Laboratory at the Namibia University of Science and Technology (NUST). The two samples, denoted as Sample 1 and Sample 2, were rotary split to obtain the subsamples for chemical analysis, particle size analysis, mineralogical characterisation, Bond work index and milling and batch flotation tests (see Figure 2). Chemical analysis was carried out using the benchtop X-ray fluorescence (XRF) spectrometer model NEX CG supplied by Applied Rigaku Technologies from Austin, TX, USA. The elemental compositions for Samples 1 and 2 are shown in Table 1. The difference is the Ca, Cu and Pb contents, with Sample 1 assaying 13% Ca, 14% Cu and 1.7% Pb, while Sample 2 has 6% Ca, 18% Cu and 5% Pb. Given comparable copper contents for the two samples, the authors acknowledge that the materials could have been blended to make a composite sample for the test work, but they opted to process them separately.
Particle size analysis of crushed material was done in duplicate for each sample type. Size analysis was done by first wet screening the sample on a 75 μm sieve. The samples of the materials obtained after granulometric separation in six particle size ranges of +3350, 3350 + 850, 850 + 300, 300 + 75 and 75 µm were hot mounted in resin and polished for observation using the BX51 Olympus optical microscope (Hachioji, Japan) in both reflection and transmission modes for phase identification. Optical microscopy was done on different size fractions, i.e., 3350 + 850, 850 + 300, 300 + 75 and 75 µm. However, since the same mineral phases were observed in different size fractions, only the results for 75 µm are presented in Figure 3. In this fine fraction, it is evident that native Cu occurs either as grains close to sulphides or enclosing sulphides, suggesting a genetic relationship. In Figure 3a, pyrite (triangular yellow grain in the upper left) is visible. Bornite occurs as circular spheres (Figure 3a) and chalcopyrite as small bright yellowish grains. In the Sample 1 specimen, top right (Figure 3a), the exsolution of sulphide droplets in a silicate phase displays liquid immiscibility. These textures can be attributed to high temperatures above 600 °C that were attained in the furnace to melt the silicates.
For each sample type, a 10 kg sub-sample was crushed to 3.35 mm using the laboratory jaw crusher to determine the Bond ball mill work index (BBWI) of the spent refractory bricks, following the standard procedures outlined in Gupta and Yan [40]. Both sample types had 80% passing size of 2.35 mm after crushing. The closing screen with the aperture size of 106 µm was used. The Bond ball mill work indices were found to be 17.5 and 17.3 kWh/t for Samples 1 and 2, respectively. The results suggest that the samples have comparable hardness. Based on the standard classification of hardness, the two samples are classified as “hard” during ball milling [41]. Raghavendra [30] reported a Bond work index value of 16.3 kWh/t for the spent refractory bricks from the non-ferrous industry. The infiltration of metallic copper (which is malleable), matte (which is very hard), and slag into the bricks contributed to the higher work indices.
Native Cu is prominent in the spent refractory bricks (see Figure 4a). Metallic copper, as with other metals, is malleable and thus would plastically deform when under compressive load in the mill (e.g., impacted by the ball charge), but it cannot break easily. This property can increase the residence time of the material in the mill when a finer grind is targeted. The metallic copper exposed during crushing must be screened off from the mill feed to protect equipment. The metallic Cu samples were examined in the JEOL JSM-IT300 scanning electron microscope coupled with the Thermo Scientific NS7 version 3.3 energy dispersive spectroscopy (EDS) software (Advancedlab, Baar, Switzerland) to estimate their elemental compositions. The samples were lightly carbon-coated using the Quorum Q150T sputter coater (Advancedlab, Baar, Switzerland). The SEM analysis was done in a high vacuum in the backscattered mode (BSE) at an acceleration voltage of 10–15 kV, a probe current of 50 nA, and a working distance of 15 mm. The typical SEM EDS spectrum is shown in Figure 4b. The Cu concentration varies from 48% to 94%. Since these are products from the furnace, silicate and non-metallic impurities are common.
Eight × 1 kg sub-samples were wet ground in the laboratory ball mill using 30 mm diameter steel balls (constituting about 7.6% (v/v) ball filling), slurry density corresponding to 65% (w/w) solids and mill speed equivalent to 75% of the critical speed. A low-ball filling of 7.6% (v/v) was selected to minimise the tendency of load slippage within the mill since the mill had no lifter bars [42]. The samples were milled for 10, 15, 20, 25, 30, 35, 40 and 45 min, respectively. The mill discharges were wet screened over 300, 212, 150, 106 and 75 µm to generate the grinding curves, which were used to estimate the residence time of the charge in the mill to produce flotation feeds with target grinds of 75 and 106 μm in Phase 1 (scope in Figure 5) and three target grinds (53, 75 and 106 µm) in Phase 2 (scope in Figure 6). The grinding times for Samples 1 and 2, which yielded P80 of 75 μm, were 32 and 31.5 min, respectively. The grinding time, which produced P80 of 106 μm for Samples 1 and 2, was 26.5 and 26 min, respectively. The milling time of 40 min yielded the P80 of 53 μm for both Samples 1 and 2. Comparable Bond ball work index resulted in comparable grinding times for the same target P80 sizes.
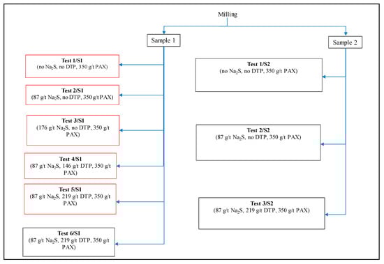
Batch roughing flotation tests were conducted using the bottom-driven Magotteaux flotation machine (Magotteaux, Perth, Australia), fitted with a 2.5 L cell. In Figure 5b, the tests in the red box were conducted with a P80 of 106 μm while those in the black box had a P80 of 75 μm. For Sample 2, no tests were conducted with the P80 of 106 μm after establishing with Sample 1 that the copper recoveries for the two grind sizes (P80 of 75 and 106 μm) are comparable, with that of P80 of 75 being slightly better (difference of 1%) as discussed in Section 3.1.
In Phase 1, shown in Figure 4, potassium amyl xanthate (PAX) and dithiophosphate (DTP) (commercial name for the DTP that was used is Hostaflot LIB) were used as primary and co-collectors, respectively. The reagent suite selected for this current study is different from the previous study [25] on the flotation of copper minerals in the spent refractory bricks, where 200 g/t emulsified kerosene, 400 g/t sodium isoamyl xanthate and 400 g/t of Na2S were used. However, for the xanthate collector (PAX), the dosage was kept close to the cited study, i.e., 350 g/t (compared to 400 g/t). The lower dosages of the collector were investigated in Phase 2. PAX, as with other xanthates, is widely used for the flotation of copper minerals, especially the sulphides [43]. The use of DTP as a co-collector in the quest to improve synergistic effects of collecting agent and the target mineral particles has been applied to copper (e.g., [44]) and other commodities, such as platinum group metals (PGMs) (e.g., [45]). The conditioning time for each collector was five minutes. Sodium sulphide (Na2S) was added in some tests as a sulphidiser (see Figure 4b), and it was also conditioned for five minutes. For all the tests, the frother (alkyl polyglycol, commercially called Flotanol CO7) was dosed into the cell at the rate of 50 g/t and conditioned for two minutes. The speed of the impeller when conditioning the reagents was fixed at 1000 rpm. This was reduced to 800 rpm before introducing the air into the pulp to start collecting the concentrates. For each test, five concentrates were collected as shown in Figure 3a. The concentrate samples were collected for different residence times to evaluate the flotation kinetic. The air flow rate was maintained at 4.5 L/min, and the scalping frequency for the concentrate was set to 15 s in all tests. Details of the reagents used in various tests conducted with Samples 1 and 2 are shown in Figure 4b. The pulp pH was not changed during the test work, but measurement showed that the natural pulp pH was approximately 10. Flotation products were filtered, dried in the oven with a set temperature of 90 °C and weighed. The elemental compositions of the flotation products were measured using the benchtop X-ray fluorescence (XRF) spectrometer provided.
After the metallurgical performance evaluation of the tests in Phase 1 which showed that liberation was not adequate for efficient recovery of copper phases in the spent refractory bricks, Phase 2 (shown in Figure 6) was executed to investigate the effects of flotation feed size, pH and collector (PAX) dosage on copper recovery. Results for Phase 1 (in Section 3.1) proved that higher recoveries of copper (>70%) could still be achieved by using PAX as the only collector and with no addition of the sulphidiser. In Phase 2, no secondary collector and sulphidiser were used. Table 2 lists the three levels for each experimental factor. No sulphidiser was added, and only Sample 2 was used for the test work. All the other test conditions (e.g., conditioning time, frother type and dosage, scalping frequency, air flow rate, agitation speed, total flotation time and slurry density) were benchmarked to Phase 1. Lime (Ca(OH)2) was used as a pH modifier. The grinding curve for Sample 2, generated in Phase 1, was used to estimate the grinding times that yield flotation feeds with the target P80 sizes of 53, 75 and 106 µm. The grinding times were found to be 40 min, 31.5 min and 26 min for 53, 75 and 106 µm, respectively. The full factorial design was applied to generate the experimental runs. Statgraphics Centurion 18 ® software was used for Design of Experiments (DoE). With three factors and three levels for each factor, the total number of runs is 27. The number of runs was scaled down to 16, which are listed in Table 3. This approach examines most of the possible combinations of these factors, allowing for the analysis of both their individual and interactive effects on copper recovery. All 16 runs were duplicated. The authors acknowledge that lower dosages of the collector could have been tested to establish clear trends on the effect of collector concentration. This is recommended for future studies. Investigating lower dosages may offer opportunities to reduce operating costs associated with the consumption of the reagents.

3. Results and Discussion

3.1. Effect of Sulphidiser and Co-Collector on Flotation of Copper Minerals (Phase 1 Results)

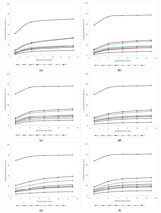
Details of the test conditions in terms of reagent dosages are shown in Figure 7 for easy reference when interpreting results for Phase 1. The recoveries of copper and other elements are plotted against time for various tests in Figure 8 and Figure 9 for Sample 1 and Sample 2, respectively. Table 4 presents the metallurgical accounting data for copper and other metals. The kinetic graphs in Figure 8 and Figure 9 show the selective flotation of copper minerals over other mineral phases in the bricks. The recoveries of copper are above 60% and the recoveries for Fe, Zn, Si, Ca and Cr are generally below 20% for the same residence time. For T1/S1 (test done without the addition of a sulphidiser and co-collector), a cumulative copper recovery of about 70% was achieved after 15 min with Sample 1 (see Figure 8a). Assays for Cu in concentrate and tailings were 33% and 5%, respectively (see Table 4). Under the same operating conditions, Sample 2 had a recovery of about 50% as shown in Figure 9a (Test 1/S2). The differences in the flotation performance could be attributed to the slight difference in mineralogical composition (see Table 1).
When Na2S was added at 87 g/t in Test 2/S1 (Figure 8b) and Test 2/S (Figure 9b) for Samples 1 and 2 respectively, to aid with the sulphidisation of the copper minerals, the recoveries of copper increased by 8% (to 78%) and 23% (to 73%) for Samples 1 and 2, respectively. Sulphidisation helps to modify the mineral surfaces to make them favourable for adsorption to the collector [46,47]. Various mineral phases for copper are in the spent bricks, and thus there is a need to add a sulphidiser to maximise the recovery of copper from sulphides and other phases. Concentrate grades were 32% and 36% Cu for Sample 1 (test T2/S1) and Sample 2 (test T2/S2), respectively, as shown in Table 4.
In Test 3/S1 (results shown in Figure 8c), the concentration of the sulphidiser was doubled to 176 g/t. The results are comparable to what was achieved with 87 g/t (comparing Figure 8b,c). Similar flotation performance for 87 and 176 g/t Na2S concentrations showed that increasing the concentration of Na2S is not beneficial, as it does not come with performance improvement. Hence, the lower concentration (87 g/t Na2S) was used in the tests T4/S, T5/S and T6/S1 for Sample 1 and T3/S2 for Sample 2 that were conducted to study the effect of the co-collector. However, the authors acknowledge that concentrations between 87 and 176 g/t Na2S, as well as lower concentrations (<87 g/t Na2S) may be worth investigating to establish clear trends of the effect of the sulphidiser on the recovery of copper.
For Sample 1, the effect of the secondary collector (Hostaflot LIB, a dithiophosphate) was investigated in test T4/S1 (DTP dosed at 146 g/t) and test T5/S1 (DTP dosed at 219 g/t) as shown in Figure 7. The addition of the DTP resulted in a slight increase in the copper recovery, with the cumulative recovery increasing to 78% in T4/S1 (Figure 8d) for a 146 g/t DTP concentration and an increase in the cumulative recovery to 80%. In T5/S1 (Figure 8e). The test conducted with 219 g/t DTP concentration was repeated with a flotation feed having a P80 of 75 µm (test T6/S1 in Table 4 and Figure 8f). Comparing tests T5/S1 (P80 = 106 μm) and T6/S1 (P80 = 75 μm) of Sample 1, it was observed that the finer feed yielded a slightly higher copper recovery (i.e., the difference of 1%). Under the same operating conditions (350 g/t PAX, 219 g/t DTP and P80 of 75 μm), Sample 2 yielded a copper recovery of 80% (Figure 9c). The slight increase in the recovery of copper suggests that particle size could be a key variable affecting flotation performance. The effect of flotation feed size was investigated in Phase 2, and the results are discussed in Section 3.2.
There is scope for optimising the concentration of DTP by using lower dosages to establish a clear trend on its effect on the recovery of copper. Lower dosages yielding the best performance would reduce operating costs associated with reagents. Nevertheless, in Phase 2, the authors investigated the effect of the collector dosage (dosage less than 350 g/t that was used in Phase 1), pH and particle size, which were not varied in Phase 1. The sulphidiser and co-collector (DTP) were not used in Phase 2.

3.2. Effects of Flotation Feed Size, pH and PAX Dosage on Flotation of Copper Minerals (In Phase 2)

The results for Phase 2 are summarised in Table 5. The upgrade ratios for different elements are plotted against copper recovery in Figure 10. The upgrade (enrichment ratios) was calculated using Equation (1). It is clear from Figure 10 that copper mineral phases are selectively upgraded in the concentrate over the mineral phases for other constituents of the spent bricks. Figure 11 shows the relationship between the weight recovery and copper recovery. As expected, the recovery increases with the mass pull.
E n r i c h m e n t   r a t i o = C o n c e n t r a t e   g r a d e F e e d   g r a d e

Main Effects of Experimental Factors on Recovery of Copper and Concentrate Grade

Flotation is a complex process whose efficiency is affected by various design and operating variables. The authors acknowledge that other parameters, such as slurry density, air flow rate and impeller speed, which can affect the flotation performance, were not investigated in the current study. Statistical analysis was performed on the results for Phase 2 in Table 5 to study the main effects of the experimental factors on the recovery of copper and concentrate grade. Statgraphics Centurion 18® software was used to perform the statistical analysis. The main effects are shown in Figure 12a,b for copper recovery and concentrate grade, respectively. Analysis of variance (ANOVA) tables are presented in Table 6 and Table 7 for the effect on recovery and concentrate grade, respectively.
It is clear from Figure 12a that the recovery of copper increases with collector (PAX) concentration. However, the recovery of copper decreases with increasing particle size and pH. The finer the grind size, the higher the recovery due to the improved liberation of the copper mineral phases in the bricks. The ANOVA (in Table 6) shows that only the grind size has a significant impact (at 95% confidence level) on the recovery of copper, with the p-value less than the level of significance (i.e., <0.05). The p-values of collector dosage and pH are greater than 0.05, suggesting that their impacts on the recovery of copper are statistically insignificant. The findings highlight that the particle size is the key variable affecting the recovery of copper. The copper phases in the material must be liberated for efficient separation. Figure 12b shows that the concentrate grade decreases with the increase in collector concentration (since the recovery increases with collector concentration). The concentrate grade is directly proportional to the particle size and pH (expected trend given the relationship between recovery and these two experimental factors in Figure 12a). All three experimental factors (pH, particle size and collector dosage) have no statistically significant impact on the concentrate grade as shown by p-values greater than 0.05 in Table 7.

3.3. Discussions

During the crushing of spent refractory bricks, the metallic flakes were identified. The spent bricks after crushing should be sorted or screened to remove the metallic inclusions, which can potentially damage crushing and milling equipment. Since comparable flotation performance was achieved for both types of samples, and the chemical compositions of the spent bricks from the same operation have similar mineralogical composition, the samples could be blended for processing in the beneficiation plant. In both Phases 1 and 2, the selective recovery of copper-bearing phases over the other constituents of the bricks was observed. In Phase 1, the effects of sulphidisation and the addition of a co-collector (DTP) were investigated with flotation feeds having P80 of 75 and 106 μm. The summary of metallurgical performance in Table 5 showed that the maximum recovery of 81.1% could be achieved for the P80 of 75 μm, 350 g/t PAX, 87 g/t Na2S and 219 g/t DTP. The weight recovery associated with this recovery is approximately 30% (w/w), while the concentrate grade was 31.76% Cu. The authors acknowledge that lower concentrations of both reagents (Na2S and DTP) could be tested to establish clear trends of their effects on the recovery of copper from the bricks and potentially reduce the operating costs that could come with lower reagent consumption. Furthermore, the effect of other parameters such as grind size, slurry density, air flow rate and impeller speed could have significant impacts on the flotation performance, as shown by a recent study by Mashingaidze et al. [48].
In Phase 2, the effects of PAX (70, 100 and 130 g/t), particle size (53, 75 and 106 μm) and pulp pH (10.0, 10.5 and 11.0) were investigated. The sulphidiser (Na2S) and co-collector (DTP) were not used in Phase 2. The copper recovery increased to about 86% when the flotation feed P80 size was reduced to 53 μm, as shown in Table 6. Table 8 summarises the chemical compositions of concentrate and tailings for the tests, which yielded copper recoveries of 86%. The statistical analysis in Table 7 showed that the flotation feed size is the key operating variable affecting the recovery of copper. To maximise recovery, fine grinding is required. However, fine grinding is characterised by higher operating costs due to higher energy consumption and steel media consumption [40,49,50,51]. For fine grinding, stirred media mills, reported to be efficient in terms of energy utilisation during fine grinding [52,53], may be considered in the process. Alternatively, a coarser grind size (e.g., P80 of 106 μm) for the feed to the rougher cells. The P80 of 106 μm may be achieved using the ball mills. The stirred media mills may then be used for a regrinding application to process the rougher concentrate before it is advanced to the cleaner cells.
The actual operating conditions in the flotation circuit processing the spent refractory bricks still need to be optimised by conducting a comprehensive experimental programme with the set objective of maximising the selective recovery of copper while reducing operating costs associated with reagent consumption. Lower PAX dosages need to be investigated to look for opportunities to save on reagent costs when processing this secondary material, which is available when the relining of the furnaces takes place. Furthermore, other operating variables such as the slurry solid concentration, air flow rate and impeller speeds should be investigated.

4. Conclusions

Mineralogical characterisation and batch roughing flotation experiments were conducted to recover copper from the spent refractory bricks. Flotation results for Phase 1 (investigating the effects of sulphidisation and co-collector) showed that the best copper recovery of about 80% was achieved with the feed P80 of 75 μm, respectively. The best recovery for the tested conditions was achieved with the reagent suite of 87 g/t Na2S, 350 g/t PAX and 219 g/t Hostaflot LIB (DTP). The weight recovery was about 30% (w/w). In Phase 2, the effects of three experimental factors (grind size, pH and collector dosage) on copper recovery were investigated. The highest copper recovery was 86%. This was achieved with two different PAX concentrations (70 and 100 g/t) while pH and grind size were fixed at P80 of 53 μm and pH 10. This highlights the fact that the collector concentration has no significant impact on the recovery of copper. The analysis of variance (ANOVA) has shown that the key operating variable, among those tested, was the feed size. The weight recovery was in the range of 42 and 45% (w/w) for the 86% recovery of copper.
The study findings demonstrated that flotation can be applied to recover the copper infiltrated into the spent refractory bricks. This supposedly waste material can thus serve as a secondary source of copper to supplement the ore concentrate as the feedstock for the smelting furnace. Optimisation test work is recommended to find the best combination of operating variables (feed size, collector concentration, slurry concentration, air flow rate, impeller speed, frother concentration and sulphidiser concentration) which yields the highest copper recovery. The selected regime of the operating variables should offer economic benefits in terms of energy consumption during grinding and reagent consumption. There is also scope for further work to investigate the beneficiation routes to recover other metals such as lead and zinc in the spent refractory bricks. Following the recovery of the entrained metals, the waste, which is primarily the bricks, may be used to manufacture new refractory bricks or could be utilised for other applications to prevent a significant accumulation of metallurgical wastes in the environment.

Author Contributions

Conceptualisation, T.N., G.D., B.M. and J.T.K.; methodology, T.N., G.D., B.M. and J.T.K.; validation, T.N., B.M. and J.T.K.; formal analysis, T.N., G.D., B.M., J.T.K. and C.A.K.; investigation, T.N., G.D., B.M., J.T.K. and C.A.K.; data curation, T.N., B.M., J.T.K. and C.A.K.; writing—original draft, T.N.; writing—review and editing, T.N., G.D., B.M. and J.T.K.; visualisation, T.N., B.M. and J.T.K.; supervision, T.N. and G.D. All authors have read and agreed to the published version of the manuscript.

Funding

This research received no external funding.

Data Availability Statement

The data are contained in the article.

Acknowledgments

The authors would like to thank the Namibia University of Science and Technology (NUST) for the payment of the Article Processing Charges.

Conflicts of Interest

The authors declare no conflicts of interest.

References

  1. Dong, D.; Tukker, A.; Van der Voet, E. Modeling copper demand in China up to 2050: A business-as-usual scenario based on dynamic stock and flow analysis. J. Ind. Ecol. 2019, 23, 1363–1380. [Google Scholar] [CrossRef]
  2. Pietrzyk, S.; Tora, B. Trends in global copper mining—A review. In IOP Conference Series: Materials Science and Engineering; IOP Science: Bristol, UK, 2018; pp. 1–10. [Google Scholar] [CrossRef]
  3. Schipper, B.W.; Lin, H.C.; Meloni, M.A.; Wansleeben, K.; Heijungs, R.; van der Voet, E. Estimating global copper demand until 2100 with regression and stock dynamics. Resour. Conserv. Recycl. 2018, 132, 28–36. [Google Scholar] [CrossRef]
  4. He, R.; Small, M.J. Forecast of the U.S. Copper Demand: A Framework Based on Scenario Analysis and Stock Dynamics. Environ. Sci. Technol. 2022, 56, 2709–2717. [Google Scholar] [CrossRef]
  5. Avarmaa, K.; Klemettinen, L.; O’brien, H.; Taskinen, P.; Jokilaakso, A. Critical metals Ga, Ge and In: Experimental evidence for smelter recovery improvements. Minerals 2019, 9, 367. [Google Scholar] [CrossRef]
  6. Dzinomwa, G.; Mapani, B.; Nghipulile, T.; Maweja, K.; Kurasha, J.T.; Amwaama, M.; Chigayo, K. Mineralogical Characterization of Historic Copper Slag to Guide the Recovery of Valuable Metals: A Namibian Case Study. Materials 2023, 16, 6126. [Google Scholar] [CrossRef]
  7. Gabasiane, T.S.; Danha, G.; Mamvura, T.A.; Mashifana, T.; Dzinomwa, G. Characterization of copper slag for beneficiation of iron and copper. Heliyon 2021, 7, e06757. [Google Scholar] [CrossRef] [PubMed]
  8. Humad, A.M.; Habermehl-Cwirzen, K.; Cwirzen, A. Effects of fineness and chemical composition of blast furnace slag on properties of Alkali-Activated Binder. Materials 2019, 12, 3447. [Google Scholar] [CrossRef] [PubMed]
  9. Kaksonen, A.H.; Lavonen, L.; Kuusenaho, M.; Kolli, A.; Närhi, H.; Vestola, E.; Puhakka, J.A.; Tuovinen, O.H. Bioleaching and recovery of metals from final slag waste of the copper smelting industry. Miner. Eng. 2011, 24, 1113–1121. [Google Scholar] [CrossRef]
  10. Karimi, N.; Vaghar, R.; Mohammadi, M.R.T.; Hashemi, A.A. Recovery of Copper from the Slag of Khatoonabad Flash Smelting Furnace by Flotation Method. J. Inst. Eng. India Seri. D 2013, 94, 43–50. [Google Scholar] [CrossRef]
  11. Li, Z.; Tian, Q.; Wang, Q.; Guo, X. Recovery of Copper, Lead and Zinc from Copper Flash Converting Slag by the Sulfurization-Reduction Process. Jom 2022, 75, 1106–1117. [Google Scholar] [CrossRef]
  12. Liao, Y.; Ji, G.; Shi, G.; Xi, J. A Study on the Selective Leaching of Valuable Metals and the Configuration of Iron Silicon Phases in Copper Smelting Slag by Oxidative Pressure Leaching. J. Sustain. Metall. 2021, 7, 1143–1153. [Google Scholar] [CrossRef]
  13. Lohmeier, S.; Lottermoser, B.G.; Schirmer, T.; Gallhofer, D. Copper slag as a potential source of critical elements—A case study from Tsumeb, Namibia. J. South. Afr. Inst. Min. Metall. 2021, 121, 129–142. [Google Scholar] [CrossRef]
  14. Rao, D.S.; Angadi, S.; Reddy, P.S.R. Characterization of Precious Metal Resources in Copper Slag and Their Implications in Beneficiation. J. Inst. Eng. Ser. D 2015, 96, 7–13. [Google Scholar] [CrossRef]
  15. Zhang, C.; Hu, B.; Wang, H.; Wang, M.; Wang, X. Recovery of valuable metals from copper slag. Mining, Metall. Explor. 2020, 37, 1241–1251. [Google Scholar] [CrossRef]
  16. Kundu, T.; Senapati, S.; Kanta, S.; Angadi, S.I.; Rath, S.S. A comprehensive review on the recovery of copper values from copper slag. Powder Technol. 2023, 426, 118693. [Google Scholar] [CrossRef]
  17. Tian, H.; Guo, Z.; Pan, J.; Zhu, D.; Yang, C.; Xue, Y.; Li, S.; Wang, D. Comprehensive review on metallurgical recycling and cleaning of copper slag. Resour. Conserv. Recycl. 2021, 168, 105366. [Google Scholar] [CrossRef]
  18. Chen, C.; Zhang, J.; Bai, M.; Wei, S. Investigation on the copper content of matte smelting slag in Peirce-Smith converter. J. Univ. Sci. Technol. Beijing Miner. Metall. Mater. 2001, 8, 177–181. [Google Scholar]
  19. Schlesinger, M.E.; King, M.J.; Sole, C.S.; Davenport, W.G. Extractive Metallurgy of Copper, 5th ed.; Elsevier: Amsterdam, The Netherlands, 2011. [Google Scholar]
  20. Rüşen, A.; Geveci, A.; Topkaya, Y.A. Minimization of copper losses to slag in matte smelting by colemanite addition. Solid State Sci. 2012, 14, 1702–1704. [Google Scholar] [CrossRef]
  21. Kulikov, V.Y.; Kvon, S.S.; Issagulov, A.Z.; Arinova, S.K. Studying refractory bricks structure impact on their performance properties. Metalurgija 2019, 58, 283–286. [Google Scholar]
  22. Gelves, J.F.; Sánchez Zuñiga, J.; Sánchez Molina, J. Characteristics of refractory bricks used in the coke production kilns in Colombia. J. Phys. Conf. Ser. 2021, 2046, 012046. [Google Scholar] [CrossRef]
  23. Osarenmwinda, J.; Abel, C.P. Performance Evaluation of Refractory Bricks produced from locally sourced Clay Materials. J. Appl. Sci. Environ. Manag. 2014, 18, 151. [Google Scholar] [CrossRef]
  24. Vitiello, D. Thermo-Physical Properties of Insulating Refractory Materials. Ph.D. Thesis, University of Limoges, Limoges, France, 2021. [Google Scholar]
  25. Han, J.; Jiao, F.; Liu, W.; Qin, W.; Xu, T.; Xue, K.; Zhang, T. Innovative Methodology for Comprehensive Utilization of Spent MgO-Cr2O3 Bricks: Copper Flotation. ACS Sustain. Chem. Eng. 2016, 4, 5503–5510. [Google Scholar] [CrossRef]
  26. Malfliet, A.; Lotfian, S.; Scheunis, L.; Petkov, V.; Pandelaers, L.; Jones, P.T.; Blanpain, B. Degradation mechanisms and use of refractory linings in copper production processes: A critical review. J. Eur. Ceram. Soc. 2014, 34, 849–876. [Google Scholar] [CrossRef]
  27. Schlesinger, M.E. Refractories for copper production. Miner. Process. Extr. Metall. Rev. 1996, 16, 125–146. [Google Scholar] [CrossRef]
  28. Ossandón, J.; Voisin, L.; Pizarro, C. The Effect of Clay Minerals on Fayalite Slag Structure and Refractory Brick Wear during Copper Smelting. Minerals 2022, 12, 1431. [Google Scholar] [CrossRef]
  29. Yurkov, A. Refractories for the Metallurgy of Copper. In Copper—From the Mineral to the Final Application; IntechOpen: London, UK, 2022; pp. 1–11. [Google Scholar] [CrossRef]
  30. Raghavendra, K.P.A. Recovery of Materials from Recycling of Spent Furnance Linings. Master’s Thesis, Missouri University of Science and Technology, Rolla, MO, USA, 2008. Available online: https://scholarsmine.mst.edu/cgi/viewcontent.cgi?article=5630&context=masters_theses (accessed on 5 March 2025).
  31. Spyridakos, A.; Alexakis, D.E.; Vryzidis, I.; Tsotsolas, N.; Varelidis, G.; Kagiaras, E. Waste Classification of Spent Refractory Materials to Achieve Sustainable Development Goals Exploiting Multiple Criteria Decision Aiding Approach. Appl. Sci. 2022, 12, 3016. [Google Scholar] [CrossRef]
  32. Magesh, K.M.; Pappayee, N.; Santhosh, K. Reduce, Reuse and Recycling Technology for Refractories in Cement Industries. Int. J. Innov. Res. Sci. Eng. Technol. 2007, 5, 11633–11651. [Google Scholar]
  33. Hanagiri, S.; Matsui, T.; Shimpo, A.; Aso, S.; Inuzuka, T.; Matsuda, T.; Sakaki, S.; Nakagawa, H. Recent improvement of recycling technology for refractories. Nippon Steel Tech. Rep. 2009, 388, 93–98. [Google Scholar]
  34. Madias, J. A review on recycling of refractories for the iron and steel industry. In Proceedings of the AISTech—Iron and Steel Technology Conference Proceedings, Philadelphia, PA, USA, 7–10 May 2018; pp. 3271–3279. [Google Scholar]
  35. Kojo, I.; Lahtinen, M.; Miettinen, E. Flash converting—Sustainable technology now and in the future. In International Peirce-Smith Converting Centennial; Kapusta, J., Warner, T., Eds.; Wiley-TMS: San Francisco, CA, USA, 2009; pp. 383–395. [Google Scholar]
  36. Davenport, W.G.; King, M.; Schlesinger, M.E.; Biswas, A.K. Extractive Metallurgy of Copper, 4th ed.; Elsevier: Pergamon, Greece, 2002; Available online: http://scioteca.caf.com/bitstream/handle/123456789/1091/RED2017-Eng-8ene.pdf?sequence=12&isAllowed=y%0Ahttp://dx.doi.org/10.1016/j.regsciurbeco.2008.06.005%0Ahttps://www.researchgate.net/publication/305320484_SISTEM_PEMBETUNGAN_TERPUSAT_STRATEGI_MELESTARI (accessed on 29 June 2025).
  37. Živković, Ž.; Panić, M.; Fedajev, A.; Veličković, M. The Challenges of Increasing the Copper Smelter Capacity on Ambient Air Quality in Bor (Serbia). Water. Air. Soil Pollut. 2023, 234, 82. [Google Scholar] [CrossRef]
  38. Sinomine Tsumeb Smelter. 2025. Available online: https://en.sinomine.cn/fzjg/181.html (accessed on 25 June 2025).
  39. Piatak, N.M.; Parsons, M.B.; Seal, R.R. Characteristics and Environmental Aspects of Slag: A Review; Elsevier Ltd.: Amsterdam, The Netherlands, 2015; Volume 57. [Google Scholar] [CrossRef]
  40. Gupta, A.; Yan, D.S. Mineral Process Design and Operations: An Introduction, 1st ed.; Elsevier Science: Amsterdam, The Netherlands, 2016. [Google Scholar]
  41. Napier-Munn, T.J.J.; Morrell, S.; Morrison, R.D.D.; Kojovic, T. Mineral Comminution Circuits: Their Operation and Optimisation, 3rd ed.; Julius Kruttschnitt Mineral Reseach Centre, The University of Queensland: Queensland, Australia, 2005. [Google Scholar]
  42. Nghipulile, T.; Moongo, T.E.; Dzinomwa, G.; Nkwanyana, S.; Mapani, B.; Kurasha, J.T. Evaluation of the Relationship between the Milling Breakage Parameters and Mineralogical Data: A Case Study of Three Copper Ores from a Multi-Mineralised Deposit. Minerals 2022, 12, 1263. [Google Scholar] [CrossRef]
  43. Wills, B.A.; Finch, J. Wills’ Mineral Processing Technology: An Introdution to Prcatical Aspects of Ore Treatment and Mineral Recovery, 8th ed.; Elsverier: Amsterdam, The Netherlands; Butterworth-Heinemann: Boston, UK; Oxford, UK, 2016. [Google Scholar]
  44. Guner, M.K.; Lode, S.; Malafeevskiy, N.; Aasly, K.; Kowalczuk, P. Mixed thiol collector system in the flotation of copper ore using the REFLUX Flotation Cell (RFC). Miner. Eng. 2024, 216, 108843. [Google Scholar] [CrossRef]
  45. Corin, K.C.; Bezuidenhout, J.C.; O’Connor, C.T. The role of dithiophosphate as a co-collector in the flotation of a platinum group mineral ore. Miner. Eng. 2012, 36–38, 100–104. [Google Scholar] [CrossRef]
  46. Asadi, M.; Soltani, F.; Mohammadi, M.R.T.; Darban, A.K.; Abdollahy, M. A successful operational initiative in copper oxide flotation: Sequential sulphidisation-flotation technique. Physicochem. Probl. Miner. Process. 2019, 55, 356–369. [Google Scholar] [CrossRef]
  47. Lee, K.; Archibald, D.; McLean, J.; Reuter, M.A. Flotation of mixed copper oxide and sulphide minerals with xanthate and hydroxamate collectors. Miner. Eng. 2009, 22, 395–401. [Google Scholar] [CrossRef]
  48. Mashingaidze, M.M.; Murova, D.T.; Bukasa, P.M.; Sigauke, T. Enhanced froth flotation recovery of nickel sulphides from concentrator tailings. Acad. Eng. 2025, 2, 1–22. [Google Scholar] [CrossRef]
  49. Jeswiet, J.; Szekeres, A. Energy Consumption in Mining Comminution. Procedia CIRP 2016, 48, 140–145. [Google Scholar] [CrossRef]
  50. Napier-Munn, T. Is progress in energy-efficient comminution doomed? Miner. Eng. 2015, 73, 1–6. [Google Scholar] [CrossRef]
  51. Tromans, D. Mineral comminution: Energy efficiency considerations. Miner. Eng. 2008, 21, 613–620. [Google Scholar] [CrossRef]
  52. Kumar, A.; Sahu, R.; Tripathy, S.K. Energy-Efficient Advanced Ultrafine Grinding of Particles Using Stirred Mills—A Review. Energies 2023, 16, 5277. [Google Scholar] [CrossRef]
  53. Rule, C.M. Stirred milling-New comminution technology in the PGM industry. J. South. African Inst. Min. Metall. 2011, 111, 101–107. [Google Scholar]
Figure 1. A typical flowsheet of pyrometallurgical processing of copper from sulphide ore.
Figure 1. A typical flowsheet of pyrometallurgical processing of copper from sulphide ore.
Minerals 15 00722 g001
Figure 2. Process diagram for the methodology employed to characterise the spent refractory bricks and investigate the potential recovery of copper using froth flotation.
Figure 2. Process diagram for the methodology employed to characterise the spent refractory bricks and investigate the potential recovery of copper using froth flotation.
Minerals 15 00722 g002
Figure 3. Sample 1 (a) and Sample 2 (b) specimens showing various textural dispositions of sulphides and native Cu.
Figure 3. Sample 1 (a) and Sample 2 (b) specimens showing various textural dispositions of sulphides and native Cu.
Minerals 15 00722 g003
Figure 4. Metallic copper plates and laths with varying compositions (exposed after crushing Sample 2) (a) and typical SEM EDS spectrum (b).
Figure 4. Metallic copper plates and laths with varying compositions (exposed after crushing Sample 2) (a) and typical SEM EDS spectrum (b).
Minerals 15 00722 g004
Figure 5. Phase 1 scope of work (a) flowsheet used for the test work (‘Conc’ denotes concentrate) and (b) description of reagents used in various tests of Samples 1 and 2.
Figure 5. Phase 1 scope of work (a) flowsheet used for the test work (‘Conc’ denotes concentrate) and (b) description of reagents used in various tests of Samples 1 and 2.
Minerals 15 00722 g005
Figure 6. Flowsheet used for the test work in Phase 2 (‘Conc’ denotes concentrate).
Figure 6. Flowsheet used for the test work in Phase 2 (‘Conc’ denotes concentrate).
Minerals 15 00722 g006
Figure 7. The description of the reagents used in the various tests of Samples 1 and 2.
Figure 7. The description of the reagents used in the various tests of Samples 1 and 2.
Minerals 15 00722 g007
Figure 8. Cumulative recovery against time curves for Sample 1, (a) Test 1/S1, (b) Test 2/S1, (c) Test 3/S1, (d) Test 4/S1, (e) Test 5/S1 and (f) Test 6/S1.
Figure 8. Cumulative recovery against time curves for Sample 1, (a) Test 1/S1, (b) Test 2/S1, (c) Test 3/S1, (d) Test 4/S1, (e) Test 5/S1 and (f) Test 6/S1.
Minerals 15 00722 g008
Figure 9. Cumulative recovery against time curves for Sample 2, (a) Test 1/S2, (b) Test 2/S2 and (c) Test 3/S2.
Figure 9. Cumulative recovery against time curves for Sample 2, (a) Test 1/S2, (b) Test 2/S2 and (c) Test 3/S2.
Minerals 15 00722 g009
Figure 10. Relationship between recovery and enrichment/upgrade ratio.
Figure 10. Relationship between recovery and enrichment/upgrade ratio.
Minerals 15 00722 g010
Figure 11. Relationship between recovery of copper and weight recovery. Experimental data are represented by the red diamond and the solid line is the trend line.
Figure 11. Relationship between recovery of copper and weight recovery. Experimental data are represented by the red diamond and the solid line is the trend line.
Minerals 15 00722 g011
Figure 12. Main effects of experimental variables on copper recovery (a) and concentrate grade (b).
Figure 12. Main effects of experimental variables on copper recovery (a) and concentrate grade (b).
Minerals 15 00722 g012
Table 1. Composite head analysis (XRF assays in %) for Sample 1 and Sample 2.
Table 1. Composite head analysis (XRF assays in %) for Sample 1 and Sample 2.
ElementsCuFeZnPbSiCaAlMgAsCrOthers
Sample 114.0019.201.171.664.7913.301.441.691.984.64~34.3
Sample 217.9017.601.624.994.985.921.391.834.144.08~32.0
Table 2. Levels of experimental factors used for Phase 2.
Table 2. Levels of experimental factors used for Phase 2.
FactorLevels (Low (−1)), Median (0) and High (+1))Unit
A: Collector dosage70, 100 and 130g/t
B: Grind size (P80)53, 75 and 106µm
C: pH10.0, 10.5 and 11.0-
Table 3. Factorial design of experimental combinations for Phase 2.
Table 3. Factorial design of experimental combinations for Phase 2.
RunFactor A (Collector Dosage)Factor B (Grind Size)Factor C (pH)
11.0−1.0−1.0
21.01.01.0
30.0−1.0−1.0
4−1.01.01.0
5−1.01.00.0
61.00.01.0
70.0−1.01.0
81.01.0−1.0
9−1.0−1.01.0
101.01.00.0
11−1.01.0−1.0
12−1.00.01.0
13−1.00.0−1.0
14−1.0−1.0−1.0
151.0−1.01.0
161.00.0−1.0
Table 4. Summary of metallurgical accounting for Samples 1 and 2.
Table 4. Summary of metallurgical accounting for Samples 1 and 2.
TestStreamsWeight Recovery (%)Recoveries (%)Grades (%)
CuFeZnPbCaCuFeZnPbCa
Sample 1
T1/S1Conc.25.970.415.418.533.617.133.1415.511.082.324.53
Tailings74.129.684.681.566.482.94.8529.721.661.607.67
T2/S1Conc.26.577.615.617.929.615.231.8713.800.951.934.11
Tailings73.522.484.482.170.484.83.3226.881.581.658.27
T3/S1Conc.27.377.217.820.432.414.932.1615.651.122.203.94
Tailings72.722.882.279.667.685.13.5727.191.641.728.43
T4/S1Conc.30.677.915.019.430.918.338.2511.640.932.192.24
Tailings69.422.185.080.669.181.74.7729.141.702.154.41
T5/S1Conc.29.780.218.823.039.019.733.0915.711.071.994.08
Tailings70.319.881.277.061.080.33.4528.791.511.317.05
T6/S1Conc.29.381.118.622.935.617.131.7614.271.042.124.26
Tailings70.718.981.477.164.482.93.0725.851.461.598.57
Sample 2
T1/S2Conc.23.749.612.616.926.415.339.1212.591.092.622.40
Tailings76.350.487.483.173.684.712.3527.041.662.274.11
T2/S2Conc.31.672.717.221.830.119.036.5314.391.222.452.44
Tailings68.427.382.878.269.981.06.3331.842.022.624.80
T3/S2Conc.27.679.517.120.431.314.035.2416.341.262.173.60
Tailings72.420.582.979.668.786.03.4530.201.861.818.44
Table 5. Summary of Phase 2 results.
Table 5. Summary of Phase 2 results.
TrialExperimental FactorsWeight Recovery (%w/w)Cu Grade in Bulk Concentrate (%)Cu Grade in the Tailings (%)Cumulative Recoveries
Collector Dosage (g/t)Grind Size d80 (μm)pH Cu (%)Fe (%)Cr (%)Ca (%)
11305310.040.935.45.781.236.425.740.5
213010611.021.245.16.465.414.48.017.3
31005310.044.536.64.985.738.727.742.2
47010611.019.157.97.066.016.97.015.7
57010610.528.532.67.064.921.816.925.6
61307511.023.949.95.972.716.49.318.0
71005311.031.839.78.967.623.614.425.2
813010610.024.345.56.569.218.711.320.5
9705311.031.830.94.974.724.315.725.7
1013010610.518.137.25.161.611.06.211.7
117010610.021.640.36.463.315.38.817.1
12707511.020.055.18.462.212.910.713.9
13707510.020.349.98.360.513.37.015.3
14705310.042.036.64.485.838.327.541.1
151305311.033.236.15.177.814.421.325.5
161307510.030.938.37.569.623.614.127.9
Table 6. Analysis of variance for copper recovery.
Table 6. Analysis of variance for copper recovery.
SourceSum of SquaresDfMean SquareF-Ratiop-Value
A: Collector dosage28.8579128.85790.890.3643
B: Grind size565.8131565.81317.430.0013
C: pH59.6579159.65791.840.2002
Total error389.5281232.4607
Table 7. Analysis of variance for copper grade in the concentrate.
Table 7. Analysis of variance for copper grade in the concentrate.
SourceSum of SquaresDfMean SquareF-Ratiop-Value
A: Collector dosage17.8314117.83140.30.5944
B: Grind size156.2411156.2412.620.1314
C: pH73.6007173.60071.240.2882
Total error715.0961259.5914
Table 8. Chemical composition of concentrate and tailings.
Table 8. Chemical composition of concentrate and tailings.
Run (in Table 6)Weight Recovery (%)Concentrate Grade (%)Tailings Grade (%)
CuFeCaCrCuFeCaCr
344.5036.6016.112.163.064.9020.502.386.40
1442.0036.6016.122.223.224.4018.802.316.17
Disclaimer/Publisher’s Note: The statements, opinions and data contained in all publications are solely those of the individual author(s) and contributor(s) and not of MDPI and/or the editor(s). MDPI and/or the editor(s) disclaim responsibility for any injury to people or property resulting from any ideas, methods, instructions or products referred to in the content.

Share and Cite

MDPI and ACS Style

Nghipulile, T.; Dzinomwa, G.; Mapani, B.; Kurasha, J.T.; Kambobe, C.A. Utilisation of Pyrometallurgical Wastes: Recovery of Copper from the Spent Refractory Bricks from a Smelter in Namibia. Minerals 2025, 15, 722. https://doi.org/10.3390/min15070722

AMA Style

Nghipulile T, Dzinomwa G, Mapani B, Kurasha JT, Kambobe CA. Utilisation of Pyrometallurgical Wastes: Recovery of Copper from the Spent Refractory Bricks from a Smelter in Namibia. Minerals. 2025; 15(7):722. https://doi.org/10.3390/min15070722

Chicago/Turabian Style

Nghipulile, Titus, Godfrey Dzinomwa, Benjamin Mapani, Jaquiline Tatenda Kurasha, and Chanda Anamela Kambobe. 2025. "Utilisation of Pyrometallurgical Wastes: Recovery of Copper from the Spent Refractory Bricks from a Smelter in Namibia" Minerals 15, no. 7: 722. https://doi.org/10.3390/min15070722

APA Style

Nghipulile, T., Dzinomwa, G., Mapani, B., Kurasha, J. T., & Kambobe, C. A. (2025). Utilisation of Pyrometallurgical Wastes: Recovery of Copper from the Spent Refractory Bricks from a Smelter in Namibia. Minerals, 15(7), 722. https://doi.org/10.3390/min15070722

Note that from the first issue of 2016, this journal uses article numbers instead of page numbers. See further details here.

Article Metrics

Back to TopTop