Next Article in Journal
Deformed Special Relativity in Light of the Unruh Effect
Previous Article in Journal
Non-Destructive Detection of Soluble Solids Content in Multiple Varieties of Hami Melon Based on Hyperspectral Imaging and Machine Learning
Previous Article in Special Issue
A Dynamic Evaluation Method for Pumped Storage Units Adapting to Asymmetric Evolution of Power System
 
 
Font Type:
Arial Georgia Verdana
Font Size:
Aa Aa Aa
Line Spacing:
Column Width:
Background:
Article

Symmetry-Inspired Comparative Evaluation of Metaheuristic Algorithms for Optimized Control of Distributed Generation Microgrids with Active Loads

by
Hafiz Arslan Khan
1,
Muhammad Salman Fakhar
1,
Syed Abdul Rahman Kashif
1,
Ahmed Ali
2,* and
Akhtar Rasool
3,*
1
Department of Electrical Engineering, University of Engineering & Technology, Lahore 54890, Pakistan
2
Department of Electrical and Electronic Engineering Technology, University of Johannesburg, Johannesburg 2092, South Africa
3
Department of Electrical Engineering, University of Botswana, Gaborone UB0061, Botswana
*
Authors to whom correspondence should be addressed.
Symmetry 2026, 18(3), 463; https://doi.org/10.3390/sym18030463
Submission received: 2 November 2025 / Revised: 27 November 2025 / Accepted: 1 December 2025 / Published: 9 March 2026
(This article belongs to the Special Issue Symmetry with Power Systems: Control and Optimization)

Abstract

Optimizing the control parameters of an islanded microgrid with active load integration presents a challenging operational research problem since current methodologies frequently fail to reach the ideal balance or symmetry between transient response, stability, and efficiency. The conventional methods, such as the canonical Particle Swarm Optimization (PSO), have settling time and voltage ripple minimization constraints, indicating possible improvement scopes. This research addresses this gap by employing advanced metaheuristic algorithms such as Accelerated Particle Swarm Optimization (APSO), Accelerated Particle Swarm Optimization with variable α (APSO α), Accelerated Particle Swarm Optimization with Normal Distribution (APSO_G), Rayleigh Distribution Accelerated Particle Swarm Optimization (RDAPSO), Rayleigh Distribution Accelerated Particle Swarm Optimization with variable α (RDAPSO α), and the Dragonfly Algorithm (DA). The algorithms were tested for their performance by using CEC Standard Benchmark functions from 2017, 2019, and 2022, providing a basis for rigorous and symmetrical testing and validation. The optimized RDAPSO α algorithm showed a significant reduction in voltage ripple, which was reduced from 4 V to 0.47 V, with an 88.25% reduction. It also showed a 46.32% improvement in settling time, which was reduced from 184.2 ms to 98.9 ms compared to PSO. A detailed statistical analysis was conducted to enhance the reliability and symmetry of the outcomes using Multivariate Analysis of Variance (MANOVA), the Mann–Whitney U test, the Friedman test, and the Bonferroni test. The results show that RDAPSO α offers a significant edge over the rest of the algorithms, with improvements that can be declared statistically superior in optimizing microgrids with improved symmetry in performance.

1. Introduction

The rapid integration of distributed generation (DG) into the electrical power sector marks a significant shift toward reducing greenhouse gas emissions and addressing global environmental issues [1]. Distributed generation systems, frequently combined with renewable energy sources, are engineered to function together with local loads in diverse configurations, typically creating microgrids that operate in islanded or grid-connected mode [2]. In islanded mode, to maintain independent operation, the system generates an angle based on the desired frequency [3]. The frequency angle represents the phase difference between the reference waveform of the desired (target) frequency and the actual output waveform of the DG unit within the microgrid. The control system maintains frequency stability and synchronization across all units in the islanded microgrid by continuously adjusting the phase angle. Power, current, and voltage controllers are often used in DG inverters to maintain stable voltage and frequency values. In autonomous microgrids, droop controller schemes are used for power sharing among different DG units [4]. However, because of the low inertia of inverter-based DG units, frequency and stability problems may occur. To counteract these problems and improve microgrid dynamic performance, centralized and decentralized control schemes are utilized, each having its benefits and drawbacks. Both control schemes are utilized to improve and optimize the dynamic or symmetrical operational performance of microgrids. In decentralized schemes, when a new DG is added, units can be plugged in without changing controller settings. This controller is not capable of regulating continuous operations with high coordination levels. On the other hand, system optimization can be attained through centralized control schemes; however, the desirable plug-and-play feature is not possible [5,6].
Previous studies indicate that fixed-gain PI controllers struggle to adapt to load changes and disturbances that introduce performance asymmetry within the microgrid, particularly in large microgrids and even with parameter variations. Consequently, a continuous tuning process is necessary to adjust the controller gains to address these issues. Numerous trial-and-error approaches have been documented in the literature, despite notable drawbacks such as failure to achieve optimal settings and time consumption. To solve the constraints provided by conventional fixed-gain proportional–integral (PI) control, recent breakthroughs in computer intelligence, such as fuzzy logic, artificial neural networks, and PSO, have been used to address these problems [7]. Despite increasing the complexity of the control system, these methods have significantly improved microgrid performance. Among these, PSO is preferred because of its resilience, simplicity, computing efficiency, and ability to balance local and global optimization strategies [8]. Researchers have consistently used PSO to improve both transient performance and overall system stability, helping the system maintain a more symmetric and balanced operational response, making it a viable technique for enhancing and optimizing microgrid control systems.
Maintaining microgrid stability can be challenging, particularly when constant power loads (CPLs) are present, as they greatly influence the system’s dynamic behavior [9]. Constant power loads are commonly used in DC scenarios like computer power supplies and telecom stations. They are also present in AC distribution areas such as electric ships and automobiles, or even within microgrid setups. Usually, CPLs use a front-end device to regulate the DC voltage for the load and then deliver this rectified power to the utility company as a CPL unit [10]. These CPL units have properties like negative incremental resistance and control loop dynamics that operate in the same frequency domain as the inverter. The feature of resistance is that an increase in current leads to a decrease in voltage while maintaining constant power output. When combined with the interactions between DG and CPL units, this can potentially impact system stability by reducing damping and contributing to instability issues [11]. Researchers have explored the resilience of microgrids with CPL connections using methods such as linearization and large signal analysis, along with eigenvalue analysis, and frequency domain approaches along with Brayton–Moser mixed potential theory techniques [12,13]. However, the non-linear characteristics of CPL systems restrict the effectiveness of these methods. This highlights the need for a computational approach that effectively addresses the complexities of CPL microgrid dynamics.
Maintaining synchronization of the microgrid with the active load is crucial as the distributed generation inverter must supply the appropriate amount of power to the active load at the right time. Consequently, a synchronization mechanism must be incorporated to align an active load with a microgrid [14]. The DG inverter must actively synchronize its load with the microgrid to ensure that enough power is supplied at the right time [15]. Aligning the DG inverter and active loads is a common usage for synchronization techniques like phase-locked loops (PLLs). PLLs are used to measure the grid voltage phase angle and track the microgrid frequency. They provide the power converter reference voltage by providing the frequency and amplitude of the fundamental grid voltage component. A common technique used for phase synchronization is PLL [16]. In parallel, recent research has focused on enhancing the canonical PSO algorithm by designing various PSO variations and applying them to different problem sets, with performance comparisons made against the canonical PSO [17]. After reviewing different methods, this control optimization scheme has the least amount of complexity as discussed in [18]. In [19] a more conventional method is proposed to optimize the microgrid using supercapacitors. This approach addresses transient issues but is not feasible with a large number of supercapacitors due to space constraints and cost. Although PSO-based techniques have been widely used for similar optimization issues, there is no evidence of the widespread use of alternative metaheuristic algorithms in this domain. The primary focus of the present work is to compare several PSO variants and the Dragonfly Algorithm to evaluate their effectiveness in optimizing microgrid control parameters. While this provides a baseline within the PSO family and a biologically inspired algorithm, further research is planned to include additional metaheuristic techniques, such as Differential Evolution and the Grey Wolf Optimizer, for broader validation of the proposed RDAPSO α algorithm’s effectiveness and generalizability.
In this paper, we have analyzed the performance of six different metaheuristic algorithms for the control of microgrids, including PSO [20], APSO α [21], APSO_G [22], RDAPSO, RD APSO α [23], and DF [24]. A microgrid consisting of three DG units and an active load model is optimized using metaheuristic algorithms. The control parameters Kp and Ki of the PI controller are optimized, and the results are compared to see which metaheuristic algorithm has the best result in terms of microgrid stability. The dynamic stability or symmetry of the microgrid is also investigated with active loads. The same parameters, settling time and voltage ripple, using PSO are captured as 200 ms and 2 V, respectively. PSO has some drawbacks like problems with premature convergence, inadequate diversity, and poor ability to escape local minima when solving complex multi-model problems. Thus, to eliminate these drawbacks, we employ various types of APSO and DF variants to increase the control of exploration and exploitation. APSO and DF exhibit faster convergence and decreased computational complexity due to their adaptive learning behavior and dynamic response. These algorithms promote traversing complex search spaces. The underlying optimal control problem is optimized by a weighted objective function that restricts the error of the output DC voltage and measured active power. Several statistical tests were used, each providing different insights to ensure a comprehensive and unbiased comparison of metaheuristic algorithms. MANOVA assesses overall differences across various performance metrics simultaneously. The Mann–Whitney U test is a non-parametric method for performing pairwise comparisons when normality assumptions are not met. The Friedman Rank test is used to determine if there are any significant differences among different algorithms when analyzing ranked data. Holm’s test is used to control the error rate in multiple comparisons that follow the Friedman test. The Nemenyi test is used to find out which specific algorithms have significantly different performance metrics. The Bonferroni test adjusts p-values to avoid spurious positives from a set of multiple statistical tests. The accumulation of these tests yields a holistic and statistically significant analysis of algorithm performance and lends credence to the findings in the study by providing strong empirical support. To verify the superiority of the algorithm, MANOVA [25], the Mann–Whitney U test [26], the Friedman Rank test, Holm’s test [27], the Nemenyi test [28], the Friedman test [29], and the Bonferroni test [30] are performed. Recent works in intelligent and robust control have introduced techniques such as finite-time integral control for non-linear systems and observer-based fault estimation in fuzzy systems. Such studies indicate an increased reliance on adaptive and uncertainty-tolerant control frameworks with respect to system stability or symmetry in dynamically active conditions. In this regard, the present work contributes from an optimization perspective, focusing on tuning PI controllers in an islanded microgrid using advanced metaheuristic algorithms. Complementary to previous methodologies, the proposed approach enhances dynamic response and minimizes voltage ripple and settling time by optimizing parameters rather than performing controller redesign.

2. Problem Formulation

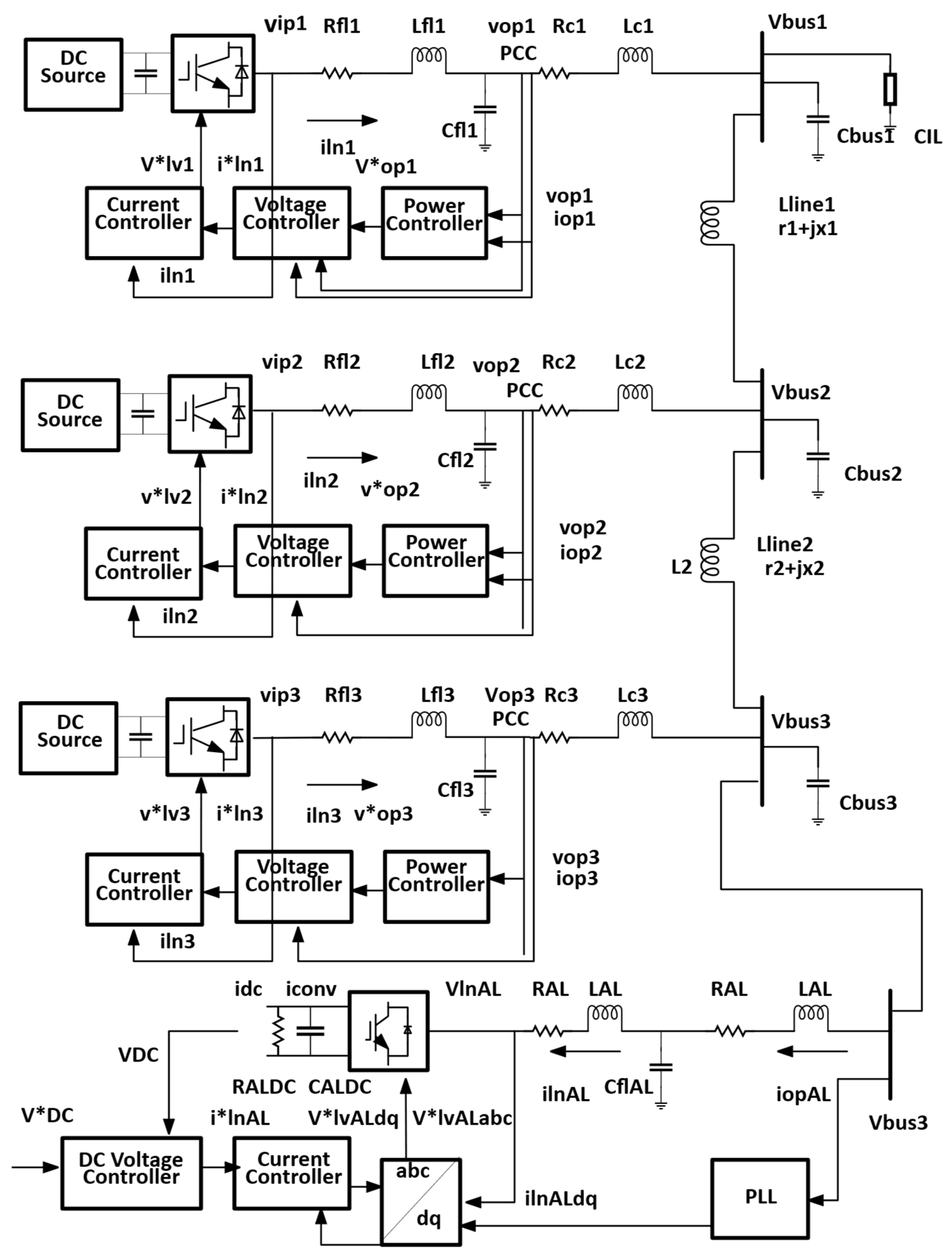
An autonomous microgrid is composed of three inverter-based DG units, coupling inductances, filters, two loads, CPL and CIL, and two transmission lines, as shown in Figure 1. Power, voltage, and current controllers are used to control the output of the DG units [8]. A power droop controller, used to disperse DG output powers, simulates the functioning of a synchronous generator by changing real and reactive power outputs in response to variations in power angle and output voltage amplitude. In addition to this, two PI controllers regulate the inverters’ output current and voltage, ensuring symmetric control of both quantities. Alongside control techniques, bus voltages and angles provide distinct reference frames within the microgrid.

2.1. Autonomous Microgrid Model

Each DG unit of the microgrid possesses its own dqi reference frame, whereas the entire microgrid uses one common DQ reference frame. Equations (1)–(21), which define these reference frames are derived from [2].
P m e a s u r e d = v o p d i o p d + v o p q i o p q  
Q m e a s u r e d = v o p d i o p q + v o p q i o p d  
After modeling each of the three inverters and the active load on their local dq frames, they are transferred to the common reference frame. The microgrid may be enlarged by adding more inverters or active loads, with their respective reference frames and angles displayed. The d-component of the ith inverter’s output voltage is equal to the inverter’s output voltage magnitude, whereas the q-component is zero.

2.1.1. Average Real and Reactive Powers

To obtain average real and reactive powers (Pc & Qc), a low-pass filter is applied for instantaneous power measurement. Instantaneous power exhibits high-frequency fluctuations when derived from real-time voltage and current measurements. These may be attributed to changes in load, switching actions, or harmonics within the system. To enhance control accuracy, a low-pass filter is employed to isolate the DC component while effectively attenuating high-frequency oscillations and harmonics.
P c = ω c ω c + s P m e a s u r e d ,   Q c = ω c ω c + s Q m e a s u r e d  

2.1.2. Droop Controller

The droop controller, as shown in Figure 2, regulates the microgrid’s frequency (ω) and output voltage ( v o * ) through the droop control method to facilitate appropriate power distribution among distributed generation units. A droop controller is a decentralized control strategy for regulating power sharing among distributed generations in microgrids, ensuring a more symmetric and balanced response under varying load conditions. Based on the active and reactive power outputs, the controller adjusts the voltage and frequency of the output. The droop controller acts as a synchronous generator that allows multiple units to operate in parallel without direct communication. This feature enables proportional power sharing based on the unit capacity, scalable operation, and robustness in both islanded and grid-connected modes.
ω = ω c m p P c , θ ˙ = ω  
v * o p d   = V n   n q   Q c ,       v * o p q   = 0  

2.1.3. Current and Voltage Controllers

Alongside the droop controller, the current and voltage controllers, as shown in Figure 3, govern the system’s stability. The primary responsibility of the voltage controllers is to maintain a stable output voltage and ensure constant power during fluctuations and transients in the system. This is achieved by regulating the reactive output power, which helps stabilize the voltage at the point of common coupling. The current controller controls the delivery of active power by managing the current output of the DG unit. To meet power demands, it adjusts the phase and amplitude of the system to help minimize harmonic distortion and enhance the power quality of the system. It also helps the system handle potential faults, including over-current, and ensures reliable operation of the DG. The state equations of the voltage controller include the dq components of the filter inductor reference current, reference output voltage, feed-forward gain, filter capacitance, and parameters of the PI voltage controller.
i * I n d   = F i * o p d ω n C f l v o p q + K p v   ( v * o p d   v o p d   ) + K i v   ( v * o p d   v o p d   ) d t
i * I n q   = F i * o p q ω n C f l v o p d + K p v   ( v * o p q   v o p q   ) + K i v   ( v * o p q   v o p q   ) d t  
The present controller’s state equations utilize the reference inverter voltage, inductor reference current, filter inductance, and parameters of the PI current controller.
v * I v d   = ω n L f l i I n q + K p c   ( i * I n d   I I n d   ) + K i c   ( i * I n d   i I n d   ) d t
v * I v q   = ω n L f l i I n d + K p c   ( i * I n q   I I n q   ) + K i c   ( i * I n q   i I n q   ) d t  

2.1.4. Coupling Inductor and LC Filter

The state equations for the coupling inductance and LC filter encompass the filter resistance and inverter current of the dq components.
d i l d i d t = 1 L f l i ( V i d i v 0 d i ) 1 L f i r f i i l d i + ω i l q i  
d i l q i d t = 1 L f l i ( V i q i v 0 q i ) 1 L f l i r f 1 i l q i ω i l d i
d V o d i d t = 1 C f l ( i l d i i o d i ) + ω V o q i  
d V o q i d t = 1 C f l ( i l q i i o q i ) ω V o d i  
d i o d i d t = 1 L c i ( V o d i v b d i ) 1 L c i r c i i o d i + ω i o q i  
d i o q i d t = 1 L c i ( V o q i v b q i ) 1 L c i r c i i o q i + ω i o q d i  
The state-space equations for line currents, load voltages, and load currents are expressed in the common reference frame (DQ), incorporating the DQ components of line and load currents, inductance, resistance, load voltage, and output current.
d i l i n e d i d t = 1 L l i n e i ( V b d i V b d i ) 1 L l i n e i r l i n e i i l i n e d i + ω i l i n e q i  
d i l i n e q i d t = 1 L l i n e i ( V b q i V b q i ) 1 L l i n e i r l i n e i i l i n e q i ω i l i n e d i  
d i l o a d d i d t = 1 L l o a d i V b d i 1 L l o a d i r l o a d i i l o a d d i + ω i l o a d q i  
d i l o a d q i d t = 1 L l o a d i V b q i 1 L l o a d i r l o a d i i l o a d q i ω i l o a d d i  
d V b d i d t = 1 C f l ( i o d i i l i n e d i i l o a d d i ) + ω V b q i  
d V b q i d t = 1 C f l ( i o q i i l i n e q i i l o a d q i ) ω V o d i

2.1.5. Active Load Model

Figure 1 illustrates an active load system comprising a switching bridge, a DC load, an LCL filter, an AC current controller, and a DC voltage controller. Like other inverter-based distributed generators in the autonomous microgrid, the active load functions inside its dq reference frame. A synchronization unit is implemented to guarantee accurate synchronization with the microgrid. This equipment determines the phase angle of the microgrid voltage and supplies the frequency and amplitude of the fundamental component to the converter. The voltage and current controller of the active load are illustrated in Figure 4. The active load and the implemented equations are detailed in [8].

2.1.6. System Parameters

The system parameters are presented in Table 1 and are adopted from [2].

2.2. Objective Function

To enhance the transient performance of the microgrid, the parameters of power sharing mp and nq, as well as the controller parameters K = [Kpv, Kiv, Kpc, Kic, KpvAL, KivAL, KpcAL, KicAL] T constrained as Kmin < K ≤ Kmax, require adjustment. The objective function in this study combines the squared differences between the measured and reference power, as well as the DC bus voltage, throughout the entire simulation period. This approach aims to quantify how much the system’s performance deviates from its intended symmetric or balanced operation. The function ensures that contributions from both parameters are balanced by normalizing the deviations or asymmetry in power and voltage before their summation. Therefore, incorporating a time-dependent weighting factor serves to penalize prolonged deviations while simultaneously encouraging quicker convergence towards optimal values. This formulation successfully reduces both transient and steady-state errors while also enhancing stability and efficiency in microgrid operations. The ideal configurations for power sharing and controller gains are determined via time domain simulation. In the formulation of the design problem, the objective function J is suggested as follows:
J = t = 0 t = t s i m   [ ( P m e a s u r e d P r e f ) 2 + ( v D C * v D C ) 2 ] t d t  
Pref and V*dc in Equation (22) denote the measured active power and DC reference voltage of the active load, respectively, and t is provided to ensure the minimum settling time. To align with the original work, the baseline reference [2] was used to determine the objective function J, which includes a linear time-weighting factor. Alternative weighting forms were not investigated in this study but are planned for future research. The voltage ripple and settling time are performance assessment measurements rather than objective function optimization targets.

3. Methodology

In this research, six different algorithms have been utilized to enhance the performance of isolated microgrids with active load. This study included PSO, four variants of APSO, and the DF algorithm. The parameters of the PI controller for the isolated microgrid and active load were optimized to minimize the objective function. To achieve robust optimization, a set of 100 particles was generated, and 50 iterations of each algorithm were conducted, resulting in optimal outcomes based on the minimization of the objective function without altering the system configuration. The PI controller parameters (Kpv, Kiv, Kpc, Kic) were chosen as optimization variables since they constitute the backbone of the microgrid’s control architecture. The voltage controller determines the reference current for the current controller, which governs the inverter’s output power. Improper tuning of these parameters leads to delayed transient response or oscillatory behavior. Therefore, limiting the combined power and voltage error guarantees effective tuning, which immediately translates into increased settling time and decreased voltage ripple, the primary performance indicators of system stability. When any parameter surpassed its specified limitations, a correction technique was used to trim the value to the nearest boundary either by Kmin or Kmax as shown in Table 2. These limitations were used consistently to all algorithms to guarantee a fair and stable optimization process.

3.1. Metaheuristic Algorithms

Metaheuristic algorithms are applied to the system to optimize the controlling parameters kp and ki. The following are the metaheuristic algorithms used in this study.

3.1.1. Particle Swarm Optimization Algorithm

Kennedy and Eberhart introduced PSO in 1995. PSO is a stochastic optimization algorithm that is based on the social behavior of birds and fish. PSO is commonly used to address complicated engineering, computer science, and economics problems. This algorithm is based on the concept of swarm intelligence, in which a population of swarms, also known as particles, moves through the entire search space and is directed by their own experience with the local and global best outcomes during the search [7].
In [20], the acceleration constants alpha and beta influence the performance of PSO, through which stochastic effects of social and cognitive behavior are controlled by multiplying each constant with a random number. Based on past data, these constants adjust the velocity update equation, allowing the particles to traverse the search space more efficiently.
The velocity update equation for PSO is as follows:
v i t + 1 = w v i t + c 1 r 1 (   pbest   i x i t ) + c 2 r 2 (   gbest   x i t )  
The position update equation for PSO is as follows:
x i t + 1 = x i t + v i t + 1
In the standard PSO method, the parameters alpha and beta are predetermined. Alpha is often established between 0.1 and 0.4, and beta varies from 0.2 to 0.5.

3.1.2. Accelerated Particle Swarm Optimization with Variable α Algorithm

In [21], a variant of canonical PSO is introduced, known as the Accelerated Particle Swarm Optimization algorithm (APSO). Unlike the canonical PSO algorithm, which uses two different equations to update the velocity and position of particles, APSO uses a single update equation that updates the position of particles.
x i t + 1 = ( 1 β ) x i t + β g + α ϵ
The above equation combines both the current position of the particle with the global best position and a random component to update the position of the particle. The exploitation factor β influences the global best position, while the random component of the particle’s movement is influenced by the α exploration factor. A key improvement in canonical APSO, as described in [21], is to vary α linearly from 0.7 to 0.2. This helps the particles to thoroughly explore the search space, while β is taken as a constant in the APSO α variant during implementation on the test case.
α ( t ) = α m a x ( α m a x α m i n t m a x ) t

3.1.3. Accelerated Particle Swarm Optimization with Normal Distribution Algorithm

In [22], the normal distribution, or Gaussian distribution, is defined as a probability distribution that is symmetrical around its mean and resembles a bell curve. To enhance the performance of the APSO algorithm, the random particle generation technique is replaced by a normal distribution (APSO_G). This change produces particles centered on a mean value, with particles spread around this focal point, hence enhancing the diversity of search space exploration. The absence of a pattern in random particle generation requires the use of a normal distribution to investigate various locations and prevent early convergence to local optima.
i = 1 n   X i N ( i = 1 n   μ i , i = 1 n   σ i 2 )  
P ( a < X < b ) = P ( a μ σ < Z < b μ σ ) = Φ ( b μ σ ) Φ ( a μ σ )

3.1.4. Rayleigh Distribution Accelerated Particle Swarm Optimization Algorithm

In [23], a new approach is introduced that greatly enhances the exploration and exploitation capabilities of PSO. A similar approach is used to improve the performance of the APSO algorithm, which allows it to initialize particles more widely in the search space as compared to the normal distribution. This enhanced particle generation reduces the possibility of premature convergence and increases the diversity of particle generation. Incorporating this into APSO significantly improves the exploration capability of the APSO algorithm (RDAPSO), allowing it to cover a broader search area.
f ( x ; σ ) = x σ 2 e x 2 ( 2 σ 2 ) , x 0

3.1.5. Rayleigh Distribution Accelerated Particle Swarm Optimization with Variable α Algorithm

Building on the Rayleigh Distribution approach is shown in Figure 5. Another scheme is also used in which the value of alpha is linearly decreased from 0.7 to 0.2 while using Rayleigh Distribution Accelerated Particle Swarm Optimization (RDAPSO α). The exploration of particles is greatly influenced, as the coverage of particles is significantly increased, and the particles do not prematurely converge.
α ( t ) = α m a x ( α m a x α m i n t m a x ) t

3.1.6. Dragonfly Algorithm

This research employs the Dragonfly Algorithm, derived from the natural behavior of dragonflies, in addition to the APSO algorithm variants. In [24], the Dragonfly Algorithm was used to optimize the converter and reduce its THD value. This work aimed to optimize the PI controller of the microgrid. This algorithm emulates the dynamic and static nature of dragonflies. Hunting and mitigation are the primary behaviors, which are guided by five factors: separation, alignment, cohesion, attraction, and distraction. The Dragonfly Algorithm has demonstrated efficacy in resolving intricate optimization issues because of its capacity to equilibrate exploration and exploitation.
S i = j = 1 , j i N   ( X i X j )  
A i = 1 N j = 1 , j i N   V j  
C i = 1 N j = 1 , j i N   X j X i  
F i = X + X i  
E i = X i X  
Δ X i ( t + 1 ) = s S i + a A i + c C i + f F i + e E i   + w Δ X i ( t )  

3.2. Statistical Tests

Statistical tests are employed to demonstrate the statistical performance of different algorithms when applied to the same problem. The following tests were employed to demonstrate the performance of the algorithms.

3.2.1. Multivariate Analysis of Variance

In [25], MANOVA is presented as an extension of the traditional Analysis of Variance (ANOVA) that can handle multiple variable responses simultaneously. When several outcomes are measured across different groups in the same experiment, it is particularly useful to use MANOVA. MANOVA evaluates the statistical significance of changes in independent variables on a set of correlated dependent variables, whereas ANOVA focuses on a single dependent variable. This is why it is suitable for many experimental designs.
MANOVA tests the hypothesis by comparing two models: a separate mean for each treatment and a pooled mean across treatments. It can determine if variations found across many response variables are attributable to treatment effects or random variation. This powerful statistical tool is essential in fields necessitating concurrent examination of multiple variables, and it provides insights into complex relationships and combined effects of outcomes.

3.2.2. Mann–Whitney U Test

The Mann–Whitney U test is a non-parametric test used to compare two independent samples, as discussed in [26]. The Mann–Whitney U test does not require the assumption of normality, unlike the traditional parametric t-test, which makes it useful for analyzing original data. It assesses whether one sample has higher values than the other by evaluating whether the ranks of values in one group differ significantly from those in another group. This test is particularly useful for non-parametric assumptions, offering a strong alternative for evaluating hypotheses regarding medians or ordinal results. The Mann–Whitney U test is implemented to assess variations in the performance metrics among a variety of optimization algorithms. This method is more reliable and is also capable of identifying substantial effects, even when the data is not normally distributed.

3.2.3. Friedman Rank Test

Corder and Foreman [31] characterized the Friedman rank test as a non-parametric statistical method that compares multiple related groups. It is an alternative to the repeated measures ANOVA when the data do not conform to normality assumptions. The test ranks each row of data to ascertain whether the median ranks of treatment groups differ significantly. When the same subjects are assessed under distinct conditions, the Friedman Rank test is particularly advantageous, as it does not need a normal distribution of the data. The Friedman’s Rank test is a reliable analytical method for ordinal or non-normally distributed interval data.

3.2.4. Holm’s Test

Holm’s test is a sequentially rejective multiple-testing procedure intended to control the error rate during multiple comparisons [27]. It provides a more powerful approach without sacrificing error control. The initial step of this method is to align the p-values from smallest to largest. After that, the adjusted significance thresholds are compared to each p-value sequentially, beginning with the smallest. The process continues until the p-value fails to meet the threshold, and the remaining hypotheses are not rejected. In a variety of disciplines, Holm’s test is frequently employed to account for multiple comparisons, thereby reducing the probability of Type I errors and ensuring more rigorous control over false discoveries. It is a reliable option for studies that involve multiple statistical tests as it provides a greater degree of power than simpler methods such as the Bonferroni correction.

3.2.5. Nemenyi Test

The Nemenyi test is a non-parametric post hoc test that involves multiple pairwise comparisons [28]. It is intended to determine which specific groups exhibit significantly different ranks. Depending on the number of comparisons being made, this test evaluates whether the mean rank of two groups differs by more than a critical value. The Nemenyi test is a robust choice for comparing algorithms across multiple datasets when the assumptions of normality are violated. It offers a comprehensive review of performance disparities by mitigating Type I errors and guaranteeing dependable statistical conclusions when evaluating multiple methodologies.

3.2.6. Friedman Test

The Friedman test is a non-parametric statistical technique employed to compare various related groups [29]. It is an extension of the Wilcoxon signed-rank test, intended for scenarios in which the data violate the normality assumptions necessary for conventional ANOVA. The Friedman test ranks the data within each group and assesses whether the mean rankings exhibit significant differences. This makes it particularly useful for evaluating the effectiveness of various algorithms across multiple datasets. In particular, for assessing metaheuristic algorithms and detecting performance differences independent of normal distribution assumptions, the Friedman test provides a robust method. It is widely employed in research to determine if observed variations are statistically significant, making it a crucial tool in performance analysis and benchmarking.

3.2.7. Bonferroni Test

The Bonferroni test is a statistical correction method employed to manage the error rate during multiple-hypothesis testing [30]. It addresses the increased likelihood of Type I errors (false positives) that can occur during multiple comparisons. The Bonferroni correction lowers the threshold for statistical significance by dividing the significance level by the number of tests performed. This method is straightforward and widely utilized in various fields to ensure a low likelihood of erroneously rejecting a true null hypothesis.

4. Results

Optimization is the primary focus of all engineering problems. Identifying a global optimum among various local best solutions can be a laborious task; hence, various techniques are employed to determine the optimal global solution. A microgrid with an active load is simulated using MATLAB/Simulink (Version 2023a). In this model, the system’s settling time and voltage ripple are compared using several metaheuristic techniques. The convergence graph of the algorithms for voltage ripple is given in Figure 6, and settling time is given in Figure 7. The simulated outcomes are examined below.

4.1. Algorithm Results

In this section, the results of different metaheuristic algorithms are discussed. Figure 6 and Figure 7 show the convergence graph of the algorithms with respect to settling time and voltage ripple. Figure 8, Figure 9, Figure 10, Figure 11, Figure 12 and Figure 13 show the settling time and the damping response, with voltage in p.u on the y-axis and time in ms on the x-axis. Table 3 shows descriptive statistics (mean and standard deviation) for each dependent variable across six algorithms. The convergence graph of the algorithms is shown in Figure 6 and Figure 7.
Results in Figure 6 verify that RDAPSO α acquires minimum voltage ripple (approximately 0), confirming optimal efficiency to maintain low levels of fluctuations, and APSO_G shows the greatest ripple value, depicting poor stability. Novel algorithms like RDAPSO and RDAPSO α acquire very significant performance with respect to ordinary PSO, possibly due to adopting adaptive adjustment of parameters. The findings in Figure 7 indicate that RDAPSO α has the shortest settling time (nearest to 0.1), which indicates better efficiency, whereas RDAPSO has the longest settling time (closest to 0.50), indicating slower convergence. Modified PSO variants (such as APSO α and RDAPSO α) perform better than regular PSO, possibly because of adaptive mechanisms. The findings indicate trade-offs between algorithmic complexity and convergence rate, with real-time applications demanding quick stability. Optimized PI gains are presented for three independent control loops, i.e., voltage regulation, current tracking, and active load balancing, due to their distinct dynamic roles within the symmetric microgrid system.

4.1.1. Analysis of the Results of Particle Swarm Optimization

The performance of PSO is evaluated over a fixed number of iterations with the same particle count. The optimal result is displayed in Figure 8.
Table 4 presents the optimal values of kp and ki for the minimum cost function. The voltage ripple is high compared to other methods; however, this results in an increased settling time. The voltage overshoot is the highest among all the methods evaluated.
The settling time for the PSO algorithm in Figure 8 is 184.2 ms and the voltage ripple is 4 V.

4.1.2. Analysis of the Results of Accelerated Particle Swarm Optimization with Variable α

The performance of APSO α is evaluated over a fixed number of iterations with the same particle count. The optimal result is displayed in Figure 9.
The values of kp and ki are shown in Table 5 for the least cost function. Settling time and voltage ripples are greater compared to other techniques. The voltage overshoot is greater, which makes it unstable in the beginning.
The settling time for the APSO α algorithm in Figure 9 is 208.5 ms, and the voltage ripple is 4.35 V.

4.1.3. Analysis of the Results of Accelerated Particle Swarm Optimization with Normal Distribution

The performance of the APSO_G algorithm is evaluated over a fixed number of iterations with the same particle count. The optimal result is displayed in Figure 10.
In Table 6, the optimized values of kp and ki are shown for the least cost function. Settling time is higher, and the voltage ripple is the highest among the different techniques applied. The voltage overshoot is also the highest among all the different techniques.
The settling time for the APSO_G algorithm in Figure 10 is 185.1 ms, and the voltage ripple is 7.7 V. The voltage ripple in APSO_G is the worst among all algorithms.

4.1.4. Analysis of the Results of Rayleigh Distribution Accelerated Particle Swarm Optimization

The performance of RDAPSO is evaluated over a fixed number of iterations with the same particle count. The optimal result is displayed in Figure 11.
The optimized values of kp and ki for the least cost function are presented in Table 7. The settling time is increased; however, the voltage ripple is less when compared to the various techniques implemented. The voltage overshoot is high when compared to all other techniques.
The settling time for the RDAPSO algorithm in Figure 11 is 307.0 ms, and the voltage ripple is 0.58 V. The settling time of the RDAPSO algorithm is the worst among all other algorithms.

4.1.5. Analysis of the Results of Rayleigh Distribution Accelerated Particle Swarm Optimization with Variable α

The performance of RDAPSO α is evaluated over a fixed number of iterations with the same particle count. The optimal result is displayed in Figure 12.
Table 8 shows the kp and ki values of the least cost function. The settling time and voltage ripple are lower, rendering it the ideal choice among these techniques. Furthermore, voltage overshoot is low, which improves the stability of the system.
The settling time for the RDAPSO α algorithm in Figure 12 is 98.9 ms, and the voltage ripple is 0.47 V. The settling time and voltage ripple values are the best among all other algorithms. In this configuration, the proportional current gain is intentionally minimized since the dynamic response of the current loop is efficiently supported by the combination of the voltage controller gains Kpv and the current integral gain Kiv, Kic. This coordinated tuning provides the needed transient performance while maintaining system stability. An analysis of the equivalent transfer function confirmed that the resulting control settings had appropriate gain and phase margins, indicating that the optimized configuration guarantees both stability and resilience in the closed-loop system.

4.1.6. Analysis of the Results of Dragonfly

The performance of DF is evaluated over a fixed number of iterations with the same particle count. The optimal result is displayed in Figure 13.
Table 9 presents the values of kp and ki for the least cost function. The settling time and voltage ripples are higher in comparison to RDAPSO α. The initial voltage overshoot is low, resulting in stability at the beginning.
The settling time for the DF algorithm in Figure 13 is 182.0 ms, and the voltage ripple is 1.15 V.
Compared to other metaheuristic algorithms, the suggested RDAPSO α algorithm outperforms them all. RDAPSO α has the lowest voltage ripple and settling time among the tested algorithms, which indicates a reliable and responsive system. This improvement is largely due to its improved exploration and exploitation balance, which prevents premature convergence and allows an effective search for the global optimum. Conventional PSO and other variants, on the other hand, demonstrate slower convergence and more oscillatory behavior. The suggested RDAPSO α algorithm improves microgrid stability and performance by optimizing controller settings under different load scenarios. In this work, the reference performance values were adopted from [2], which reports results in a similar system configuration: settling time of 200 ms and voltage ripple of 2 V. For consistency in methodology, the system was re-simulated in the present environment using identical parameters and the same PSO algorithm, which resulted in 184.2 ms settling time and 4 V voltage ripple. Thus, all further improvement percentages reported in this work are computed with respect to these re-simulated values as the baseline (184.2 ms, 4 V), ensuring a fair comparison and coherence among all algorithmic evaluations.

4.2. Statistical Test Results

Statistical tests are employed to demonstrate the statistical performance of different algorithms when applied to the same problem.
Results for different statistical tests are shown in Table 10, Table 11, Table 12, Table 13, Table 14, Table 15, Table 16, Table 17, Table 18, Table 19, Table 20, Table 21, Table 22, Table 23, Table 24, Table 25, Table 26, Table 27, Table 28, Table 29, Table 30, Table 31, Table 32, Table 33, Table 34, Table 35, Table 36, Table 37, Table 38, Table 39, Table 40, Table 41, Table 42, Table 43 and Table 44 (i.e., Multivariate Analysis MANOVA, the Mann–Whitney U test, the Nemenyi test, the Holm’s Step-Down test (Wilcoxon Signed-Rank test), the Friedman test, the Friedman Aligned Ranks test, and the Bonferroni–Dunn test). In these tests, the variables are settling time and voltage ripple. The number of particles for all algorithms was taken as 50. This statistical test was performed in SPSS software (Version 27). Each algorithm was run 50 times, and Table 3 represents the best results for each algorithm.

4.2.1. Multivariate Analysis of Variance (MANOVA)

The multivariate analysis covers the analysis of the combined significant effects of the dependent variables, specifically settling time and voltage ripple. Voltage ripple and settling time for these algorithms are compared using MANOVA in Table 10.
The group statistics of MANOVA are presented in Table 10, which represents the significant effect of these algorithms on the dependent variables (i.e., settling time and voltage ripple). The multivariate test statistics exhibited high significance across all tests. Pillai’s Trace, Wilks’ Lambda, Hotelling’s Trace, and Roy’s Largest Root all demonstrated a significant difference between the algorithms.
The statistics of the between-subject effects are presented in Table 11. This test was conducted to assess the impact on each dependent variable individually. The primary sources of variance are outlined in Table 11. The results indicate a significant variance in voltage ripple of 34% and a settling time variance of 66%. The results indicate the presence of a strong and significant baseline voltage ripple. The results indicated that the selection of the algorithm significantly influenced variations in voltage ripple and the determination of settling time.
Multivariate analysis results as described in Table 10, verify that algorithm selection significantly influenced the aggregate dependent variables (Pillai’s Trace = 1.012, F = 60.202, p < 0.001; Wilks’ Lambda = 0.189, F = 76.092, p < 0.001). Follow-up between-subjects tests Table 11 reveal algorithms explained 34.0% of voltage ripple variation (F = 30.23, p < 0.001) and 66.1% of settling time variation (F = 114.52, p < 0.001), suggesting much larger influence on convergence rate than on output stability. The very large intercept effects (F > 345 for each measure) imply strong baseline differences in performance across all conditions.

4.2.2. Mann–Whitney U Test Result

The Mann–Whitney U test was utilized for non-parametric analysis of settling time and voltage ripple. Table 12, Table 13, Table 14, Table 15, Table 16, Table 17, Table 18, Table 19, Table 20 and Table 21 indicate that the mean rank for voltage ripple of RDAPSO α is lower than the mean ranks of APSO_G, RDAPSO, APSO α, DF, and PSO. The significance value (two-tailed) is 0.000, indicating that it is less than 0.05, which demonstrates that the null hypothesis was rejected, and the performance of these algorithms is significantly unique. Table 22, Table 23, Table 24, Table 25, Table 26, Table 27, Table 28, Table 29, Table 30 and Table 31 indicates that the mean rank for settling time is lower than that of APSO_G, RDAPSO, APSO α, DF, and PSO. The significance value (two-tailed) is 0.000 (i.e., <0.05), indicating that the null hypothesis is rejected, and the performance of these algorithms is significantly unique.
Statistically significant differences were shown by the Mann–Whitney U tests (p < 0.001) for both settling time and voltage ripple between RDAPSO α and all other algorithms tested. With regard to settling time, RDAPSO α consistently performed best by having a significantly lower mean rank. Similarly, for voltage ripple, RDAPSO α outperformed all algorithms, the only exception was RDAPSO, where RDAPSO α had better voltage ripple performance (U = 533.500, Z = −4.960, p < 0.001). The consistently large negative Z-values and U-values near zero confirm RDAPSO α’s superiority, particularly in the optimization of settling time, showing its robustness for applications where both fast convergence and stable voltage output are required.

4.2.3. Friedman Rank Test Result

The Friedman Rank test was conducted to further validate the results. A comparison was made among six algorithms that involved settling time and voltage ripple. Table 32 presents a statistically significant outcome, indicated by a chi-squared value of 167.9 with 5 degrees of freedom and a p-value of less than 2.2 × 10−16. This result indicates that there is a significant difference in performance among these algorithms concerning both settling time and voltage ripple.

4.2.4. Holm’s Test Result

Table 33 presents the result of Holm’s test in terms of settling time. The comparison shows that RDAPSO consistently shows higher results among all the algorithms, while RDAPSO α consistently performs better the others. The p-value is <0.05, which means there was a significant difference, and the null hypothesis was rejected.
Table 34 represents Holm’s test results showing a statistically significant difference between the six algorithms. RDAPSO α shows a significantly lower voltage ripple value among other algorithms, while APSO_G consistently exhibits the highest voltage ripple among the algorithms. The p-value is less than 0.05, indicating a significant difference and leading to rejection of the null hypothesis.
The results show that, in all comparisons, APSO_G and APSO α are not significantly different from one another (p = 0.471), but both are significantly worse than RDAPSO α. The intermediate performers (RDAPSO and DF) constituted a separate group, performing worse than PSO but better than RDAPSO α. The uniform ranking for both measures indicates that RDAPSO α is specifically good at optimizing both convergence speed and output stability, making it the best algorithm under test.

4.2.5. Nemenyi Test Result

Table 35 and Table 36 present the results of the Nemenyi test for settling time. The tables indicate a significant difference between RDAPSO and RDAPSO α, with a q-value of 16.857 and a p-value less than 2.2 × 10−16. Additionally, a notable difference is observed between DF and RDAPSO, with a q-value of 10.583 and a p-value of 0.00013, which means that the null hypothesis was rejected as there was a significant difference between the two algorithms for both settling time and voltage ripple.
Table 37 and Table 38 present the results of the voltage ripple analysis. The tables present a notable difference between APSO α and RDAPSO α, indicated by q = 14.892 and p < 6.5e−14. Additionally, a difference is observed between DF and RDAPSO, with q = 6.766 and p = 0.00013.
For settling time, the order is unambiguous: RDAPSO α ≫ (RDAPSO ≈ DF) > (APSO_G ≈ APSO α) > PSO, with no significant difference between APSO_G and APSO α (p = 1.000). For voltage ripple, RDAPSO α performed better than all others (p < 6.5 × 10−14), while APSO_G and APSO α constituted an equivalent group (p = 1.000). Algorithms such as DF and RDAPSO demonstrated context-dependent performance, with DF significantly better than PSO in voltage ripple (p = 0.0486). These findings strongly validate RDAPSO α as the best-performing algorithm for both convergence rate and output stability.

4.2.6. Friedman Test Result

Table 39 represents the Friedman test for settling time. The results show that the mean rank of RDAPSO α is 1.05, which means that it performed the best among the six algorithms, while RDAPSO performed the worst with a mean rank of 5.51. Table 40 shows a chi-squared value 167.897 and a p-value < 0.05, so the null hypothesis can be rejected, indicating a significant difference between these algorithms.
The Friedman test for voltage ripple is shown in Table 41. According to the results, RDAPSO α outperformed the other six algorithms with a mean rank of 1.21, while APSO_G had the lowest mean rank of 5.15. Since there is a substantial difference between these algorithms, we can reject the null hypothesis, as indicated by Table 42, chi-squared value of 171.048 and a p-value of less than 0.05, which indicates a significant difference and leads to the rejection of the null hypothesis.

4.2.7. Bonferroni Rank Test Result

Table 43 indicates the results of the Bonferroni test for settling time. There is a significant difference between different algorithms. The results show that there is a significant difference between the performance of RDAPSO α and RDAPSO, with a value of p < 2 × 10−16. There is also a significant difference between the result of RDAPSO α and APSO α as p < 4.4 × 10−12. The results show that RDAPSO α outperforms the other algorithms significantly, leading to rejection of the null hypothesis as there was a significant difference.
The Benforroni test results for voltage ripple are shown in Table 44. The algorithms differ significantly from one another. With a value of p < 2 × 10−16, the results demonstrate a substantial difference between the performance of RDAPSO α and both APSO α and APSO_G. A significant difference (p = 0.00938) also exists between the RDAPSO α and RDAPSO results. The results demonstrate that RDAPSO α performs noticeably better than the other algorithms. Due to the presence of a significant difference, the null hypothesis was rejected.
The effect of the DC capacitance has a major effect on the active operation of the active load, and it helps to reduce DC overvoltage. The performance of different algorithms under the same capacitance value greatly affects the voltage overshoot and settling time.

5. Conclusions

This study evaluated the efficiency of several metaheuristic algorithms in optimizing the control of an autonomous microgrid with active load integration. This study sought to enhance the microgrid’s dynamic stability and overall performance through the application of several advanced variants of the PSO and Dragonfly algorithms. The study focuses on tuning the PID controllers to reach peak performance while preserving the system’s structure.
The results showed significant differences in the effectiveness of the tested algorithms, with the canonical PSO algorithm showing satisfactory results. The RDAPSO α variant of the APSO algorithm proved to be the most effective in optimizing microgrid control, achieving a well-balanced trade-off between exploration and exploitation, preventing premature convergence, and ensuring consistent system stability. RDAPSO α exhibited strong performance across all evaluated metrics, representing an optimal balance or symmetry among computational complexity, convergence rate, and energy efficiency. The algorithm’s capability to adjust dynamic parameters, maintain high levels of exploration, reduce settling time, and minimize voltage ripple positions is highly effective for optimization tasks within a microgrid. In addition to other algorithms utilized, including APSO_G and RDAPSO, it is noteworthy that despite some advancements, they fell short of achieving the level of consistency and robustness demonstrated by RDAPSO α. The DF algorithm, while beneficial in certain contexts, faced limitations due to increased computational demands and a slower rate of convergence. The findings confirm that the RDAPSO α algorithm delivers the most consistent and reliable optimization results, significantly enhancing both the stability and performance of the microgrid system. The optimized RDAPSO α algorithm demonstrated a notable decrease in voltage ripple, decreasing from 4 V to 0.47 V, representing an 88.25% reduction. Additionally, it exhibited a 46.32% enhancement in settling time, decreasing from 184.2 ms to 98.9 ms in comparison to PSO. To ensure that the performance of these algorithms is reliable, rigorous statistical analysis was performed. Multivariate Analysis of Variance (MANOVA), the Mann–Whitney U test, the Friedman test, the Nemenyi test, and the Bonferroni test all verified that the results were statistically significant, rejecting the null hypothesis and establishing that RDAPSO α’s performance improvement was not because of random fluctuations. The statistical tests illustrated that the improvements realized in RDAPSO α were significant and credible, affirming its effectiveness in microgrid optimization. Statistical analysis confirmed the significant influence of the algorithm choice on the system’s settling time and voltage ripple. Future work could explore other metaheuristic algorithms and refine the optimization process to continue improving microgrid performance and reliability.
Different statistical tests have been implemented that have been set as benchmark tests in CEC 2017, 2019, and 2022. These tests include the use of MANOVA, the Mann–Whitney U test, the Friedman test, and the Bonferroni test. The results of these statistical tests have further endorsed the results that RDAPSO α performed better than all other algorithms used in this study.
To enhance the study, various faults can be generated on the DG and load to analyze the transient response of different algorithms and compare how effective they are under fault conditions.

Author Contributions

M.S.F. conceived the idea, H.A.K. and M.S.F. conducted the simulations and experiment(s), H.A.K., S.A.R.K., M.S.F., A.A. and A.R. analyzed the results, M.S.F., S.A.R.K., A.A. and A.R. validated the results, and H.A.K. prepared the figures and tables. All authors have read and agreed to the published version of the manuscript.

Funding

This research received no external funding.

Data Availability Statement

The original contributions presented in this study are included in the article. Further inquiries can be directed to the corresponding authors.

Conflicts of Interest

The authors declare that they have no conflicts of interest.

Nomenclature

V o p d , V o p q dq components of inverter output voltage V o
i o p d , i o p q   dq components of inverter output current i o
P m e a s u r e d Instantaneous active power
Q m e a s u r e d Instantaneous reactive power
P c , Q c Average active and reactive power
m p , n q Droop controller gain
θ Phase reference
ωNominal frequency
ω c Low-pass filters cut-off frequency
ω n Distributed generator nominal angular frequency
V n   Distributed generator voltage nominal magnitude
FFeed-forward gain of voltage controller
v * o p d ,   v * o p q   Reference output voltage dq components
i * I n d ,   i * I n q   Inductor reference current dq components
v * I v d   ,   v * I v q   Reference inverter voltage dq components
i I n d   , i I n d   Coupling inductor current dq components
v I v d   ,   v I v q   Inverter voltage dq components
C f l , L f l , r f l LC filter capacitance, inductance, and resistance
L c i , r c i Coupling inductor, inductance, and resistance
C A L D C , R A L D C Capacitance and resistance of the dc load of the active load
i l i n e d q i dq components of the line
i l o a d d q i dq components of the load
v d c , i d c DC voltage and current of the active load
v * d c Active load DC reference voltage
i c o n v Active load DC side current
v I v A L d   ,   v I v A L q   Active load output voltage dq components
i I n A L d   ,   i I n A L q   dq components of the input current to the bridge
i O p A L d   ,   i O p A L q   Active load output current dq components
k p v   ,   k i v   Distributed generator inverter PI voltage controller parameters
k p c   ,   k i c   Distributed generator inverter PI current controller parameters
k p v A L   ,   k i v A L   Active load PI controller parameters of the DC voltage
k p c A L   ,   k i c A L   Active load PI controller parameters of the AC current
PSOParticle swarm optimization
APSO αAccelerated particle swarm optimization with α variable
RDAPSO Rayleigh distribution accelerated particle swarm optimization
RDAPSO αRayleigh distribution accelerated particle swarm optimization with variable α
APSO_GAccelerated particle swarm optimization with normal distribution
DFDragonfly algorithm

References

  1. Colmenar-Santos, A.; Reino-Rio, C.; Borge-Diez, D.; Collado-Fernández, E. Distributed generation: A review of factors that can contribute most to achieve a scenario of DG units embedded in the new distribution networks. Renew. Sustain. Energy Rev. 2016, 59, 1130–1148. [Google Scholar] [CrossRef]
  2. Hassan, M.A. Dynamic Stability of an Autonomous Microgrid Considering Active Load Impact with a New Dedicated Synchronization Scheme. IEEE Trans. Power Syst. 2018, 33, 4994–5005. [Google Scholar] [CrossRef]
  3. Tran, T.V.; Chun, T.W.; Lee, H.H.; Kim, H.G.; Nho, E.C. PLL-based seamless transfer control between grid-connected and islanding modes in grid-connected inverters. IEEE Trans. Power Electron. 2014, 29, 5218–5228. [Google Scholar] [CrossRef]
  4. Moussa, H.; Shahin, A.; Martin, J.P.; Pierfederici, S.; Moubayed, N. Optimal angle droop for power sharing enhancement with stability improvement in islanded microgrids. IEEE Trans. Smart Grid 2018, 9, 5014–5026. [Google Scholar] [CrossRef]
  5. Hassan, M.A.; Worku, M.Y.; Abido, M.A. Optimal Design and Real Time Implementation of Autonomous Microgrid Including Active Load. Energies 2018, 11, 1109. [Google Scholar] [CrossRef]
  6. Soliman, H.M.; Bayoumi, E.; Al-Hinai, A.; Soliman, M. Robust decentralized tracking voltage control for islanded microgrids by invariant ellipsoids. Energies 2020, 13, 5756. [Google Scholar] [CrossRef]
  7. Eberhart, R.; Kennedy, J. New Optimizer Using Particle Swarm Theory. In Proceedings of the Sixth International Symposium on Micro Machine and Human Science, Nagoya, Japan, 4–6 October 1995; pp. 39–43. [Google Scholar] [CrossRef]
  8. Hassan, M.A.; Abido, M.A. Optimal design of microgrids in autonomous and grid-connected modes using particle swarm optimization. IEEE Trans. Power Electron. 2011, 26, 755–769. [Google Scholar] [CrossRef]
  9. Liu, X.; Zhou, Y.; Zhang, W.; Ma, S. Stability criteria for constant power loads with multistage LC filters. IEEE Trans. Veh. Technol. 2011, 60, 2042–2049. [Google Scholar] [CrossRef]
  10. Chen, J.; Chen, J. Stability Analysis and Parameters Optimization of Islanded Microgrid with Both Ideal and Dynamic Constant Power Loads. IEEE Trans. Ind. Electron. 2018, 65, 3263–3274. [Google Scholar] [CrossRef]
  11. Emadi, A.; Khaligh, A.; Rivetta, C.H.; Williamson, G.A. Constant power loads and negative impedance instability in automotive systems: Definition, modeling, stability, and control of power electronic converters and motor drives. IEEE Trans. Veh. Technol. 2006, 55, 1112–1125. [Google Scholar] [CrossRef]
  12. Mahmoudi, A.; Hosseinian, S.H.; Kosari, M.; Zarabadipour, H. A new linear model for active loads in islanded inverter-based microgrids. Int. J. Electr. Power Energy Syst. 2016, 81, 104–113. [Google Scholar] [CrossRef]
  13. Magne, P.; Nahid-Mobarakeh, B.; Pierfederici, S. Dynamic Consideration of DC Microgrids With Constant Power Loads and Active Damping System—A Design Method for Fault-Tolerant Stabilizing System. IEEE J. Emerg. Sel. Top. Power Electron. 2014, 2, 562–570. [Google Scholar] [CrossRef]
  14. Bottrell, N.; Prodanovic, M.; Green, T.C. Dynamic stability of a microgrid with an active load. IEEE Trans. Power Electron. 2013, 28, 5107–5119. [Google Scholar] [CrossRef]
  15. Luna, A.; Rocabert, J.; Candela, J.I.; Hermoso, J.R.; Teodorescu, R.; Blaabjerg, F.; Rodriguez, P. Grid Voltage Synchronization for Distributed Generation Systems Under Grid Fault Conditions. IEEE Trans. Ind. Appl. 2015, 51, 3414–3425. [Google Scholar] [CrossRef]
  16. Dong, D.; Wen, B.; Boroyevich, D.; Mattavelli, P.; Xue, Y. Analysis of phase-locked loop low-frequency stability in three-phase grid-connected power converters considering impedance interactions. IEEE Trans. Ind. Electron. 2015, 62, 310–321. [Google Scholar] [CrossRef]
  17. Dai, H.P.; Chen, D.D.; Zheng, Z.S. Effects of random values for particle swarm optimization algorithm. Algorithms 2018, 11, 23. [Google Scholar] [CrossRef]
  18. Safder, M.U.; Sanjari, M.J.; Hamza, A.; Garmabdari, R.; Hossain, M.A.; Lu, J. Enhancing Microgrid Stability and Energy Management: Techniques, Challenges, and Future Directions. Energies 2023, 16, 6417. [Google Scholar] [CrossRef]
  19. Hadi HAwaji, H.; Alhussainy, A.A.; Alobaidi, A.H.; Alghamdi, S.; Alghamdi, S.; Alruwaili, M. Real-time energy management simulation for enhanced integration of renewable energy resources in DC microgrids. Front. Energy Res. 2024, 12, 1458115. [Google Scholar] [CrossRef]
  20. Kakandikar, G.M.; Nandedkar, V.M. Engineering Optimization. In Sheet Metal Forming Optimization; CRC Press: Boca Raton, FL, USA, 2018. [Google Scholar] [CrossRef]
  21. Fakhar, M.S.; Kashif, S.A.R.; Liaquat, S.; Rasool, A.; Padmanaban, S.; Iqbal, M.A.; Baig, M.A.; Khan, B. Implementation of APSO and Improved APSO on Non-Cascaded and Cascaded Short Term Hydrothermal Scheduling. IEEE Access 2021, 9, 77784–77797. [Google Scholar] [CrossRef]
  22. Wasserman, H. Preface. Tetrahedron 1993, 49, 17. [Google Scholar] [CrossRef]
  23. Kumari, P.; Kumar, N.; Panigrahi, B.K. Rayleigh Distribution-Based Novel and Efficient MPPT Algorithm for Rooftop PV System with Competence to Distinguish Different Dynamics. IEEE Trans. Consum. Electron. 2024, 70, 58–67. [Google Scholar] [CrossRef]
  24. Tariq, M.A.; Shami, U.T.; Fakhar, M.S.; Kashif, S.A.R.; Abbas, G.; Ullah, N.; Mohammad, A.; Farrag, M.E. Dragonfly Algorithm-Based Optimization for Selective Harmonics Elimination in Cascaded H-Bridge Multilevel Inverters with Statistical Comparison. Energies 2022, 15, 6826. [Google Scholar] [CrossRef]
  25. Zerzucha, P.; Boguszewska, D.; Zagdańska, B.; Walczak, B. Non-parametric multivariate analysis of variance in the proteomic response of potato to drought stress. Anal. Chim. Acta 2012, 719, 1–7. [Google Scholar] [CrossRef] [PubMed]
  26. Sheskin, D.J. The Mann–Whitney U Test. In Handbook of Parametric and Nonparametric Statistical Procedures; Chapman and Hall: London, UK, 2020; pp. 531–594. [Google Scholar] [CrossRef]
  27. Holm, S. A simple sequentially rejective multiple test procedure. Scand. J. Stat. 1979, 6, 65–70. [Google Scholar]
  28. Demšar, J. Statistical comparisons of classifiers over multiple data sets. J. Mach. Learn. Res. 2006, 7, 1–30. [Google Scholar]
  29. Ma, Z.; Wu, G.; Suganthan, P.N.; Song, A.; Luo, Q. Performance assessment and exhaustive listing of 500+ nature-inspired metaheuristic algorithms. Swarm E Comput. 2023, 77, 101248. [Google Scholar] [CrossRef]
  30. Sedgwick, P. Multiple significance tests: The Bonferroni correction. BMJ 2012, 344, e509. [Google Scholar] [CrossRef]
  31. Corder, G.W.; Foreman, D.I. Nonparametric Statistics A Step-by-Step Approach, 2nd ed.; Wiley: Hoboken, NJ, USA, 2015. [Google Scholar]
Figure 1. Autonomous microgrid including active load.
Figure 1. Autonomous microgrid including active load.
Symmetry 18 00463 g001
Figure 2. Power droop controller.
Figure 2. Power droop controller.
Symmetry 18 00463 g002
Figure 3. Voltage and current controller.
Figure 3. Voltage and current controller.
Symmetry 18 00463 g003
Figure 4. Active load voltage and current controllers.
Figure 4. Active load voltage and current controllers.
Symmetry 18 00463 g004
Figure 5. Flowchart of the proposed RDAPSO α optimization algorithm.
Figure 5. Flowchart of the proposed RDAPSO α optimization algorithm.
Symmetry 18 00463 g005
Figure 6. Voltage ripple convergence graph.
Figure 6. Voltage ripple convergence graph.
Symmetry 18 00463 g006
Figure 7. Settling time convergence graph.
Figure 7. Settling time convergence graph.
Symmetry 18 00463 g007
Figure 8. DG output response with PSO.
Figure 8. DG output response with PSO.
Symmetry 18 00463 g008
Figure 9. DG output response with APSO α.
Figure 9. DG output response with APSO α.
Symmetry 18 00463 g009
Figure 10. DG output response with APSO_G.
Figure 10. DG output response with APSO_G.
Symmetry 18 00463 g010
Figure 11. DG output response with RDAPSO.
Figure 11. DG output response with RDAPSO.
Symmetry 18 00463 g011
Figure 12. DG output response with RDAPSO α.
Figure 12. DG output response with RDAPSO α.
Symmetry 18 00463 g012
Figure 13. DG output response with DF.
Figure 13. DG output response with DF.
Symmetry 18 00463 g013
Table 1. System parameters.
Table 1. System parameters.
Microgrid Parameters
ParameterValueParameterValue
fs8 kHzVn381 V
Lfl1.35 mHLc0.35 mH
Cfl50 × 10−6 FCbus50 × 10−6 F
rfl0.1 Ωrc0.03 Ω
ωn314.16 rad/sωc314.16 rad/s
r1 + jx1(0.23 + j0.1) Ωr2 + jx1(0.35 + j0.58) Ω
Active Load Parameters
LflAL2.3 mHLAL0.93 mH
CflAL8.8 × 10−6 FRAL0.03 Ω
rflAL0.1 ΩCALdc100 × 10−6 F
RALdc67.123 Ω
Table 2. Tuning limits of controller gains used in optimization.
Table 2. Tuning limits of controller gains used in optimization.
ParameterKminKmax
Kpv−1515
Kiv−1515
Kpc−6575
Kic−6575
Table 3. Descriptive statistics for settling time and voltage ripple.
Table 3. Descriptive statistics for settling time and voltage ripple.
AlgorithmSettling Time
(Mean ± SD)
(ms)
Voltage Ripple
(Mean ± SD)
(V)
PSO184.20 ± 20.894.00 ± 1.05
APSO α 208.50 ± 11.564.35 ± 2.38
APSO_G185.10 ± 6.017.70 ± 1.49
RDAPSO307.00 ± 4.690.58 ± 0.17
RDAPSO α 98.90 ± 13.950.47 ± 0.29
DF182.00 ± 6.901.15 ± 0.26
Table 4. Optimal parameters PSO.
Table 4. Optimal parameters PSO.
Controller Parameters Optimized by PSO
ParameterValueParameterValue
Kpv1.1985Kpc44.1091
1.43531 31.8037
1.63797 40.8816
Kiv4.4568Kic35.8275
6.17159 26.904
−0.69434 13.4463
Power Sharing Parameters
mp3.79404 × 10−7nq9.36593 × 10−5
6.75934 × 10−7 1.86121 × 10−5
1.72 × 10−7 3.21349 × 10−5
Optimized Active Load Parameters
KpvAL0.331792KpcAL33.2732
KivAL4.33114KicAL−4.61844
Table 5. Optimal parameters APSO α.
Table 5. Optimal parameters APSO α.
Controller Parameters Optimized by APSO α
ParameterValueParameterValue
Kpv2.28507019Kpc17.25645309
2.67682952 50.1078267
0.21121508 63.8375495
Kiv8.8174376Kic7.82809882
2.11241115 −2.25501651
8.23923361 4.37155485
Power Sharing Parameters
mp4.51100 × 10−6nq5.52500 × 10−5
2.12700 × 10−6 6.60200 × 10−5
3.67 × 10−6 5.38000 × 10−5
Optimized Active Load Parameters
KpvAL0.35832988KpcAL14.00208457
KivAL2.34439071KicAL44.09339652
Table 6. Optimal parameters APSO_G.
Table 6. Optimal parameters APSO_G.
Controller Parameters Optimized by APSO_G
ParameterValueParameterValue
Kpv4.7536Kpc27.39173426
7.9825 45.20746549
3.7121 33.26390329
Kiv6.1343Kic−48.09744238
6.8482 −65.06366338
−3.9625 12.74708092
Power Sharing Parameters
mp4.21000 × 10−8nq4.83300 × 10−6
1.39600 × 10−6 4.19000 × 10−7
3.27 × 10−6 3.72400 × 10−6
Optimized Active Load Parameters
KpvAL0.4341KpcAL72.85536946
KivAL7.4651KicAL−36.86333597
Table 7. Optimal parameters RDAPSO.
Table 7. Optimal parameters RDAPSO.
Controller Parameters Optimized by RDAPSO
ParameterValueParameterValue
Kpv12.26780024Kpc19.28086274
4.22669795 38.30266546
6.9870899 44.01860859
Kiv0.0489935Kic40.13909473
1.76145631 46.2355252
1.08232802 13.46412695
Power Sharing Parameters
mp4.36000 × 10−7nq4.58300 × 10−6
1.47600 × 10−6 3.65000 × 10−7
3.57 × 10−6 3.81400 × 10−6
Optimized Active Load Parameters
KpvAL0.15977936KpcAL22.18038635
KivAL1.39670704KicAL13.0071505
Table 8. Optimal parameters RDAPSO α.
Table 8. Optimal parameters RDAPSO α.
Controller Parameters Optimized by RDAPSO α
ParameterValueParameterValue
Kpv4.18101803Kpc27.25928991
7.16187255 0.49263954
2.93186092 13.62765112
Kiv2.95953478Kic37.29658767
8.55086751 8.67522362
0.65987606 22.4935699
Power Sharing Parameters
mp4.51100 × 10−6nq5.52500 × 10−5
2.12700 × 10−6 6.60200 × 10−5
3.67 × 10−6 5.38000 × 10−5
Optimized Active Load Parameters
KpvAL0.07039905KpcAL29.92711764
KivAL7.02223628KicAL11.4877298
Table 9. Optimal parameters DF.
Table 9. Optimal parameters DF.
Controller Parameters Optimized by DF
ParameterValueParameterValue
Kpv3.38094793Kpc41.25254021
−0.03293972 32.67430559
2.79526153 15.18416502
Kiv0.57015734Kic9.482491021
4.99199678 36.18986249
1.93761176 18.3452168
Power Sharing Parameters
mp4.21000 × 10−8nq4.83300 × 10−6
1.39600 × 10−6 4.19000 × 10−7
3.27 × 10−6 3.72400 × 10−6
Optimized Active Load Parameters
KpvAL0.06372857KpcAL14.55888143
KivAL2.76174095KicAL33.06541424
Table 10. MANOVA results.
Table 10. MANOVA results.
Multivariate Tests a
EffectValueFHypothesis dfError dfSig.
InterceptPillai’s Trace0.9725005.697 b2.000293.0000.000
Wilks’ Lambda0.0285005.697 b2.000293.0000.000
Hotelling’s Trace34.1695005.697 b2.000293.0000.000
Roy’s Largest Root34.1695005.697 b2.000293.0000.000
AlgorithmPillai’s Trace1.01260.20210.000588.0000.000
Wilks’ Lambda0.18976.092 b10.000586.0000.000
Hotelling’s Trace3.22194.05010.000584.0000.000
Roy’s Largest Root2.848167.457 c5.000294.0000.000
a design: Intercept + Algorithm; b exact statistic; c the statistic is an upper bound on F that yields a lower bound on the significance level.
Table 11. Between-subject effects results.
Table 11. Between-subject effects results.
Tests on Between-Subjects Effects
SourceDependent VariableType III Sum of SquaresdfMean SquareF
Corrected ModelVoltage Ripple1329.133 a5265.82730.229
Settling Time767,274.190 b5153,454.838114.522
InterceptVoltage Ripple3040.40213040.402345.744
Settling Time9,257,984.67019,257,984.6706909.152
AlgorithmVoltage Ripple1329.1335265.82730.229
Settling Time767,274.1905153,454.838114.522
ErrorVoltage Ripple2585.3732948.794
Settling Time393,948.1402941339.960
TotalVoltage Ripple6954.908300
Settling Time10,419,207.000300
Corrected TotalVoltage Ripple3914.506299
Settling Time1,161,222.330299
a R Squared = 0.340 (Adjusted R Squared = 0.328); b R Squared = 0.661 (Adjusted R Squared = 0.655).
Table 12. Mann–Whitney U test for RDAPSO α and APSO_G.
Table 12. Mann–Whitney U test for RDAPSO α and APSO_G.
Ranks
AlgorithmNMean RankSum of Ranks
Settling TimeRD APSO α5025.501275.00
APSO_G5075.503775.00
Total100
Table 13. Results of Mann–Whitney U test for RDAPSO α and APSO_G.
Table 13. Results of Mann–Whitney U test for RDAPSO α and APSO_G.
Test Statistics
Settling Time
Mann–Whitney U0.000
Wilcoxon W1275.000
Z−8.630
Asymp. Sig. (Two-tailed)0.000
Table 14. Mann–Whitney U test for RDAPSO α and RDAPSO.
Table 14. Mann–Whitney U test for RDAPSO α and RDAPSO.
Ranks
AlgorithmNMean RankSum of Ranks
Settling TimeRDAPSO α5026.601330.00
RDAPSO5074.403720.00
Total100
Table 15. Results of Mann Mann–Whitney U test for RDAPSO α and RDAPSO.
Table 15. Results of Mann Mann–Whitney U test for RDAPSO α and RDAPSO.
Test Statistics
Settling Time
Mann–Whitney U55.000
Wilcoxon W1330.000
Z−8.254
Asymp. Sig. (Two-tailed)0.000
Table 16. Mann–Whitney U test for RDAPSO α and APSOα.
Table 16. Mann–Whitney U test for RDAPSO α and APSOα.
Ranks
AlgorithmNMean RankSum of Ranks
Settling TimeRDAPSO α5027.841392.00
APSO α5073.163658.00
Total100
Table 17. Results of Mann–Whitney U test for RDAPSO α and APSO α.
Table 17. Results of Mann–Whitney U test for RDAPSO α and APSO α.
Test Statistics
Settling Time
Mann–Whitney U117.000
Wilcoxon W1392.000
Z−7.830
Asymp. Sig. (Two-tailed)0.000
Table 18. Mann–Whitney U test for RDAPSO α and DF.
Table 18. Mann–Whitney U test for RDAPSO α and DF.
Ranks
AlgorithmNMean RankSum of Ranks
Settling TimeRDAPSO α5027.431371.50
DF5073.573678.50
Total100
Table 19. Results of Mann–Whitney U test for RDAPSO α and DF.
Table 19. Results of Mann–Whitney U test for RDAPSO α and DF.
Test Statistics
Settling Time
Mann–Whitney U96.500
Wilcoxon W1371.500
Z−7.971
Asymp. Sig. (Two-tailed)0.000
Table 20. Mann–Whitney U test for RDAPSOα and PSO.
Table 20. Mann–Whitney U test for RDAPSOα and PSO.
Ranks
AlgorithmNMean RankSum of Ranks
Settling TimeRDAPSO α5025.521276.00
PSO5075.483774.00
Total100
Table 21. Results of Mann–Whitney U test for RDAPSOα and PSO.
Table 21. Results of Mann–Whitney U test for RDAPSOα and PSO.
Test Statistics
Settling Time
Mann–Whitney U1.000
Wilcoxon W1276.000
Z−8.629
Asymp. Sig. (Two-tailed)0.000
Table 22. Mann–Whitney U test for RDAPSO α and APSO_G.
Table 22. Mann–Whitney U test for RDAPSO α and APSO_G.
Ranks
AlgorithmNMean RankSum of Ranks
Voltage RippleRDAPSO α5025.561278.00
APSO_G5075.443772.00
Total100
Table 23. Results of Mann–Whitney U test for RDAPSO α and APSO_G.
Table 23. Results of Mann–Whitney U test for RDAPSO α and APSO_G.
Test Statistics
Voltage Ripple
Mann–Whitney U9.000
Wilcoxon W1284.000
Z−8.590
Asymp. Sig. (Two-tailed)0.000
Table 24. Mann–Whitney U test for RDAPSO α and APSO α.
Table 24. Mann–Whitney U test for RDAPSO α and APSO α.
Ranks
AlgorithmNMean RankSum of Ranks
Voltage RippleRDAPSO α5025.681284.00
APSO α5075.323766.00
Total100
Table 25. Results of Mann–Whitney U test for RDAPSO α and APSO α.
Table 25. Results of Mann–Whitney U test for RDAPSO α and APSO α.
Test Statistics
Voltage Ripple
Mann–Whitney U3.000
Wilcoxon W1278.000
Z−8.612
Asymp. Sig. (Two-tailed)0.000
Table 26. Mann–Whitney U test for RDAPSO α and RDAPSO.
Table 26. Mann–Whitney U test for RDAPSO α and RDAPSO.
Ranks
AlgorithmNMean RankSum of Ranks
Voltage RippleRDAPSO α5036.171808.50
RDAPSO5064.833241.50
Total100
Table 27. Results of Mann Mann–Whitney U test for RDAPSO α and RDAPSO.
Table 27. Results of Mann Mann–Whitney U test for RDAPSO α and RDAPSO.
Test Statistics
Voltage Ripple
Mann–Whitney U533.500
Wilcoxon W1808.500
Z−4.961
Asymp. Sig. (Two-tailed)0.000
Table 28. Mann–Whitney U test for RDAPSOα and DF.
Table 28. Mann–Whitney U test for RDAPSOα and DF.
Ranks
AlgorithmNMean RankSum of Ranks
Voltage RippleRDAPSO α5027.791389.50
DF5073.213660.50
Total100
Table 29. Results of Mann–Whitney U test for RDAPSO α and DF.
Table 29. Results of Mann–Whitney U test for RDAPSO α and DF.
Test Statistics
Voltage Ripple
Mann–Whitney U114.500
Wilcoxon W1389.500
Z−7.884
Asymp. Sig. (Two-tailed)0.000
Table 30. Mann–Whitney U test for RDAPSOα and PSO.
Table 30. Mann–Whitney U test for RDAPSOα and PSO.
Ranks
AlgorithmNMean RankSum of Ranks
Voltage RippleRDAPSO α5026.041302.00
PSO5074.963748.50
Total100
Table 31. Results of Mann–Whitney U test for RDAPSO α and PSO.
Table 31. Results of Mann–Whitney U test for RDAPSO α and PSO.
Test Statistics
Voltage Ripple
Mann–Whitney U27.000
Wilcoxon W1302.000
Z−8.462
Asymp. Sig. (Two-tailed)0.000
Table 32. Friedman rank-sum test.
Table 32. Friedman rank-sum test.
Friedman Chi-SquaredDfp-Value
167.95<2.2 × 10−16
Table 33. Holm’s test result for settling time.
Table 33. Holm’s test result for settling time.
APSO αAPSO_GRDAPSORDAPSO αDF
APSO_G0.47120
RDAPSO1.1 × 10−93.0 × 10−7
RDAPSO α<2 × 10−16<2 × 10−16<2 × 10−16
DF1.0 × 10−99.4 × 10−71.2 × 10−14<2 × 10−16
PSO0.000440.002251.4 × 10−12<2 × 10−160.00225
Table 34. Holm’s test result for voltage ripple.
Table 34. Holm’s test result for voltage ripple.
APSO αAPSO_GRDAPSORDAPSO αDF
APSO_G0.47120
RDAPSO1.1 × 10−93.0 × 10−7
RDAPSO α<2 × 10−16<2 × 10−16<2 × 10−16
DF1.0 × 10−99.4 × 10−71.2 × 10−14<2 × 10−16
PSO0.000440.002251.4 × 10−12<2 × 10−160.00225
Table 35. Nemenyi test for settling time.
Table 35. Nemenyi test for settling time.
RDAPSO αRDAPSOAPSO αAPSO_GPSO
RDAPSO<2 × 10−16
APSO α6.5 × 10−140.00461
APSO_G6.1 × 10−140.006171.0000
PSO1.0 × 10−81.4 × 10−70.254370.21720
DF0.000131.1 × 10−120.001340.000960.50697
Table 36. Results of settling time for Nemenyi test.
Table 36. Results of settling time for Nemenyi test.
q-ValuePr(>|q|)***
RDAPSO-RDAPSO α == 016.857<2.22 × 10−16***
APSO α -RDAPSO α == 011.7926.4837 × 10−14***
APSO_G-RDAPSO α == 011.9066.0840 × 10−14***
PSO-RDAPSO α == 08.7319.9936 × 10−9***
DF-RDAPSO α == 06.2740.00013315***
APSO α -RDAPSO == 05.0650.00461069**
APSO_G-RDAPSO == 04.9510.00617148**
PSO-RDAPSO == 08.1261.3661 × 10−7***
DF-RDAPSO == 010.5831.1253 × 10−12***
APSO_G–APSO α == 00.1130.99999954
PSO- APSO α == 03.0620.25437310
DF- APSO α == 05.5180.00133768**
PSO-APSO_G == 03.1750.21720353
DF-APSO_G == 05.6320.00096474***
DF-PSO == 02.4570.50697047
Signif.Codes:0‘***’0.001‘**’0.05‘*’0.1‘’1.
Table 37. Nemenyi test results voltage ripple.
Table 37. Nemenyi test results voltage ripple.
RDAPSO αRDAPSOAPSO αAPSO_GPSO
RDAPSO<2 × 10−16
APSO α6.5 × 10−140.00461
APSO_G6.1 × 10−140.006171.0000
PSO1.0 × 10−81.4 × 10−70.254370.21720
DF0.000131.1 × 10−120.001340.000960.50697
Table 38. Results of voltage ripple for Nemenyi test.
Table 38. Results of voltage ripple for Nemenyi test.
q-ValuePr(>|q|)***
RDAPSO-RDAPSO α == 05.0650.00461069**
APSO α -RDAPSO α == 014.8925.8065 × 10−14***
APSO_G-RDAPSO α == 014.4005.4290 × 10−14***
PSO-RDAPSO α == 010.8103.5327 × 10−13***
DF-RDAPSO α == 06.7662.5360 × 10−5***
APSO α -RDAPSO == 09.8275.5297 × 10−11***
APSO_G-RDAPSO == 09.3366.1092 × 10−10***
PSO-RDAPSO == 05.7450.00069101***
DF-RDAPSO == 01.7010.83577715
APSO_G- APSO α == 00.4910.99933688
PSO- APSO α == 04.0820.25437310*
DF- APSO α == 08.1261.3661 × 10−7***
PSO-APSO_G == 03.5910.11292519
DF-APSO_G == 07.6351.0017 × 10−6***
DF-PSO == 04.0440.04860847*
Signif.codes: 0‘***’0.001‘**’0.05‘*’0.1‘’1.
Table 39. Friedman test results for settling time.
Table 39. Friedman test results for settling time.
Ranks
Mean Rank
RDAPSO α1.05
RDAPSO5.51
APSO_G4.17
APSO α4.20
PSO3.36
DF2.71
Table 40. Results of the Friedman test for settling time.
Table 40. Results of the Friedman test for settling time.
Test Statistics
N50
Chi-Square167.897
Df5
Asymp. Sig.0.000
Table 41. Friedman test results for voltage ripple.
Table 41. Friedman test results for voltage ripple.
Ranks
Mean Rank
RDAPSO α1.21
RDAPSO2.53
APSO_Gau5.15
APSO α5.02
PSO4.09
DF3.00
Table 42. Results of the Friedman test for voltage ripple.
Table 42. Results of the Friedman test for voltage ripple.
Test Statistics
N50
Chi-Square171.048
df5
Asymp. Sig.0.000
Table 43. Bonferroni test results for settling time.
Table 43. Bonferroni test results for settling time.
RDAPSO αRDAPSOAPSO αAPSO_GPSO
RDAPSO<2 × 10−16
APSO α4.4 × 10−125.1 × 10−5
APSO_G2.0 × 10−140.000841.00000
PSO2.0 × 10−140.000841.000001.00000
DF2.0 × 10−65.2 × 10−101.000000.256580.25658
Table 44. Bonferroni test results for voltage ripple.
Table 44. Bonferroni test results for voltage ripple.
RDAPSO αRDAPSOAPSO αAPSO_GPSO
RDAPSO0.00938
APSO α<2 × 10−161.1 × 10−12
APSO_G<2 × 10−161.2 × 10−91.00000
PSO4.2 × 10−150.000190.072340.67208
DF1.1 × 10−60.975641.1e−060.000110.22118
Disclaimer/Publisher’s Note: The statements, opinions and data contained in all publications are solely those of the individual author(s) and contributor(s) and not of MDPI and/or the editor(s). MDPI and/or the editor(s) disclaim responsibility for any injury to people or property resulting from any ideas, methods, instructions or products referred to in the content.

Share and Cite

MDPI and ACS Style

Khan, H.A.; Fakhar, M.S.; Kashif, S.A.R.; Ali, A.; Rasool, A. Symmetry-Inspired Comparative Evaluation of Metaheuristic Algorithms for Optimized Control of Distributed Generation Microgrids with Active Loads. Symmetry 2026, 18, 463. https://doi.org/10.3390/sym18030463

AMA Style

Khan HA, Fakhar MS, Kashif SAR, Ali A, Rasool A. Symmetry-Inspired Comparative Evaluation of Metaheuristic Algorithms for Optimized Control of Distributed Generation Microgrids with Active Loads. Symmetry. 2026; 18(3):463. https://doi.org/10.3390/sym18030463

Chicago/Turabian Style

Khan, Hafiz Arslan, Muhammad Salman Fakhar, Syed Abdul Rahman Kashif, Ahmed Ali, and Akhtar Rasool. 2026. "Symmetry-Inspired Comparative Evaluation of Metaheuristic Algorithms for Optimized Control of Distributed Generation Microgrids with Active Loads" Symmetry 18, no. 3: 463. https://doi.org/10.3390/sym18030463

APA Style

Khan, H. A., Fakhar, M. S., Kashif, S. A. R., Ali, A., & Rasool, A. (2026). Symmetry-Inspired Comparative Evaluation of Metaheuristic Algorithms for Optimized Control of Distributed Generation Microgrids with Active Loads. Symmetry, 18(3), 463. https://doi.org/10.3390/sym18030463

Note that from the first issue of 2016, this journal uses article numbers instead of page numbers. See further details here.

Article Metrics

Back to TopTop