Scheduling Optimization of Emergency Resources to Chemical Industrial Parks Based on Improved Bacterial Foraging Optimization
Abstract
1. Introduction
- (1)
- A model with multiple disaster sites, multiple rescue sites, and two different modes of emergency resources was constructed considering the problem of emergency resource scheduling in chemical industrial parks when disasters occur.
- (2)
- An improved bacterial foraging optimization algorithm was proposed to solve the model. In this algorithm, the multi-layer nested loop structure of the original BFO algorithm was improved to a single-layer structure, aiming at the urgent need for timely decisions for emergency resource scheduling in the high-risk environment of chemical industry parks.
- (3)
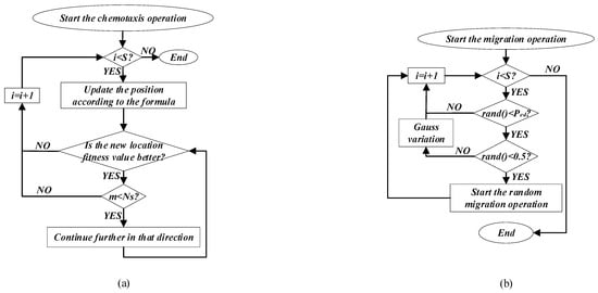
- In the chemotaxis operator, the information interaction between bacteria was introduced to provide better guidance in the optimization process.
- (4)
- In the migration operator, a new strategy based on global optimal position and Gaussian variation was introduced to strengthen the local exploitation in the potential optima area while maintaining the global searching capability.
- (5)
- The algorithm proposed was adapted to the scheduling problem by using the comprehensive constraint handling strategy of equality and inequality.
2. The Modeling of Emergency Resource Scheduling in Chemical Industry Parks
2.1. The Description of the Problem
- The demands for each resource at each disaster site are known.
- The storage levels of each resource at each rescue site are known.
- The distances between each rescue site and each disaster site are known.
- The routes from each rescue site to each disaster site are accessible without congestion.
- The driving speed of vehicles is known and stable.
- The driving expense of the vehicle, based on unit distance is known, and the expense of loading trucks and p-type resources are the same.
- The same rescue site can schedule resources to multiple disaster sites, and the same disaster site can receive resources from any rescue site.
- Each rescue site is equipped with a sufficient number of loading trucks.
2.2. The Modeling of the Emergency Resource Scheduling Problem
3. Improved Bacterial Foraging Optimization Algorithm
3.1. Original Bacterial Foraging Optimization Algorithm
3.2. The Improvement Strategy for Bacterial Foraging Algorithm
3.3. Adaptive Transformation of IBFO
3.3.1. The Encoding and Decoding Method
3.3.2. Constraint Handling
| Algorithm 1. The pseudo-code of IBFO |
| Input: S, NS, Ped, Maxeva |
| Output: optimal individual x |
| 1: Initialize individual bacterial position x 2: While (Maxeva was not reached) 3: For i = 1:S // Enter chemotactic operation 4: The position is updated according to Formula (15) 5: The new position fitness value is calculated and m is updated 6: While m < NS: 7: If < // and represent the fitness of the position of bacteria before and after swimming 8: The position is updated according to Formula (15) 9: The new position fitness value is calculated and m is updated 10: Else 11: m = NS 12: End if 13: End while 14: End for // The chemotactic operation is complete 15: The optimal bacterial individual position information is recorded 16: For i = 1:S // Enter migration operation 17: If rand () < Ped // rand () represents the random number given to the current bacterium 18: If rand () < 0.5 19: bacterium performs migration operation 20: Else 21: The position is updated according to Formula (16) 22: End if 23: End if 24: End for // The migration operation is complete 25: The optimal bacterial individual position information is recorded 26: End while // End of algorithm |
4. Experiment and Discussion
4.1. Parameter Settings
4.2. Comparison of IBFO with Other Algorithms
4.2.1. Simulation Study
4.2.2. The Effectiveness of Equality Constraint Handling Strategy
4.2.3. Experiment on More Instances
5. Conclusions
Author Contributions
Funding
Data Availability Statement
Conflicts of Interest
References
- Yuan, Y.; Wang, F. An emergency supplies scheduling for chemical industry park: Based on super network theory. Environ. Sci. Pollut. Res. 2022, 29, 39345–39358. [Google Scholar] [CrossRef] [PubMed]
- Lv, H.; Deng, B.; Zhang, P.; Han, G.; Zhang, K.; Lv, H. Optimal Scheduling of Industrial Loads in Chemical Park in Low-Carbon. In Proceedings of the 2024 IEEE 2nd International Conference on Power Science and Technology (ICPST), Dali, China, 9–11 May 2024; pp. 2035–2041. [Google Scholar] [CrossRef]
- Huang, W.; Zhang, B.; Ge, L.; He, J.; Liao, W.; Ma, P. Day-ahead optimal scheduling strategy for electrolytic water to hydrogen production in zero-carbon parks type microgrid for optimal utilization of electrolyzer. J. Energy Storage 2023, 68, 107653. [Google Scholar] [CrossRef]
- Lu, H.; Hu, Y.; Wang, S.; Zhou, P.; Cheng, S. DTAS: An Adaptive Critical Scenarios Generation Method for Decision Boundary Assessment. IEEE Trans. Cogn. Dev. Syst. 2025, 1–14. [Google Scholar] [CrossRef]
- Long, X.; Yang, L.; Qiao, C. Emergency scheduling based on event triggering and multi-hierarchical planning for space surveillance network. Inf. Sci. 2024, 667, 120486. [Google Scholar] [CrossRef]
- Jiang, Z.; Li, Z.; Yao, Z. Multi-objective optimization in fixed-outline floor planning with reinforcement learning. Comput. Electr. Eng. 2024, 120, 109784. [Google Scholar] [CrossRef]
- Wu, G.; Zhou, Z.; Wang, H.; Zhang, J.; Liu, X.; Yang, Y. SDA-RRT* Connect: A Path Planning and Trajectory Optimization Method for Robotic Manipulators in Industrial Scenes with Frame Obstacles. Symmetry 2024, 17, 1. [Google Scholar] [CrossRef]
- Li, Z.; Yan, J.; Xue, J. Multi-objective fuzzy surgical scheduling during post-disaster with Nash equilibrium. Expert Syst. Appl. 2024, 238, 121945. [Google Scholar] [CrossRef]
- Wu, G.; Zhang, Y.; Wang, T.; Chen, H.; Sun, Z. Dynamic Task Allocation for Collaborative Data Collection: A Vehicle–Drone Approach. Symmetry 2025, 17, 67. [Google Scholar] [CrossRef]
- Tang, J.; Liu, G.; Pan, Q. A Review on Representative Swarm Intelligence Algorithms for Solving Optimization Problems: Applications and Trends. IEEE/CAA J. Autom. Sin. 2021, 8, 1627–1643. [Google Scholar] [CrossRef]
- Yan, X.; Niu, B.; Chai, Y.; Zhang, Z.; Zhang, L. An adaptive hydrologic cycle optimization algorithm for numerical optimization and data clustering. Int. J. Intell. Syst. 2022, 37, 6123–6151. [Google Scholar] [CrossRef]
- Cheng, S.; Jin, H.; Lu, H.; Shi, Y. A Q-learning based brainstorming optimization algorithm for solving multimodal optimization problems. IEEE Trans. Consum. Electron. 2024, 1. [Google Scholar] [CrossRef]
- Lu, H.; Wang, S.; Cheng, S.; Shi, Y. Surrogate-Based Decision Boundary Evolutionary Sampling Method for Autonomous Systems. IEEE Trans. Emerg. Top. Comput. Intell. 2024, 99, 1–15. [Google Scholar] [CrossRef]
- Colorni, A.; Dorigo, M.; Maniezzo, V. Distributed Optimization by Ant Colonies. In Proceedings of the First European Conference on Artificial Life, Paris, France, 11–13 December 1991; pp. 134–142. [Google Scholar]
- Larrañaga, P.; Kuijpers, C.M.H.; Murga, R.H.; Inza, I.; Dizdarevic, S. Genetic Algorithms for the Travelling Salesman Problem: A Review of Representations and Operators. Artif. Intell. Rev. 1999, 13, 129–170. [Google Scholar] [CrossRef]
- Yan, X.; Zhang, Y.; Luo, J.; Cheng, S.; Zhang, Z.; Zhang, L.; Zhang, Z. A two-stage optimization approach to image-capture window positioning and path planning for automatic optical inspection. Swarm Evol. Comput. 2025, 92, 101840. [Google Scholar] [CrossRef]
- Laporte, G. The traveling salesman problem: An overview of exact and approximate algorithms. Eur. J. Oper. Res. 1992, 59, 231–247. [Google Scholar] [CrossRef]
- Kennedy, J.; Eberhart, R. Particle swarm optimization. In Proceedings of the ICNN’95—International Conference on Neural Networks, Perth, WA, Australia, 27 November–1 December 1995; Volume 4, pp. 1942–1948. [Google Scholar]
- Passino, K.M. Biomimicry of bacterial foraging for distributed optimization and control. IEEE Control Syst. Mag. 2002, 22, 52–67. [Google Scholar]
- Karaboga, D. An Idea Based on Honey Bee Swarm for Numerical Optimization; Technical Report; Erciyes University: Kayseri, Turkey, 2005. [Google Scholar]
- Qiu, Y.; Wu, L.; Zuo, C.; Jia, R.; Zhang, H. Optimal scheduling of solar-surface water source heat pump system based on an improved arithmetic optimization algorithm. Egypt. Inform. J. 2023, 24, 100415. [Google Scholar] [CrossRef]
- Ma, L.; Li, N.; Yu, G.; Geng, X.; Cheng, S.; Wang, X.; Huang, M.; Jin, Y. Pareto-Wise Ranking Classifier for Multi-Objective Evolutionary Neural Architecture Search. IEEE Trans. Evol. Comput. 2023, 28, 570–581. [Google Scholar]
- Li, N.; Ma, L.; Yu, G.; Xue, B.; Zhang, M.; Jin, Y. Survey on Evolutionary Deep Learning: Principles, Algorithms, Applications, and Open Issues. ACM Comput. Surv. 2023, 56, 41. [Google Scholar] [CrossRef]
- Wang, H.; Li, R.; Gong, W. Minimizing tardiness and makespan for distributed heterogeneous unrelated parallel machine scheduling by knowledge and Pareto-based memetic algorithm. Egypt. Inform. J. 2023, 24, 100383. [Google Scholar] [CrossRef]
- Cheng, S.; Zhang, M.; Ma, L.; Lu, H.; Wang, R.; Shi, Y. Brain storm optimization algorithm for solving knowledge spillover problems. Neural Comput. Appl. 2023, 35, 12247–12260. [Google Scholar] [CrossRef]
- Shaikh, P.W.; El-Abd, M.; Khanafer, M.; Gao, K. A Review on Swarm Intelligence and Evolutionary Algorithms for Solving the Traffic Signal Control Problem. IEEE Trans. Intell. Transp. Syst. 2022, 23, 48–63. [Google Scholar] [CrossRef]
- Cao, M.; Li, Y.; Wen, X.; Zhao, Y.; Zhu, J. Energy-aware intelligent scheduling for deadline-constrained workflows in sustainable cloud computing. Egypt. Inform. J. 2023, 24, 277–290. [Google Scholar] [CrossRef]
- Cai, J.; Zhou, R.; Lei, D. Dynamic shuffled frog-leaping algorithm for distributed hybrid flow shop scheduling with multiprocessor tasks. Eng. Appl. Artif. Intell. 2020, 90, 103540. [Google Scholar] [CrossRef]
- Guo, H.; Sang, H.; Zhang, X.; Duan, P.; Li, J.; Han, Y. An effective fruit fly optimization algorithm for the distributed permutation flowshop scheduling problem with total flowtime. Eng. Appl. Artif. Intell. 2023, 123, 106347. [Google Scholar] [CrossRef]
- Domanal, S.G.; Guddeti, R.M.R.; Buyya, R. A Hybrid Bio-Inspired Algorithm for Scheduling and Resource Management in Cloud Environment. IEEE Trans. Serv. Comput. 2020, 13, 3–15. [Google Scholar] [CrossRef]
- Zhang, L.; Lu, J.; Yang, Z. Dynamic optimization of emergency resource scheduling in a large-scale maritime oil spill accident. Comput. Ind. Eng. 2021, 152, 107028. [Google Scholar] [CrossRef]
- Peng, D.; Ye, C.; Wan, M. A multi-objective improved novel discrete particle swarm optimization for emergency resource center location problem. Eng. Appl. Artif. Intell. 2022, 111, 104725. [Google Scholar] [CrossRef]
- Wang, L.; Zhao, X.; Wu, P. Resource-constrained emergency scheduling for forest fires via artificial bee colony and variable neighborhood search combined algorithm. IEEE Trans. Intell. Transp. Syst. 2024, 25, 5791–5806. [Google Scholar] [CrossRef]
- Zhao, X.; Wang, G. Deep Q networks-based optimization of emergency resource scheduling for urban public health events. Neural Comput. Appl. 2023, 35, 8823–8832. [Google Scholar] [CrossRef]
- Verma, S.; Pant, M.; Snasel, V. A Comprehensive Review on NSGA-II for Multi-Objective Combinatorial Optimization Problems. IEEE Access 2021, 9, 57757–57791. [Google Scholar] [CrossRef]
- Liu, Y.; Lei, H.; Zhang, D.; Wu, Z. Robust optimization for relief logistics planning under uncertainties in demand and transportation time. Appl. Math. Model. 2018, 55, 262–280. [Google Scholar] [CrossRef]
- Lei, S.; Wang, J.; Chen, C.; Hou, Y. Mobile Emergency Generator Pre-Positioning and Real-Time Allocation for Resilient Response to Natural Disasters. IEEE Trans. Smart Grid 2018, 9, 2030–2041. [Google Scholar] [CrossRef]
- Garrido, R.A.; Lamas, P.; Pino, F.J. A stochastic programming approach for floods emergency logistics. Transp. Res. Part E Logist. Transp. Rev. 2015, 75, 18–31. [Google Scholar] [CrossRef]
- Lei, S.; Chen, C.; Li, Y.; Hou, Y. Resilient Disaster Recovery Logistics of Distribution Systems: Co-Optimize Service Restoration with Repair Crew and Mobile Power Source Dispatch. IEEE Trans. Smart Grid 2019, 10, 6187–6202. [Google Scholar] [CrossRef]
- Guerrero Granados, B.; Quintero, M.C.G.; Núñez, C.V. Improved genetic algorithm approach for coordinating decision-making in technological disaster management. Neural Comput. Appl. 2023, 36, 4503–4521. [Google Scholar] [CrossRef]
- Hu, H.; Chen, C.; Liu, M.; Fu, Y.; Zhao, J.; Feng, Z. Two-Stage emergency material scheduling based on benders decomposition considering traffic congestion after a disaster. Comput. Ind. Eng. 2022, 174, 108751. [Google Scholar] [CrossRef]
- Wang, F.; Guo, H.; Pei, J.; Yang, C.; Pei, C. Study on interval programming model for allocation of emergency resource under uncertain conditions. J. Saf. Sci. Technol. 2019, 10, 107–113. [Google Scholar]
- Ma, Z.Q.; Demeulemeester, E.; He, Z.W.; Wang, N.M. A computational experiment to explore better robustness measures for project scheduling under two types of uncertain environments. Comput. Ind. Eng. 2019, 131, 382–390. [Google Scholar] [CrossRef]
- Ge, H.; Liu, N.; Zhang, G.; Yu, H. A model for distribution of multiple emergency commodities to multiple affected areas based on loss of victims of calamity. J. Syst. Manag. 2010, 19, 541–545. [Google Scholar]
- Li, L.; Tan, E.; Gao, P.; Jin, Y. Enhancing Concurrent Emergency Response: Joint Scheduling of Emergency Vehicles on Freeways with Tailored Heuristic. Appl. Sci. 2024, 14, 7433. [Google Scholar] [CrossRef]
- Long, Y.; Liu, S.; Qiu, D.; Li, C.; Guo, X.; Shi, B.; AbouOmar, M.S. Local Path Planning with Multiple Constraints for USV Based on Improved Bacterial Foraging Optimization Algorithm. J. Mar. Sci. Eng. 2023, 11, 489. [Google Scholar] [CrossRef]
- Niu, B.; Liu, J.; Wu, T.; Chu, X.; Wang, Z.; Liu, Y. Coevolutionary structure-redesigned-based bacterial foraging optimization. IEEE/ACM Trans. Comput. Biol. Bioinform. 2017, 15, 1865–1876. [Google Scholar] [CrossRef]
- Li, M.; Chen, H.; Shi, X.; Liu, S.; Zhang, M.; Lu, S. A multi-information fusion ‘triple variables with iteration’ inertia weight PSO algorithm and its application. Appl. Soft Comput. 2019, 84, 105677. [Google Scholar] [CrossRef]
- Hassanat, A.; Almohammadi, K.; Alkafaween, E.; Abunawas, E.; Hammouri, A.; Prasath, V.B.S. Choosing Mutation and Crossover Ratios for Genetic Algorithms—A Review with a New Dynamic Approach. Information 2019, 10, 390. [Google Scholar] [CrossRef]








| References | [31] | [32] | [41] | [42] | [43] | [44] | Ours | |
|---|---|---|---|---|---|---|---|---|
| Resource Modes | Single-mode | ✓ | ✓ | ✓ | ✓ | ✓ | ✓ | - |
| Multi-mode | - | - | - | - | - | - | ✓ | |
| Scheduling methods | Proactive scheduling | - | - | - | - | ✓ | ✓ | - |
| Reactive scheduling | ✓ | ✓ | ✓ | ✓ | - | - | ✓ | |
| Symbol | ||
|---|---|---|
| parameters | m | the quantity of rescue sites |
| n | the quantity of disaster sites | |
| s | the quantity of q-type resources | |
| r | the quantity of p-type resources | |
| the i-th rescue site for storing resources (i = 1, 2, …, m) | ||
| the j-th disaster site in need of supplies (j = 1, 2, …, n) | ||
| the quantity of the k-th resources about q-type required by the disaster site Aj, where k q (j = 1, 2, …, n) (k = 1, 2, …, s) | ||
| the quantity of the t-th resources about p-type required by the disaster site Aj, where t p (j = 1, 2, …, n) (t = 1, 2, …, r) | ||
| the quantity of the k-th resources about q-type stored by the rescue site Bi, where k q (i = 1, 2, …, m) (k = 1, 2, …, s) | ||
| the quantity of the t-th resources about p-type stored by the rescue site Bi, where t p (i = 1, 2, …, m) (t = 1, 2, …, r) | ||
| the space occupation coefficient of a loading truck occupied by the k-th resources about q-type (k = 1, 2, …, s) | ||
| the transport time from the rescue site to the disaster site (i = 1, 2, …, m) (j = 1, 2, …, n) | ||
| the distance from the disaster site to the rescue site (i = 1, 2, …, m) (j = 1, 2, …, n) | ||
| the preparation time for the loading trucks to load resources at the rescue site (i = 1, 2, …, m) | ||
| the driving expense of the vehicle, which includes p-type and the loading trucks (CNY/km·Car) | ||
| the speed of the vehicles (km/h) | ||
| the latest time to prevent secondary disasters at the disaster site (j = 1, 2, …, n) | ||
| variables | the quantity of the k-th resources about q-type scheduled from the rescue site to the disaster site , where k q (i = 1, 2, …, m) (j = 1, 2, …, n) (k = 1, 2, …, s) | |
| the quantity of the t-th resources about p-type scheduled from the rescue site to the disaster site , where t p (i = 1, 2, …, m) (j = 1, 2, …, n) (t = 1, 2, …, r) | ||
| the quantity of loading trucks scheduled from the rescue site to disaster site (i = 1, 2, …, m) (j = 1, 2, …, n) | ||
| whether to schedule vehicles which include p-type and the loading trucks from the rescue site to the disaster site (i = 1, 2, …, m) (j = 1, 2, …, n) | ||
| Symbol | |
|---|---|
| the position of the i-th bacterium at the j-th chemotaxis step, k-th reproduction step, and l-th migration event | |
| a new position reached by bacteria after a single chemotaxis on the basis | |
| S | the number of bacteria used to search the solution space in each generation |
| Ned | the number of migration operations performed by bacteria |
| Nre | the number of replication operations performed by the bacteria to generate multiple similar bacteria |
| Nc | the number of chemotactic operations performed by bacteria, which is the most basic motor behavior of bacteria |
| Ped | the probability of a current bacterial individual migrating from one region of the solution space to another |
| Ns | the maximum number of steps that a bacterium individual swims in the current direction |
| Sr | The bacteria produce new individuals by referring to the better half of the individuals in the reproduction operation |
| ms | the number of steps a bacterial individual swims in the current direction |
| Maxeva | the maximum number of times the objective value is evaluated |
| Parameters | ||
|---|---|---|
| P (minute) | P1 P2 P3 P4 P5 | 1 3 2 2 1 |
| ttf (minute) | ttf1 ttf2 ttf3 | 27 24 27 |
| a | a1 a2 a3 a4 a5 | 0.5 0.2 0.1 0.02 0.01 |
| (km) | A1 | A2 | A3 |
|---|---|---|---|
| B1 | 6 | 10 | 7 |
| B2 | 13 | 6 | 9 |
| B3 | 7 | 12 | 12 |
| B4 | 10 | 7 | 13 |
| B5 | 12 | 10 | 6 |
| p-Type | q-Type | ||||||
|---|---|---|---|---|---|---|---|
| Resource-1 | Resource-2 | Resource-3 | Resource-4 | Resource-5 | Resource-6 | Resource-7 | |
| A1 | 3 | 2 | 5 | 20 | 50 | 250 | 250 |
| A2 | 3 | 1 | 4 | 10 | 35 | 150 | 300 |
| A3 | 4 | 3 | 2 | 20 | 35 | 150 | 300 |
| p-Type | q-Type | ||||||
|---|---|---|---|---|---|---|---|
| Resource-1 | Resource-2 | Resource-3 | Resource-4 | Resource-5 | Resource-6 | Resource-7 | |
| B1 | 0 | 4 | 6 | 30 | 60 | 0 | 0 |
| B2 | 0 | 2 | 4 | 15 | 40 | 0 | 0 |
| B3 | 2 | 0 | 0 | 0 | 0 | 200 | 400 |
| B4 | 5 | 0 | 0 | 0 | 0 | 300 | 500 |
| B5 | 4 | 2 | 4 | 20 | 50 | 250 | 500 |
| IBFO | PSO | BFO | GA | |
|---|---|---|---|---|
| Mean | 70.06 | 94.70 | 90.45 | 81.94 |
| std | 2.35 | 26.04 | 14.98 | 23.12 |
| min | 64.97 | 69.53 | 74.69 | 71.33 |
| max | 75.05 | 154.83 | 123.24 | 176.54 |
| fs | 20 | 11 | 7 | 16 |
| A1 | A2 | A3 | |
|---|---|---|---|
| B1 | (0, 1, 3, 19, 45, 0, 0) | (0, 0, 2, 3, 13, 0, 0) | (0, 1, 1, 7, 1, 0, 0) |
| B2 | (0, 1, 0, 0, 0, 0, 0) | (0, 1, 2, 3, 14, 0, 0) | (0, 0, 1, 1, 3, 0, 0) |
| B3 | (1, 0, 0, 0, 0, 65, 250) | (0, 0, 0, 0, 0, 0, 0) | (0, 0, 0, 0, 0, 25, 50) |
| B4 | (2, 0, 0, 0, 0, 135, 0) | (2, 0, 0, 0, 0, 150, 100) | (1, 0, 0, 0, 0, 0, 0) |
| B5 | (0, 0, 2, 1, 5, 50, 0) | (1, 0, 0, 4, 8, 0, 200) | (3, 2, 0, 12, 31, 125, 250) |
| IBFO | PSO | BFO | GA | |
|---|---|---|---|---|
| Mean | 74.21 | 100.03 | 169.50 | 154.41 |
| std | 1.59 | 29.59 | 19.58 | 50.45 |
| min | 71.05 | 73.57 | 137.27 | 100.51 |
| max | 77.29 | 177.09 | 207.39 | 268.58 |
| fs | 20 | 6 | 0 | 0 |
| I | II | III | IV | V | |
|---|---|---|---|---|---|
| Nd | 3 | 3 | 4 | 4 | 7 |
| Nr | 5 | 5 | 5 | 6 | 9 |
| Np | 2 | 2 | 2 | 2 | 2 |
| Nq | 5 | 6 | 5 | 5 | 6 |
| IBFO | PSO | BFO | GA | |||||||||||||||||||
|---|---|---|---|---|---|---|---|---|---|---|---|---|---|---|---|---|---|---|---|---|---|---|
| fs | Mean | Std | Min | Max | fs | Mean | Std | Min | Max | fs | Mean | Std | Min | Max | fs | Mean | Std | Min | Max | |||
| I | 1 | ① | 20 | 76.66 | 1.54 | 73.75 | 79.02 | 17 | 86.00 | 21.66 | 75.20 | 158.51 | 15 | 82.44 | 5.51 | 77.13 | 99.21 | 14 | 81.42 | 5.27 | 76.62 | 98.78 |
| ② | 76.66 | 1.54 | 73.75 | 79.02 | 78.75 | 2.03 | 75.20 | 83.00 | 80.42 | 1.91 | 77.13 | 83.94 | 79.10 | 1.40 | 76.62 | 82.03 | ||||||
| 2 | ① | 20 | 70.66 | 2.11 | 66.35 | 74.29 | 14 | 85.60 | 15.88 | 69.50 | 117.88 | 16 | 81.29 | 10.08 | 73.52 | 117.94 | 18 | 78.54 | 5.53 | 72.70 | 99.91 | |
| ② | 70.66 | 2.11 | 66.35 | 74.29 | 76.41 | 3.13 | 69.50 | 81.50 | 77.37 | 2.13 | 73.52 | 81.97 | 76.70 | 1.58 | 72.70 | 79.66 | ||||||
| 3 | ① | 20 | 67.08 | 1.21 | 65.12 | 69.67 | 19 | 68.83 | 5.26 | 65.65 | 89.71 | 14 | 72.19 | 3.47 | 66.85 | 81.76 | 17 | 73.43 | 16.71 | 67.36 | 143.75 | |
| ② | 67.08 | 1.21 | 65.12 | 69.67 | 67.73 | 1.93 | 65.65 | 72.42 | 70.67 | 2.28 | 66.85 | 73.86 | 69.25 | 1.53 | 67.36 | 71.97 | ||||||
| 4 | ① | 20 | 63.36 | 0.82 | 62.35 | 65.32 | 19 | 68.49 | 14.59 | 62.03 | 129.52 | 14 | 70.75 | 5.55 | 64.71 | 88.70 | 20 | 65.20 | 1.49 | 63.46 | 67.91 | |
| ② | 63.36 | 0.82 | 62.35 | 65.32 | 65.28 | 2.65 | 62.03 | 70.87 | 68.55 | 2.83 | 64.71 | 73.96 | 65.20 | 1.49 | 63.46 | 67.91 | ||||||
| 5 | ① | 20 | 72.27 | 1.98 | 69.10 | 76.08 | 10 | 93.17 | 26.42 | 72.40 | 164.78 | 11 | 82.26 | 5.80 | 75.28 | 95.66 | 12 | 83.44 | 8.41 | 73.77 | 110.40 | |
| ② | 72.27 | 1.98 | 69.10 | 76.08 | 75.45 | 2.18 | 72.40 | 78.89 | 78.41 | 2.23 | 75.28 | 81.74 | 78.74 | 2.02 | 73.77 | 81.66 | ||||||
| II | 6 | ① | 20 | 71.21 | 1.84 | 68.08 | 76.07 | 14 | 81.73 | 27.18 | 67.60 | 194.25 | 1 | 98.80 | 13.58 | 76.59 | 130.18 | 7 | 80.58 | 10.13 | 70.30 | 108.30 |
| ② | 71.21 | 1.84 | 68.08 | 76.07 | 72.85 | 2.25 | 67.60 | 76.28 | 76.59 | 0 | 76.59 | 76.59 | 73.54 | 2.48 | 70.93 | 78.61 | ||||||
| 7 | ① | 20 | 72.03 | 1.45 | 69.35 | 75.56 | 11 | 90.04 | 22.33 | 72.89 | 159.12 | 1 | 93.17 | 13.24 | 78.78 | 123.66 | 13 | 87.99 | 17.68 | 76.91 | 135.32 | |
| ② | 72.03 | 1.45 | 69.35 | 75.56 | 76.31 | 2.37 | 72.89 | 79.87 | 79.26 | 0 | 79.26 | 79.26 | 78.40 | 0.90 | 76.91 | 79.82 | ||||||
| 8 | ① | 20 | 66.92 | 2.13 | 63.73 | 71.34 | 16 | 74.57 | 13.71 | 65.84 | 114.77 | 1 | 83.55 | 6.35 | 70.79 | 97.86 | 8 | 77.36 | 11.05 | 67.25 | 107.62 | |
| ② | 66.92 | 2.13 | 63.73 | 71.34 | 68.71 | 1.92 | 65.84 | 73.10 | 70.79 | 0 | 70.79 | 70.79 | 69.43 | 1.91 | 67.25 | 72.48 | ||||||
| 9 | ① | 20 | 75.93 | 1.87 | 72.92 | 81.27 | 12 | 94.58 | 28.50 | 73.34 | 171.56 | 0 | 117.18 | 23.02 | 91.44 | 171.22 | 3 | 94.02 | 13.39 | 79.06 | 123.98 | |
| ② | 75.93 | 1.87 | 72.92 | 81.27 | 77.76 | 2.75 | 73.34 | 81.98 | - | - | - | - | 79.77 | 0.62 | 79.06 | 80.15 | ||||||
| 10 | ① | 20 | 76.70 | 2.24 | 73.28 | 82.50 | 11 | 100.59 | 35.00 | 74.42 | 219.10 | 1 | 114.26 | 26.64 | 82.70 | 179.30 | 9 | 99.45 | 26.84 | 76.94 | 170.50 | |
| ② | 76.70 | 2.24 | 73.28 | 82.50 | 79.94 | 2.78 | 74.42 | 84.27 | 82.70 | 0 | 82.70 | 82.70 | 80.80 | 2.31 | 76.94 | 84.80 | ||||||
| III | 11 | ① | 20 | 99.09 | 1.99 | 96.49 | 104.36 | 7 | 157.61 | 88.22 | 96.76 | 481.51 | 0 | 199.65 | 40.12 | 137.75 | 280.09 | 1 | 163.95 | 50.45 | 103.65 | 298.22 |
| ② | 99.09 | 1.99 | 96.49 | 104.36 | 100.62 | 2.65 | 96.76 | 104.10 | - | - | - | - | 103.65 | 0 | 103.65 | 103.65 | ||||||
| 12 | ① | 20 | 93.52 | 2.29 | 89.09 | 96.79 | 14 | 126.07 | 44.01 | 91.17 | 217.66 | 2 | 132.91 | 29.16 | 101.27 | 208.57 | 7 | 118.13 | 20.09 | 100.55 | 167.02 | |
| ② | 93.52 | 2.29 | 89.09 | 96.79 | 100.01 | 3.72 | 91.17 | 106.52 | 102.86 | 2.25 | 101.27 | 104.45 | 103.43 | 2.53 | 100.55 | 106.83 | ||||||
| 13 | ① | 20 | 101.52 | 2.67 | 97.36 | 106.90 | 13 | 119.84 | 23.92 | 101.28 | 168.34 | 0 | 154.69 | 27.61 | 125.26 | 235.80 | 4 | 139.91 | 35.50 | 102.92 | 235.45 | |
| ② | 101.52 | 2.67 | 97.36 | 106.90 | 105.06 | 2.27 | 101.28 | 109.38 | - | - | - | - | 105.03 | 2.29 | 102.92 | 107.14 | ||||||
| 14 | ① | 20 | 98.23 | 2.19 | 94.89 | 102.93 | 9 | 119.59 | 24.76 | 99.51 | 181.51 | 0 | 147.81 | 28.90 | 107.20 | 206.28 | 3 | 135.40 | 37.09 | 104.15 | 259.28 | |
| ② | 98.23 | 2.19 | 94.89 | 102.93 | 102.58 | 1.75 | 99.51 | 105.11 | - | - | - | - | 106.72 | 2.31 | 104.15 | 108.63 | ||||||
| 15 | ① | 20 | 104.76 | 2.10 | 102.55 | 109.92 | 10 | 140.75 | 69.56 | 104.38 | 422.24 | 0 | 193.21 | 29.89 | 136.03 | 246.05 | 2 | 178.09 | 49.39 | 109.50 | 331.89 | |
| ② | 104.76 | 2.10 | 102.55 | 109.92 | 107.76 | 2.57 | 104.38 | 111.55 | - | - | - | - | 110.64 | 1.61 | 109.50 | 111.77 | ||||||
| IV | 16 | ① | 20 | 91.58 | 2.09 | 88.61 | 96.27 | 6 | 159.71 | 94.30 | 91.31 | 426.98 | 0 | 274.81 | 102.43 | 128.12 | 462.59 | 3 | 160.54 | 72.28 | 93.77 | 377.03 |
| ② | 91.58 | 2.09 | 88.61 | 96.27 | 94.82 | 3.43 | 91.31 | 99.48 | - | - | - | - | 95.05 | 1.83 | 93.77 | 97.15 | ||||||
| 17 | ① | 20 | 88.57 | 1.88 | 85.89 | 91.79 | 7 | 207.68 | 159.42 | 87.79 | 579.27 | 0 | 280.14 | 86.72 | 152.38 | 475.10 | 2 | 154.81 | 99.48 | 93.55 | 472.48 | |
| ② | 88.57 | 1.88 | 85.89 | 91.79 | 92.65 | 2.98 | 87.79 | 97.35 | - | - | - | - | 93.79 | 0.33 | 93.55 | 94.02 | ||||||
| 18 | ① | 20 | 89.60 | 2.46 | 86.56 | 93.93 | 4 | 258.67 | 168.37 | 91.11 | 722.46 | 0 | 296.00 | 81.70 | 159.60 | 461.60 | 0 | 150.16 | 59.37 | 100.98 | 381.31 | |
| ② | 89.60 | 2.46 | 86.56 | 93.93 | 93.86 | 2.32 | 91.11 | 96.32 | - | - | - | - | - | - | - | - | ||||||
| 19 | ① | 19 | 92.72 | 2.62 | 89.71 | 101.11 | 5 | 193.83 | 152.26 | 92.69 | 772.50 | 0 | 289.68 | 73.44 | 137.09 | 442.53 | 0 | 169.70 | 58.99 | 110.65 | 341.34 | |
| ② | 92.27 | 1.77 | 89.71 | 95.92 | 94.57 | 1.90 | 92.69 | 97.78 | - | - | - | - | - | - | - | - | ||||||
| 20 | ① | 20 | 89.68 | 1.49 | 86.04 | 92.18 | 5 | 166.65 | 86.49 | 92.28 | 376.35 | 0 | 282.75 | 70.40 | 163.82 | 396.70 | 0 | 141.61 | 37.05 | 98.96 | 221.49 | |
| ② | 89.68 | 1.49 | 86.04 | 92.18 | 95.08 | 2.61 | 92.28 | 98.40 | - | - | - | - | - | - | - | - | ||||||
| V | 21 | ① | 20 | 215.43 | 8.03 | 201.81 | 230.72 | 0 | 32,078.7 | 4383.98 | 24,423.2 | 40,742.3 | 0 | 47,681.1 | 2033.65 | 43,283.6 | 50,987.1 | 0 | 69,439.3 | 4101.52 | 60,044.8 | 74,691.6 |
| ② | 215.43 | 8.03 | 201.81 | 230.72 | - | - | - | - | - | - | - | - | - | - | - | - | ||||||
| 22 | ① | 17 | 261.27 | 9.08 | 245.90 | 278.92 | 0 | 34,079.8 | 5635.08 | 21,599.1 | 44,127.6 | 0 | 48,328 | 2879.79 | 41,919.9 | 54,134.8 | 0 | 66,920.6 | 2466.26 | 61,829 | 70,930.8 | |
| ② | 259.82 | 8.52 | 245.90 | 273.66 | - | - | - | - | - | - | - | - | - | - | - | - | ||||||
| 23 | ① | 20 | 251.08 | 8.01 | 239.56 | 267.39 | 0 | 33,122.7 | 4969.49 | 22661 | 41,407.8 | 0 | 49,670.4 | 1941.15 | 45,736.1 | 54,021.1 | 0 | 66,053.6 | 3428.29 | 60,587.4 | 72,596.2 | |
| ② | 251.08 | 8.01 | 239.56 | 267.39 | - | - | - | - | - | - | - | - | - | - | - | - | ||||||
| 24 | ① | 20 | 253.26 | 7.02 | 236.07 | 266.67 | 0 | 44,486.3 | 5883.32 | 31,004.6 | 53,544.9 | 0 | 59,354.8 | 2811.5 | 53,989.8 | 62,663 | 0 | 75,691.8 | 2800.57 | 71,083 | 81,236.2 | |
| ② | 253.26 | 7.02 | 236.07 | 266.67 | - | - | - | - | - | - | - | - | - | - | - | - | ||||||
| 25 | ① | 20 | 255.10 | 7.33 | 237.36 | 274.11 | 0 | 48,959.2 | 4914.06 | 38,507.1 | 57,579.9 | 0 | 65,437.2 | 2758.76 | 60,179.4 | 71,355.4 | 0 | 82,605.8 | 3872.11 | 75,794.5 | 89,238.8 | |
| ② | 255.10 | 7.33 | 237.36 | 274.11 | - | - | - | - | - | - | - | - | - | - | - | - | ||||||
Disclaimer/Publisher’s Note: The statements, opinions and data contained in all publications are solely those of the individual author(s) and contributor(s) and not of MDPI and/or the editor(s). MDPI and/or the editor(s) disclaim responsibility for any injury to people or property resulting from any ideas, methods, instructions or products referred to in the content. |
© 2025 by the authors. Licensee MDPI, Basel, Switzerland. This article is an open access article distributed under the terms and conditions of the Creative Commons Attribution (CC BY) license (https://creativecommons.org/licenses/by/4.0/).
Share and Cite
Yan, X.; Zhang, Y.; Luo, J.; Zhang, Z.; Zhang, L.; Zhang, Z.; Cheng, S. Scheduling Optimization of Emergency Resources to Chemical Industrial Parks Based on Improved Bacterial Foraging Optimization. Symmetry 2025, 17, 251. https://doi.org/10.3390/sym17020251
Yan X, Zhang Y, Luo J, Zhang Z, Zhang L, Zhang Z, Cheng S. Scheduling Optimization of Emergency Resources to Chemical Industrial Parks Based on Improved Bacterial Foraging Optimization. Symmetry. 2025; 17(2):251. https://doi.org/10.3390/sym17020251
Chicago/Turabian StyleYan, Xiaohui, Yukang Zhang, Junwei Luo, Zhicong Zhang, Liangwei Zhang, Zhengmin Zhang, and Shi Cheng. 2025. "Scheduling Optimization of Emergency Resources to Chemical Industrial Parks Based on Improved Bacterial Foraging Optimization" Symmetry 17, no. 2: 251. https://doi.org/10.3390/sym17020251
APA StyleYan, X., Zhang, Y., Luo, J., Zhang, Z., Zhang, L., Zhang, Z., & Cheng, S. (2025). Scheduling Optimization of Emergency Resources to Chemical Industrial Parks Based on Improved Bacterial Foraging Optimization. Symmetry, 17(2), 251. https://doi.org/10.3390/sym17020251

