Clustering and Classification Based on Distributed Automatic Feature Engineering for Customer Segmentation
Abstract
:1. Introduction
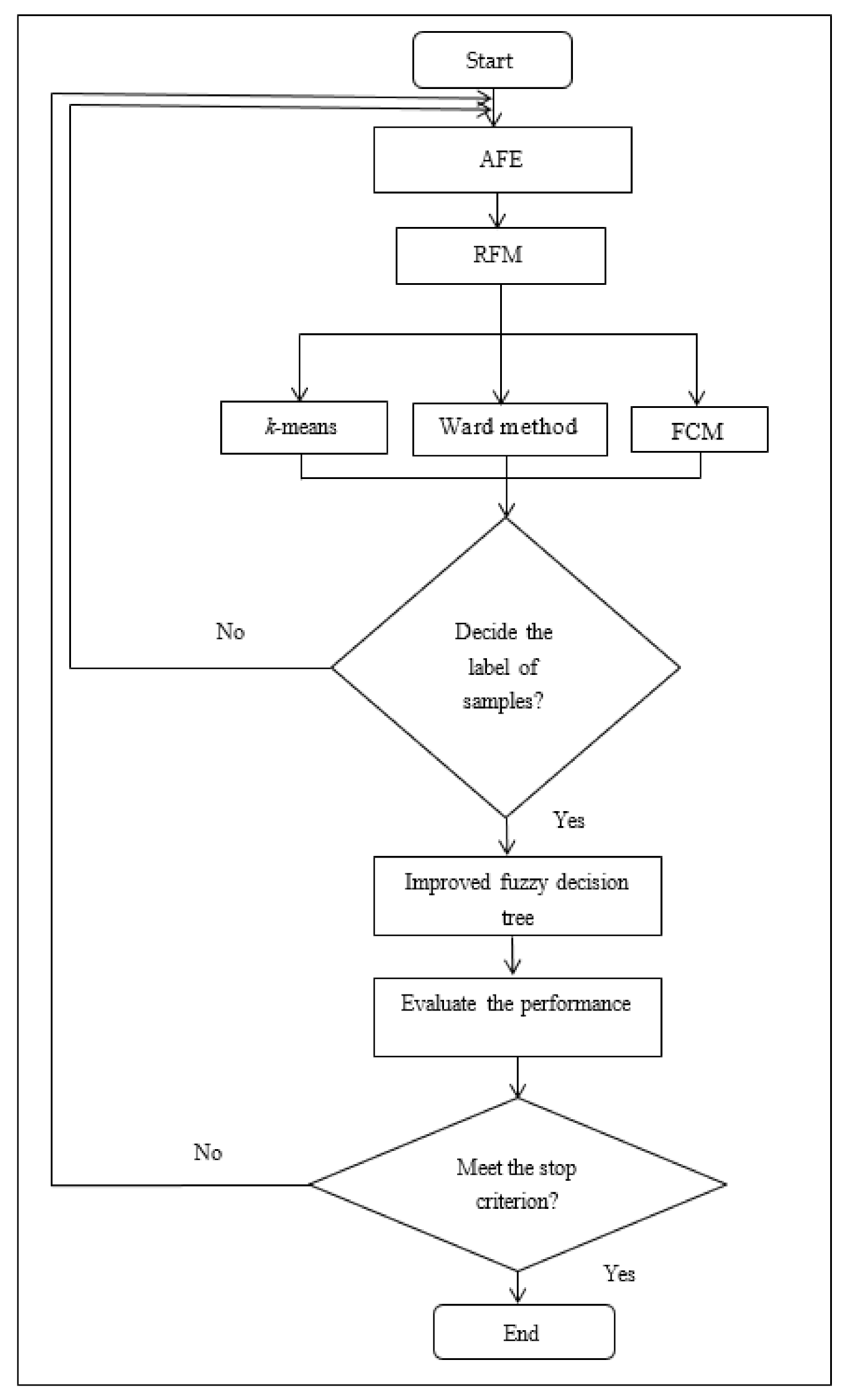
- To use clustering technologies of Wald method, k-means, and FCM, which provides better clustering for customer segmentation.
- The proposed classification algorithm of the improved fuzzy decision tree can ameliorate the classification accuracy and provides decision rules for decision-makers.
- The proposed algorithm integrates the symmetry merit of clustering and classification for machine learning.
- AFE is used to select the useful features and adjust the number of clusters and the value of parameters of the improved fuzzy decision tree.
- Apache Spark provides the distributed environment for these above methods to improve the performance.
- We provide some useful strategies and decision rules for decision-makers.
2. The Related Approaches
2.1. The Introduction of AFE and RFM
2.2. The Introduction of k-Means, Ward Method, and FCM
2.3. The Introduction of the Decision Tree
3. Methods and Data
4. Results and Discussions
- A.
- The proportion of male consumers has increased significantly (23.5%, 2018), but the main consumers are still women (76.5%, 2018).
- B.
- Educational background in 2017 was mainly below high school (54.7%, 2017), but it changed to university in 2018 (64.4%, 2018).
- C.
- Consumers are mostly married (92.0%, 2018).
- D.
- In 2017, the family population was mainly concentrated in seven or more people (66.8%, 2017), but, in 2018, it was replaced by a family of three to four people (54.0%, 2018).
- E.
- In 2017, occupation was dominated by the service industry (63.8%, 2017), but it was scattered in business (40.2%, 2018), service industry (32.0%, 2018), and housewife (21.7%, 2018) in 2018.
- F.
- The income/month is concentrated in the range of CNY 10,000 to 15,000 (30.6%, 2018) and more than CNY 15,000 (53.5%, 2018).
- A.
- In terms of gender, women accounted for the majority in 2017 and 2018 (about 76%).
- B.
- In terms of education background, they are mainly university graduates within the two years.
- C.
- The majority of people are married, but the number of married people has decreased from 82% to 69% from the perspective of marital status from 2017 to 2018.
- D.
- In terms of family population, the family has three to four people (about 50%), followed by more than seven people (about 30%) within two years.
- E.
- In terms of occupation, the largest occupation is housewife, followed by business in 2017 and 2018.
- F.
- From the perspective of family monthly income, this is CNY 5000 to 10,000 in 2017, and more than CNY 15,000 in 2018.
- A.
- The female consumer is the largest proportion (66.52% and 67.14% in 2017 and 2018).
- B.
- Education background is mainly college students (30.92% and 37.66% in 2017 and 2018).
- C.
- The family population is mainly concentrated in three to four people (49.92%, 2017), but 12 people (29.46%, 2018) and more than seven people (28.96%, 2018) have an increasing trend.
- D.
- The monthly income of the family changes from CNY 15,000 to CNY 50,000–10,000 between 2017 and 2018.
- A.
- The largest proportion of consumers is male (67.14%, 2018), but the proportion of female consumers cannot be ignored (32.86% in 2018).
- B.
- Most consumers are married, but there is a decreasing trend (77.38%, 2018)
- C.
- The family population is more than seven people (47.54%, 2017), gradually replaced by more than three to four people (44.07%, 2018)
- D.
- Housewife accounted for the most common job in 2017 and 2018.
- E.
- The income/month of the family is CNY 10,000–15,000 (33.76%, 2018).
5. Conclusions and Suggestions
Author Contributions
Funding
Institutional Review Board Statement
Informed Consent Statement
Data Availability Statement
Acknowledgments
Conflicts of Interest
References
- Lal, R.; Rao, R. Supermarket Competition: The Case of Every Day Low Pricing. Mark. Sci. 1997, 16, 60–80. [Google Scholar] [CrossRef]
- Florack, A.; Egger, M.; Hübner, R. When products compete for consumers attention: How selective attention affects preferences. J. Bus. Res. 2019, 111, 117–127. [Google Scholar] [CrossRef]
- Dospinescu, O.; Anastasiei, B.; Dospinescu, N. Key Factors Determining the Expected Benefit of Customers When Using Bank Cards: An Analysis on Millennials and Generation Z in Romania. Symmetry 2019, 11, 1449. [Google Scholar] [CrossRef] [Green Version]
- Glanz, K.; Chung, A.; Morales, K.H.; Kwong, P.L.; Wiebe, D.; Giordano, D.P.; Brensinger, C.M.; Karpyn, A. The healthy food marketing strategies study: Design, baseline characteristics, and supermarket compliance. Trans. Behav. Med. 2020, 10, 1266–1276. [Google Scholar]
- Cava, W.L.; Moore, J.H. Learning feature engineering for classification. In Proceedings of the Twenty-Sixth International Joint Conference on Artificial Intelligence (IJCAI-17), Melbourne, Australia, 19–25 August 2017; pp. 2312–2314. [Google Scholar]
- Aliyev, M.; Ahmadov, E.; Gadirli, H.; Mammadova, A.; Alasgarov, E. Segmenting Bank Customers via RFM Model and Unsupervised Machine Learning. arXiv 2020, arXiv:2008.08662. [Google Scholar]
- Kabasakal, İ. Customer Segmentation Based On Recency Frequency Monetary Model: A Case Study in E-Retailing. Int. J. Inf. Technol. 2020, 13, 47–56. [Google Scholar]
- Chen, D.; Sain, S.L.; Guo, K. Data mining for the online retail industry: A case study of RFM model-based customer segmentation using data mining. J. Database Mark. Cust. Strat. Manag. 2012, 19, 197–208. [Google Scholar] [CrossRef]
- Gustriansyah, R.; Suhandi, N.; Antony, F. Clustering optimization in RFM analysis Based on k-Means. Indones. J. Electr. Eng. Comput. Sci. 2020, 18, 470–477. [Google Scholar] [CrossRef]
- Rahman, S. Customer Segmentation Using RFM Analysis. 2020. Available online: http://dspace.daffodilvarsity.edu.bd:8080/handle/123456789/5158 (accessed on 17 July 2021).
- Kansal, T.; Bahuguna, S.; Singh, V.; Choudhury, T. Customer segmentation using k-means clustering. In Proceedings of the 2018 International Conference on Computational Techniques, Electronics and Mechanical Systems (CTEMS), Belgaum, India, 21–22 December 2018. [Google Scholar]
- Syakur, M.A.; Khotimah, B.K.; Rochman, E.M.S.; Satoto, B.D. Integration K-Means Clustering Method and Elbow Method for Identification of The Best Customer Profile Cluster. IOP Conf. Series Mater. Sci. Eng. 2018, 336, 012017. [Google Scholar] [CrossRef] [Green Version]
- He, Y.; Cheng, Y. Customer Segmentation and Management of Online Shops Based on RFM Model. In Proceedings of the International Conference on Application of Intelligent Systems in Multi-Modal Information Analytics, Changzhou, China, 18–19 June 2020; Springer: Cham, Switzerland, 2020. [Google Scholar]
- Akbar, Z.; Liu, J.; Latif, Z. Discovering Knowledge by Comparing Silhouettes Using K-Means Clustering for Customer Segmentation. Int. J. Knowl. Manag. 2020, 16, 70–88. [Google Scholar] [CrossRef]
- Anitha, P.; Malini, M.P. RFM model for customer purchase behavior using K-Means algorithm. J. King Saud Univ. Comput. Inf. Sci. 2019; in press. [Google Scholar] [CrossRef]
- Huang, Y.; Zhang, M.; He, Y. Research on improved RFM customer segmentation model based on K-Means algorithm. In Proceedings of the 2020 5th International Conference on Computational Intelligence and Applications (ICCIA), Beijing, China, 19–21 June 2020. [Google Scholar]
- Maryani, I.; Riana, D.; Astuti, R.D.; Ishaq, A.; Pratama, E.A. Customer Segmentation based on RFM model and Clustering Techniques With K-Means Algorithm. In Proceedings of the 2018 Third International Conference on Informatics and Computing (ICIC), Palembang, Indonesia, 17–18 October 2018; pp. 1–6. [Google Scholar] [CrossRef]
- Roshan, Hadi, and Masoumeh Afsharinezhad, The new approach in market segmentation by using RFM model. J. Appl. Res. Ind. Eng. 2017, 4, 259–267.
- Keriven, N.; Tremblay, N.; Traonmilin, Y.; Gribonval, R. Compressive K-means. In Proceedings of the 2017 IEEE International Conference on Acoustics, Speech and Signal Processing (ICASSP), New Orleans, LA, USA, 5–9 March 2017. [Google Scholar]
- Masud, A.; Huang, J.Z.; Wei, C.; Wang, J.; Khan, I.; Zhong, M. I-nice: A new approach for identifying the number of clusters and initial cluster centres. Inf. Sci. 2018, 466, 129–151. [Google Scholar] [CrossRef]
- Shang, W.; Qu, Y.; Zhu, H.; Huang, H.; Lin, Y.; Dong, H. An Adaptive Fuzzy kNN Text Classifier Based on Gini Index Weight. In Proceedings of the 11th IEEE Symposium on Computers and Communications (ISCC’06), Cagliari, Italy, 26–29 June 2006; pp. 448–453. [Google Scholar] [CrossRef]
- Rizvi, S.; Bart, R.; Shakeel, A.K. The role of demographics in online learning: A decision tree based approach. Comput. Educ. 2019, 137, 32–47. [Google Scholar] [CrossRef]
- Lechthaler, B.; Christoph, P.; Frank, M. Objective homogeneity quantification of a periodic surface using the Gini index. Sci. Rep. 2020, 10, 1–17. [Google Scholar] [CrossRef]
- Zhao, G.; Wang, H.; Jia, D.; Wang, Q. Feature Selection of Grey Wolf Optimizer Based on Quantum Computing and Uncertain Symmetry Rough Set. Symmetry 2019, 11, 1470. [Google Scholar] [CrossRef] [Green Version]
- Gao, L.L.; Bien, J.; Witten, D. Selective Inference for Hierarchical Clustering. arXiv 2020, arXiv:2012.02936. [Google Scholar]
- Wei, J.T.; Lin, S.Y.; Wu, H.H. A review of the application of RFM model. Afr. J. Bus. Manag. 2010, 4, 4199–4206. [Google Scholar]
- Dubey, A.K.; Gupta, U.; Jain, S. Comparative Study of K-means and Fuzzy C-means Algorithms on The Breast Cancer Data. Int. J. Adv. Sci. Eng. Inf. Technol. 2018, 8, 18–29. [Google Scholar] [CrossRef]
- Olaru, C.; Wehenkel, L. A complete fuzzy decision tree technique. Fuzzy Sets Syst. 2003, 138, 221–254. [Google Scholar] [CrossRef] [Green Version]
- Lee, Z.-J.; Lee, C.-Y.; Chou, S.-T.; Ma, W.-P.; Ye, F.; Chen, Z. A hybrid system for imbalanced data mining. Microsyst. Technol. 2019, 26, 3043–3047. [Google Scholar] [CrossRef]
- Guo, R.; Zhao, Y.; Zou, Q.; Fang, X.; Peng, S. Bioinformatics applications on Apache Spark. GigaScience 2018, 7, giy098. [Google Scholar] [CrossRef] [PubMed]
- Lee, Z.J.; Lee, C.Y.; Yuan, X.J.; Chu, K.C. Rainfall Forecasting of Landslides Using Support Vector Regression. In Proceedings of the 2020 3rd IEEE International Conference on Knowledge Innovation and Invention (ICKII), Kaohsiung, Taiwan, 21–23 August 2020; pp. 1–3. [Google Scholar]
- Lin, S.-W.; Lee, Z.-J.; Chen, S.-C.; Tseng, T.-Y. Parameter determination of support vector machine and feature selection using simulated annealing approach. Appl. Soft Comput. 2008, 8, 1505–1512. [Google Scholar] [CrossRef]
- Wang, H.; Wang, W.; Xiao, S.; Cui, Z.; Xu, M.; Zhou, X. Improving artificial Bee colony algorithm using a new neighborhood selection mechanism. Inf. Sci. 2020, 527, 227–240. [Google Scholar] [CrossRef]
- Shu, H.; Xiong, P. The Gini index structure and its application for the evaluation of regional balance development in China. J. Clean. Prod. 2018, 199, 668–686. [Google Scholar] [CrossRef]









| Data | Number of Data | Number of Fields |
|---|---|---|
| Customers | 4376 | 9 |
| Transaction logs | 105,170 | 10 |
| Products | 11,171 | 32 |
| Customer Segmentation | Rules |
|---|---|
| High-value customer (#4) | The purchase time is less than 312.5 days, and the transaction amount is more than CNY 2490. |
| The purchase time is more than or equal to 312.5 days, and the transaction amount is more than CNY 2469. | |
| Loyal customer(#1) | The purchase time is less than 312.5 days, the transaction amount is more than or equal to CNY 936.6, and the transaction amount is less than CNY 2490. |
| The purchase time is more than or equal to 312.5 days, the transaction amount is more than or equal to CNY 933, and the transaction amount is less than CNY 2469. | |
| Potential customer(#2) | When the purchase time is less than 312.5 days, the transaction amount is less than CNY 936.6. |
| Lost customer(#3) | When the purchase time is more than or equal to 312.5 days, the transaction amount is less than CNY 933. |
| Customer Segmentation | Number of Customers |
|---|---|
| Loyal customers (#1) | 480 |
| Potential customers (#2) | 1090 |
| Lost customers (#3) | 118 |
| High-value customers (#4) | 2690 |
| Method | Classification Accuracy |
|---|---|
| DT | 85.63% |
| RF | 90.82% |
| KNN | 80.35% |
| BPN | 85.18% |
| The proposed algorithm | 98.49% |
Publisher’s Note: MDPI stays neutral with regard to jurisdictional claims in published maps and institutional affiliations. |
© 2021 by the authors. Licensee MDPI, Basel, Switzerland. This article is an open access article distributed under the terms and conditions of the Creative Commons Attribution (CC BY) license (https://creativecommons.org/licenses/by/4.0/).
Share and Cite
Lee, Z.-J.; Lee, C.-Y.; Chang, L.-Y.; Sano, N. Clustering and Classification Based on Distributed Automatic Feature Engineering for Customer Segmentation. Symmetry 2021, 13, 1557. https://doi.org/10.3390/sym13091557
Lee Z-J, Lee C-Y, Chang L-Y, Sano N. Clustering and Classification Based on Distributed Automatic Feature Engineering for Customer Segmentation. Symmetry. 2021; 13(9):1557. https://doi.org/10.3390/sym13091557
Chicago/Turabian StyleLee, Zne-Jung, Chou-Yuan Lee, Li-Yun Chang, and Natsuki Sano. 2021. "Clustering and Classification Based on Distributed Automatic Feature Engineering for Customer Segmentation" Symmetry 13, no. 9: 1557. https://doi.org/10.3390/sym13091557
APA StyleLee, Z.-J., Lee, C.-Y., Chang, L.-Y., & Sano, N. (2021). Clustering and Classification Based on Distributed Automatic Feature Engineering for Customer Segmentation. Symmetry, 13(9), 1557. https://doi.org/10.3390/sym13091557

