Wire Tension Coordination Control of Electro-Hydraulic Servo Driven Double-Rope Winding Hoisting Systems Using a Hybrid Controller Combining the Flatness-Based Control and a Disturbance Observer
Abstract
1. Introduction
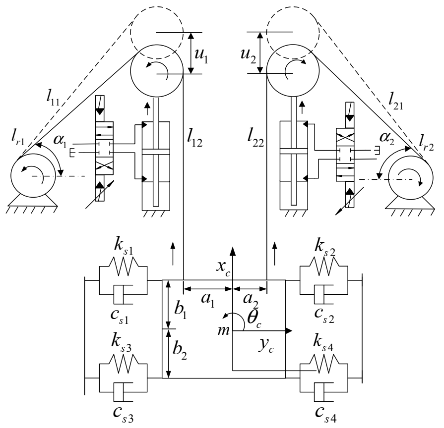
2. Dynamic Model of the DWHS
3. Hybrid Controller Design
3.1. The FBC Design for the Hoisting System
3.2. The DOBIBC Design for the EHSS
3.2.1. The Disturbance Observer
3.2.2. The Integral Backstepping Controller
3.3. Stability of the Overall Closed-Loop System
4. Comparative Experimental Studies
4.1. Experiment Setup of the DWHS
4.2. Comparative Experimental Results
5. Conclusions
- (1)
- According to the dynamic models of the hoist and the EHSS, the overall model of the DWHS is presented and expressed with a state space formulation.
- (2)
- According to the state representation of the hoisting system, the FBC for hoisting system is presented. As well, in order to compensate the constant disturbance of the hoisting system, an integral of the system angle state is define and utilized in the FBC controller design. According to the state representation of the EHSS and the disturbance observer, the DOBIBC design is explicitly presented and the virtual control law in each step controller design is analyzed. Finally, the stability of the overall closed loop is proved.
- (3)
- The experimental setup is expressed to indicate the efficiency of the proposed hybrid control method. Comparative experiment results illustrate that the hybrid control method make a better work on decreasing the tension difference of two wire ropes than that of the conventional PI controller, which guarantees the safety of the DWHS.
- 1)
- Develop more hybrid controllers combining different controllers for the hoisting system and the EHSS. Study control characteristics of the hoisting system and the EHSS furtherly so that we can develop corresponding different controllers to improve the coordination of two tensions;
- 2)
- Establish the force control model of two wire ropes adjusted by two hydraulic cylinders, consequently, based on the model, we can design different controllers to coordinate two tensions;
- 3)
- To reduce the number of attached sensors for simplifying control system hardware, it is interesting to take velocity or pressure sensorless control based on several types of observer into consideration for the energy saving with performance tradeoff;
- 4)
- Based on these research results, we can develop different controllers for tension coordination control of multi-rope friction hoisting systems (generally four wire ropes or six wire ropes).
Author Contributions
Funding
Institutional Review Board Statement
Informed Consent Statement
Data Availability Statement
Conflicts of Interest
Appendix A
References
- Li, X.; Zhu, Z.C.; Shen, G. A switching-type controller for wire rope tension coordination of electro-hydraulic-controlled double-rope winding hoisting systems. Proc. Inst. Mech. Eng. Part I J. Syst. Control Eng. 2016, 230, 1126–1144. [Google Scholar] [CrossRef]
- Carbogno, A. Mine hoisting in deep shafts in the 1st half of 21st Century. Acta Montan. Slov. 2002, 7, 188–192. [Google Scholar]
- Zhu, Z.C.; Li, X.; Shen, G.; Zhu, W.D. Wire rope tension control of hoisting systems using a robust nonlinear adaptive backstepping control scheme. ISA Trans. 2018, 72, 256–272. [Google Scholar] [CrossRef] [PubMed]
- Ye, Y.; Yin, C.B.; Gong, Y.; Zhou, J.J. Position control of nonlinear hydraulic system using an improved PSO based PID controller. Mech. Syst. Signal Process. 2017, 83, 241–259. [Google Scholar] [CrossRef]
- De Luca, A. Decoupling and feedback linearization of robots with mixed rigid/elastic joints. Int. J. Robust Nonlinear Control 2015, 8, 965–977. [Google Scholar] [CrossRef]
- Choi, Y.S.; Choi, H.H.; Jung, J.W. Feedback linearization direct torque control with reduced torque and flux ripples for IPMSM drives. IEEE Trans. Power Electron. 2015, 31, 3728–3737. [Google Scholar] [CrossRef]
- de Jesús Rubio, J. Robust feedback linearization for nonlinear processes control. ISA Trans. 2018, 74, 155–164. [Google Scholar] [CrossRef]
- Kumar, P.R.; Chalanga, A.; Bandyopadhyay, B. Smooth integral sliding mode controller for the position control of Stewart platform. ISA Trans. 2015, 58, 543–551. [Google Scholar] [CrossRef]
- Asad, M.; Bhatti, A.I.; Iqbal, S.; Asfia, Y. A smooth integral sliding mode controller and disturbance estimator design. Int. J. Control Autom. Syst. 2015, 13, 1326–1336. [Google Scholar] [CrossRef]
- Jitendra, K.; Vineet, K.; Kps, R. Design of robust fractional order fuzzy sliding mode pid controller for two-link robotic manipulator system. J. Intell. Fuzzy Syst. 2018, 35, 5301–5315. [Google Scholar]
- Rubio, J.D.J. Hybrid controller with observer for the estimation and rejection of disturbances. ISA Trans. 2016, 65, 445–455. [Google Scholar] [CrossRef]
- Liu, H.; Li, D.; Xi, J.; Zhong, Y. Robust attitude controller design for miniature quadrotors. Int. J. Robust Nonlinear Control 2016, 26, 681–696. [Google Scholar] [CrossRef]
- Sanz, R.; Garcia, P.; Albertos, P.; Zhong, Q.C. Robust controller design for input-delayed systems using predictive feedback and an uncertainty estimator. Int. J. Robust Nonlinear Control 2017, 27, 1826–1840. [Google Scholar] [CrossRef]
- Shi, X.; Williams, S.; Chatzis, N. A robust algorithm to test the observability of large linear systems with unknown parameters. Mechal. Syst. Signal Process. 2021, 157, 107633. [Google Scholar] [CrossRef]
- Rubio, J.D.J.; Ochoa, G.; Mújica-Vargas, D.; García, E.; Balcazar, R.; Elias, I.; Cruz, D.R.; Juarez, C.F.; Aguilar, A.; Novoa, J.F. Structure regulator for the perturbations attenuation in a quadrotor. IEEE Access 2019, 7, 138244–138252. [Google Scholar] [CrossRef]
- Liu, Y.J.; Lu, S.; Li, D.; Tong, S. Adaptive controller design-based ABLF for a class of nonlinear time-varying state constraint systems. IEEE Trans. Syst. Man Cybern. Syst. 2016, 47, 1546–1553. [Google Scholar] [CrossRef]
- Li, Z.; Chen, Z.; Fu, J.; Sun, C. Direct adaptive controller for uncertain MIMO dynamic systems with time-varying delay and dead-zone inputs. Automatica 2016, 63, 287–291. [Google Scholar] [CrossRef]
- Chen, X.; Zhu, Z.; Shen, G.; Li, W. Tension coordination control of double-rope winding hoisting system using hybrid learning control scheme. Proc. Inst. Mech. Eng. Part I J. Syst. Control Eng. 2019, 233, 1265–1281. [Google Scholar] [CrossRef]
- Hoshyar, M.; Mola, M. Full adaptive integral backstepping controller for interior permanent magnet synchronous motors. Asian J. Control 2018, 20, 768–779. [Google Scholar] [CrossRef]
- Adekanle, O.; Guisser, M.; Abdelmounim, E.; Aboulfatah, M. Integral Backstepping controller combined with High Gain Observer for the optimization of grid-connected Doubly-Fed Induction Generator. In Proceedings of the 2017 International Conference on Wireless Technologies, Embedded and Intelligent Systems (WITS), Fez, Morocco, 19–20 April 2017; pp. 1–7. [Google Scholar]
- Herzig, N.; Moreau, R.; Redarce, T.; Abry, F.; Brun, X. Nonlinear position and stiffness Backstepping controller for a two Degrees of Freedom pneumatic robot. Control Eng. Pract. 2018, 73, 26–39. [Google Scholar] [CrossRef]
- Jia, Z.; Yu, J.; Mei, Y.; Chen, Y.; Shen, Y.; Ai, X. Integral backstepping sliding mode control for quadrotor helicopter under external uncertain disturbances. Aerosp. Sci. Technol. 2018, 68, 299–307. [Google Scholar] [CrossRef]
- Nikdel, N.; Badamchizadeh, M.A.; Azimirad, V.; Nazari, M.A. Adaptive backstepping control for an n-degree of freedom robotic manipulator based on combined state augmentation. Robot. Comput. Integr. Manuf. 2017, 44, 129–143. [Google Scholar] [CrossRef]
- Fliess, M.; Lévine, J.; Martin, P.; Rouchon, P. Flatness and defect of non-linear systems: Introductory theory and examples. Int. J. Control 1995, 61, 1327–1361. [Google Scholar] [CrossRef]
- Kim, W.; Won, D.; Tomizuka, M. Flatness-based nonlinear control for position tracking of electrohydraulic systems. IEEE/ASME Trans. Mechatron. 2015, 20, 197–206. [Google Scholar] [CrossRef]
- Zheng, D.; Xu, H. Adaptive backstepping-flatness control based on an adaptive state observer for a torque tracking electrohydraulic system. IEEE/ASME Trans. Mechatron. 2016, 21, 2440–2452. [Google Scholar] [CrossRef]
- Houari, A.; Renaudineau, H.; Martin, J.P.; Pierfederici, S.; Meibody-Tabar, F. Flatness-based control of three-phase inverter with output LC filter. IEEE Trans. Ind. Electron. 2012, 59, 2890–2897. [Google Scholar] [CrossRef]
- Rodriguez-Fortun, J.M.; Orus, J.; Alfonso, J.; Gimeno, F.B.; Castellanos, J.A. Flatness-based active vibration control for piezoelectric actuators. IEEE/ASME Trans. Mechatron. 2013, 18, 221–229. [Google Scholar] [CrossRef]
- Zang, W.; Shen, G.; Rui, G.; Li, X.; Li, G.; Tang, Y. A flatness-based nonlinear control scheme for wire tension control of hoisting systems. IEEE Access 2019, 7, 146428–146442. [Google Scholar] [CrossRef]
- Zolfaghari, M.; Abedi, M.; Gharehpetian, G.B.; Guerrero, J.M. Flatness-Based Decentralized Control of Bidirectional Interlink Power Converters in Grid-Connected Hybrid Microgrids Using Adaptive High-Gain PI-Observer. IEEE Syst. J. 2021, 15, 478–486. [Google Scholar] [CrossRef]
- Jing, C.; Xu, H.; Song, X.; Lu, B. Adaptive extended state observer-based flatness nonlinear output control for torque tracking of electrohydraulic loading system. Trans. Inst. Meas. Control 2018, 40, 2999–3009. [Google Scholar] [CrossRef]
- Won, D.; Kim, W.; Shin, D.; Chung, C.C. High-gain disturbance observer-based backstepping control with output tracking error constraint for electro-hydraulic systems. IEEE Trans. Control Syst. Technol. 2014, 23, 787–795. [Google Scholar] [CrossRef]
- Guo, K.; Wei, J.; Fang, J.; Feng, R.; Wang, X. Position tracking control of electro-hydraulic single-rod actuator based on an extended disturbance observer. Mechatronics 2015, 27, 47–56. [Google Scholar] [CrossRef]
- Tian, D.; Xu, R.; Sariyildiz, E.; Gao, H. An Adaptive Switching-Gain Sliding-Mode-Assisted Disturbance Observer for High-Precision Servo Control. IEEE Trans. Ind. Electron. 2021. [Google Scholar] [CrossRef]
- Won, D.; Kim, W.; Tomizuka, M. High-gain-observer-based integral sliding mode control for position tracking of electrohydraulic servo systems. IEEE/ASME Trans. Mechatron. 2017, 22, 2695–2704. [Google Scholar] [CrossRef]
- Guo, Q.; Yu, T.; Jiang, D. High-gain observer-based output feedback control of single-rod electro-hydraulic actuator. IET Control Theory Appl. 2015, 9, 2395–2404. [Google Scholar] [CrossRef]
- Chen, F.; Lei, W.; Zhang, K.; Tao, G.; Jiang, B. A novel nonlinear resilient control for a quadrotor UAV via backstepping control and nonlinear disturbance observer. Nonlinear Dyn. 2016, 85, 1281–1295. [Google Scholar] [CrossRef]
















| Structural Parameters/Unit | Values |
|---|---|
| Height of the experiment setup/m | 7 |
| Length of the flexible guide/m | 6 |
| Width of the experiment setup/m | 3.4 |
| Length of the experiment setup/m | 4.4 |
| Weight of the conveyance/Kg | 200 |
| Size of the weight stacks/m | 0.375 × 0.375 × 0.125 |
| Parameters | Values | Parameters | Values | Parameters | Values |
|---|---|---|---|---|---|
| Ap | 1.88 × 10−3 m2 | mc | 200 kg | Bp | 25,000 N(m/s) |
| b1 | 0.0625 m | b2 | 0.0625 m | a1 | 0.1575 m |
| a2 | 0.1575 m | Vt | 0.96 × 10−3 m3 | Ctl | 4.6 × 10−17 m3/s/Pa |
| △Pr | 6 × 106 Pa | umax | 10 V | Ic | 3.307 kg·m2 |
| Kc | 2 × 10−12 m3/s/Pa | Ps | 15 × 106 Pa | ρ | 0.417 kg/m |
| Ksv | 4 m3/s/A | Qr | 38 L/min | βe | 6.9 × 108 Pa |
| l120, l220 | 6 m |
| The PI Controller | |||
|---|---|---|---|
| The hoisting system | The EHSS | ||
| Kp | 0.15 | Ksp | 17 |
| KI | 0.5 | KsI | 0 |
| The Hybrid Controller | |||
| The hoisting system The FBC | The EHSS The DOBIBC | ||
| k1 | 25 | kp | 1600 |
| k2 | 3 × 107 | kI | 15 |
| k3 | 1.7 × 105 | k4 | 1000 |
| k5 | 1000 | ||
| b | 20 | ||
| Controllers | Peak Error | RMSE |
|---|---|---|
| The counterclockwise rotation angle | ||
| The PI controller | 1.58° | 0.4863 |
| The hybrid controller | 0.85° | 0.1067 |
| The tension difference | ||
| The PI controller | 207.93 N | 36.7085 |
| The hybrid controller | 177.14 N | 25.5525 |
Publisher’s Note: MDPI stays neutral with regard to jurisdictional claims in published maps and institutional affiliations. |
© 2021 by the authors. Licensee MDPI, Basel, Switzerland. This article is an open access article distributed under the terms and conditions of the Creative Commons Attribution (CC BY) license (https://creativecommons.org/licenses/by/4.0/).
Share and Cite
Li, X.; Zhu, Z.; Shen, G.; Tang, Y. Wire Tension Coordination Control of Electro-Hydraulic Servo Driven Double-Rope Winding Hoisting Systems Using a Hybrid Controller Combining the Flatness-Based Control and a Disturbance Observer. Symmetry 2021, 13, 716. https://doi.org/10.3390/sym13040716
Li X, Zhu Z, Shen G, Tang Y. Wire Tension Coordination Control of Electro-Hydraulic Servo Driven Double-Rope Winding Hoisting Systems Using a Hybrid Controller Combining the Flatness-Based Control and a Disturbance Observer. Symmetry. 2021; 13(4):716. https://doi.org/10.3390/sym13040716
Chicago/Turabian StyleLi, Xiang, Zhencai Zhu, Gang Shen, and Yu Tang. 2021. "Wire Tension Coordination Control of Electro-Hydraulic Servo Driven Double-Rope Winding Hoisting Systems Using a Hybrid Controller Combining the Flatness-Based Control and a Disturbance Observer" Symmetry 13, no. 4: 716. https://doi.org/10.3390/sym13040716
APA StyleLi, X., Zhu, Z., Shen, G., & Tang, Y. (2021). Wire Tension Coordination Control of Electro-Hydraulic Servo Driven Double-Rope Winding Hoisting Systems Using a Hybrid Controller Combining the Flatness-Based Control and a Disturbance Observer. Symmetry, 13(4), 716. https://doi.org/10.3390/sym13040716

