Dynamic Constitutive Model Analysis of High Parameter Steel Fiber Reinforced Concrete
Abstract
:1. Introduction
2. Dynamic Constitutive Model Analysis of High Parameter Steel Fiber Reinforced Concrete
2.1. Dynamic Constitutive Model Built by Static Force
2.2. Building of HJC Constitutive Model
2.3. Modified HJC Constitutive Model for High Parameter Steel Fiber Reinforced Concrete
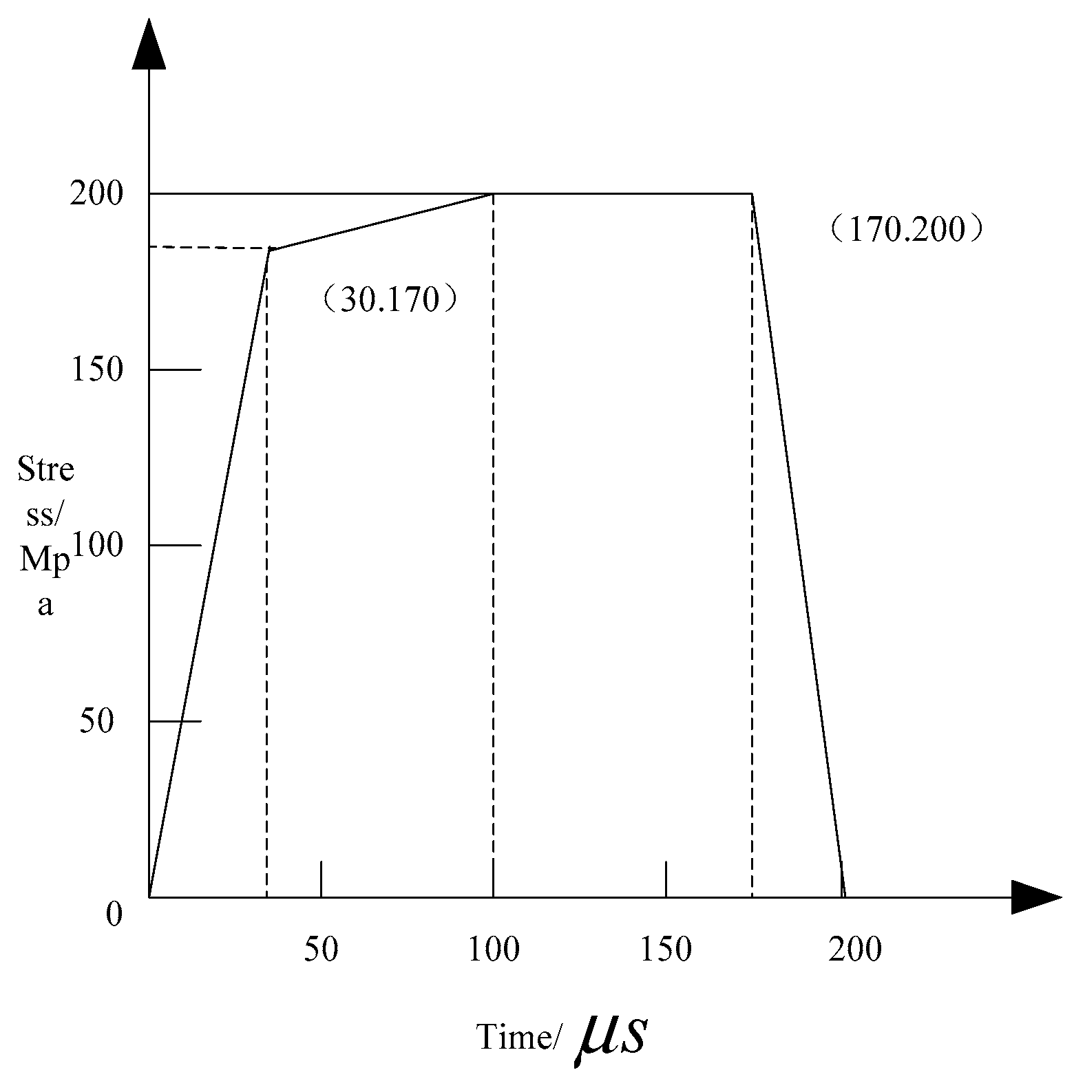
3. Experimental Analysis
3.1. Constitutive Model Unit Test
3.2. Response of Simple-Supported Beam Under Impact Load
3.3. Numerical Simulation of SHPB Test Process
4. Conclusions
Funding
Conflicts of Interest
References
- Anastassova, N.O.; Mavrova, A.T.; Yancheva, D.Y.; Kondeva-Burdina, M.S.; Tzankova, V.I.; Stoyanov, S.S.; Shivachev, B.L.; Nikolova, R.P. Hepatotoxicity and antioxidant activity of some new N,N’-disubstituted benzimidazole-2-thiones, radical scavenging mechanism and structureactivity relationship. Arabian J. Chem. 2018, 11, 353–369. [Google Scholar] [CrossRef]
- Asadi, H.; Bodaghi, M.; Shakeri, M.; Aghdam, M.M. Nonlinear dynamics of SMA-fiber-reinforced composite beams subjected to a primary/secondary-resonance excitation. Acta Mech. 2015, 226, 437–455. [Google Scholar] [CrossRef]
- Calabrese, A.; Serino, G.; Strano, S.; Terzo, M. Experimental investigation of a low-cost elastomeric anti-seismic device using recycled rubber. Meccanica 2015, 50, 2201–2218. [Google Scholar] [CrossRef]
- Chagnon, G.; Rebouah, M.; Favier, D. Hyperelastic energy densities for soft biological tissues: A review. J. Elast. 2015, 120, 129–160. [Google Scholar] [CrossRef]
- Danby, A.M.; Lundin, M.D.; Subramaniam, B. Valorization of grass lignins: Swift and selective recovery of pendant aromatic groups with ozone. ACS Sustain. Chem. Eng. 2018, 6, 71–76. [Google Scholar] [CrossRef]
- Daniel, I.M.; Cho, J.M.; Werner, B.T.; Fenner, J.S. Characterization and constitutive modeling of composite materials under static and dynamic loading. AIAA J. 2015, 49, 1658–1664. [Google Scholar] [CrossRef]
- Gao, D.; Chen, G.; Hadi, M.N.S.; Wang, W.; Li, C. Bond-slip behavior and constitutive model between rebar and steel fibre reinforced concrete. Jianzhu Jiegou Xuebao/J. Build. Struct. 2015, 36, 132–139. [Google Scholar]
- Ge, S.; Liu, Z.; Furuta, Y.; Peng, W. Characteristics of activated carbon remove sulfur particles against smog. Saudi J. Biol. Sci. 2017, 24, 1370–1374. [Google Scholar] [CrossRef] [PubMed]
- Gholampour, A.; Ozbakkaloglu, T. Finite element analysis of constitutive behavior of FRP-Confined steel fiber reinforced concrete. Key Eng. Mater. 2017, 737, 511–516. [Google Scholar] [CrossRef]
- Hao, X.; Liu, Y.D. Strength of concrete filled steel tube under fatigue load prediction model simulation analysis. Comput. Simul. 2017, 34, 361–364. [Google Scholar]
- Ju, H.; Kang, S.K.; Lee, D.H.; Hwang, J.-H.; Choi, S.-H.; Oh, Y.-H. Torsional responses of steel fiber-reinforced concrete members. Compos. Struct. 2015, 129, 143–156. [Google Scholar] [CrossRef]
- Kong, X.; Yong, Q.U.; Zou, D.; Zhang, Y.; Yu, X. Numerical analysis of seismic performance of steel fiber reinforced concrete face rockfill dam. J. Hydraul. Eng. 2016, 47, 841–849. [Google Scholar]
- Li, T.; Fan, D.; Lu, L.; E, J.C.; Zhao, F.; Qi, M.L.; Sun, T.; Fezzaa, K.; Xiao, X.H.; Zhou, X.M.; et al. Dynamic fracture of C/SiC composites under high strain-rate loading: Microstructures and mechanisms. Carbon 2015, 91, 468–478. [Google Scholar] [CrossRef]
- Lu, X.; Li, Y.; Guan, H.; Yang, M. Progressive collapse analysis of a typical super-tall reinforced concrete frame-core tube building exposed to extreme fires. Fire Technol. 2016, 53, 1–27. [Google Scholar] [CrossRef]
- Martinez Meza, R.G.; Certucha Barragan, M.T.; Zavala Rivera, P. Removal of iron and manganese from a contaminated effluent using a chelating resin. Revista Internacional De Contaminacion Ambiental 2017, 33, 55–63. [Google Scholar]
- Mehrpay, S.; Jalali, R.S. Strain rate effect in the mesoscopic modeling of high-strength steel fiber-reinforced concrete. Sci. Iran. 2017, 24, 512–525. [Google Scholar] [CrossRef]
- Mobasher, B.; Yao, Y.; Soranakom, C. Analytical solutions for flexural design of hybrid steel fiber reinforced concrete beams. Eng. Struct. 2015, 100, 164–177. [Google Scholar] [CrossRef]
- Moreno-Fernandez, S.; Garces-Rimon, M.; Gonzalez, C.; Uranga, J.A.; López-Miranda, V.; Vera, G.; Miguel, M. Pepsin egg white hydrolysate ameliorates metabolic syndrome in high-fat/high-dextrose fed rats. Food Funct. 2018, 9, 78–86. [Google Scholar] [CrossRef]
- Orif, M.; El-Maradny, A. Bio-accumulation of polycyclic aromatic hydrocarbons in the grey mangrove (avicennia marina) along Arabian gulf, Saudi coast. Open Chem. 2018, 16, 340–348. [Google Scholar] [CrossRef]
- Othman, H.; Marzouk, H. Applicability of damage plasticity constitutive model for ultra-high performance fibre-reinforced concrete under impact loads. Int. J. Impact Eng. 2018, 114, 20–31. [Google Scholar] [CrossRef]
- Peng, W.; Li, D.; Zhang, M.; Ge, S.; Mo, B.; Li, S.; Ohkoshi, M. Characteristics of antibacterial molecular activities in poplar wood extractives. Saudi J. Biol. Sci. 2017, 24, 399–404. [Google Scholar] [CrossRef] [PubMed]
- Pivoto, D.; Waquil, P.D.; Talamini, E.; Pauletto, C.; Finocchio, S.; Francisco, V.; Corte, D.; de Vargas, M.G. Scientific development of smart farming technologies and their application in Brazil. Inf. Process. Agric. 2018, 5, 21–32. [Google Scholar] [CrossRef]
- Prem, P.R.; Bharatkumar, B.H.; Murthy, A.R. Influence of curing regime and steel fibres on the mechanical properties of UHPC. Mag. Concr. Res. 2015, 67, 1–15. [Google Scholar] [CrossRef]
- Spacone, E.; Filippou, F.C.; Taucer, F.F. Fibre beam–column model for non-linear analysis of r/c frames: Part I, formulation. Earthq. Eng. Struct. Dyn. 2015, 25, 711–725. [Google Scholar] [CrossRef]
- Sucharda, O.; Konecny, P.; Kubosek, J.; Ponikiewski, T.; Done, P. Finite element modelling and identification of the material properties of fibre concrete. Procedia Eng. 2015, 109, 234–239. [Google Scholar] [CrossRef]
- Tomczyk, L.; Szablewski, T.; Cegielska-Radziejewska, R.; Lewko, L.; Konieczny, P. An assessment of the influence of silver stabilized hydrogen peroxide on the eggshell condition. Emir. J. Food Agric. 2018, 30, 131–136. [Google Scholar]
- Valoroso, N.; Marmo, F.; Sessa, S. A novel shell element for nonlinear pushover analysis of reinforced concrete shear walls. Bull. Earthq. Eng. 2015, 13, 2367–2388. [Google Scholar] [CrossRef]
- Vu, V.D.; Sheikh, A.H.; Nguyen, G.D.; Shen, L. A kinematically enhanced constitutive model for elastic and inelastic analysis of unidirectional fibre reinforced composite materials. Int. J. Mech. Sci. 2017, 126, 171–185. [Google Scholar] [CrossRef]
- Wang, J.; Tong, L.; Karihaloo, B.L. A bridging law and its application to the analysis of toughness of carbon nanotube-reinforced composites and pull-out of fibres grafted with nanotubes. Arch. Appl. Mech. 2016, 86, 361–373. [Google Scholar] [CrossRef]
- Wani, S.A.; Najar, G.R.; Akhter, F. Characterization of available nutrients that influence pear productivity and quality in Jammu & Kashmir, India. J. Environ. Biol. 2018, 39, 37–41. [Google Scholar]











| Fiber Content (%) | CF60 | CF80 | CF100 | |||||||||
|---|---|---|---|---|---|---|---|---|---|---|---|---|
| 0 | 2 | 4 | 6 | 0 | 2 | 4 | 6 | 0 | 2 | 4 | 6 | |
| 4 | 5.01 | 6.28 | 9.16 | 3.82 | 4.93 | 6.31 | 9.06 | 4.57 | 5.04 | 6.17 | 9.23 | |
| 4.3 | 3.58 | 2.31 | 1.79 | 4.44 | 3.66 | 2.28 | 1.89 | 4.63 | 3.55 | 2.42 | 1.73 | |
| Steel Fiber Content (%) | Mid-Span Deflection (mm) | ||
|---|---|---|---|
| HJC Model | Model of This Paper | ANN Model | |
| 0 | 0.025 | 0.025 | 0.026 |
| 1 | — | 0.022 | 0.024 |
| 2 | — | 0.018 | 0.021 |
© 2019 by the author. Licensee MDPI, Basel, Switzerland. This article is an open access article distributed under the terms and conditions of the Creative Commons Attribution (CC BY) license (http://creativecommons.org/licenses/by/4.0/).
Share and Cite
Luo, D. Dynamic Constitutive Model Analysis of High Parameter Steel Fiber Reinforced Concrete. Symmetry 2019, 11, 377. https://doi.org/10.3390/sym11030377
Luo D. Dynamic Constitutive Model Analysis of High Parameter Steel Fiber Reinforced Concrete. Symmetry. 2019; 11(3):377. https://doi.org/10.3390/sym11030377
Chicago/Turabian StyleLuo, Dong. 2019. "Dynamic Constitutive Model Analysis of High Parameter Steel Fiber Reinforced Concrete" Symmetry 11, no. 3: 377. https://doi.org/10.3390/sym11030377
APA StyleLuo, D. (2019). Dynamic Constitutive Model Analysis of High Parameter Steel Fiber Reinforced Concrete. Symmetry, 11(3), 377. https://doi.org/10.3390/sym11030377
