Research on Strategy Optimization of Green Agricultural Production Trusteeship to Promote Black Land Protection
Abstract
1. Introduction
2. Literature Review
2.1. Research on Green Agricultural Production
2.2. Research on Black Land Protection
2.3. Research on the Relationship between Black Land Protection and Green Agricultural Production Trusteeship
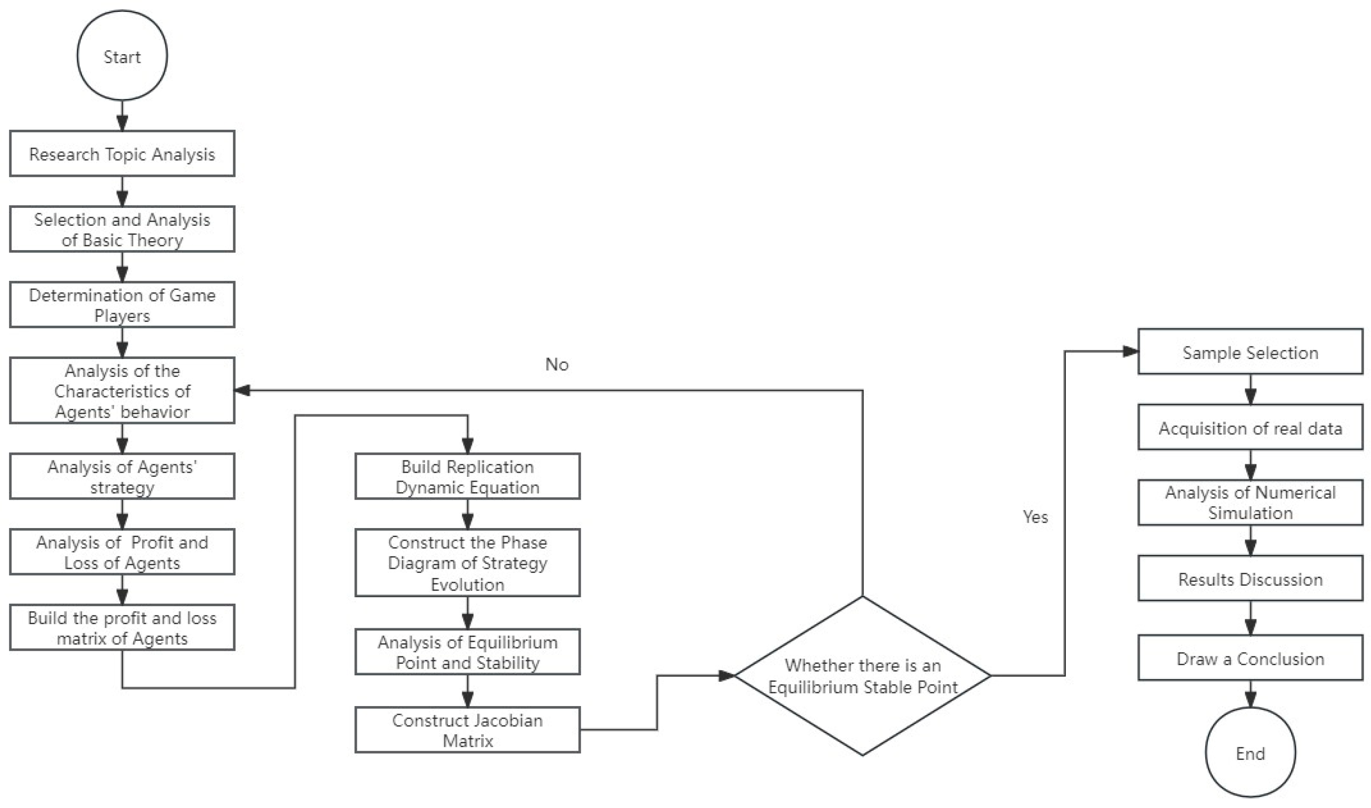
3. Theoretical Basis and Hypothesis of Tripartite Evolutionary Game Model
3.1. Agents Description
3.2. Model Assumptions
3.3. Model Parameters
3.3.1. Relevant Benefits of Governments Are Assumed as Follows
3.3.2. Relevant Benefits of Service Organizations Are Assumed as Follows
3.3.3. Relevant Benefits of Farmers Are Assumed as Follows
4. Result
4.1. Equilibrium Analysis of Tripartite Evolutionary Game Model
4.1.1. Replication Dynamic Equation Analysis of Governments
- (1)
- When y = , this means that governments are in a balanced state regardless of whether they adopt the strategy of APG or NPG, but governments cannot form a stable strategy [63] due to |x=0 or x=1 = 0.
- (2)
- When y ≠ , x = 0 or x = 1 may be an evolutionary stable strategy (ESS).
- (3)
- When y and |x=1 0, x = 1 is the governments’ ESS.
- (4)
- When y and |x=0 0, x = 0 is the governments’ ESS.
4.1.2. Replication Dynamic Equation Analysis of Service Organizations
- (1)
- When z = , this means that service organizations are in a balanced state regardless of whether it adopts the strategy of PGT or PCT, but service organizations cannot form a stable strategy due to |y=0 or y=1 = 0.
- (2)
- When z ≠ , y = 0 or y = 1 may be the ESS.
- (3)
- When z and |y=1 0, y = 1 is the service organizations’ ESS.
- (4)
- When z and |y=0 0, y = 0 is the service organizations’ ESS.
4.1.3. Replication Dynamic Equation Analysis of Farmers
4.2. Stability Analysis of Evolutionary Equilibrium Point
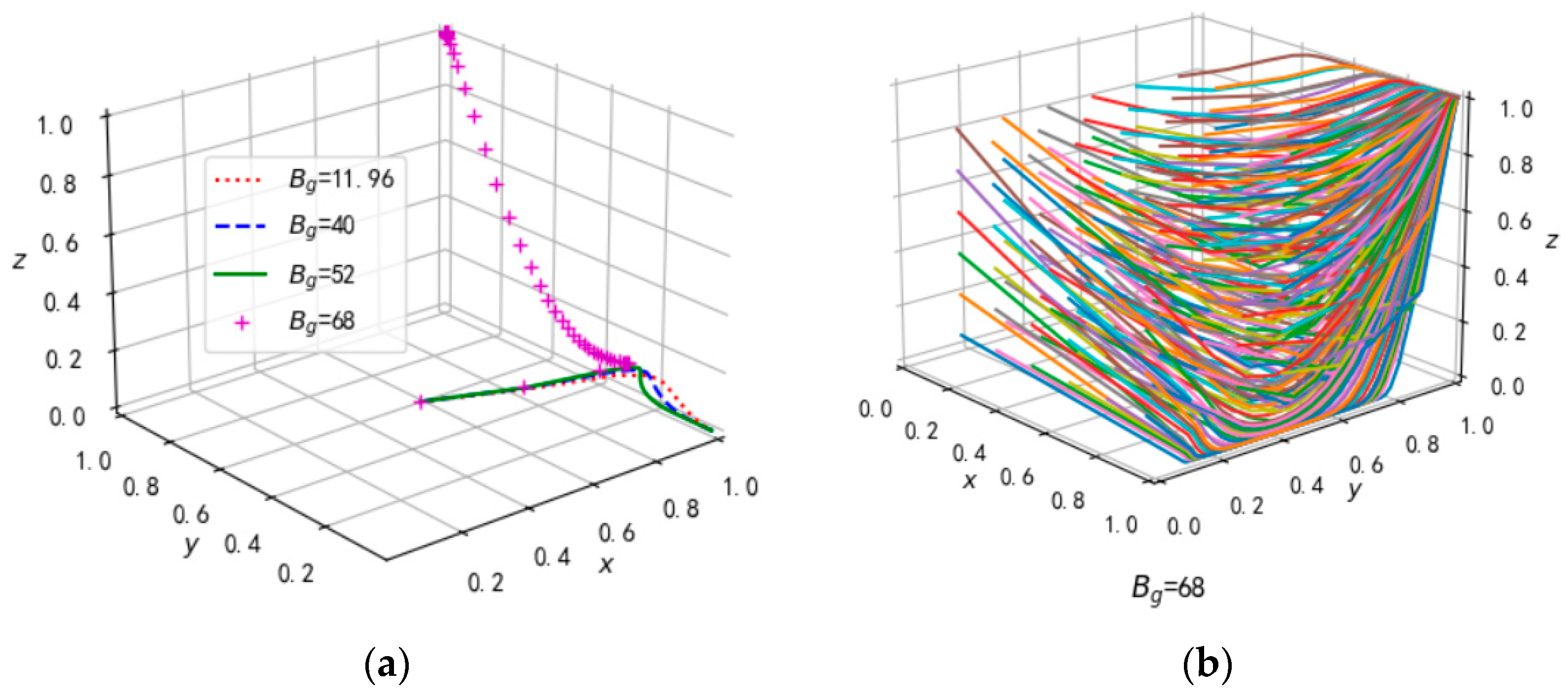
4.3. Simulation Analysis
4.3.1. Evaluation of Implementation Effect of Initial Strategy
4.3.2. Sensitivity Analysis
Impact of Special Subsidy
Common Influence of the Total Cost of , and of Service Organizations
Common Impact of Farmers’ Subsidy and Administrative Penalty
The Cost of Self-Planting of Green Agriculture Production , Farmers’ Subsidy and Administrative Penalty
5. Discussion
6. Conclusions
6.1. Findings
- (1)
- From the theoretical analysis and numerical simulation, it can be seen that there are two different models of agricultural production in Northeast China at this stage: the coexistence of the traditional agricultural production model and green agricultural production. Under different initial strategies, on one hand, a part of the strategy sets with a low initial proportion eventually evolves into a non-ideal state in which governments actively promote the green agricultural production trusteeship to protect black land, and service organizations and farmers jointly choose the traditional agricultural production model to maximize profits. On the other hand, a part of the strategy sets with a high initial proportion eventually evolves into a state in which the tripartite agents jointly realize green agricultural production. Under the strategy sets of each initial proportion, governments always adopt the strategy of actively promoting green agricultural production trusteeship to protect black land. For regions with a poor awareness of green agricultural production trusteeship, governments need to balance fiscal expenditure and administrative punishment and strengthen the guidance for service organizations and farmers to promote the wide application of the whole trusteeship of green agricultural production.
- (2)
- Through the simulation and analysis of key factors under different conditions, the following conclusions can be drawn: (1) In areas with a poor awareness of green agricultural production trusteeship, governments lack incentives for providing a special subsidy to service organizations and lack constraints on administrative penalties for farmers’ excessive reclamation of black land. Therefore, in regions where the awareness of green agricultural production trusteeship is poor, the government subsidy for green farmers should be maintained at 112 CNY/mu, and administrative penalties for non-green farmers for the over-cultivation of black land should be increased to a level above 80 CNY/mu. The increase in penalty is effective in promoting black land protection and raising farmers’ awareness of green agricultural production trusteeship. (2) Due to the relatively high total cost of the whole trusteeship of green agricultural production, the green technology of service organizations lacks competitiveness. Reducing the total cost of trusteeships is the most direct and effective way for service organizations to promote green agricultural production trusteeship. Therefore, service organizations should control the production cost of trusteeships at 329 CNY/mu. (3) Governments need to strengthen their communication and cooperation with service organizations and increase the special subsidies given to service organizations, especially with regard to the introduction of green agricultural machinery from abroad and self-research. The special subsidy allocated by governments to service organizations should be maintained at 68 CNY/mu, which can effectively increase the incentive for service organizations to move into rural areas to carry out the promotion of the whole trusteeship of green agricultural production services, which promotes the awareness of green agricultural production trusteeship among farmers.
6.2. Recommendations
- (1)
- Governments are the promoter of the promulgation and implementation of the green agricultural production trusteeship policy. (1) Governments should join the village committees together to establish green agricultural production trusteeship propaganda points in rural areas, organize regular lectures on the development of green agricultural production for farmers and help them to form a view of the harmonious development of human beings and nature. (2) Governments and village committees should jointly lead farmers to arrange reasonable field crop rotation according to different planting models and rotation fallow systems and order green agricultural production trusteeship services, forming a new green agricultural cultivation model of “low input, high output”.
- (2)
- Service organizations are important hubs between government policies to promote green agricultural development and farmers’ implementation of green agricultural production trusteeship. In order to respond to the policy and promote the whole trusteeship of green agricultural production, service organizations should take the following measures: (1) regularly carry out green production technology forums to enhance the professionalism of the relevant technical personnel, which will help to rationally improve the green agricultural production process; (2) actively carry out work to promote the whole trusteeship of green agricultural production, take the initiative to open green agricultural production model publicity lectures and strengthen communication with farmers and form strategic partnerships; and (3) regularly inspect aging and dilapidated production facilities and replace them with new and advanced production facilities (such as green agricultural machinery and green HVAC equipment) in order to improve the efficiency of production and thus reduce the costs of production.
6.3. Limitations and Reflection
Author Contributions
Funding
Institutional Review Board Statement
Informed Consent Statement
Data Availability Statement
Acknowledgments
Conflicts of Interest
References
- Yu, S.; Zhang, X.; Wang, Y.; Shen, Y. Research review on the impacts of climate change on the staple grain crops in the Three Northeastern Provinces of China. Chin. J. Eco-Agric. 2024, 32, 1–16. [Google Scholar] [CrossRef]
- Du, Z.; Gao, B.; Ou, C.; Du, Z.; Yang, J.; Batsaikhan, B.; Dorjgotov, B.; Yun, W.; Zhu, D. A Quantitative Analysis of Factors Influencing Organic Matter Concentration in the Topsoil of Black Soil in Northeast China Based on Spatial Heterogeneous Patterns. ISPRS Int. J. Geo-Inf. 2021, 10, 348. [Google Scholar] [CrossRef]
- Cui, J.; Guo, L.; Xiong, S.; Yang, S.; Wang, Y.; Zhang, S.; Sun, H. Soil organic carbon induces a decrease in erodibility of black soil with loess parent materials in northeast China. Quat. Res. 2023, 1–10. [Google Scholar] [CrossRef]
- Zhao, G.; Deng, Z.; Liu, C. Assessment of the Coupling Degree between Agricultural Modernization and the Coordinated Development of Black Soil Protection and Utilization: A Case Study of Heilongjiang Province. Land 2024, 13, 288. [Google Scholar] [CrossRef]
- Zhou, H.; Li, B.; Lu, Y. Micromorphological analysis of soil structure under no tillage management in the black soil zone of Northeast China. J. Mt. Sci. 2009, 6, 173–180. [Google Scholar] [CrossRef]
- Zhao, R.; Li, J.; Wu, K.; Kang, L. Cultivated Land Use Zoning Based on Soil Function Evaluation from the Perspective of Black Soil Protection. Land 2021, 10, 605. [Google Scholar] [CrossRef]
- Zhang, J.; Sun, B.; Zhu, J.; Wang, J.; Pan, X.; Gao, T. Black Soil Protection and Utilization Based on Harmonization of Mountain-River-Forest-Farmland-Lake-Grassland-Sandy Land Ecosystems and Strategic Construction of Ecological Barrier. Bull. Chin. Acad. Sci. 2021, 36, 1155–1164. [Google Scholar] [CrossRef]
- Liao, Y.; Zhang, B.; Kong, X.; Wen, L.; Yao, D.; Dang, Y.; Chen, W. A Cooperative-Dominated Model of Conservation Tillage to Mitigate Soil Degradation on Cultivated Land and Its Effectiveness Evaluation. Land 2022, 11, 1223. [Google Scholar] [CrossRef]
- Han, X.; Zou, W. Research Perspectives and Footprint of Utilization and Protection of Black Soil in Northeast China. Acta Pedol. Sin. 2021, 58, 1341–1358. [Google Scholar] [CrossRef]
- Jiang, Q.; Li, J.; Si, H.; Su, Y. The Impact of the Digital Economy on Agricultural Green Development: Evidence from China. Agriculture 2022, 12, 1107. [Google Scholar] [CrossRef]
- United Nations Statistics Division. Global Indicator Framework for the Sustainable 374 Development Goals and Targets of the 2030 Agenda for Sustainable Development; Report 375 No. A/RES/71/313; United Nations Statistics Division: New York, NY, USA, 2017. [Google Scholar]
- Alejandro, N.; Linden, M. Agricultural intensification in Ghana: Evaluating the optimist’s case for a Green Revolution. Food Policy 2014, 48, 153–167. [Google Scholar] [CrossRef]
- Sethi, L.; Behera, B.; Sethi, N. Do green finance, green technology innovation, and institutional quality help achieve environmental sustainability? Evidence from the developing economies. Sustain. Dev. 2023, 1–15. [Google Scholar] [CrossRef]
- Bhandari, G.; Dhasmana, A.; Chaudhary, P.; Gupta, S.; Gangola, S.; Gupta, A.; Rustagi, S.; Shende, S.S.; Rajput, V.D.; Minkina, T.; et al. A Perspective Review on Green Nanotechnology in Agro-Ecosystems: Opportunities for Sustainable Agricultural Practices & Environmental Remediation. Agriculture 2023, 13, 668. [Google Scholar] [CrossRef]
- Cheng, L.; Gao, Y.; Dai, X. Spatio-temporal comprehensive measurement of China’s agricultural green development level and associated influencing factors. PLoS ONE 2023, 18, e0288599. [Google Scholar] [CrossRef] [PubMed]
- Zhou, F.; Wen, C. Research on the Level of Agricultural Green Development, Regional Disparities, and Dynamic Distribution Evolution in China from the Perspective of Sustainable Development. Agriculture 2023, 13, 1441. [Google Scholar] [CrossRef]
- Zang, D.; Yang, S.; Li, F. The Relationship between Land Transfer and Agricultural Green Production: A Collaborative Test Based on Theory and Data. Agriculture 2022, 12, 1824. [Google Scholar] [CrossRef]
- Mao, H.; Zhou, L.; Ying, R.; Pan, D. Time Preferences and green agricultural technology adoption: Field evidence from rice farmers in China. Land Use Policy 2021, 109, 105627. [Google Scholar] [CrossRef]
- Shen, Y.; Zhang, T.; Cui, J.; Chen, S.; Han, H.; Ning, T. Subsoiling increases aggregate-associated organic carbon, dry matter, and maize yield on the North China Plain. PeerJ 2021, 9, e11099. [Google Scholar] [CrossRef] [PubMed]
- Li, Y.; Fan, Z.; Jiang, G.; Quan, Z. Addressing the Differences in Farmers’ Willingness and Behavior Regarding Developing Green Agriculture—A Case Study in Xichuan County, China. Land 2021, 10, 316. [Google Scholar] [CrossRef]
- Chen, S.; Zhong, Z.; Lu, H. Impact of agricultural production outsourcing service and land fragmentation on agricultural non-point source pollution in China: Evidence from Jiangxi Province. Front. Environ. Sci. 2023, 10, 1079709. [Google Scholar] [CrossRef]
- Lu, H.; Chen, Y.J.; Hu, H.; Geng, X.H. Can agricultural productive services promote the adoption of environmentally friendly agricultural techniques by farmers. J. Agrotech. Econ. 2021, 3, 36–49. [Google Scholar] [CrossRef]
- Hou, Y.; Chen, P. Research on the Relationship between Price Mechanism and Short-Term Behavior in Chinese Farmland Trusteeships. Sustainability 2019, 11, 5708. [Google Scholar] [CrossRef]
- Li, Q.; Li, K. Impact of pest control trusteeship on technical efficiency: From the perspective of horizontal division efficiency and vertical coordination efficiency. Resour. Sci. 2022, 44, 1964–1979. [Google Scholar] [CrossRef]
- Zhou, N.; Shu, S.; Xiao, L. Identification of the Key Factors Influencing Small Farmers’ Participation in Modern Agricultural and Forestry. J. Cent. South Univ. For. Technol. 2022, 42, 196–208. [Google Scholar] [CrossRef]
- Chi, Y.; Zhou, W.; Wang, Z.; Hu, Y.; Han, X. The Influence Paths of Agricultural Mechanization on Green Agricultural Development. Sustainability 2021, 13, 12984. [Google Scholar] [CrossRef]
- Chen, Y.; Fan, Y. Effects of scale agriculture on product quality and safety: A case study of Heilongjiang reclamation area. Res. Agric. Mod. 2016, 37, 1076–1083. [Google Scholar] [CrossRef]
- Deng, X.; Luo, Y.; Dong, S.; Yang, X. Impact of resources and technology on farm production in northwestern China. Agric. Syst. 2005, 84, 155–169. [Google Scholar] [CrossRef]
- Speelman, E.N.; García-Barrios, L.E.; Groot, J.C.J.; Tittonell, P. Gaming for smallholder participation in the design of more sustainable agricultural landscapes. Agric. Syst. 2014, 126, 62–75. [Google Scholar] [CrossRef]
- Xie, H.; Cheng, L.; Lv, T. Factors Influencing Farmer Willingness to Fallow Winter Wheat and Ecological Compensation Standards in a Groundwater Funnel Area in Hengshui, Hebei Province, China. Sustainability 2017, 9, 839. [Google Scholar] [CrossRef]
- Fatemi, M.; Rezaei-Moghaddam, K.; Karami, E.; Hayati, D.; Wackernagel, M. An integrated approach of Ecological Footprint (EF) and Analytical Hierarchy Process (AHP) in human ecology: A base for planning toward sustainability. PLoS ONE 2021, 16, e0250167. [Google Scholar] [CrossRef]
- Ikram, M.; Sroufe, R.; Awan, U.; Abid, N. Enabling Progress in Developing Economies: A Novel Hybrid Decision-Making Model for Green Technology Planning. Sustainability 2022, 14, 258. [Google Scholar] [CrossRef]
- Xu, Y.; Liu, H.; Lyu, J.; Xue, Y. What Influences Farmers’ Adoption of Soil Testing and Formulated Fertilization Technology in Black Soil Areas? An Empirical Analysis Based on Logistic-ISM Model. Int. J. Environ. Res. Public Health 2022, 19, 15682. [Google Scholar] [CrossRef] [PubMed]
- Zeng, F.; Shi, F. How does Agricultural Socialized Service Promote the Organic Connection between Small Farmers and Modern Agricultural: A Theoretical Analysis Framework. J. Jishou Univ. (Soc. Sci.) 2021, 42, 92–100. [Google Scholar] [CrossRef]
- Zhang, J.; He, K. Current Situation, Misunderstandings and Prospects of Agricultural Low-carbon Development Under the Targets of Carbon Peak and Carbon Neutrality. Issues Agric. Econ. 2022, 9, 35–46. [Google Scholar] [CrossRef]
- Denver, V.; Lenore, N. The efficacy and politics of farmland preservation through land use regulation: Changes in southwest British Columbia’s Agricultural Land Reserve. Land Use Policy 2016, 59, 227–240. [Google Scholar] [CrossRef]
- Duguma, E.; Tebarek, L. The effects of farmland conversion on livelihood assets in peri-urban areas of Addis Ababa Metropolitan city, the case of Akaki Kaliti sub-city, Central Ethiopia. Land Use Policy 2022, 119, 106197. [Google Scholar] [CrossRef]
- Cynthia, C.; Erik, L.; Joris, D.; Carolina, B. The evolution of soil conservation policies targeting land abandonment and soil erosion in Spain: A review. Land Use Policy 2019, 83, 174–186. [Google Scholar] [CrossRef]
- Xu, X.; Xu, Y.; Chen, S.; Xu, S.; Zhang, H. Soil loss and conservation in the black soil region of Northeast China: A retrospective study. Environ. Sci. Policy 2010, 13, 793–800. [Google Scholar] [CrossRef]
- Qu, Y.; Pan, C.; Guo, H. Factors Affecting the Promotion of Conservation Tillage in Black Soil—The Case of Northeast China. Sustainability 2021, 13, 9563. [Google Scholar] [CrossRef]
- Sun, X.; Guang, S.; Cao, J.; Zhu, F.; Liu, J.; Sriboonchitta, S. Effect of Agricultural Production Trusteeship on Agricultural Carbon Emission Reduction. Agriculture 2023, 13, 1457. [Google Scholar] [CrossRef]
- Zhao, L.; Liu, Y.; Shi, J. The environmental performance of agricultural production trusteeship from the perspective of planting carbon emissions. China Agric. Econ. Rev. 2023, 15, 853–870. [Google Scholar] [CrossRef]
- Sun, X.; Wang, Y.; Zhu, F.; Liu, X.; Liu, J.; Sriboonchitta, S. Promotion Effect of Agricultural Production Trusteeship on High-Quality Production of Grain—Evidence from the Perspective of Farm Households. Agronomy 2023, 13, 2024. [Google Scholar] [CrossRef]
- Zhang, X.; Zhang, L.; Nie, T. Study on the Impact of Social Capital on Farmers’ Decision-Making Behavior of Adopting Trusteeship Services. Sustainability 2023, 15, 5343. [Google Scholar] [CrossRef]
- Xiao, J.; Song, Y.; You, H. Explaining Peasants’ Intention and Behavior of Farmland Trusteeship in China: Implications for Sustainable Agricultural Production. Sustainability 2020, 12, 5748. [Google Scholar] [CrossRef]
- Gong, S.; Sun, Z.; Wang, B.; Yu, Z. Could Digital Literacy Contribute to the Improvement of Green Production Efficiency in Agriculture? Sage Open 2024, 14, 21582440241232789. [Google Scholar] [CrossRef]
- Deng, H.; Jing, X.; Shen, Z. Internet technology and green productivity in agriculture. Environ. Sci. Pollut. Res. 2022, 29, 81441–81451. [Google Scholar] [CrossRef] [PubMed]
- Nanseki, T.; Li, D.; Chomei, Y. Impacts and Policy Implication of Smart Farming Technologies on Rice Production in Japan. J. Fac. Agric. Kyushu Univ. 2022, 67, 219–225. [Google Scholar] [CrossRef]
- Lal, R. Soils and food sufficiency. A review. Agron. Sustain. Dev. 2009, 29, 113–133. [Google Scholar] [CrossRef]
- Somasundaram, J.; Sinha, N.K.; Dalal, R.C.; Lal, R.; Mohanty, M.; Naorem, A.K.; Hati, K.M.; Chaudhary, R.S.; Biswas, A.K.; Patra, A.K.; et al. No-Till Farming and Conservation Agriculture in South Asia—Issues, Challenges, Prospects and Benefits. Crit. Rev. Plant Sci. 2020, 39, 236–279. [Google Scholar] [CrossRef]
- Chen, W.; Hu, Z. Using evolutionary game theory to study governments and manufacturers’behavioral strategies under various carbon taxes and subsidies. J. Clean. Prod. 2018, 201, 123–141. [Google Scholar] [CrossRef]
- Hofbauer, J.; Sigmund, K. The theory of evolution and dynamical systems. Acta Appl. Math. 1990, 18, 297–300. [Google Scholar] [CrossRef]
- Du, J.; Zhou, Z.; Xu, L. Evolutionary Game Mechanism on Complex Networks of Green Agricultural Production under Intensive Management Pattern. Complexity 2020, 2020, 8541517. [Google Scholar] [CrossRef]
- Cui, H.; Zhao, T.; Tao, P. Evolutionary Game Study on the Development of Green Agriculture in China Based on Ambidexterity Theory Perspective. Pol. J. Environ. Stud. 2019, 28, 1093–1104. [Google Scholar] [CrossRef] [PubMed]
- Zheng, Y.; Mei, L. How to promote the adoption of intelligent spray technology in farmers’ cooperatives?—Based on the perspective of evolutionary game. HELIYON 2023, 9, e19897. [Google Scholar] [CrossRef] [PubMed]
- Tian, M.; Zheng, Y.; Sun, X.; Zheng, H. A research on promoting chemical fertiliser reduction for sustainable agriculture purposes: Evolutionary game analyses involving ‘government, farmers, and consumers’. Ecol. Indic. 2022, 144, 109433. [Google Scholar] [CrossRef]
- Xie, H.; Wang, W.; Zhang, X. Evolutionary game and simulation of management strategies of fallow cultivated land: A case study in Hunan province, China. Land Use Policy 2018, 71, 86–97. [Google Scholar] [CrossRef]
- Peng, H.; Shen, N.; Ying, H.; Wang, Q. Factor analysis and policy simulation of domestic waste classification behavior based on a multiagent study-Taking Shanghai’s garbage classification as an example. Environ. Impact Assess 2021, 89, 12. [Google Scholar] [CrossRef]
- Li, Y.; Zhang, Q.; Liu, B.; McLellan, B.; Gao, Y.; Tang, Y. Substitution effect of New-Energy Vehicle Credit Program and Corporate Average Fuel Consumption Regulation for Green-car Subsidy. Energy 2018, 152, 223–236. [Google Scholar] [CrossRef]
- Alos-Ferrer, C.; Ania, A. The evolutionary stability of perfectly competitive behavior. Econ. Theory 2005, 26, 497–516. [Google Scholar] [CrossRef]
- Albano, G.; Giorno, V.; Román-Román, P.; Torres-Ruiz, F. Study of a general growth model. Commun. Nonlinear Sci. Numer. Simul. 2022, 107, 106100. [Google Scholar] [CrossRef]
- Yang, C.; Sun, J.; Zhang, Q.; Ma, X. Lyapunov Stability and Strong Passivity Analysis for Nonlinear Descriptor Systems. In IEEE Transactions on Circuits and Systems I: Regular Papers; IEEE: Piscataway Township, NJ, USA, 2013; Volume 60, pp. 1003–1012. [Google Scholar] [CrossRef]
- Tao, Y.; Wang, Z. Effect of Time Delay and Evolutionarily Stable Strategy. J. Theor. Biol. 1997, 187, 111–116. [Google Scholar] [CrossRef]
- Weibull, J.W. Evolutionary Game Theory; MIT Press: Cambridge, MA, USA, 1997. [Google Scholar]
- Friedman, D. Evolutionary Games in Economics. Econometrica 1991, 59, 637–666. [Google Scholar] [CrossRef]
- Chen, L.; Gao, M. A new learning interaction rule for municipal household waste classification behavior based on multi-agent-based simulation. J. Clean. Prod. 2020, 271, 122654. [Google Scholar] [CrossRef]
- Smith, A.C.; Tasnim, T.; Irfanullah, H.M.; Turner, B.; Chausson, A.; Seddon, N. Nature-based Solutions in Bangladesh: Evidence of Effectiveness for Addressing Climate Change and Other Sustainable Development Goals. Front. Environ. Sci. 2021, 9, 737659. [Google Scholar] [CrossRef]
- Ogle, S.M.; Conant, R.T.; Fischer, B.; Haya, B.K.; Manning, D.T.; McCarl, B.A.; Zelikova, T.J. Policy challenges to enhance soil carbon sinks: The dirty part of making contributions to the Paris agreement by the United States. Carbon Manag. 2023, 14, 2268071. [Google Scholar] [CrossRef]
- Chen, Y.; Wen, X.; Wang, B.; Nie, P. Agricultural pollution and regulation: How to subsidize agriculture? J. Clean. Prod. 2017, 164, 15. [Google Scholar] [CrossRef]
- Ma, L.; Wang, Y.; Teng, Y. Evolutionary game analysis of stakeholders under the whole process trusteeship mode of agricultural production. Kybernetes 2022, 51, 2877–2901. [Google Scholar] [CrossRef]
- Du, J.; Liu, H.; Yuan, Y. On the impacts of agricultural subsidies on agricultural carbon emissions in China: Empirical evidence from microdata of rice production. Environ. Sci. Pollut. Res. 2023, 30, 101151–101167. [Google Scholar] [CrossRef]
- Lonester, S.; Alastair, B.; Sophia, D. The impact of farm input subsidies on maize marketing in Malawi. Food Policy 2017, 69, 190–206. [Google Scholar] [CrossRef]
- Kulkarni, A.P.; Tripathi, M.P.; Gautam, D.; Koirala, K.B.; Kandel, M.; Regmi, D.; Sapkota, S.; Zaidi, P.H. Willingness to Pay (WTP) for Heat-Tolerant Maize Hybrids in the Mid-Western Terai Region of Nepal. Sustainability 2023, 15, 3068. [Google Scholar] [CrossRef]
- Yang, M.; Zhao, X.; Meng, T. What are the driving factors of pesticide overuse in vegetable production? Evidence from Chinese farmers. China Agric. Econ. Rev. 2019, 11, 672–687. [Google Scholar] [CrossRef]
- Zheng, W.; Luo, B.; Hu, X. The determinants of farmers’ fertilizers and pesticides use behavior in China: An explanation based on label effect. J. Clean. Prod. 2020, 272, 123054. [Google Scholar] [CrossRef]
- Lee, R.; Uyl, R.; Runhaar, H. Assessment of policy instruments for pesticide use reduction in Europe; Learning from a systematic literature review. Crop Prot. 2019, 126, 104929. [Google Scholar] [CrossRef]
- Galan, M.; Peschard, D.; Boizard, H. ISO 14 001 at the farm level: Analysis of five methods for evaluating the environmental impact of agricultural practices. J. Environ. Manag. 2007, 82, 341–352. [Google Scholar] [CrossRef] [PubMed]
- He, Y.; Fu, D.; Zhang, H.; Wang, X. Can Agricultural Production Services Influence Smallholders’ Willingness to Adjust Their Agriculture Production Modes? Evidence from Rural China. Agriculture 2023, 13, 564. [Google Scholar] [CrossRef]
- Zhu, H.; Ao, Y.; Xu, H.; Zhou, Z.; Wang, Y.; Yang, L. Determinants of Farmers’ Intention of Straw Recycling: A Comparison Analysis Based on Different Pro-Environmental Publicity Modes. Int. J. Environ. Res. Public Health 2021, 18, 11304. [Google Scholar] [CrossRef] [PubMed]
- Zhu, X.; Li, C.; Zhou, H. Cost Changes and Technical Efficiency of Grain Production in China against a Background of Rising Factor Prices. Sustainability 2022, 14, 12852. [Google Scholar] [CrossRef]
- Jiang, F.; Song, H.; Gao, M. Theoretical analysis of agricultural production trusteeship to ensure national grain security: From the perspective of generative logic. Res. Agric. Mod. 2022, 43, 11–19. [Google Scholar] [CrossRef]















| Strategies | Governments | Service Organizations | Farmers |
|---|---|---|---|
| (NPG, PCT, RGP) | |||
| (NPG, PCT, AGP) | |||
| (NPG, PGT, RGP) | |||
| (NPG, PGT, AGP) | |||
| (APG, PCT, RGP) | |||
| (APG, PCT, AGP) | |||
| (APG, PGT, RGP) | |||
| (APG, PGT, AGP) |
| Strategy | Eigenvalue λ1 | Eigenvalue λ2 | Eigenvalue λ3 |
|---|---|---|---|
| I | |||
| I | |||
| Parameter | Date Resource | Date (CNY/mu) |
|---|---|---|
| Taking 250 million mu of black land protection area in Northeast China as the base, the cost of using organic fertilizer by farmers is 227 CNY/mu. The input of loosening soil for sowing and green pesticides is 85 CNY/mu and the cost of large-scale mechanization is about 258 CNY/mu. Total: 227 + 85 + 258 = 570 CNY/mu. (Data source: field survey in Lishu County). | 570 | |
| Based on the protection area of 250 million mu of black land in Northeast China, the use of inorganic fertilizers by farmers is 133 CNY/mu, the cost of pesticides and small-scale mechanization is 278 CNY/mu and other costs such as pesticides are 69 CNY/mu. Total: 133 + 69 + 278 = 480 CNY/mu. (Data source: field survey in Lishu County). | 480 | |
| This was obtained through field research in rural areas. (Data source: with the relevant service organizations in Lishu County). | 60 | |
| With reference to the Agricultural Technology Extension Center of Fuyuan City and Yicheng District, the expenses for the daily work of the organizations are respectively 0.6031 million and 0.9873 million. According to the “Heilongjiang” 14th five year plan for agricultural science and technology development, there are 2528 service organizations. It is estimated that there are 7584 service organizations in the three provinces of Northeast China. Total: [(0.6031 + 0.9873)/2] × 7584/250 = 24.124 CNY/mu. (Data source: Fuyuan Agriculture and Rural Bureau, Zhumadian Agricultural and Rural Bureau and Heilongjiang Provincial People’s Government). | 24.124 | |
| This refers to the notice of the implementation plan for the reform and construction of the grassroots agricultural technology extension system in Gaoan City in 2022, and the work funds and team building training funds are 0.625 million. Total: [0.625 + (0.6031 + 0.9873)/2] × 7584/250 = 42.48 CNY/mu. (Data source: Gaoan Agricultural and Rural Bureau). | 42.48 | |
| This was obtained field research in rural areas. (Data source: with the relevant service organizations in Lishu County). | 12 | |
| Taking wheat planting in Lishu County, Heilongjiang Province, as a reference, compared with the farmers’ self-planting, the service organization’s traditional production trusteeship reduced the planting cost by 13–20%, the labor cost by 30–45% and the fertilizer application by 15–25%. The cost was estimated to be 340 CNY/mu. (Data source: Lishu County People’s Government). | 340 | |
| Taking wheat planting in Lanxi County, Heilongjiang Province, as a reference, compared with farmers’ self-planting, the green production trusteeship of service organizations reduced the planting cost by 10–15%, the labor cost by 25–35% and the fertilizer application by 10–20%. The cost was estimated to be 440 CNY/mu. (Data source: LanXi County People’s Government). | 440 | |
| According to the China Statistical Yearbook in 2023, taking wheat planting as a reference, the average yield is 1100 kg/mu, the purchase price is 1.17 CNY/kg, the subsidy per mu is 58 and the land rent cost is 373. Total: 1100 × 1.17 + 58 − 373 = 972 CNY/mu. (Data source: China Statistical Yearbook 2023). | 972 | |
| According to the China Statistical Yearbook in 2023, taking wheat planting as a reference, the yield of “predatory production” is 1300 kg/mu, the purchase price is 1.17 CNY/kg, the subsidy per mu is 58 and the land rent cost is 373. Total: 1300 × 1.17 + 58−373 = 1206 CNY/mu. (Data source: China Statistical Yearbook 2023). | 1206 | |
| This takes the black land protection funds allocated by the finance bureaus of Inner Mongolia and prefecture-level cities as a reference, estimated by municipal units. Total: 80 × 39/250 = 12.48 CNY/mu. (Data source: Inner Mongolia Finance Bureau). | 12.48 | |
| This is based on the funds of CNY 4.53772 million of the Sunwu County production trust project in 2022 and the funds of the Black Land Protection Project in Northeast China, estimated by county-level units. Total: [4.5372 × (60 + 67 + 100)+ (800 + 620 + 540)]/250 =11.956 yuan/mu. (Data source: Sunwu County People’s Government network, etc.). | 11.956 | |
| Referring to the implementation plan of black land conservation tillage in 2022, 58 CNY/mu was used to subsidize farmers. Other subsidies, such as non-closed facility farming and organic fertilizer subsidies, were estimated to be 62 CNY/mu. Total: 58 + 62 = 120 CNY/mu. (Data source: Chinese Government Website). | 120 | |
| In 2022, the total output value of China’s green agricultural product processing was about 2823.48 billion, with a tax rate of 17%, and the proportion of production in Northeast China was 25%. Total: ( 2823.48 billion × 0.17 × 0.25)/250 million mu = 480 CNY/mu. (Data source: Department of Rural Industry Development, Ministry of Agriculture and Rural Affairs of China). | 480 | |
| In 2022, the total output value of non-green agricultural products processing in China was about 2352.94 billion, with a tax rate of 17%, and the proportion of non-green agricultural products in Northeast China was 25%. Total: (2352.94 billion × 0.17 × 0.25)/250 million mu = 400 CNY/mu. (Data source: Department of Rural Industry Development, Ministry of Agriculture and Rural Affairs of China). | 400 | |
| The estimated cost is 295 CNY/mu based on the profit of about 45 CNY/mu achieved by the scientific operation of the service organization and in combination with the production trusteeship costs. Total: 340 − 45 = 295 CNY/mu. (Data source: Ministry of Agriculture and Rural Affairs of China). | 295 | |
| The estimated cost is 349 CNY/mu based on the profit of about 91 CNY/mu achieved by the scientific operation of the service organization and in combination with the production trusteeship costs. Total: 440 − 91 = 349 CNY/mu. (Data source: Ministry of Agriculture and Rural Affairs of China). | 349 | |
| Due to the adoption of green agricultural production trusteeship services and the optimization of black soil geology, the efficiency of wheat is 100 CNY/mu. (Data source: Ministry of Agriculture and Rural Affairs of China and expert survey estimate). | 100 | |
| According to the statistics of the Ministry of Agriculture and Rural Areas, the annual loss of nitrogen, phosphorus, potassium and other minerals in the black soil area of Northeast China is about 4.5 million tons. According to 2800 yuan/ton of chemical fertilizer, it is estimated that 45 × 28 million = 12.6 billion, and the adverse and far-reaching impact is estimated by experts to be 20 billion. Total: (12.6 + 20) billion /250 million mu =130.4 CNY/mu. (Data source: Ministry of Agriculture and Rural Affairs of China). | 130.4 | |
| Referring to the illegal sale of 250,000 m3 of black land in Heilongjiang Province, the fine for black land is 3000 CNY/m3. It is estimated that the penalty in Northeast China is 9 CNY/mu. (Data source: Heilongjiang Provincial People’s Government). | 9 |
| Strategy | Eigenvalue | Eigenvalue | Eigenvalue |
|---|---|---|---|
| 446.32 | −61.56 | −233.6 | |
| 80 | 74.49 | 233.6 | |
| 434.36 | 61.56 | 36.4 | |
| 68.04 | −74.49 | −36.4 | |
| −446.32 | −49.60 | −113.6 | |
| −80 | 86.76 | 113.6 | |
| −434.36 | 49.60 | 156.4 | |
| −68.04 | −86.76 | −156.4 |
Disclaimer/Publisher’s Note: The statements, opinions and data contained in all publications are solely those of the individual author(s) and contributor(s) and not of MDPI and/or the editor(s). MDPI and/or the editor(s) disclaim responsibility for any injury to people or property resulting from any ideas, methods, instructions or products referred to in the content. |
© 2024 by the authors. Licensee MDPI, Basel, Switzerland. This article is an open access article distributed under the terms and conditions of the Creative Commons Attribution (CC BY) license (https://creativecommons.org/licenses/by/4.0/).
Share and Cite
Ma, L.; Lin, J.; Li, C.; Teng, Y. Research on Strategy Optimization of Green Agricultural Production Trusteeship to Promote Black Land Protection. Land 2024, 13, 647. https://doi.org/10.3390/land13050647
Ma L, Lin J, Li C, Teng Y. Research on Strategy Optimization of Green Agricultural Production Trusteeship to Promote Black Land Protection. Land. 2024; 13(5):647. https://doi.org/10.3390/land13050647
Chicago/Turabian StyleMa, Li, Jiahao Lin, Chuangang Li, and Yun Teng. 2024. "Research on Strategy Optimization of Green Agricultural Production Trusteeship to Promote Black Land Protection" Land 13, no. 5: 647. https://doi.org/10.3390/land13050647
APA StyleMa, L., Lin, J., Li, C., & Teng, Y. (2024). Research on Strategy Optimization of Green Agricultural Production Trusteeship to Promote Black Land Protection. Land, 13(5), 647. https://doi.org/10.3390/land13050647
