Water Saving and Cost Analysis of Large-Scale Implementation of Domestic Rain Water Harvesting in Minor Mediterranean Islands
Abstract
1. Introduction
2. Methods
2.1. Model Framework
- (dimensionless volume in store at time t)
- (dimensionless volume in store at time t − 1)
- (dimensionless tank inflow at time t)
- (dimensionless yield from the tank at time t)
- (dimensionless tank overflow at time t)
- (dimensionless toilet water demand at time t)
2.2. Surrogate Regressive Models for Water Saving Evaluation
2.3. Geospatial Database Setup
2.4. Cost-Benefit Analysis
3. Case Study
4. Results and Discussion
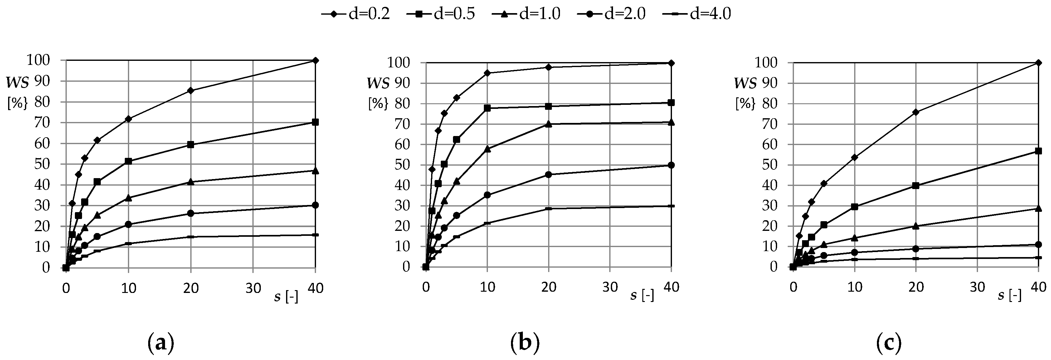
4.1. Water Balance Simulation Scenarios and Surrogate Models for Water Saving Evaluation
4.2. Geodatabase Construction
4.3. Water Saving Evaluation for the Area of Interest
5. Conclusions
Author Contributions
Conflicts of Interest
References
- Badiuzzaman, P.; McLaughlin, E.; McCauley, D. Substituting freshwater: Can ocean desalination and water recycling capacities substitute for groundwater depletion in California? J. Environ. Manag. 2017, 203, 123–135. [Google Scholar] [CrossRef] [PubMed]
- Roebuck, R.M.; Oltean-Dumbrava, C.; Tait, S. Whole life cost performance of domestic rainwater harvesting systems in the United Kingdom. Water Environ. J. 2011, 25, 355–365. [Google Scholar] [CrossRef]
- Rahman, A.; Dbais, J.; Imteaz, M. Sustainability of rainwater harvesting systems in multistory residential buildings. Am. J. Eng. Appl. Sci. 2010, 3, 889–898. [Google Scholar] [CrossRef]
- Campisano, A.; Butler, D.; Ward, S.; Burns, M.J.; Friedler, E.; DeBusk, K.; Fisher-Jeffes, L.N.; Ghisi, E.; Rahman, A.; Furumai, H.; et al. Urban rainwater harvesting systems: Research, implementation and future perspectives. Water Res. 2017, 115, 195–209. [Google Scholar] [CrossRef] [PubMed]
- Ward, S.; Memon, F.A.; Butler, D. Performance of large building rainwater harvesting systems. Water Res. 2012, 46, 5127–5134. [Google Scholar] [CrossRef] [PubMed]
- Rostad, N.; Foti, R.; Montalto, F.A. Harvesting rooftop runoff to flush toilets: Drawing conclusions from four major U.S. cities. Resour. Conserv. Recycl. 2016, 108, 97–106. [Google Scholar] [CrossRef]
- Palla, A.; Gnecco, I.; Lanza, L.G. Non-dimensional design parameters and performance assessment of rainwater harvesting systems. J. Hydrol. 2011, 401, 65–76. [Google Scholar] [CrossRef]
- Ghisi, E. Parameters influencing the sizing of rainwater tanks for use in houses. Water Resour. Manag. 2010, 24, 2381–2403. [Google Scholar] [CrossRef]
- Melville-Shreeve, P.; Ward, S.; Butler, D. Rainwater harvesting typologies for UK houses; a multi criteria analysis of system configurations. Water 2016, 8, 129. [Google Scholar] [CrossRef]
- Campisano, A.; Lupia, F. A dimensionless approach for the urban scale evaluation of domestic rainwater harvesting systems for toilet flushing and garden irrigation. Urban Water J. 2017, 14, 883–891. [Google Scholar] [CrossRef]
- Sample, D.J.; Liu, J. Optimizing rainwater harvesting systems for the dual purposes of water supply and runoff capture. J. Clean. Prod. 2014, 75, 174–194. [Google Scholar] [CrossRef]
- Campisano, A.; Gnecco, I.; Modica, C.; Palla, A. Designing domestic rainwater harvesting systems under different climatic regimes in Italy. Water Sci. Technol. 2013, 67, 2511–2518. [Google Scholar] [CrossRef] [PubMed]
- Burns, M.J.; Fletcher, T.D.; Duncan, H.P.; Hatt, B.E.; Ladson, A.R.; Walsh, C.J. The performance of rainwater tanks for stormwater retention and water supply at the household scale: An empirical case study. Hydrol. Process. 2015, 29, 152–160. [Google Scholar] [CrossRef]
- Domenèch, L.; Saurí, D. A comparative appraisal of the use of rainwater harvesting in single and multi-family buildings of the Metropolitan Area of Barcelona (Spain): Social experience, drinking water savings and economic costs. J. Clean. Prod. 2011, 19, 598–608. [Google Scholar] [CrossRef]
- Liaw, C.H.; Tsai, Y.L. Optimum storage volume of rooftop rainwater harvesting systems for domestic use. J. Am. Water Resour. Assoc. 2004, 40, 901–912. [Google Scholar] [CrossRef]
- Khastagir, A.; Jayasuriya, N. Investment evaluation of rainwater tanks. Water Resour. Manag. 2011, 25, 3769–3784. [Google Scholar] [CrossRef]
- Morales-Pinzón, T.; Rieradevall, J.; Gasol, C.M.; Gabarrell, X. Modelling for economic cost and environmental analysis of rainwater harvesting systems. J. Clean. Prod. 2015, 87, 613–626. [Google Scholar] [CrossRef]
- Loubet, P.; Roux, P.; Loiseau, E.; Bellon-Maurel, V. Life cycle assessments of urban water systems: A comparative analysis of selected peer-reviewed literature. Water Res. 2014, 67, 187–202. [Google Scholar] [CrossRef] [PubMed]
- Sanches Fernandes, L.F.; Terêncio, D.P.S.; Pacheco, F.A.L. Rainwater harvesting systems for low demanding applications. Sci. Total Environ. 2015, 529, 91–100. [Google Scholar] [CrossRef] [PubMed]
- Mitchell, V. How important is the selection of computational analysis method to the accuracy of rainwater tank behavior modelling? Hydrol. Process. 2007, 21, 2850–2861. [Google Scholar] [CrossRef]
- Fewkes, A.; Butler, D. Simulating the performance of rainwater collection systems using behavioural models. Build. Serv. Eng. Res. Technol. 2000, 21, 99–106. [Google Scholar] [CrossRef]
- Lash, D.; Ward, S.; Kershw, T.; Butler, D.; Eaames, M. Robust rainwater harvesting: Probabilistic tank sizing for climate change adaptation. J. Water Clim. Chang. 2014, 5, 526–539. [Google Scholar] [CrossRef]
- Burns, M.J.; Fletcher, T.D.; Walsh, C.J.; Ladson, A.R.; Hatt, B.E. Flow-regime management at the urban land-parcel scale: Test of feasibility. J. Hydrol. Eng. 2015, 20. [Google Scholar] [CrossRef]
- Farreny, R.; Morales-Pinzón, T.; Guisasola, A.; Tayà, C.; Rieradevall, J.; Gabarrell, X. Roof selection for rainwater harvesting: Quantity and quality assessments in Spain. Water Res. 2011, 45, 3245–3254. [Google Scholar] [CrossRef] [PubMed]
- Belmeziti, A.; Coutard, O.; de Gouvello, B. A new methodology for evaluating potential for potable water savings (PPWS) by using rainwater harvesting at the urban level: The case of the municipality of Colombes (Paris region). Water 2013, 5, 312–326. [Google Scholar] [CrossRef]
- Campisano, A.; Modica, C. Appropriate resolution timescale to evaluate water saving and retention potential of rainwater harvesting for toilet flushing in single houses. J. Hydroinform. 2015, 17, 331–346. [Google Scholar] [CrossRef]
- Mearig, T.; Coffe, N.; Morgan, M. Life Cycle Cost Analysis Handbook, 1st ed.; State of Alaska-Department of Education & Early Development, Alaska School Facilities: Juneau, AK, USA, 1999. [Google Scholar]
- Regional Department for Tourism, Sport, and Events. Available online: http://www.regione.sicilia.it/turismo/web_turismo/ (accessed on 15 September 2017).
- Campisano, A.; Modica, C. Experimental investigation on water saving by the reuse of washbasin grey water for toilet flushing. Urban Water J. 2010, 7, 17–24. [Google Scholar] [CrossRef]
- Regional Agency for Water and Waste. Available online: http://www.osservatorioacque.it/ (accessed on 15 September 2017).










| Validity | x1 | x2 | x3 | x4 | R2 | MAE |
|---|---|---|---|---|---|---|
| Whole year | 45.547 | 3.052 | −0.492 | −0.264 | 97.04 | 3.60 |
| Wet season | 61.485 | 1.729 | −0.357 | −0.306 | 92.16 | 7.34 |
| Dry season | 32.461 | 6.997 | −0.715 | −0.383 | 97.44 | 2.53 |
© 2017 by the authors. Licensee MDPI, Basel, Switzerland. This article is an open access article distributed under the terms and conditions of the Creative Commons Attribution (CC BY) license (http://creativecommons.org/licenses/by/4.0/).
Share and Cite
Campisano, A.; D’Amico, G.; Modica, C. Water Saving and Cost Analysis of Large-Scale Implementation of Domestic Rain Water Harvesting in Minor Mediterranean Islands. Water 2017, 9, 916. https://doi.org/10.3390/w9120916
Campisano A, D’Amico G, Modica C. Water Saving and Cost Analysis of Large-Scale Implementation of Domestic Rain Water Harvesting in Minor Mediterranean Islands. Water. 2017; 9(12):916. https://doi.org/10.3390/w9120916
Chicago/Turabian StyleCampisano, Alberto, Giuseppe D’Amico, and Carlo Modica. 2017. "Water Saving and Cost Analysis of Large-Scale Implementation of Domestic Rain Water Harvesting in Minor Mediterranean Islands" Water 9, no. 12: 916. https://doi.org/10.3390/w9120916
APA StyleCampisano, A., D’Amico, G., & Modica, C. (2017). Water Saving and Cost Analysis of Large-Scale Implementation of Domestic Rain Water Harvesting in Minor Mediterranean Islands. Water, 9(12), 916. https://doi.org/10.3390/w9120916

