Analysis of Hydraulic Performance and Flow Characteristics of Inlet and Outlet Channels of Integrated Pump Gate
Abstract
:1. Introduction
2. Numerical Simulation Model and Method
2.1. Pump Gate Modeling
2.2. Mesh Division
2.3. Control Equations, Boundary Conditions, and Calculation Methods
3. Numerical Simulation Results and Analysis
3.1. Hydraulic Performance Results and Analysis
3.2. Analysis of Internal Flow in Inlet Channel
3.2.1. Inlet Channel Streamline and Axial Flow Velocity Distribution
3.2.2. Hydraulic Loss of Inlet Channel
3.3. Analysis of Internal Flow in Outlet Channel
3.3.1. Streamline and Axial Velocity Distribution of Outlet Channel
3.3.2. Hydraulic Loss of Outlet Channel
3.4. Three-Dimensional Flow Regime Analysis
3.4.1. Integrated Pump Gate Three-Dimensional Streamline and Characteristic Cross-Sectional Flow Rate
3.4.2. Uniformity of Axial Flow Velocity Distribution and Velocity-Weighted Average Angle of Each Characteristic Section under Design Conditions
4. Internal Flow Characteristics Test Analysis
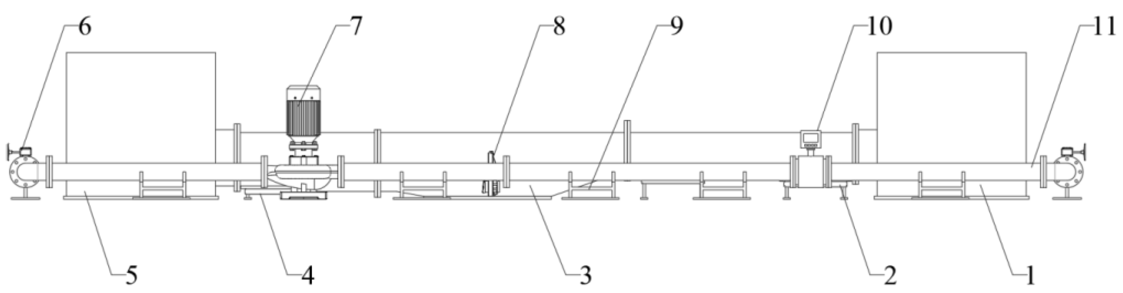
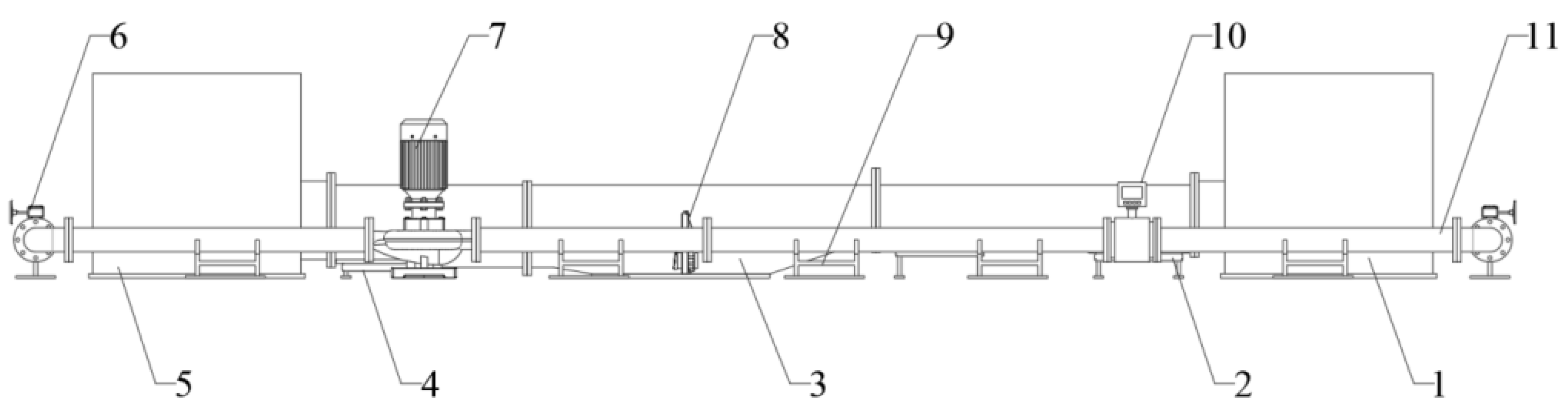
4.1. Introduction to the Pump Gate Test Rig
4.2. Test results and Analysis
4.2.1. Analysis of Flow Characteristics of Open Inlet and Outlet Water Channels
4.2.2. Analysis of the Flow Characteristics at the Inlet and Outlet of the Pump Gate Impeller
5. Conclusions
Author Contributions
Funding
Institutional Review Board Statement
Informed Consent Statement
Data Availability Statement
Conflicts of Interest
References
- Zhao, Q. Analysis of the characteristics and application advantages of integrated pump gate. Electromechanical Inf. 2020, 52–53. [Google Scholar] [CrossRef]
- Zhou, M.; Meng, F.; Zhang, W. Development and application of an integrated pump gate. Gen. Mach. 2014, 85–86. [Google Scholar]
- Kentaro, F.; Yu, K.; Hiroaki, F. Validation of Inundation Damage Reduction by a Pump Gate with the New Type of Horizontal Axial Submersible Pump. J. Disaster Res. 2021, 16, 381–386. [Google Scholar]
- Chen, W. Numerical Simulation Study on Hydraulic Optimization of Integrated Pump Gate; Yangzhou University: Yangzhou, China, 2021. [Google Scholar]
- Shi, X.; Yan, G.; Dong, J.; Yang, Y. Safety study and structural optimization of vertical integrated pump gate. Vib. Test. Diagn. 2021, 41, 176–181+207. [Google Scholar]
- Shi, X.; Yan, G.; Dong, J.; Sun, Y. Safety study and structural optimization of horizontal integrated pump gate. Vib. Shock 2021, 40, 42–47. [Google Scholar]
- Wu, Y.; Zhao, H.; Liu, C. Based on The Gate Bottom Edge Structures Specific Numerical Simulation of Flow Pattern of Gate. E3S Web Conf. 2021, 261, 02018. [Google Scholar] [CrossRef]
- Guo, M.; Chen, Z.; Lee, Y.; Choi, Y.D. Air Entrainment Flow Characteristics of Horizontal and Elbow Type Gate Pump-Sump Models. KSFM J. Fluid Mach. 2019, 22, 54–61. [Google Scholar] [CrossRef]
- Chen, H.; Zheng, Y.; Zhou, D.; Shen, P.; Liu, H. Design and development of an eco-gate pump installation based on computational fluid dynamics. Proc. Inst. Mech. Eng. Part C J. Mech. Eng. Sci. 2017, 231, 2636–2649. [Google Scholar] [CrossRef]
- Jiang, M. ANSYS Workbench 19.0 Basic Introduction and Engineering Practice; People’s Post and Telecommunications Publishing Company: Beijing, China, 2019. [Google Scholar]
- Shi, L.; Yuan, Y.; Jiao, H.; Tang, F.; Cheng, L.; Yang, F.; Jin, Y.; Zhu, J. Numerical investigation and experiment on pressure pulsation characteristics in a full tubular pump. Renew. Energy 2021, 163, 987–1000. [Google Scholar] [CrossRef]
- Lu, Z.; Xiao, R.; Tao, R.; Li, P.; Liu, W. Influence of guide vane profile on the flow energy dissipation in a reversible pump-turbine at pump mode. J. Energy Storage 2022, 49, 104161. [Google Scholar] [CrossRef]
- Launder, B.E.; Spalding, D.B. Lectures in Mathematical Model of Turbulence; Academic Press: London, UK, 1972. [Google Scholar]
- Menter, F.R. Zonal Two Equation k-ω Turbulence Models for Aerodynamic Flows; AIAA-93-2906; AIAA: Preston, CA, USA, 1993. [Google Scholar]
- Yang, F.; Zhang, Y.; Yao, Y.; Liu, C.; Li, Z.; Ahmed, N. Numerical and Experimental Analysis of Flow and Pulsation in Hump Section of Siphon Outlet Conduit of Axial Flow Pump Device. Appl. Sci. 2021, 11, 4941. [Google Scholar] [CrossRef]
- Xie, C.; Tang, F.; Yang, F.; Zhang, W.; Zhou, J.; Liu, H. Numerical simulation optimization of axial flow pump device for elbow inlet channel. IOP Conf. Ser. Earth Environ. Sci. 2019, 240, 032006. [Google Scholar] [CrossRef]
- Shi, L.; Zhang, W.; Jiao, H.; Tang, F.; Wang, L.; Sun, D.; Shi, W. Numerical simulation and experimental study on the comparison of the hydraulic characteristics of an axial-flow pump and a full tubular pump. Renew. Energy 2020, 153, 1455–1464. [Google Scholar] [CrossRef]
- Zhang, W.; Tang, F.; Shi, L.; Hu, Q.; Zhou, Y. Effects of an Inlet Vortex on the Performance of an Axial-Flow Pump. Energies 2020, 13, 2854. [Google Scholar] [CrossRef]
- Ahmed, N.; Fan, Y.; Yiqi, Z.; Tieli, W.; Mahmoud, H. Analysis of the Flow Pattern and Flow Rectification Measures of the Side-Intake Forebay in a Multi-Unit Pumping Station. Water 2021, 13, 2025. [Google Scholar] [CrossRef]
- Sun, Z.; Yu, J.; Tang, F. The Influence of Bulb Position on Hydraulic Performance of Submersible Tubular Pump Device. J. Mar. Sci. Eng. 2021, 9, 831. [Google Scholar] [CrossRef]
- Ji, D.; Lu, W.; Lu, L.; Xu, L.; Liu, J.; Shi, W.; Huang, G. Study on the Comparison of the Hydraulic Performance and Pressure Pulsation Characteristics of a Shaft Front-Positioned and a Shaft Rear-Positioned Tubular Pump Devices. J. Mar. Sci. Eng. 2021, 10, 8. [Google Scholar] [CrossRef]




























| Boundary Conditions | Parameter Setting |
|---|---|
| Inlet | Mass Flow Rate |
| Outlet | Average Static Pressure |
| Free liquid level | Symmetry |
| Dynamic and static interface | Frozen Rotor |
| Static interfaces | None |
| Q (L/s) | H (m) | H (%) |
|---|---|---|
| 8.5 (0.74 Qd) | 3.4884 | 49.83 |
| 9.5 (0.83 Qd) | 3.3126 | 55.85 |
| 10.5 (0.91 Qd) | 3.0206 | 59.01 |
| 11.5 (Qd) | 2.7569 | 60.50 |
| 12.5 (1.09 Qd) | 2.3343 | 59.73 |
| 13.5 (1.17 Qd) | 1.7245 | 54.87 |
| 14.5 (1.26 Qd) | 1.0426 | 43.58 |
| Characteristic Section Number | Distance from Impeller Inlet L1 | Distance from Guide Vane Outlet L2 |
|---|---|---|
| A-1 | 30 D | |
| A-2 | 20 D | |
| A-3 | 10 D | |
| A-4 | 10 D | |
| A-5 | 20 D | |
| A-6 | 30 D | |
| B-1 | 5 D | |
| B-2 | 3 D | |
| B-3 | D | |
| B-4 | D | |
| B-5 | 3 D | |
| B-6 | 5 D |
| Evaluation Indicators | SectionA-1 | SectionA-2 | SectionA-3 | SectionB-1 | SectionB-2 | SectionB-3 | SectionA-4 | SectionA-5 | SectionA-6 |
|---|---|---|---|---|---|---|---|---|---|
| Uniformity of flow rate distribution Vu (%) | 95.42 | 94.18 | 93.95 | 96.72 | 91.15 | 45.33 | 95.37 | 98.26 | 98.25 |
| (°) | 89.93 | 89.71 | 89.54 | 79.47 | 75.30 | 62.01 | 87.95 | 89.67 | 89.96 |
| Measurement Items | Name of Measuring Equipment | Model | Scope of Work | Accuracy |
|---|---|---|---|---|
| Flow rate | Electromagnetic flow meters | ZEF-DN100 | 0~120 m3/h | ±0.5% |
| Rotational speed | Laser tachographs | DT-2234C | 0.1~99,999 r/min | ±0.05% |
| Flow pattern | High-speed cameras | OLYMPUS i-SPEED 3 | 2000 fpsFull resolutionMaximum 15,0000 fps | ±1 μs |
Publisher’s Note: MDPI stays neutral with regard to jurisdictional claims in published maps and institutional affiliations. |
© 2022 by the authors. Licensee MDPI, Basel, Switzerland. This article is an open access article distributed under the terms and conditions of the Creative Commons Attribution (CC BY) license (https://creativecommons.org/licenses/by/4.0/).
Share and Cite
Xie, C.; Xuan, W.; Feng, A.; Sun, F. Analysis of Hydraulic Performance and Flow Characteristics of Inlet and Outlet Channels of Integrated Pump Gate. Water 2022, 14, 2747. https://doi.org/10.3390/w14172747
Xie C, Xuan W, Feng A, Sun F. Analysis of Hydraulic Performance and Flow Characteristics of Inlet and Outlet Channels of Integrated Pump Gate. Water. 2022; 14(17):2747. https://doi.org/10.3390/w14172747
Chicago/Turabian StyleXie, Chuanliu, Weipeng Xuan, Andong Feng, and Fei Sun. 2022. "Analysis of Hydraulic Performance and Flow Characteristics of Inlet and Outlet Channels of Integrated Pump Gate" Water 14, no. 17: 2747. https://doi.org/10.3390/w14172747
APA StyleXie, C., Xuan, W., Feng, A., & Sun, F. (2022). Analysis of Hydraulic Performance and Flow Characteristics of Inlet and Outlet Channels of Integrated Pump Gate. Water, 14(17), 2747. https://doi.org/10.3390/w14172747
