Research Progress and Prospects of Marine Oily Wastewater Treatment: A Review
Abstract
1. Introduction
2. Supervision and Treatment Status of Marine Oily Wastewater
3. Recent Treatment Technologies of Marine Oily Wastewater
3.1. Physical Treatment
3.1.1. Gravity Separation Method
3.1.2. Coagulation Separation Method
3.1.3. Filtration Separation Method
3.2. Chemical Treatment
3.2.1. Adsorption Method
3.2.2. Electrochemical Oxidation Method
3.3. Biological Treatment
3.3.1. Microbial Metabolism Method
3.3.2. Activated Sludge Method
3.3.3. Biofilm Method
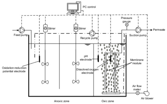
3.4. Combined Treatment
4. Discussion
5. Conclusions
Author Contributions
Funding
Acknowledgments
Conflicts of Interest
References
- Jernelov, A. The threats from oil spills: Now, then, and in the future. Ambio 2010, 39, 353–366. [Google Scholar] [CrossRef] [PubMed]
- Burgherr, P. In-depth analysis of accidental oil spills from tankers in the context of global spill trends from all sources. J. Hazard. Mater. 2007, 140, 245–256. [Google Scholar] [CrossRef] [PubMed]
- Soto, L.A.; Botello, A.V.; Licea-Duran, S.; Lizarraga-Partida, M.L.; Yanez-Arancibia, A. The environmental legacy of the Ixtoc-I oil spill in Campeche Sound, southwestern Gulf of Mexico. Front. Mar. Sci. 2014, 1. [Google Scholar] [CrossRef]
- Buskey, E.J.; White, H.K.; Esbaugh, A.J. Impact of oil spills on marine life in the Gulf of Mexico: Effect on plankton, nekton, and deep-sea benthos. Oceanography 2016, 29, 174–181. [Google Scholar] [CrossRef]
- Beyer, J.; Trannum, H.C.; Bakke, T.; Hodson, P.V.; Collier, T.K. Environmental effects of the Deepwater Horizon oil spill: A review. Mar. Pollut. Bull. 2016, 110, 28–51. [Google Scholar] [CrossRef]
- Cho, D.O. The effects of the M/V Sea Prince accident on maritime safety management in Korea. Mar. Policy 2007, 31, 730–735. [Google Scholar] [CrossRef]
- Ung, S.T. Human error assessment of oil tanker grounding. Saf. Sci. 2018, 104, 16–28. [Google Scholar] [CrossRef]
- Zafirakou, A.; Themeli, S.; Tsami, E.; Aretoulis, G. Multi-criteria analysis of different approaches to protect the marine and coastal environment from oil spills. J. Mar. Sci. Eng. 2018, 6, 125. [Google Scholar] [CrossRef]
- Wang, F.J.; Lei, S.; Xue, M.S.; Ou, J.F.; Li, W. In situ separation and collection of oil from water surface via a novel superoleophilic and superhydrophobic oil containment boom. Langmuir 2014, 30, 1281–1289. [Google Scholar] [CrossRef] [PubMed]
- Bullock, R.J.; Perkins, R.A.; Aggarwal, S. In-situ burning with chemical herders for Arctic oil spill response: Meta-analysis and review. Sci. Total Environ. 2019, 675, 705–716. [Google Scholar] [CrossRef] [PubMed]
- Prince, R.C. Oil spill dispersants: Boon or bane? Environ. Sci. Technol. 2015, 49, 6376–6384. [Google Scholar] [CrossRef] [PubMed]
- Socolofsky, S.A.; Gros, J.; North, E.; Boufadel, M.C.; Parkerton, T.F.; Adams, E.E. The treatment of biodegradation in models of sub-surface oil spills: A review and sensitivity study. Mar. Pollut. Bull. 2019, 143, 204–219. [Google Scholar] [CrossRef]
- Zhang, T.; Li, Z.D.; Lu, Y.F.; Liu, Y.; Yang, D.Y.; Li, Q.R.; Qiu, F.X. Recent progress and future prospects of oil-absorbing materials. Chin. J. Chem. Eng. 2019, 27, 1282–1295. [Google Scholar] [CrossRef]
- Wilewska-Bien, M.; Anderberg, S. Reception of sewage in the Baltic Sea-The port’s role in the sustainable management of ship wastes. Mar. Policy 2018, 93, 207–213. [Google Scholar] [CrossRef]
- Lagring, R.; Degraer, S.; de Montpellier, G.; Jacques, T.; Van Roy, W.; Schallier, R. Twenty years of Belgian North Sea aerial surveillance: A quantitative analysis of results confirms effectiveness of international oil pollution legislation. Mar. Pollut. Bull. 2012, 64, 644–652. [Google Scholar] [CrossRef]
- Ministry of Ecology and Environment. General Administration of Quality Supervision, Inspection and Quarantine of the People’s Republic of China, Discharge Standard for Water Pollutants from Ships: GB 3552-2018; Environmental Science Press: Beijing, China, 2018.
- Mysore, D.; Viraraghavan, T.; Jin, Y.C. Oil/water separation technology-A review. J. Residuals Sci. Tech. 2006, 3, 5–14. [Google Scholar]
- Le, T.V.; Imai, T.; Higuchi, T.; Yamamoto, K.; Sekine, M.; Doi, R.; Vo, H.T.; Wei, J. Performance of tiny microbubbles enhanced with “normal cyclone bubbles” in separation of fine oil-in-water emulsions. Chem. Eng. Sci. 2013, 94, 1–6. [Google Scholar] [CrossRef]
- Kratochvil, M.J.; Manna, U.; Lynn, D.M. Superhydrophobic polymer multilayers for the filtration-and absorption-based separation of oil/water mixtures. J. Polym. Sci. Pol. Chem. 2017, 55, 3127–3136. [Google Scholar] [CrossRef]
- Zhu, Y.Z.; Wang, J.L.; Zhang, F.; Gao, S.J.; Wang, A.Q.; Fang, W.X.; Jin, J. Zwitterionic nanohydrogel grafted PVDF membranes with comprehensive antifouling property and superior cycle stability for oil-in-Water emulsion separation. Adv. Funct. Mater. 2018, 28. [Google Scholar] [CrossRef]
- Liu, Y.A.; Su, Y.L.; Guan, J.Y.; Cao, J.L.; Zhang, R.N.; He, M.R.; Jiang, Z.Y. Asymmetric aerogel membranes with ultrafast water permeation for the separation of oil-in-water emulsion. ACS Appl. Mater. Interfaces 2018, 10, 26546–26554. [Google Scholar] [CrossRef]
- Rana, M.; Chen, J.T.; Yang, S.D.; Ma, P.C. Biomimetic superoleophobicity of cotton fabrics for efficient oil-water separation. Adv. Mater. Interfaces 2016, 3. [Google Scholar] [CrossRef]
- Padaki, M.; Murali, R.S.; Abdullah, M.S.; Misdan, N.; Moslehyani, A.; Kassim, M.A.; Hilal, N.; Ismail, A.F. Membrane technology enhancement in oil-water separation. A review. Desalination 2015, 357, 197–207. [Google Scholar] [CrossRef]
- Li, Y.Q.; Zhang, H.; Fan, M.Z.; Zhuang, J.D.; Chen, L.H. A robust salt-tolerant superoleophobic aerogel inspired by seaweed for efficient oil-water separation in marine environments. Phys. Chem. Chem. Phys. 2016, 18, 25394–25400. [Google Scholar] [CrossRef] [PubMed]
- Li, Y.Q.; Zhang, H.; Fan, M.Z.; Zheng, P.T.; Zhuang, J.D.; Chen, L.H. A robust salt-tolerant superoleophobic alginate/graphene oxide aerogel for efficient oil/water separation in marine environments. Sci. Rep. 2017. [Google Scholar] [CrossRef]
- Zhang, H.; Li, Y.Q.; Shi, R.H.; Chen, L.H.; Fan, M.Z. A robust salt-tolerant superoleophobic chitosan/nanofibrillated cellulose aerogel for highly efficient oil/water separation. Carbohyd. Polym. 2018, 200, 611–615. [Google Scholar] [CrossRef]
- Cortese, B.; Caschera, D.; Federici, F.; Ingo, G.M.; Gigli, G. Superhydrophobic fabrics for oil/water separation through a diamond like carbon (DLC) coating. J. Mater. Chem. A 2014, 2, 6781–6789. [Google Scholar] [CrossRef]
- Tomaszewska, M.; Orecki, A.; Karakulski, K. Treatment of bilge water using a combination of ultrafiltration and reverse osmosis. Desalination 2005, 185, 203–212. [Google Scholar] [CrossRef]
- Karakulski, K.; Gryta, M. The application of ultrafiltration for treatment of ships generated oily wastewater. Chem. Pap. 2017, 71, 1165–1173. [Google Scholar] [CrossRef]
- Hoang, A.T.; Bui, X.L.; Pham, X.D. A novel investigation of oil and heavy metal adsorption capacity from as-fabricated adsorbent based on agricultural by-product and porous polymer. Energy Sources A 2018, 40, 929–939. [Google Scholar] [CrossRef]
- Nguyen, H.N.; Pignatello, J.J. Laboratory tests of biochars as absorbents for use in recovery or containment of marine crude oil spills. Environ. Eng. Sci. 2013, 30, 374–380. [Google Scholar] [CrossRef]
- Abdelwahab, N.A.; Shukry, N.; El-Kalyoubi, S.F. Preparation and characterization of polymer coated partially esterified sugarcane bagasse for separation of oil from seawater. Environ. Technol. 2017, 38, 1905–1914. [Google Scholar] [CrossRef] [PubMed]
- Vlaev, L.; Petkov, P.; Dimitrov, A.; Genieva, S. Cleanup of water polluted with crude oil or diesel fuel using rice husks ash. J. Taiwan Inst. Chem. Eng. 2011, 42, 957–964. [Google Scholar] [CrossRef]
- Mukherjee, S.; Kansara, A.M.; Saha, D.; Gonnade, R.; Mullangi, D.; Manna, B.; Desai, A.V.; Thorat, S.H.; Singh, P.; Mukherjee, A.; et al. An ultrahydrophobic fluorous metal-organic framework derived recyclable composite as a promising platform to tackle marine oil spills. Chem. Eur. J. 2016, 22, 10937–10943. [Google Scholar] [CrossRef] [PubMed]
- Rahmani, Z.; Shafiei-Alavijeh, M.; Kazemi, A.; Rashidi, A.M. Synthesis of MIL-101@nanoporous graphene composites as hydrophobic adsorbents for oil removal. J. Taiwan Inst. Chem. Eng. 2018, 91, 597–608. [Google Scholar] [CrossRef]
- Eldin, M.S.M.; Ammar, Y.A.; Tamer, T.M.; Omer, A.M.; Ali, A.A. Development of low-cost chitosan derivatives based on marine waste sources as oil adsorptive materials: I. Preparation and characterization. Desalin. Water Treat. 2017, 72, 41–51. [Google Scholar] [CrossRef]
- Doshi, B.; Repo, E.; Heiskanen, J.P.; Sirvio, J.A.; Sillanpaa, M. Effectiveness of N, O-carboxymethyl chitosan on destabilization of Marine Diesel, Diesel and Marine-2T oil for oil spill treatment. Carbohyd. Polym. 2017, 167, 326–336. [Google Scholar] [CrossRef] [PubMed]
- Doshi, B.; Repo, E.; Heiskanen, J.P.; Sirvio, J.A.; Sillanpaa, M. Sodium salt of oleoyl carboxymethyl chitosan: A sustainable adsorbent in the oil spill treatment. J. Clean. Prod. 2018, 170, 339–350. [Google Scholar] [CrossRef]
- Gupta, P.; Kandasubramanian, B. Directional fluid gating by Janus membranes with heterogeneous wetting properties for selective oil-water separation. ACS Appl. Mater. Interfaces 2017, 9, 19102–19113. [Google Scholar] [CrossRef]
- Shiu, R.F.; Lee, C.L.; Hsieh, P.Y.; Chen, C.S.; Kang, Y.Y.; Chin, W.C.; Tai, N.H. Superhydrophobic graphene-based sponge as a novel sorbent for crude oil removal under various environmental conditions. Chemosphere 2018, 207, 110–117. [Google Scholar] [CrossRef]
- Wang, G.; Zeng, Z.X.; Wu, X.D.; Ren, T.H.; Han, J.; Xue, Q.J. Three-dimensional structured sponge with high oil wettability for the clean-up of oil contaminations and separation of oil-water mixtures. Polym. Chem. 2014, 5, 5942–5948. [Google Scholar] [CrossRef]
- Turco, A.; Primiceri, E.; Frigione, M.; Maruccio, G.; Malitesta, C. An innovative, fast and facile soft-template approach for the fabrication of porous PDMS for oil-water separation. J. Mater. Chem. A 2017, 5, 23785–23793. [Google Scholar] [CrossRef]
- Mirshahghassemi, S.; Lead, J.R. Oil recovery from water under environmentally relevant conditions using magnetic nanoparticles. Environ. Sci. Technol. 2015, 49, 11729–11736. [Google Scholar] [CrossRef] [PubMed]
- Mirshahghassemi, S.; Cai, B.; Lead, J.R. Evaluation of polymer-coated magnetic nanoparticles for oil separation under environmentally relevant conditions: Effect of ionic strength and natural organic macromolecules. Environ. Sci. Nano 2016, 3, 780–787. [Google Scholar] [CrossRef]
- Furlan, P.Y.; Ackerman, B.M.; Melcer, M.E.; Perez, S.E. Reusable magnetic nanocomposite sponges for removing oil from water discharges. J. Ship Prod. Des. 2017, 33, 227–236. [Google Scholar] [CrossRef]
- Cerqueira, A.A.; Souza, P.S.A.; Marques, M.R.C. Effects of direct and alternating current on the treatment of oily water in an electroflocculation process. Braz. J. Chem. Eng. 2014, 31, 693–701. [Google Scholar] [CrossRef]
- Aswathy, P.; Gandhimathi, R.; Ramesh, S.T.; Nidheesh, P.V. Removal of organics from bilge water by batch electrocoagulation process. Sep. Purif. Technol. 2016, 159, 108–115. [Google Scholar] [CrossRef]
- Rincon, G.J.; La Motta, E.J. Simultaneous removal of oil and grease, and heavy metals from artificial bilge water using electro-coagulation/flotation. J. Environ. Manag. 2014, 144, 42–50. [Google Scholar] [CrossRef]
- Ulucan, K.; Kabuk, H.A.; Ilhan, F.; Kurt, U. Electrocoagulation process application in bilge water treatment using response surface methodology. Int. J. Electrochem. Sci. 2014, 9, 2316–2326. [Google Scholar]
- Ulucan, K.; Kurt, U. Comparative study of electrochemical wastewater treatment processes for bilge water as oily wastewater: A kinetic approach. J. Electroanal. Chem. 2015, 747, 104–111. [Google Scholar] [CrossRef]
- Sekman, E.; Top, S.; Uslu, E.; Varank, G.; Bilgili, M.S. Treatment of oily wastewater from port waste reception facilities by electrocoagulation. Int. J. Environ. Res. 2011, 5, 1079–1086. [Google Scholar]
- Bilgili, M.S.; Ince, M.; Tari, G.T.; Adar, E.; Balahorli, V.; Yildiz, S. Batch and continuous treatability of oily wastewaters from port waste reception facilities: A pilot scale study. J. Electroanal. Chem. 2016, 760, 119–126. [Google Scholar] [CrossRef]
- Korbahti, B.K.; Artut, K. Electrochemical oil/water demulsification and purification of bilge water using Pt/Ir electrodes. Desalination 2010, 258, 219–228. [Google Scholar] [CrossRef]
- Korbahti, B.K.; Artut, K. Bilge water treatment in an upflow electrochemical reactor using Pt anode. Sep. Sci. Technol. 2013, 48, 2204–2216. [Google Scholar] [CrossRef]
- Carlesi, C.; Ramírez, N.G.; Carvajal, D.; Hernandez, M.C.; Fino, D. Electrochemical treatment of bilge wastewater. Desalin. Water Treat. 2015, 54, 1556–1562. [Google Scholar] [CrossRef]
- Xue, J.L.; Yu, Y.; Bai, Y.; Wang, L.P.; Wu, Y.N. Marine oil-degrading microorganisms and biodegradation process of petroleum hydrocarbon in marine environments: A review. Curr. Microbiol. 2015, 71, 220–228. [Google Scholar] [CrossRef] [PubMed]
- Chanthamalee, J.; Wongchitphimon, T.; Luepromchai, E. Treatment of oily bilge water from small fishing vessels by PUF-immobilized Gordonia sp. JC11. Water Air Soil Poll. 2013, 224, 1601. [Google Scholar] [CrossRef]
- Crisafi, F.; Genovese, M.; Smedile, F.; Russo, D.; Catalfamo, M.; Yakimov, M.; Giuliano, L.; Denaro, R. Bioremediation technologies for polluted seawater sampled after an oil-spill in Taranto Gulf (Italy): A comparison of biostimulation, bioaugmentation and use of a washing agent in microcosm studies. Mar. Pollut. Bull. 2016, 106, 119–126. [Google Scholar] [CrossRef]
- Ma, C.; Liu, J.; Zhou, T. Study on characteristics of marine petroleum-degrading strains and their bioremediation utilization of carbon source spectrum. J. Bionanosci. 2015, 9, 127–134. [Google Scholar] [CrossRef]
- Dokianakis, S.N.; Fountoulakis, M.S.; Kornaros, M.; Lyberatos, G. Biological treatment of sewage from ships in a sequencing batch reactor. Fresen. Environ. Bull. 2007, 16, 1608–1615. [Google Scholar]
- Zhang, W.J.; Wei, Y.; Jin, Y. Full-scale processing by anaerobic baffle reactor, sequencing batch reactor, and sand filter for treating high-salinity wastewater from offshore oil rigs. Processes 2018, 6, 256. [Google Scholar] [CrossRef]
- Choi, Y.I.; Ji, H.J.; Shin, D.Y.; Mansoor, S.; Kwan, M.J.; Lee, S.C.; Jung, J.H.; Jung, B.G.; Sung, N.C.; Wang, J.P. An evaluation of the water quality characteristics of shipboard sewage disposal and usability based on water quality enhancement. Appl. Sci. 2019, 9, 418. [Google Scholar] [CrossRef]
- Uma, V.; Gandhimathi, R. Organic removal and synthesis of biopolymer from synthetic oily bilge water using the novel mixed bacterial consortium. Bioresource Technol. 2018, 273, 169–176. [Google Scholar] [CrossRef] [PubMed]
- Le-Clech, P.; Chen, V.; Fane, T.A.G. Fouling in membrane bioreactors used in wastewater treatment. J. Membr. Sci. 2006, 284, 17–53. [Google Scholar] [CrossRef]
- Meng, F.G.; Chae, S.R.; Drews, A.; Kraume, M.; Shin, H.S.; Yang, F.L. Recent advances in membrane bioreactors (MBRs): Membrane fouling and membrane material. Water Res. 2009, 43, 1489–1512. [Google Scholar] [CrossRef]
- Sun, C.; Leiknes, T.O.; Weitzenbock, J. The effect of bilge water on a biofilm-MBR process in an integrated shipboard wastewater treatment system. Desalination 2009, 236, 56–64. [Google Scholar] [CrossRef]
- Sun, C.; Leiknes, T.O.; Weitzenbock, J. Development of a biofilm-MBR for shipboard wastewater treatment: The effect of process configuration. Desalination 2010, 250, 745–750. [Google Scholar] [CrossRef]
- Wei, Y.J.; Li, G.Y. Membrane fouling behavior and microbial community succession in a submerged membrane bioreactor treating harbor oily wastewater. J. Zhejiang Univ. Sci. A Appl. Phys. Eng. 2016, 17, 745–757. [Google Scholar] [CrossRef]
- Vyrides, I.; Drakou, E.M.; Ioannou, S.; Michael, F.; Gatidou, G.; Stasinakis, A.S. Biodegradation of bilge water: Batch test under anaerobic and aerobic conditions and performance of three pilot aerobic Moving Bed Biofilm Reactors (MBBRs) at different filling fractions. J. Environ. Manag. 2018, 217, 356–362. [Google Scholar] [CrossRef]
- Emadian, S.M.; Hosseini, M.; Rahimnejad, M.; Shahavi, M.H.; Khoshandam, B. Treatment of a low-strength bilge water of Caspian Sea ships by HUASB technique. Ecol. Eng. 2015, 82, 272–275. [Google Scholar] [CrossRef]
- Akarsu, C.; Ozay, Y.; Dizge, N.; Gulsen, H.E.; Ates, H.; Gozmen, B.; Turabik, M. Electrocoagulation and nanofiltration integrated process application in purification of bilge water using response surface methodology. Water Sci. Technol. 2016, 74, 564–579. [Google Scholar] [CrossRef]
- Cazoir, D.; Fine, L.; Ferronato, C.; Chovelon, J.M. Hydrocarbon removal from bilgewater by a combination of air-stripping and photocatalysis. J. Hazard. Mater. 2012, 235, 159–168. [Google Scholar] [CrossRef] [PubMed]
- Eskandarloo, H.; Selig, M.J.; Abbaspourrad, A. In situ H2O2 generation for de-emulsification of fine stable bilge water emulsions. Chem. Eng. J. 2018, 335, 434–442. [Google Scholar] [CrossRef]
- Moslehyani, A.; Mobaraki, M.; Matsuura, T.; Ismail, A.F.; Othman, M.H.D.; Chowdhury, M.N.K. Novel green hybrid processes for oily water photooxidation and purification from merchant ship. Desalination 2016, 391, 98–104. [Google Scholar] [CrossRef]
- Moslehyani, A.; Ismail, A.F.; Othman, M.H.D.; Isloor, A.M. Novel hybrid photocatalytic reactor-UF nanocomposite membrane system for bilge water degradation and separation. RSC Adv. 2015, 5, 45331–45340. [Google Scholar] [CrossRef]
- Moslehyani, A.; Mobaraki, M.; Isloor, A.M.; Ismail, A.F.; Othman, M.H.D. Photoreactor-ultrafiltration hybrid system for oily bilge water photooxidation and separation from oil tanker. React. Funct. Polym. 2016, 101, 28–38. [Google Scholar] [CrossRef]
- Mancini, G.; Panzica, M.; Fino, D.; Cappello, S.; Yakimov, M.M.; Luciano, A. Feasibility of treating emulsified oily and salty wastewaters through coagulation and bio-regenerated GAC filtration. J. Environ. Manag. 2016, 203, 817–824. [Google Scholar] [CrossRef]
- Jing, L.; Chen, B.; Zhang, B.Y.; Zheng, J.S.; Liu, B. Naphthalene degradation in seawater by UV irradiation: The effects of fluence rate, salinity, temperature and initial concentration. Mar. Pollut. Bull. 2014, 81, 149–156. [Google Scholar] [CrossRef]
- Jing, L.; Chen, B.; Zhang, B.Y.; Li, P. Process simulation and dynamic control for marine oily wastewater treatment using UV irradiation. Water Res. 2015, 81, 101–112. [Google Scholar] [CrossRef]
- Piao, L.F.; Kim, N.; Park, H. Effects of geometrical parameters of an oil-water separator on the oil-recovery rate. J. Mech. Sci. Technol. 2017, 31, 2829–2837. [Google Scholar] [CrossRef]
- Doshi, B.; Sillanpaa, M.; Kalliola, S. A review of bio-based materials for oil spill treatment. Water Res. 2018, 135, 262–277. [Google Scholar] [CrossRef]



















| Filtration Separation Material | Source of Oily Wastewater | Experiment Result | References |
|---|---|---|---|
| multilayer-coated mesh substrates | Simulated oil-seawater | completely preventing bulk water | [19] |
| SA-NFC aerogel | Synthetic oil-seawater mixtures | 99.65% separation efficiency; 40 cycles reusability | [24] |
| GO-ALG aerogel | Synthetic oil-seawater mixtures | >90% separation efficiency; at least 40 cycles reusability | [25] |
| NFC-CS aerogel | Synthetic oil-seawater mixtures | >90% separation efficiency; at least 40 cycles reusability | [26] |
| DLC coated cotton textile | Synthetic oily wastewater with diesel oil and crude oil | >99% separation efficiency | [27] |
| integrated UF/RO membrane | Synthetic oily bilge water | <10 mg/L oil and no SS during UF process; 70% TOC, 90% cations, P2O5 and sulfate anion during RO process | [28] |
| UF process with FP100 membrane | Oily bilge wastewater from harbor wastewater treatment facility Miedzyodrze (Szczecin, Poland) | 0.9–1.1 mg/L oil; 0.08-0.26 NTU | [29] |
| Treatment Method | Source of Oily Wastewater | Experiment Result | Ref | |
|---|---|---|---|---|
| Adsorption method | Polyacrylonitrile-coated esterified bagasse (PAN-EB) sorbent | Synthetic oil-seawater mixtures with diesel oil | 8.4 g/g diesel oil; reused > 6 cycles | [32] |
| Black rice husk ash (BRHA) adsorbent | Synthetic oily bilge water with crude oil and diesel oil | 6.22 g/g crude oil; 5.02 g/g diesel oil | [33] | |
| MIL-101@NPG | Simulate offshore oil spill | 14g/g crude oil | [35] | |
| Sodium salt of oleoyl carboxymethyl chitosan (NaO-CMCS) adsorbent | Synthetic oil-in-water emulsion with marine diesel | 75–85% oil in deionized water; 19–49% oil in seawater | [37,38] | |
| Janus membrane (cotton substrate) | Synthetic oil-seawater mixtures with diesel oil | 98% separation efficiency; 30 recurrences | [39] | |
| Polyurethane (PU) sponge adsorbent | Synthetic oil-water emulsion with crude oil | 93% oil removal; 40 times recyclability | [41] | |
| PVP-coated magnetite nanoparticles | Synthetic oil-seawater mixtures with crude oil | nearly 100% oil removal | [43,44] | |
| magnetic PDMS nanocomposite sponge | Oily wastewater from vessels | 440% cleaning agent, 580% emulsified oil droplets, 415-760% oils of varied viscosities and densities | [45] | |
| Electrochemical oxidation method | Al-Al electrode, pH = 7, applied voltage 10 V, electrolysis 120 min | Synthetic oily bilge water and real oily bilge water | 85% COD for synthetic bilge water; 89.94% COD for real bilge water | [47] |
| Carbon steel and Al electrodes, flow rate 1 L/min, current density 0.6 A/cm2 | Synthetic bilge water with 5000 mg/L oil, 5 mg/L copper, 1.5 mg/L nickel, 2.5 mg/L zinc | <10 mg/L oil, 99% zinc, 70% copper, and nickel removal | [48] | |
| 6.95 of pH, 9.87 mA/cm2 of current density, 29 °C inlet temperature | Bilge water from Haydarpaşa Port Waste Acceptance Plant in Turkey with 1033mg/L of COD and 338 mg/L of oil | 90.3% COD and 81.7% oil | [49,50] | |
| Al electrode with current density of 50 A/cm2, electrolysis 20 min | Oily wastewater from a port reception facility in Turkey | 65% SS, 75% oil and 60% COD in batch reaction; 80% SS, 90% oil and 77% COD in continuous reaction | [51,52] | |
| Pt/Ir electrodes, reaction temperature 32 °C, current density 12.8 mA/cm2 | Synthetic bilge water with 50%/50% seawater/freshwater, 3080 mg/L COD and 2000 mg/L oil | 99.2% COD, 93.2% oil, and 91.1% turbidity | [53,54] | |
| parallel plate electrodes (stainless steel and oxidized titanium), electrolysis 2h | Bilge water from Valparaiso and San Antonio ports in Chile | 80% color scale; 70% NTU; 50% COD; 40% Pb-Zn | [55] | |
| Treatment Method | Source of Oily Wastewater | Experiment Result | Ref | |
|---|---|---|---|---|
| Microbial metabolism method | PUF-immobilized bacteria | Bilge water from fishing vessels in the Sing Amnuai fishing port, Thailand | 40–50% of boat lubricant | [57] |
| Biostimulation, bioaugmentation and addition of nutrients | real oil-spill wastewater from Gulf of Taranto (Italy) | 73 ± 2.4% of hydrocarbons through biostimulation, 79 ± 3.2% through bioaugmentation, 69 ± 2.6% while the addition of nutrients and a washing agent | [58] | |
| petroleum-degrading yeasts | Synthetic oil-spill wastewater | 51% oil degradation rate | [59] | |
| Activated sludge method | SBR, SRT of 5 d, pH = 7 and CT of 24 h | synthetic oily bilge water | 81% COD | [63] |
| Biofilm method | biofilm-MBR | shipboard wastewater containing grey/black water and oily bilge water | <5 mg/L oil concentration | [66,67] |
| A/O-MBR | harbor oily wastewater | About 90 % COD | [68] | |
| MBBR with anaerobic granular sludge followed by inoculation of aerobic microbial consortium | bilge water from treatment company at Zygi, Cyprus | 60% COD | [69] | |
| HUASB bio-reactor with 8 h HRT and 0.6g COD/d OLR | dilute bilge water from Amirabad port, Iran | 75% COD | [70] | |
| Combined Method | Experiment Condition | Source of Oily Wastewater | Experiment Result | Ref |
|---|---|---|---|---|
| Electrocoagulation/nanofiltration (EC/NF) process | Aluminum electrode, EC/NF integrated system, commercial NF270 flat-sheet membrane, pH = 8, t = 90 min, 10 V of potential | Bilge water from Mersin Waste Receiving Facilities in Turkey with 423 mg/L of COD | 52% COD after EC, 74% COD and <150 mg COD/L after EC/NF integrated process | [71] |
| Photocatalysis and air-stripping | Photo catalysis and air-stripping in a cylindrical 1 L batch liquid phase reactor for 8.5 h | Bilge water from a French military ship | <15ppm oil | [72] |
| Photo-electrochemical system | Photocatalytic oxidation on Pt/TiO2 anode under visible light irradiation, electro-Fenton oxidation on Fe2O3 supported graphite cathode | Simulated bilge water with diesel fuel marine, lubricating oil, detergents and surfactants | 70% COD, continuous operation for 10 times | [73] |
| Photocatalytic reactor-ultrafiltration (PR-UF) | Photolysis with UV light for 6 h, ultrafiltration with PVDF/HNT membrane for 1 h | Bilge water from Malaysian oil tanker with 400 ml/L of hydrocarbon concentration | >80% TOC and >90% hydrocarbons by photolysis; >99% hydrocarbons by ultrafiltration | [74,75,76] |
| Coagulation-filtration-bioregeneration | 90 mg/L (Al2(SO4)3, GAC column filtration with 0.1–0.3 kg/m3 carbon usage rate, biological regeneration process with marine hydrocarbonoclastic bacterium Alcanivorax borkumensis SK2. | Emulsified oily bilge water from the barges transiting in the industrial port of Augusta (Sicily) | 30% COD by coagulation; reached emission limit by filtration; 90% of the initial sorption capacity by regeneration process | [77] |
| ANN-UV irradiation | UV light, ANN with DOE to predict the degradation process of PAHs | Synthetic marine oily wastewater | All naphthalene pollutants were removed, and ANN is consistent with the experimental results. | [78,79] |
| Numerical simulation and Gravity separation | Used a two-dimensional numerical simulation and proposed a new design of oil-water separation system with a “U-shaped” passage | Synthetic marine oily wastewater | >95% oil-recovery rate | [80] |
| Treatment Method | Application Scope | Characteristic | |
|---|---|---|---|
| Physical treatment | Gravity separation method | Floating oil and dispersed oil | Low cost, simple device, easy to operate, but large area, limited separation capacity and poor treatment effect on emulsified oil. |
| Coagulation separation method | Dispersed oil and emulsified oil | Low cost, small equipment, easy to operate, poor treatment effect with surfactant. | |
| Filtration separation method | Dispersed oil, emulsified oil, dissolved oil and hazardous metal ions | Low cost on equipment, but the filter need to be rinsed repeatedly | |
| Chemical treatment | Adsorption method | Emulsified oil and dissolved oil, detergents | High cost on equipment, small area, adsorbents regeneration difficult. |
| Electrochemical oxidation method | Emulsified oil, hazardous metal ions | High cost, large power consumption, complex device, but low space requirements and efficient treatment in a short time. | |
| Biological treatment | Microbial metabolism method | Dissolved oil | Low cost, no additional chemical operation, but time-consuming, low efficiency and difficult to handle on a large scale. |
| Activated sludge method | Emulsified oil and dissolved oil | Low cost, low treatment capacity, easy to automatic system control, but large area, strong resistance. | |
| Biofilm method | Emulsified oil and dissolved oil | Low cost, simple operation and good separation effect, good separation effect and impact resistance. | |
© 2019 by the authors. Licensee MDPI, Basel, Switzerland. This article is an open access article distributed under the terms and conditions of the Creative Commons Attribution (CC BY) license (http://creativecommons.org/licenses/by/4.0/).
Share and Cite
Han, M.; Zhang, J.; Chu, W.; Chen, J.; Zhou, G. Research Progress and Prospects of Marine Oily Wastewater Treatment: A Review. Water 2019, 11, 2517. https://doi.org/10.3390/w11122517
Han M, Zhang J, Chu W, Chen J, Zhou G. Research Progress and Prospects of Marine Oily Wastewater Treatment: A Review. Water. 2019; 11(12):2517. https://doi.org/10.3390/w11122517
Chicago/Turabian StyleHan, Meiling, Jin Zhang, Wen Chu, Jiahao Chen, and Gongfu Zhou. 2019. "Research Progress and Prospects of Marine Oily Wastewater Treatment: A Review" Water 11, no. 12: 2517. https://doi.org/10.3390/w11122517
APA StyleHan, M., Zhang, J., Chu, W., Chen, J., & Zhou, G. (2019). Research Progress and Prospects of Marine Oily Wastewater Treatment: A Review. Water, 11(12), 2517. https://doi.org/10.3390/w11122517

