Indoor Air Quality (IAQ) Management in Hong Kong: The Way Forward
Abstract
1. Introduction
2. Regional Responses to IAQ Problems
2.1. Australia
2.2. China
2.3. Europe
2.3.1. Finland
2.3.2. Germany
2.4. Japan
2.5. South Korea
2.6. Taiwan
2.7. World Health Organisation
2.8. Summary of Regional IAQ Policies
3. Review of the Guidance Notes and the IAQ Certification Scheme
3.1. Background
3.2. Voluntary Basis, High Implementation, and Improvement Cost
3.3. Stringent IAQ Standards
3.4. Lack of Flexibility in the Assessment Procedure
4. Potential Future Development of IAQ Policy in Hong Kong
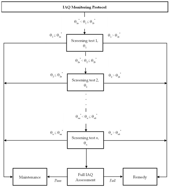
4.1. Implementing Territory-Wide IAQ Screening
- Preliminary identification of places with potential IAQ problems: IAQ screening helps identify locations with underlying IAQ issues, allowing for targeted investigations and interventions.
- Establishment of an IAQ profile for different indoor environments: Conducting screening across various indoor environments in Hong Kong helps create an IAQ profile specific to each setting. This profile provides valuable insights into the general IAQ conditions and can guide policy decisions and interventions.
- Identification of specific IAQ problems in individual environments: IAQ screening enables the identification of specific IAQ issues present in each particular environment, allowing for focused mitigation strategies and interventions.
- The indicator approach utilises key IAQ indicators to represent the overall air quality in an indoor environment. Measuring indicators such as CO2, TVOCs, and particulate matter provides information about general IAQ conditions and helps identify potential issues.
- The health-risk approach evaluates the potential health risks associated with the IAQ in a particular environment. It considers factors such as the level of specific pollutants, toxicology and epidemiological data, and the associated health effects.
4.2. IAQ Index with Surrogate Indicators (IAQSI)
- IAQ index θ1—CO2;
- IAQ index θ2—CO2 and PM10;
- IAQ index θ3—CO2, PM10 and TVOC.
4.3. IAQ Profile Updating for an Individual Environment
4.4. IAQ Health Index (IAQHI)
4.5. Establishing IAQ Benchmarks
4.6. IAQ Policies, Future Pandemics, and Building Ventilation Energy
5. Conclusions
Supplementary Materials
Author Contributions
Funding
Institutional Review Board Statement
Informed Consent Statement
Data Availability Statement
Conflicts of Interest
References
- Klepeis, N.E.; Nelson, W.C.; Ott, W.R.; Robinson, J.P.; Tsang, A.M.; Switzer, P.; Behar, J.V.; Hern, S.C.; Engelmann, W.H. The National Human Activity Pattern Survey (NHAPS): A resource for assessing exposure to environmental pollutants. J. Expo. Anal. Environ. Epidemiol. 2001, 11, 231–252. [Google Scholar] [CrossRef]
- Burroughs, H.E.; Hansen, S.J. Managing Indoor Air Quality; Fairmont Press: Lilburn, GA, USA, 2001. [Google Scholar]
- Household Air Pollution; World Health Organization: Geneva, Switzerland, 2023. Available online: https://www.who.int/news-room/fact-sheets/detail/household-air-pollution-and-health#:~:text=Household%20air%20pollution%20exposure%20leads,(COPD)%20and%20lung%20cancer (accessed on 26 March 2024).
- Andersson, K.; Bakke, J.V.; Bjorseth, O.; Bornehag, C.; Clausen, G.; Hongslo, J.K.; Kjellman, M.; Kjærgaard, S.; Levy, F.; Mølhave, L.; et al. TVOC and health in non-industrial indoor environments. Report from a Nordic scientific consensus meeting at Långholmen in Stockholm, 1996. Indoor Air 1997, 7, 78–91. [Google Scholar] [CrossRef]
- Apte, M.G.; Fisk, W.J.; Daisey, J.M. Associations between indoor CO2 concentrations and Sick Building Syndrome Symptoms in U.S. office buildings: An analysis of the 1994–1996 BASE study data. Indoor Air 2000, 10, 246–257. [Google Scholar] [CrossRef] [PubMed]
- Joshi, S. The sick building syndrome. Indian J. Occup. Environ. Med. 2008, 12, 61. [Google Scholar] [CrossRef]
- Kampa, M.; Castanas, E. Human health effects of air pollution. Environ. Pollut. 2008, 151, 362–367. [Google Scholar] [CrossRef] [PubMed]
- Mølhave, L. Volatile Organic Compounds and the Sick Building Syndrome. Environmental Toxicants, Human Exposures and Their Health Effects, 2nd ed.; Wiley-Interscience: New York, NY, USA, 2000; pp. 889–903. [Google Scholar]
- Seppanen, O.A.; Fisk, W.J.; Mendell, M.J. Association of ventilation rates and CO2 concentrations with health and other responses in commercial and institutional buildings. Indoor Air 1999, 9, 226–252. [Google Scholar] [CrossRef] [PubMed]
- Tchepel, O.; Penedo, A.; Gomes, M. Assessment of population exposure to air pollution by benzene. Int. J. Hyg. Environ. Health 2007, 210, 407–410. [Google Scholar] [CrossRef]
- Hoskins, J.A. Health effects due to indoor air pollution. Indoor Built Environ. 2003, 12, 427–433. [Google Scholar] [CrossRef]
- Hui, P.S.; Wong, L.T.; Mui, K.W. Feasibility study of an Express Assessment Protocol for the Indoor Air Quality of Air-conditioned Offices. Indoor Built Environ. 2006, 15, 373–378. [Google Scholar] [CrossRef]
- Liao, S.; Bacon-Shone, J.; Kim, Y. Factors influencing indoor air quality in Hong Kong: Measurements in offices and shops. Environ. Technol. 1991, 12, 737–745. [Google Scholar] [CrossRef]
- The Hong Kong Environment: A Green Challenge to the Community: Second Review of the 1989 White Paper, Pollution in Hong Kong: A Time to Act; Government Secretariat (Hong Kong), Planning, Environment and Lands Branch (PELB): Hong Kong, China, 1993.
- The Hong Kong Interim Indoor Air Quality Guidelines and Hong Kong Air Quality Objective; Hong Kong Environmental Protection Department: Hong Kong, China, 1994.
- Ng, D.; Lai, W.Y. Final Report: Consultancy Study on Indoor Air Pollution in Offices and Public Places in Hong Kong (Agreement No. CE 14/95); EHS Consultants Limited and HKEPD Air Services Group: Hong Kong, China, 1995. [Google Scholar]
- Indoor Air Quality Information Center. Available online: http://www.epd.gov.hk/epd/english/environmentinhk/air/indoorair_quality/air_indoorair.html (accessed on 26 March 2024).
- WHO Guidelines for Indoor Air Quality: Selected Pollutants; World Health Organization: Geneva, Switzerland, 2010.
- 2023 Gross Domestic Product by Economic Activity; Census and Statistics Department: Hong Kong, China, 2023.
- Hong Kong Property Review 2019; Rating and Valuation Department: Hong Kong, China, 2019.
- Annual Report 2023—Corporate Sustainability; New World Development Company Limited: Hong Kong, China, 2023.
- Introduction to Pacific Place’s New IAQ Monitoring System; Swire Properties: Hong Kong, China, 2020. Available online: https://iaq.pacificplace.com.hk/en/introduction (accessed on 26 March 2024).
- Sustainability Report 2021/22; Sun Hung Kai Properties Limited: Hong Kong, China, 2022.
- Morawska, L.; Huang, W. WHO health guidelines for indoor air quality and national recommendations/standards. In Handbook of Indoor Air Quality; Zhang, Y., Hopke, P.K., Mandin, C., Eds.; Springer: Singapore, 2022; Volume 19, pp. 1–20. [Google Scholar]
- Interim National Indoor Air Quality Goals Recommended by the National Health and Medical Research Council; National Health and Medical Research Council: Canberra, Australia, 1996.
- State of Knowledge Report: Air Toxics and Indoor Air Quality in Australia; Environment Australia: Canberra, Australia, 2001.
- National Construction Code 2016; The Australia Building Codes Board: Canberra, Australia, 2016.
- Indoor Air Quality Verification Methods Handbook; The Australia Building Codes Board: Canberra, Australia, 2023.
- GB9663-1996; Hygienic Standard for Hotel. Ministry of Health of the People’s Republic of China: Beijing, China, 1996.
- GB9664-1996; Hygienic Standard for Public Place of Entertainment. Ministry of Health of the People’s Republic of China: Beijing, China, 1996.
- GB9665-1996; Hygienic Standard for Public Bathroom. Ministry of Health of the People’s Republic of China: Beijing, China, 1996.
- GB9666-1996; Hygienic Standard for Barber Shop and Beauty Shop. Ministry of Health of the People’s Republic of China: Beijing, China, 1996.
- GB9667-1996; Hygienic Standard for Swimming Place. Ministry of Health of the People’s Republic of China: Beijing, China, 1996.
- 34. GB9668-1996; Hygienic Standard for Gymnasium. Ministry of Health of the People’s Republic of China: Beijing, China, 1996.
- GB9669-1996; Hygienic Standard for Library, Museum, Art Gallery and Exhibition. Ministry of Health of the People’s Republic of China: Beijing, China, 1996.
- GB9670-1996; Hygienic Standard for Shopping Center and Book Store. Ministry of Health of the People’s Republic of China: Beijing, China, 1996.
- GB9671-1996; Hygienic Standard for Hospital Waiting Room. Ministry of Health of the People’s Republic of China: Beijing, China, 1996.
- GB9672-1996; Hygienic Standard for Waiting Room of Public Transit Means. Ministry of Health of the People’s Republic of China: Beijing, China, 1996.
- GB9673-1996; Hygienic Standard for Public Means of Transportation. Ministry of Health of the People’s Republic of China: Beijing, China, 1996.
- GB16153-1996; Hygienic Standard for Dining Room. Ministry of Health of the People’s Republic of China: Beijing, China, 1996.
- GB37487-2019; Hygienic Management Specification for Public Places. National Health Commission of the People’s Republic of China: Beijing, China, 2019.
- GB37488-2019; Hygienic Indicators and Limits for Public Places (GB37488-2019). National Health Commission of the People’s Republic of China: Beijing, China, 2019.
- GB/T18883-2002; Indoor Air Quality Standard. The Administration of Quality Supervision, Inspection, and Quarantine; Ministry of Health. Ministry of Environmental Protection: Beijing, China, 2002.
- GB/T18883-2022; Indoor Air Quality Standard. National Health Commission of the People’s Republic of China: Beijing, China, 2022.
- Opinion on Risk Assessment on Indoor Air Quality; Scientific Committee on Health and Environmental Risks, Europe Commission: Brussels, Belgium, 2007.
- Husman, T.M. The Health Protection Act, national guidelines for indoor air quality and development of the national indoor air programs in Finland. Environ. Health. Perspect. 1999, 107 (Suppl. S3), 515–517. [Google Scholar] [CrossRef]
- Murtomaa, M.; Aurola, R. Guide on Living Conditions and Maintenance of Apartment Buildings; Finnish National Board of Health: Rauma, Finland, 1990. (In Finnish) [Google Scholar]
- Indoor Air Guidelines; Ministry of Social Affairs and Health: Helsinki, Finland, 1997. (In Finnish)
- The Classification of Indoor Climate, Construction, and Finishing Materials; The Finnish Society of Indoor Air Quality and Climate (FiSIAQ): Finland, 2018.
- Tuomainen, M.; Pasanen, A.L.; Tuomainen, A.; Liesivuori, J.; Juvonen, P. Usefulness of the Finnish classification of indoor climate, construction and finishing materials: Comparison of indoor climate between two blocks of flats in Finland. Atmos. Environ. 2001, 35, 305–313. [Google Scholar] [CrossRef]
- Concept of the German Federal Government for Better Indoor Air Quality; Federal Environment Ministry: Berlin, Germany, 1992. (In German)
- Ad-hoc-Arbeitsgruppe IRK-AGLMB. Guideline values for indoor air: General Scheme. Bundesgesundheitsblatt 1996, 39, 422–426. (In German) [Google Scholar]
- Fromme, H.; Debiak, M.; Sagunski, H.; Röhl, C.; Kraft, M.; Kolossa-Gehring, M. The German approach to regulate indoor air contaminants. Int. J. Hyg. Environ. Health 2019, 222, 347–354. [Google Scholar] [CrossRef]
- German Committee on Indoor Air Guide Values; German Environment Agency (UBA): Berlin, Germany, 2023.
- Azuma, K.; Uchiyama, I.; Ikeda, K. The regulations for indoor air pollution in Japan: A public health perspective. J. Risk. Res. 2008, 11, 301–314. [Google Scholar] [CrossRef]
- Act on Securing a Hygienic Environment in Buildings (Act No. 20 of 1970); Ministry of Health, Labor and Welfare: Tokyo, Japan, 1970.
- Interim Report Summary up to the 23rd Issue; Ministry of Health, Labor and Welfare: Tokyo, Japan, 2019.
- Clean Air Conservation Act (Presidential Decree No. 21325); Korea Legislation Research Institute: Seoul, Republic of Korea, 2009.
- Indoor Air Quality Control in Public Use Facilities, etc. Act (Act No. 10789); Ministry of Environment: Seoul, Republic of Korea, 2011.
- Indoor Air Quality Control Act (Act No. 19663); Ministry of Environment: Seoul, Republic of Korea, 2024.
- Suggested Values for Indoor Air Quality; Environmental Protection Administration Executive Yuan R.O.C. (Taiwan): Taipei City, Taiwan, 2005.
- Indoor Quality Management Act (Presidential Order No. 10000259721); Ministry of Environment: Taipei City, Taiwan, 2011.
- WHO Guidelines for Indoor Air Quality: Dampness and Mold; World Health Organization: Geneva, Switzerland, 2009.
- WHO Guidelines for indoor air quality: Household fuel combustion; World Health Organization: Geneva, Switzerland, 2014.
- Guidance Notes for the Management of Indoor Air Quality in Offices and Public Places; Indoor Air Quality Management Group: Hong Kong, China, 2019.
- A Guide on Indoor air Quality Certification Scheme for Offices and Public Places; Indoor Air Quality Management Group: Hong Kong, China, 2019.
- Indoor Air Quality (IAQ) Complaint Received by the Government; Environmental Protection Department: Hong Kong, China, 2022.
- Certified Premise List; Environmental Protection Department: Hong Kong, China, 2024. Available online: https://www.iaq.gov.hk/en/iaq-certification-scheme-certified-premises-list/ (accessed on 26 March 2024).
- Burnett, J. Indoor air quality certification scheme for Hong Kong buildings. Indoor Built Environ. 2005, 14, 201–208. [Google Scholar] [CrossRef]
- Mui, K.W.; Wong, L.T. Evaluation on different sampling schemes for assessing indoor radon level in Hong Kong. Atmos. Environ. 2004, 38, 6711–6723. [Google Scholar] [CrossRef]
- Mui, K.W.; Wong, L.T.; Ho, W.L. Evaluation on sampling point densities for assessing indoor air quality. Build. Environ. 2006, 41, 1515–1521. [Google Scholar] [CrossRef]
- Lee, T.H.; Kim, W.R.; Poterucha, J.J. Evaluation of elevated liver enzymes. Clin. Liver. Dis. 2012, 16, 183–198. [Google Scholar] [CrossRef] [PubMed]
- Aithal, G.P.; Guha, N.; Fallowfield, J.; Castera, L.; Jackson, A.P. Biomarkers in liver disease: Emerging methods and potential applications. Int. J. Hepatol. 2012, 2012, 437508. [Google Scholar] [CrossRef]
- Jouzel, J.; Koster, R.D.; Suozzo, R.J.; Russell, G.L. Stable water isotope behavior during the last glacial maximum: A general circulation model analysis. J. Geophys. Res. 2014, 99, 25791. [Google Scholar]
- Mølhave, L. Organic compounds as indicators of air pollution. Indoor Air 2003, 13 (Suppl. S6), 12–19. [Google Scholar] [CrossRef] [PubMed]
- Mui, K.W.; Wong, L.T.; Hui, P.S. A new sampling approach for assessing indoor air quality. Indoor Built Environ. 2006, 15, 165–172. [Google Scholar] [CrossRef]
- Wong, L.T.; Mui, K.W.; Hui, P.S. A statistical model for characterizing common air pollutants in air-conditioned offices. Atmos. Environ. 2006, 40, 4246–4257. [Google Scholar] [CrossRef]
- Wong, L.T.; Mui, K.W.; Hui, P.S. Screening for indoor air quality of air-conditioned offices. Indoor Built Environ. 2007, 16, 438–443. [Google Scholar] [CrossRef]
- Swets, J.A. The relative operating characteristic in psychology: A technique for isolating effects of response bias finds wide use in the study of perception and cognition. Science 1973, 182, 990–1000. [Google Scholar] [CrossRef] [PubMed]
- Pauker, S.G.; Kassirer, J.P. Therapeutic decision making: A cost-benefit analysis. N. Engl. J. Med. 1975, 293, 229–234. [Google Scholar] [CrossRef] [PubMed]
- Thornbury, J.R.; Fryback, D.G.; Edwards, W. Likelihood ratios as a measure of the diagnostic usefulness of excretory urogram information. Radiology 1975, 114, 561–565. [Google Scholar] [CrossRef]
- Sackett, D.L. Evidence-Based Medicine: How to Practice and Teach EBM, 2nd ed.; Churchill Livingstone: Edinburgh, UK, 2001. [Google Scholar]
- Mui, K.W.; Hui, P.S.; Wong, L.T. Diagnostics of unsatisfactory indoor air quality in air-conditional workplaces. Indoor Built Environ. 2011, 20, 313–320. [Google Scholar] [CrossRef]
- Wong, L.T.; Mui, K.W.; Tsang, T.W. Evaluation of indoor air quality screening strategies: A step-wise approach for IAQ screening. Int. J. Environ. Res. Public Health 2016, 3, 1240. [Google Scholar] [CrossRef]
- Reagan, R.T.; Mosteller, F.; Youtz, C. Quantitative meanings of verbal probability expressions. J. Appl. Psychol. 1989, 74, 433–442. [Google Scholar] [CrossRef] [PubMed]
- Saini, J.; Dutta, M.; Marques, G. A comprehensive review on indoor air quality monitoring systems for enhanced public health. Sus. Environ. Res. 2020, 30, 6. [Google Scholar] [CrossRef]
- Sá, J.P.; Alvim-Ferraz, M.C.M.; Martins, F.G.; Sousa, S.I. Application of the low-cost sensing technology for indoor air quality monitoring: A review. Environ. Technol. Innov. 2022, 28, 102551. [Google Scholar] [CrossRef]
- Arora, I.; Gupta, A. Cloud databases: A paradigm shift in databases. Int. J. Comput. Sci. Issues 2012, 9, 77. [Google Scholar]
- Mui, K.W.; Wong, L.T.; Hui, P.S.; Law, K.Y. Epistemic evaluation of policy influence on workplace indoor air quality of Hong Kong in 1996–2005. Build. Serv. Eng. Res. Technol. 2008, 29, 157. [Google Scholar] [CrossRef]
- Wong, T.W.; Tam, W.W.; Yu, I.T.; Lau, A.K.; Pang, S.W.; Wong, A.H. Developing a risk-based air quality health index. Atmos. Environ. 2013, 76, 52–58. [Google Scholar] [CrossRef]
- The New AQHI System—Purpose and Use. Available online: http://www.aqhi.gov.hk/en/what-is-aqhi/about-aqhi.html (accessed on 26 March 2024).
- Robertson, D. The rise in the atmospheric concentration of carbon dioxide and the effects on human health. Med. Hypotheses 2001, 56, 513–518. [Google Scholar] [CrossRef][Green Version]
- Mølhave, L.; Clausen, G.; Berglund, B.; Ceaurriz, J.; Kettrup, A.; Lindvall, T.; Maroni, M.; Pickering, A.C.; Risse, U.; Rothweiler, H.; et al. Total Volatile Organic Compounds (TVOC) in indoor air quality investigations. Indoor Air 1997, 7, 225–240. [Google Scholar] [CrossRef]
- Hoskins, J.A. Health Effects Due to Indoor Air Pollution. In Survival and Sustainability; Gökçekus, H., Türker, U., LaMoreaux, J.W., Eds.; Springer: Berlin/Heidelberg, Germany, 2003; pp. 665–676. [Google Scholar]
- WHO Guidelines for Indoor Air Quality; World Health Organization: Geneva, Switzerland, 2000.
- BEAM Plus New Buildings (Version 1.2); BEAM Society Limited: Hong Kong, China, 2012.


| Parameter | Temp | RH | Air Velocity | CO2 | CO | O3 | Rn | ||||||||||||
|---|---|---|---|---|---|---|---|---|---|---|---|---|---|---|---|---|---|---|---|
| Place/Organisation | IAQ management policies | unit | °C | % | m/s | ppm | % | μg/m3 | ug/m3 | ppm | μg/m3 | Bq/m3 | |||||||
| Averaging time | - | - | - | 8 h | 15 min | 1 h | 8 h | 24 h | 15 min | 30 min | 1 h | 8 h | 8 h | 8 h | 8 h | ||||
| Australia | National Construction Code | - | - | - | - | 850 | - | - | - | - | 90 | 50 | 25 | 10 | 0.0473 | 100 | - | ||
| China | Hygiene Indicators and Limits for Public Places | - | 16–20 (winter) 26–28 (summer) | 40–65 | <0.5 | - | 0.15 | - | - | 10,000 | - | - | - | - | - | - | 160 | 400 | |
| Finland | Classification of Indoor Climate, Construction Cleanliness, and Finishing Materials | Individual indoor climate (S1) | - | - | - | 350 above outdoor | - | - | - | - | - | - | - | - | - | - | 100 | ||
| Good indoor climate (S2) | - | - | - | 550 above outdoor | - | - | - | - | - | - | - | - | - | - | 100 | ||||
| Satisfactory indoor climate (S3) | - | - | - | 800 above outdoor | - | - | - | - | - | - | - | - | - | - | 200 | ||||
| Germany | Indoor Air Guide Values (selected) | Hygiene guide values | - | - | - | 1000 a | - | - | - | - | - | - | - | 10 | - | - | - | ||
| - | - | - | 1000–2000 b | - | - | - | - | - | - | - | - | - | - | - | |||||
| - | - | - | >2000 c | - | - | - | - | - | - | - | - | - | - | - | |||||
| Hong Kong | IAQ Certification Scheme | Excellent class | - | - | - | 800 | - | - | 2000 | - | - | - | - | 1.7 | 0.025 | 50 | 150 | ||
| Good class | - | - | - | 1000 | - | - | 7000 | - | - | - | - | 6.1 | 0.061 | 120 | 167 | ||||
| Japan | Building Sanitation Act | - | 18–28 | 40–70 | <0.5 | 1000 | - | - | - | - | - | - | - | 6 | - | - | - | ||
| South Korea | Indoor Air Quality Control Act | Sensitive group | - | - | - | 1000 * | - | - | - | - | - | - | - | 10 * | - | - | 148 | ||
| General environment | - | - | - | 1000 * | - | - | - | - | - | - | - | 10 * | - | - | 148 | ||||
| Apartment complex | - | - | - | - | - | - | - | - | - | - | - | - | - | 148 | |||||
| Taiwan | Indoor Air Quality Management Act | - | - | - | - | 1000 | - | - | - | - | - | - | - | 9 | 0.06 | - | - | ||
| World Health Organisation | WHO Guidelines for Indoor Air Quality: Selected Pollutants | - | - | - | - | - | 100,000 | 35,000 | 10,000 | 700 | - | - | - | - | - | - | 167 d | ||
| Parameter | HCHO | TVOC | Bacteria | Fungi/Mould | |||||||||||||||
| Place/Organisation | IAQ management policies | unit | μg/m3 | ppm | μg/m3 | ppm | CFU/m3 | CFU/m3 | |||||||||||
| Averaging time | 0.5 h | 1 h | 8 h | 0.5 h | 1 h | 8 h | 1 h | 8 h | 1 h | 8 h | 8 h | max | max | ||||||
| Australia | National Construction Code | - | 100 | - | - | - | - | - | 500 | - | - | - | - | - | - | ||||
| China | Hygiene Indicators and Limits for Public Places | - | - | 100 | - | - | - | - | 600 | - | - | - | - | 4000 (1500 e) | - | ||||
| Germany | Indoor Air Guide Values (selected) | Precautionary guide value (GV I) | - | 100 | - | - | - | - | - | - | - | - | - | - | - | ||||
| Hygiene guide values | - | - | - | - | - | - | 300 f | - | - | - | - | - | - | ||||||
| - | - | - | - | - | - | 300–1000 g | - | - | - | - | - | - | |||||||
| - | - | - | - | - | - | 1000–3000 h | - | - | - | - | - | - | |||||||
| - | - | - | - | - | - | 3000–10,000 i | - | - | - | - | - | - | |||||||
| - | - | - | - | - | - | >10,000 j | - | - | - | - | - | - | |||||||
| Hong Kong | IAQ Certification Scheme | Excellent class | 70 | - | 0.03 | 0.057 | - | 0.024 | - | 200 | - | 0.087 | 500 | - | Prescriptive checklist | ||||
| Good class | 100 | - | 0.1 | 0.081 | - | 0.081 | - | 600 | - | 0.261 | 1000 | - | - | ||||||
| Japan | Building Sanitation Act | - | - | 100 | - | - | 0.08 | - | - | - | - | - | - | - | - | ||||
| Guidelines for Indoor Air Quality (selected) | - | - | 100 | - | - | 0.08 | - | 400 | - | - | - | - | - | - | |||||
| South Korea | Indoor Air Quality Control Act | Sensitive group | - | 80* | - | - | - | - | 400 | - | - | - | - | 800 * | 500 | ||||
| General environment | - | 100* | - | - | - | - | 500 | - | - | - | - | - | - | ||||||
| Taiwan | Indoor Air Quality Management Act | - | - | - | - | - | 0.08 | - | - | - | 0.56 | - | - | 1500 | 1000 | ||||
| World Health Organisation | WHO Guidelines for Indoor Air Quality: Selected Pollutants | - | 100 | - | - | - | - | - | - | - | - | - | - | - | - | ||||
| Parameter | PM10 | PM2.5 | NO2 | ||||||||||||||||
| Place/Organisation | IAQ management policies | unit | ug/m3 | ug/m3 | ug/m3 | ppm | |||||||||||||
| Averaging time | 8 h | 24 h | 1 yr | 24 h | 1 yr | 1 h | 8 h | 1 yr | 1 h | 8 h | 1 yr | ||||||||
| Australia | National Construction Code | - | - | 50 | 20 | 25 | 10 | 200 | 40 | 0.099 | 0.0197 | ||||||||
| China | Hygiene Indicators and Limits for Public Places | - | - | 150 | - | - | - | - | - | - | - | - | - | ||||||
| Finland | Classification of Indoor Climate, Construction Cleanliness, and Finishing Materials | Individual indoor climate (S1) | - | - | - | 10 | - | - | - | - | - | - | - | ||||||
| Good indoor climate (S2) | - | - | - | 10 | - | - | - | - | - | - | - | ||||||||
| Satisfactory indoor climate (S3) | - | - | - | 25 | - | - | - | - | - | - | - | ||||||||
| Germany | Indoor Air Guide Values (selected) | Precautionary guide value (GV I) | - | - | - | - | - | - | - | - | 0.08 | - | - | ||||||
| Hazard guide value (GV II) | - | - | - | - | - | - | - | - | 0.25 | - | - | ||||||||
| Hygiene guide values | - | - | - | 15 | - | - | - | - | - | - | - | ||||||||
| Hong Kong | IAQ Certification Scheme | Excellent class | 20 | - | - | - | - | 100 | 40 | 0.053 | 0.021 | - | |||||||
| Good class | 100 | - | - | - | - | 200 | 150 | 0.106 | 0.08 | - | |||||||||
| Japan | Building Sanitation Act | - | - | 150 | - | - | - | - | - | - | - | - | - | ||||||
| South Korea | Indoor Air Quality Control Act | Sensitive group | - | 75 * | - | 35 * | - | - | - | - | - | - | - | ||||||
| General environment | - | 100 * | 50 * | - | - | - | - | 0.05 | - | - | |||||||||
| Taiwan | Indoor Air Quality Management Act | - | - | - | - | - | - | - | - | - | 0.1 | - | - | ||||||
| World Health Organisation | WHO Guidelines for Indoor Air Quality: Selected Pollutants | - | - | 75 | - | 35 | - | 200 | - | 40 | - | - | - | ||||||
| 2012 | 2014 | 2017 | 2022 | |
|---|---|---|---|---|
| Poor ventilation | 161 | 110 | 185 | 134 |
| Temperature | 182 | 385 | 567 | 409 |
| Dust | 26 | 70 | 16 | 6 |
| Odour | 134 | 114 | 48 | 83 |
| Toxic chemicals | 21 | 14 | 11 | 11 |
| Fungi/mould | 17 | 7 | 13 | 2 |
| Without specific nature | 17 | 6 | 30 | 31 |
| Total | 558 | 706 | 870 | 676 |
| Certification Class | Number | Percentage |
|---|---|---|
| Excellent | 648 | 27% |
| Good | 1745 | 73% |
| Type of applicant | ||
| Government | 978 | 41% |
| Non-government bodies | 1205 | 50% |
| Education | 104 | 4% |
| Statutory body | 40 | 2% |
| Subverted body | 66 | 3% |
| Type of certified premises | ||
| Commercial sector (Shopping mall, Restaurant, Hotel, Bank) | 395 | 17% |
| Education sector (School) | 99 | 4% |
| Recreational facilities (Leisure and sports facility, Exhibition/Convention, Clubhouse, Theatre, Cultural facility, Library) | 434 | 18% |
| Government and Public Service Facilities (Police station, Fire and ambulance facility, Law court, Correctional facility, Social welfare facility, Community hall, Post office) | 270 | 11% |
| Healthcare facilities | 39 | 2% |
| Transport facility | 7 | 0% |
| Office spaces | 1097 | 46% |
| Residential premises | 30 | 1% |
| Others | 22 | 1% |
Disclaimer/Publisher’s Note: The statements, opinions and data contained in all publications are solely those of the individual author(s) and contributor(s) and not of MDPI and/or the editor(s). MDPI and/or the editor(s) disclaim responsibility for any injury to people or property resulting from any ideas, methods, instructions or products referred to in the content. |
© 2024 by the authors. Licensee MDPI, Basel, Switzerland. This article is an open access article distributed under the terms and conditions of the Creative Commons Attribution (CC BY) license (https://creativecommons.org/licenses/by/4.0/).
Share and Cite
Tsang, T.-W.; Mui, K.-W.; Wong, L.-T. Indoor Air Quality (IAQ) Management in Hong Kong: The Way Forward. Atmosphere 2024, 15, 546. https://doi.org/10.3390/atmos15050546
Tsang T-W, Mui K-W, Wong L-T. Indoor Air Quality (IAQ) Management in Hong Kong: The Way Forward. Atmosphere. 2024; 15(5):546. https://doi.org/10.3390/atmos15050546
Chicago/Turabian StyleTsang, Tsz-Wun, Kwok-Wai Mui, and Ling-Tim Wong. 2024. "Indoor Air Quality (IAQ) Management in Hong Kong: The Way Forward" Atmosphere 15, no. 5: 546. https://doi.org/10.3390/atmos15050546
APA StyleTsang, T.-W., Mui, K.-W., & Wong, L.-T. (2024). Indoor Air Quality (IAQ) Management in Hong Kong: The Way Forward. Atmosphere, 15(5), 546. https://doi.org/10.3390/atmos15050546
