Study of Absorbing CO2 from Emissions Using a Spray Tower
Abstract
:1. Introduction
2. Mechanism of Decarbonization by Alkali Method
2.1. Mechanism of CO2 Absorption
2.2. The Mathematical Model of CO2 Absorptivity
3. Engine CO2 Absorption Test
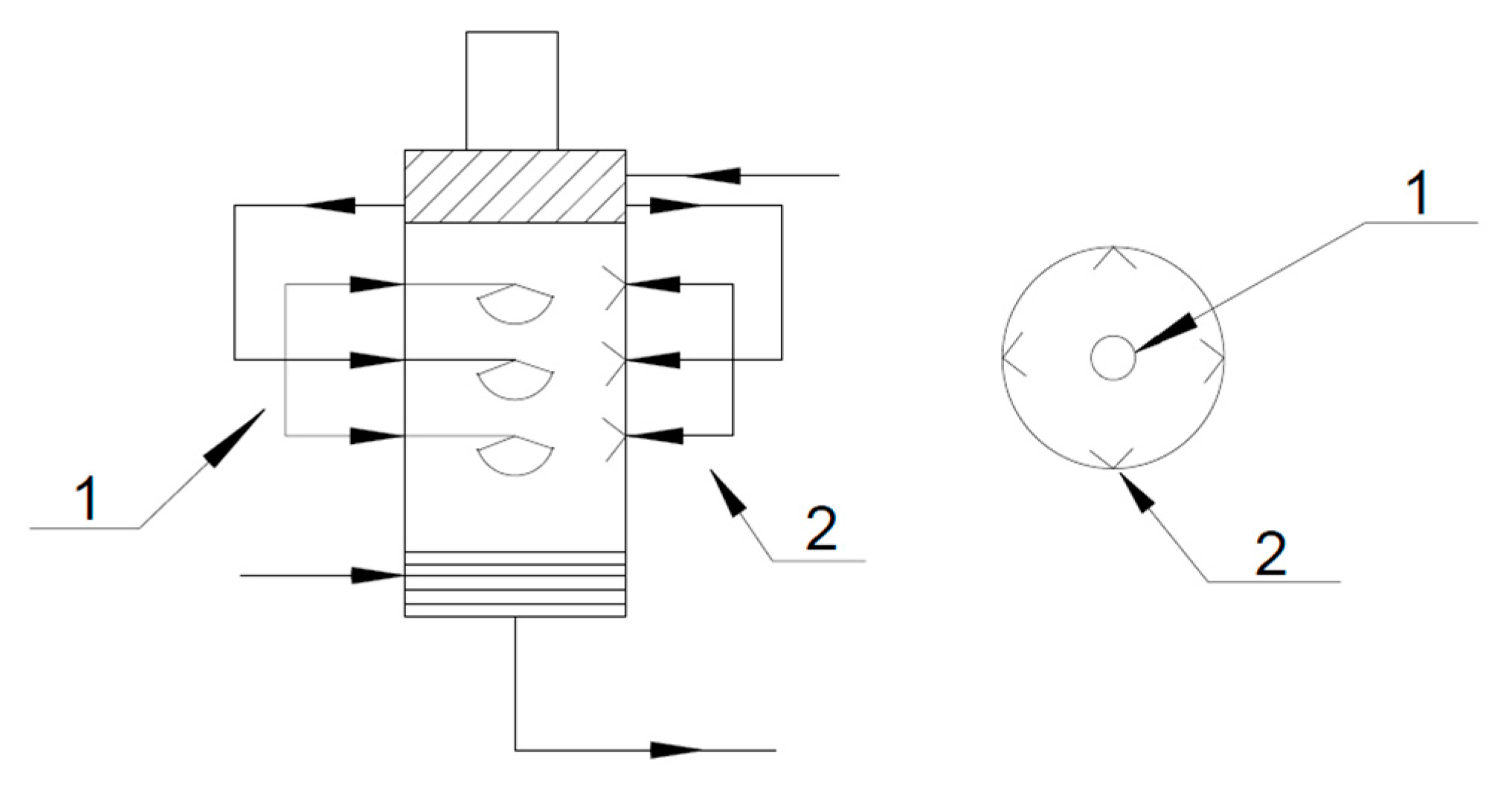
3.1. CO2 absorption Cycle System
3.2. Experiment Equipment and Chemicals
3.2.1. Marine Diesel Engine
3.2.2. Model 6135 Spray Tower
3.2.3. Exhaust Gas Cooler
3.2.4. Engine Fuel Oil and Chemicals Used
3.2.5. Test Equipment
4. Numerical Simulation of Decarburization Process
5. Test Results and Analysis
5.1. Effect of Exhaust Temperature on the CO2 Absorption Rate
5.2. Effect of the Concentration of NaOH Solution on CO2 Absorptivity
5.3. Effect of Exhaust Gas Velocity on CO2 Absorptivity
5.4. CO2 Absorptivity under Engine Different Load Conditions
5.5. Comparison of Results Obtained between Experiment and Numerical Simulation
5.6. Effect of Different Nozzle Types on CO2 Absorptivity
6. Conclusions
- (1)
- The temperature of the engine exhaust gas is a key factor that affects the absorption efficiency of CO2. With the increase in engine exhaust gas temperature, the absorption rate of CO2 decreased gradually, and the reaction temperature should be controlled at 25 °C using a cooling system.
- (2)
- The concentration of the NaOH solution affected the absorption efficiency of CO2. The results proved that the most suitable concentration of NaOH solution was 2 mol/L, which is capable of meeting the requirement of reducing the emissions of CO2 by 20%.
- (3)
- Although the concentration of the NaOH solution had a certain effect on the absorption efficiency of CO2, the absorption efficiency was not directly proportional to the concentration of the NaOH solution. The effect of the concentration of the NaOH solution on the CO2 absorption rate mainly depends on the intrinsic phase equilibrium reaction constant of the NaOH chemical and CO2 itself. Further studies are needed to determine how the reaction coefficients can be increased and how the absorption efficiency can be improved.
- (4)
- Direct injection nozzles had a better atomization effect on liquid solutions, which provided a large contact area between the gas and the liquid. In addition, the large contact area enhanced the mass transfer between the gas and the liquid.
- (5)
- The experimental results showed good agreement with those of the numerical simulation. This demonstrates that the theoretically developed models are accurate, which provides a strong theoretical basis for the design of spray towers for engine exhaust gas in the future.
- (6)
- The newly developed system proved that using NaOH solution to absorb CO2 from ship exhausts could reduce the level of CO2 emissions from ships by more than 20%, which makes it a suitable technology to reduce the level of CO2 emissions from ships in the future. Moreover, by combining the work of this paper with that of Flagiello et al. [32], a simultaneous scrubbing system of SO2 and CO2 can be obtained through dosing the NaOH reagent appropriately following the dosages found in both papers.
Author Contributions
Funding
Institutional Review Board Statement
Informed Consent Statement
Data Availability Statement
Conflicts of Interest
References
- Endres, S.; Maes, F.; Hopkins, F.; Houghton, K.; Mårtensson, E.M.; Oeffner, J.; Quack, B.; Singh, P.; Turner, D. A New Perspective at the Ship-Air-Sea-Interface: The Environmental Impacts of Exhaust Gas Scrubber Discharge. Front. Mar. Sci. 2018, 5, 135. [Google Scholar] [CrossRef]
- Ros, J.A.; Skylogianni, E.; Doedée, V.; Akker, J.T.V.D.; Vredeveldt, A.W.; Linders, M.J.; Goetheer, E.L.; Monteiro, J.G.M.-S. Advancements in ship-based carbon capture technology on board of LNG-fuelled ships. Int. J. Greenh. Gas Control 2022, 114, 103575. [Google Scholar] [CrossRef]
- Turner, D.R.; Hassellöv, I.-M.; Ytreberg, E.; Rutgersson, A. Shipping and the environment: Smokestack emissions, scrubbers and unregulated oceanic consequences. Elem. Sci. Anthr. 2017, 5, 45. [Google Scholar] [CrossRef]
- Ytreberg, E.; Åström, S.; Fridell, E. Valuating environmental impacts from ship emissions—The marine perspective. J. Environ. Manag. 2021, 282, 111958. [Google Scholar] [CrossRef]
- Flagiello, D.; Di Natale, F.; Lancia, A.; Salo, K. Effect of Seawater Alkalinity on the Performances of a Marine Diesel Engine Desulphurization Scrubber. Chem. Eng. Trans. 2021, 86, 505–510. [Google Scholar]
- Ytreberg, E.; Hassellöv, I.M.; Nylund, A.T.; Hedblom, M.; Al-Handal, A.Y.; Wulff, A. Effects of scrubber washwater discharge on microplankton in the Baltic Sea. Mar. Pollut. Bull. 2019, 145, 316–324. [Google Scholar] [CrossRef]
- Hassellöv, I.M.; Turner, D.R.; Axel, L. Shipping contributes to ocean acidification. Geophys. Res. Lett. 2013, 40, 2731–2736. [Google Scholar] [CrossRef]
- Kalajdžić, M.; Vasilev, M.; Momčilović, N. Power Reduction Considerations for Bulk Carriers with Respect to Novel Energy Efficiency Regulations. Brodogradnja 2022, 73, 279–292. [Google Scholar] [CrossRef]
- Rao, A.B.; Rubin, E.S. A technical, economic, and environmental assessment of amine-based CO2 capture technology for power plant greenhouse gas control. Environ. Sci. Technol. 2002, 36, 4467. [Google Scholar] [CrossRef]
- Kenarsari, S.D.; Yang, D.; Jiang, G.; Zhang, S.; Wang, J.; Russell, A.G.; Wei, Q.; Fan, M. Review of recent advances in carbon dioxide separation and capture. RSC Adv. 2013, 3, 22739–22773. [Google Scholar] [CrossRef]
- Baena-Moreno, F.M.; Rodríguez-Galán, M.; Vega, F.; Alonso-Fariñas, B.; Vilches Arenas, L.F.; Navarrete, B. Carbon capture and utilization technologies: A literature review and recent advances. Energy Sources Part A-Recovery Util. Environ. Eff. 2019, 41, 1403–1433. [Google Scholar] [CrossRef]
- Kirli, M.S.; Fahrioglu, M. Sustainable development of Turkey: Deployment of geothermal resources for carbon capture, utilization, and storage. Energy Sources Part A-Recovery Util. Environ. Eff. 2019, 41, 1739–1751. [Google Scholar] [CrossRef]
- Zhang, Z.; Feng, X. Optimizaticm of CO2 transmission processes. J. Xi’an Jiaotong Univ. 2005, 39, 274–277. [Google Scholar]
- Zhu, X.C.; Chen, C.P.; Wang, Q. Roles for K2CO3 doping on elevated temperature CO2 adsorption of potassium promoted layered double oxides. Chem. Eng. J. 2019, 366, 181–191. [Google Scholar] [CrossRef]
- Karadas, F.; Atilhan, M.; Aparicio, S. Review on the Use of Ionic Liquids (ILs) as Alternative Fluids for CO2 Capture and Natural Gas Sweetening. Energy Fuels 2010, 24, 5817–5828. [Google Scholar] [CrossRef]
- Wang, Q. Research on CO2 Trapping Technology Based on Ionic Liquid; Beijing University of Chemical Technology: Beijing, China, 2017. [Google Scholar]
- He, X.; Hägg, M.B. Hollow fiber carbon membranes: Investigations for CO2 capture. J. Membr. Sci. 2011, 378, 1–9. [Google Scholar] [CrossRef]
- Kreulen, H.; Smolders, C.A.; Versteeg, G.F.; van Swaaij, W.P.M. Microporous hollow fiber membrane modules as gas-liquid contactors. Part 1: Physical mass transfer processes. a specific application: Mass transfer in highly viscous liquids. J. Membr. Sci. 1993, 78, 197–216. [Google Scholar] [CrossRef]
- Comite, A.; Costa, C.; Demartini, M.; Di Felice, R.; Rotondi, M. Rate of CO2 transfer to loaded MEA solutions using a membrane contactor device. Int. J. Greenh. Gas Control 2016, 52, 378–386. [Google Scholar] [CrossRef]
- Lin, C.C.; Chen, B.C. Carbon dioxide absorption in a cross-flow rotating packed bed. Chem. Eng. Res. Des. 2013, 89, 1722–1729. [Google Scholar] [CrossRef]
- Dai, Z.; Deng, L. Membrane absorption using the ionic liquid for pre-combustion CO2 capture at elevated pressure and temperature. Int. J. Greenh. Gas Control 2016, 54, 59–69. [Google Scholar] [CrossRef]
- Zhang, L.; Qu, R.; Sha, Y.; Wang, X.; Yang, L. Membrane gas absorption for CO2 from flue gas containing fine particles and gaseous contaminants. Int. J. Greenh. Gas Control 2015, 33, 10–17. [Google Scholar] [CrossRef]
- Freeman, B.; Hao, P.; Baker, R.; Kniep, J.; Chen, E.; Ding, J.; Zhang, Y.; Rochelle, G.T. Hybrid membrane absorption CO2 capture process. Energy Procedia 2014, 63, 605–613. [Google Scholar] [CrossRef]
- Zhang, X.; Liu, X. Preparation and performance of modified molecular sieve for carbon dioxide capture. Chin. J. Environ. Eng. 2015, 9, 4995–4999. (In Chinese) [Google Scholar]
- Zhang, X. Preparation of Amine Functional Porous Materials and Adsorption Properties for CO2; Qingdao University of Science & Technology: Qingdao, China, 2015; pp. 51–55. [Google Scholar]
- Irani, M.; Gasem, K.; Dutcher, B.; Fan, M. CO2 capture using nanoporous TiO(OH)2/tetraethylenepentamine. Fuel 2016, 183, 601–608. [Google Scholar] [CrossRef]
- Cecilia, J.A.; Vilarrasa-García, E.; García-Sancho, C.; Saboya, R.M.A.; Azevedo, D.C.S.; Cavalcante, C.L., Jr.; Rodríguez-Castellón, E. Functionalization of hollow silica microspheres by impregnation or grafted of amine groups for the CO2 capture. Int. J. Greenh. Gas Control 2016, 52, 344–356. [Google Scholar] [CrossRef]
- Buvik, V.; Høisæter, K.K.; Vevelstad, S.J.; Knuutila, H.K. A review of degradation and emissions in post-combustion CO2 capture pilot plants. Int. J. Greenh. Gas Control 2021, 106, 103246. [Google Scholar] [CrossRef]
- Jayakumar, A.; Gomez, A.; Mahinpey, N. Post-combustion CO2 capture using solid K2CO3: Discovering the carbonation reaction mechanism. Appl. Energy 2016, 179, 531–543. [Google Scholar] [CrossRef]
- Erto, A.; Balsamo, M.; Paduano, L.P.; Lancia, A.; Di Natale, F. Utilization of alumina-supported K2CO3 as CO2-selective sorbent: A promising strategy to mitigate the carbon footprint of the maritime sector. J. CO2 Util. 2018, 3, 139–148. [Google Scholar] [CrossRef]
- Wang, Z.C.; Zhou, P.L.; Xu, L.P. Experimental study of CO2 absorption by NaOH solution. J. Saf. Environ. 2015, 15, 293–296. [Google Scholar]
- Flagiello, D.; Esposito, M.; Di Natale, F.; Salo, K. A Novel Approach to Reduce the Environmental Footprint of Maritime Shipping. J. Mar. Sci. Appl. 2021, 20, 229–247. [Google Scholar] [CrossRef]












| Term | Value | Term | Value | 
|---|---|---|---|
| Cylinder bore/mm | 135 | Internal diameter of flange connection of exhaust pipe/mm | 80/83 | 
| Piston stroke/mm | 140 | Temperature at 25% rated engine speed/°C | 327 | 
| Compression ratio/number | 16 | Temperature at 50% rated engine speed/°C | 390 | 
| Piston swept volume/L | 12.9 | Temperature at 75% rated engine speed/°C | 450 | 
| Continuous power/kW Rotational speed/rpm | 146 1500 | Temperature at 100% rated engine speed/°C 12-h power Lub. oil consumption rate/g·(kW·h)−1 | 535 1.65 | 
| Exhaust temperature/°C | <580 | ||
| Lubricating oil temperature/°C | 95 | 12-h power fuel consumption rate/g·(kW·h)−1 | 225.8 | 
| Cooling water temperature/°C | 60/95 | Starting mode | Electric-start | 
| Firing sequence | 1-5-3-6-2-4 | Cooling method | Water-cooling | 
| Size/mm | 1530 × 844 × 1630 | Weight/kg | 1300 | 
| Term | Value | |
|---|---|---|
| Medium Name | Gas on Shell Side | Liquid Inside Tube | 
| Design pressure/Mpa | 0.2 | 2.0 | 
| Work pressure/Mpa | 0.12 | 0.5 | 
| Design temperature/°C | 500 | 150 | 
| Inlet temperature/°C | 450 | 30 | 
| Outlet temperature/°C | 40 | 36 | 
| Flow rate/(kg/h) | 1911 | 2947 | 
| Pressure loss/kPa | 0.037 | 59.7 | 
| Heat exchanged/kW | 205 | |
| Size/mm | 1500 × 1220 × 740 | |
| Weight/kg | 480 | |
| Term | Quality Index | Measured Value | Test Method | 
|---|---|---|---|
| Kinematic viscosity (40 °C)/mm2·s−1 | 2.0~6.0 | 2.962 | GB/T 265-88(2004) | 
| Density (20 °C)/kg·m−3 | ≤860.0 | 840.3 | SH/T 0604-2000 | 
| Colority/number | ≤3.0 | <1.5 | GB/T5540-86(2004) | 
| Close flash point/°C | ≥60 | 77.0 | GB/T 261-2008 | 
| Cetane index/number | ≥42 | 51 | GB/T1139-89 | 
| Mass fraction of sulfur/% | ≤0.15 | 0.00970 | GB/T1140-2008 | 
| Pour point/°C | ≤0 | −9 | GB/T3535-2006 | 
| Acidity (mgKOH/100 mL)/mg | ≤7 | 3.65 | GB/T261-1997(2004) | 
| Oxidation stability (in terms of total insoluble matter)/number | ≤2.5 | 0.5 | SH/T 0175-2004 | 
| Ash (mass fraction)/% | ≤0.01 | 0.002 | GB/T 508-85(2004) | 
| Moisture (volume fraction)/% | ≤Mark | Transparent, no suspended or deposited moisture | Visual observation | 
| Mechanical impurities | None | None | Visual observation | 
| Carbon residue on 10% residual (mass fraction)/% | ≤0.3 | <0.10 | GB/T17144-1997 | 
| Abrasion diameter (60 °C)/µm | ≤460 | 376 | SH/0765-2005 | 
| NaOH Solid (Flake) | |||
|---|---|---|---|
| Clarity Test | Qualified | AL/% | ≦0.002 | 
| Total nitrogen (N)/% | ≦0.001 | K/% | ≦0.05 | 
| Chloride (Cl)/% | ≦0.005 | Ca/% | ≦0.01 | 
| Sulfate (SOX)/% | ≦0.005 | Fe/% | ≦0.001 | 
| Phosphate (POX)/% | ≦0.001 | Carbonate (calculated by Na2CO3)/% | ≦1.5 | 
| Heavy metal (calculated by Pb)/% | ≦0.003 | Content (NaOH)/% | ≦96 | 
| Term | T/°C | O2/% | CO/10−6 | CO2/% | NO/10−6 | NO2/10−6 | SO2/10−6 | 
|---|---|---|---|---|---|---|---|
| Accuracy | ±1 | ±0.8 | ±5% (200~2000) ±10% (>2000) 10 (≤199) | ±0.3 (≤25) ±0.5 (>25) | ±5% (≥100) ±5 (<99) | ±5% (≥100) ±5 (<99.9) | ±5% (≥100) ±5 (<99) | 
| Resolution | 0.1 | 0.01 | 1 | 0.01 (≤25) 0.1 (>25) | 1 | 0.1 | 1 | 
| FLUE GAS | NaOH-IN | ||
|---|---|---|---|
| T/°C | 535 | 25 | |
| P/kPa | 104.3 | 500 | |
| Flow rate | 3414.574/(m3/h) | 4/(m3/h) | |
| Component mole% | NaOH | 3.536 | |
| H2O | 96.464 | ||
| N2 | 81.9958 | ||
| O2 | 10.6 | ||
| NO | 0.0964 | ||
| NO2 | 2.97 | ||
| CO | 0.0066 | ||
| CO2 | 4.3 | ||
| SO2 | 0.0312 | ||
| Operating Point | Speed n = 1500/(r/min) | Fuel Consumption Rate/(g/(kW·h)) | Power/kW | Torque/(N·m) | 
|---|---|---|---|---|
| 1 | 100% load | 225.8 | 162.0 | 1031.40 | 
| 2 | 75% load | 227.0 | 121.5 | 773.55 | 
| 3 | 50% load | 236.0 | 81.0 | 515.70 | 
| 4 | 25% load | 252.0 | 40.5 | 257.85 | 
| Load/n = 1500 (r/min) | Theoretical Exhaust/(m3/h) | CO2/(kg/h) | NaOH/(kg/h) | 
|---|---|---|---|
| 100% | 3414.57 | 100.29 | 182.41 | 
| 75% | 2814.05 | 83.93 | 152.65 | 
| 50% | 1950.45 | 58.19 | 105.84 | 
| 25% | 1040.73 | 31.02 | 56.42 | 
| Load | Location | Flue Gas Flow Rate/(m/s) | Flue Gas Temperature/°C | CO2 Content/(g/min) | The Amount of CO2 Absorbed/(g/min) | Absorptivity/% | 
|---|---|---|---|---|---|---|
| 100% | Before | 18.9 | 114.2 | 2105.89 | 144.80 | 6.88 | 
| After | 16.1 | 60.0 | 1961.09 | |||
| 75% | Before | 18.6 | 99.8 | 1796.08 | 232.42 | 12.94 | 
| After | 16.0 | 53.3 | 1563.67 | |||
| 50% | Before | 16.5 | 129.2 | 1163.92 | 86.41 | 7.42 | 
| After | 14.0 | 53.3 | 1077.51 | |||
| 25% | Before | 13.8 | 90.8 | 687.05 | 89.65 | 13.05 | 
| After | 12.0 | 50.0 | 597.40 | 
| Load | Position | v/(m/s) | CO2/% | vΔ (m/s) | CO2 (g/min) | Absorptivity/% | 
|---|---|---|---|---|---|---|
| 100% | Before | 18.9 | 7.19 | 2.8 | 2008.03 | 20.84 | 
| After | 16.1 | 6.56 | 1589.61 | |||
| 75% | Before | 18.6 | 6.02 | 2.6 | 1659.46 | 21.16 | 
| After | 16.0 | 5.44 | 1308.28 | |||
| 50% | Before | 16.5 | 4.58 | 2.5 | 1124.77 | 22.47 | 
| After | 14.0 | 4.13 | 871.98 | |||
| 25% | Before | 13.8 | 2.85 | 1.8 | 586.15 | 22.48 | 
| After | 12.0 | 2.52 | 454.38 | 
| Load | Position | v/(m/s) | CO2/% | vΔ (m/s) | CO2 (g/min) | Absorptivity/% | 
|---|---|---|---|---|---|---|
| 100% | Before | 18.9 | 7.19 | 2.8 | 2008.03 | 23.68 | 
| After | 16.1 | 6.33 | 1532.56 | |||
| 75% | Before | 18.6 | 6.02 | 2.6 | 1659.46 | 26.39 | 
| After | 16.0 | 5.44 | 1221.58 | |||
| 50% | Before | 16.5 | 4.58 | 2.5 | 1124.77 | 26.61 | 
| After | 14.0 | 4.13 | 825.45 | |||
| 25% | Before | 13.8 | 2.85 | 1.8 | 586.15 | 27.09 | 
| After | 12.0 | 2.52 | 427.33 | 
| Publisher’s Note: MDPI stays neutral with regard to jurisdictional claims in published maps and institutional affiliations. | 
© 2022 by the authors. Licensee MDPI, Basel, Switzerland. This article is an open access article distributed under the terms and conditions of the Creative Commons Attribution (CC BY) license (https://creativecommons.org/licenses/by/4.0/).
Share and Cite
Wang, Z.; Liu, X.; Li, K. Study of Absorbing CO2 from Emissions Using a Spray Tower. Atmosphere 2022, 13, 1315. https://doi.org/10.3390/atmos13081315
Wang Z, Liu X, Li K. Study of Absorbing CO2 from Emissions Using a Spray Tower. Atmosphere. 2022; 13(8):1315. https://doi.org/10.3390/atmos13081315
Chicago/Turabian StyleWang, Zhongcheng, Xiaoyu Liu, and Ke Li. 2022. "Study of Absorbing CO2 from Emissions Using a Spray Tower" Atmosphere 13, no. 8: 1315. https://doi.org/10.3390/atmos13081315
APA StyleWang, Z., Liu, X., & Li, K. (2022). Study of Absorbing CO2 from Emissions Using a Spray Tower. Atmosphere, 13(8), 1315. https://doi.org/10.3390/atmos13081315
 
         
                                                
 
       