A Refined Study of Atmospheric Wind Properties in the Beijing Urban Area Based on a 325 m Meteorological Tower
Abstract
1. Introduction
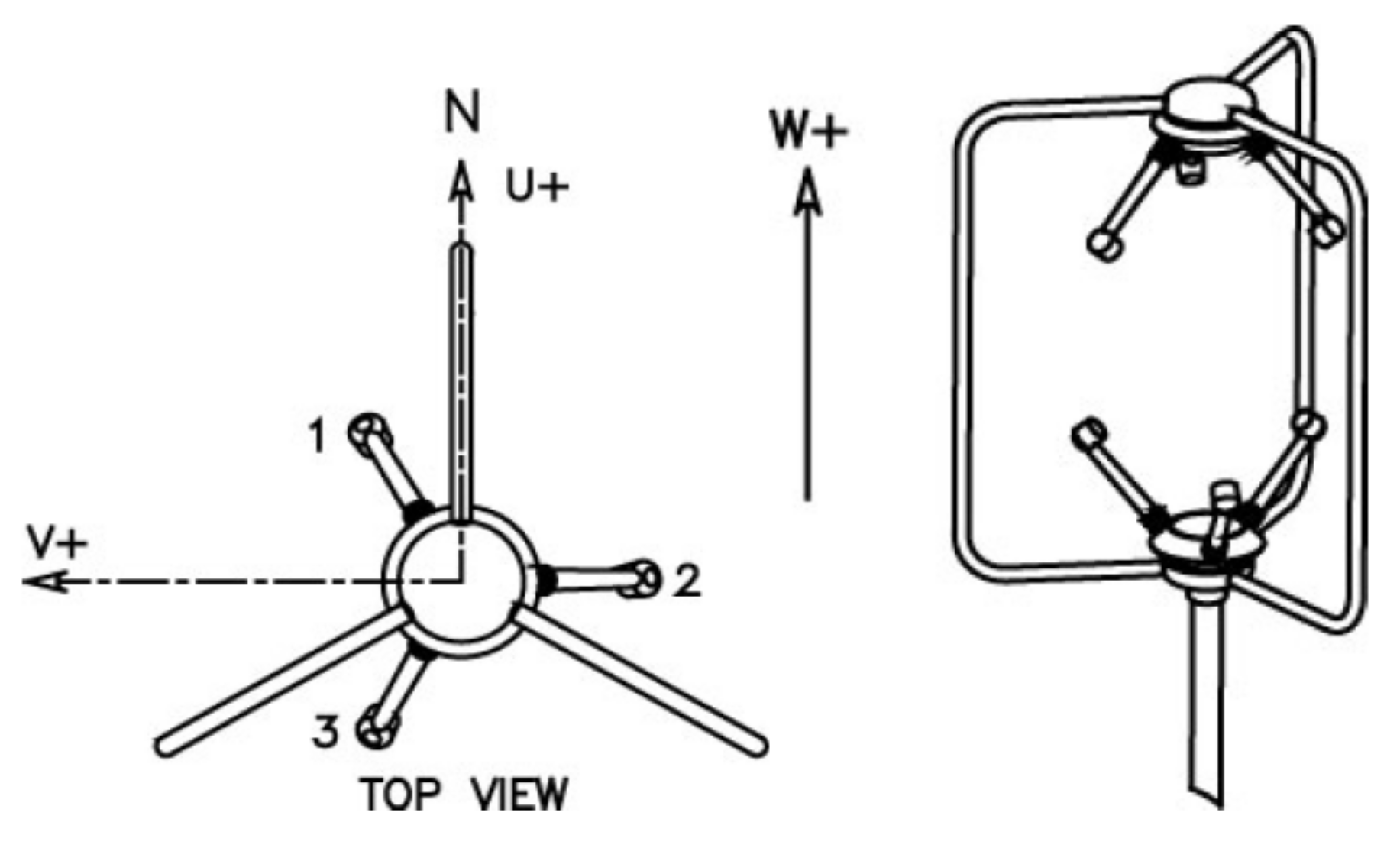
2. Measurement Site and Instrumentation
3. Statistical Properties of the Wind Speed and Direction
3.1. Wind Speed
3.2. Wind Direction
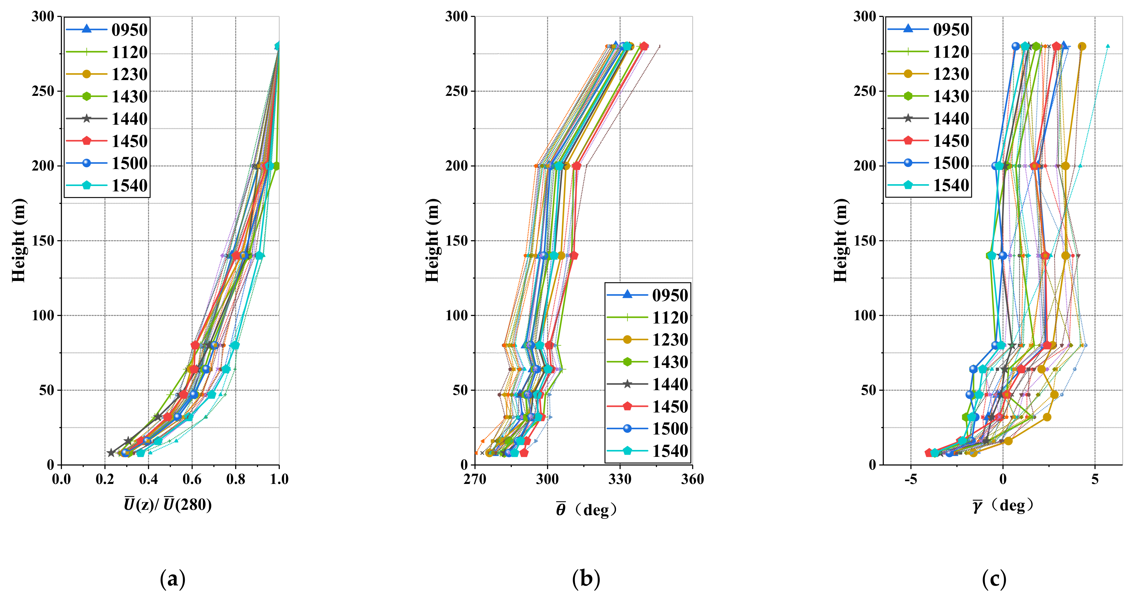
4. Statistical Properties of the Wind Profiles
4.1. Analysis of the Intense Wind Event which Occurred on 10 October 2013
4.2. Analysis of the Intense Wind Event which Occurred on 5 May 2017
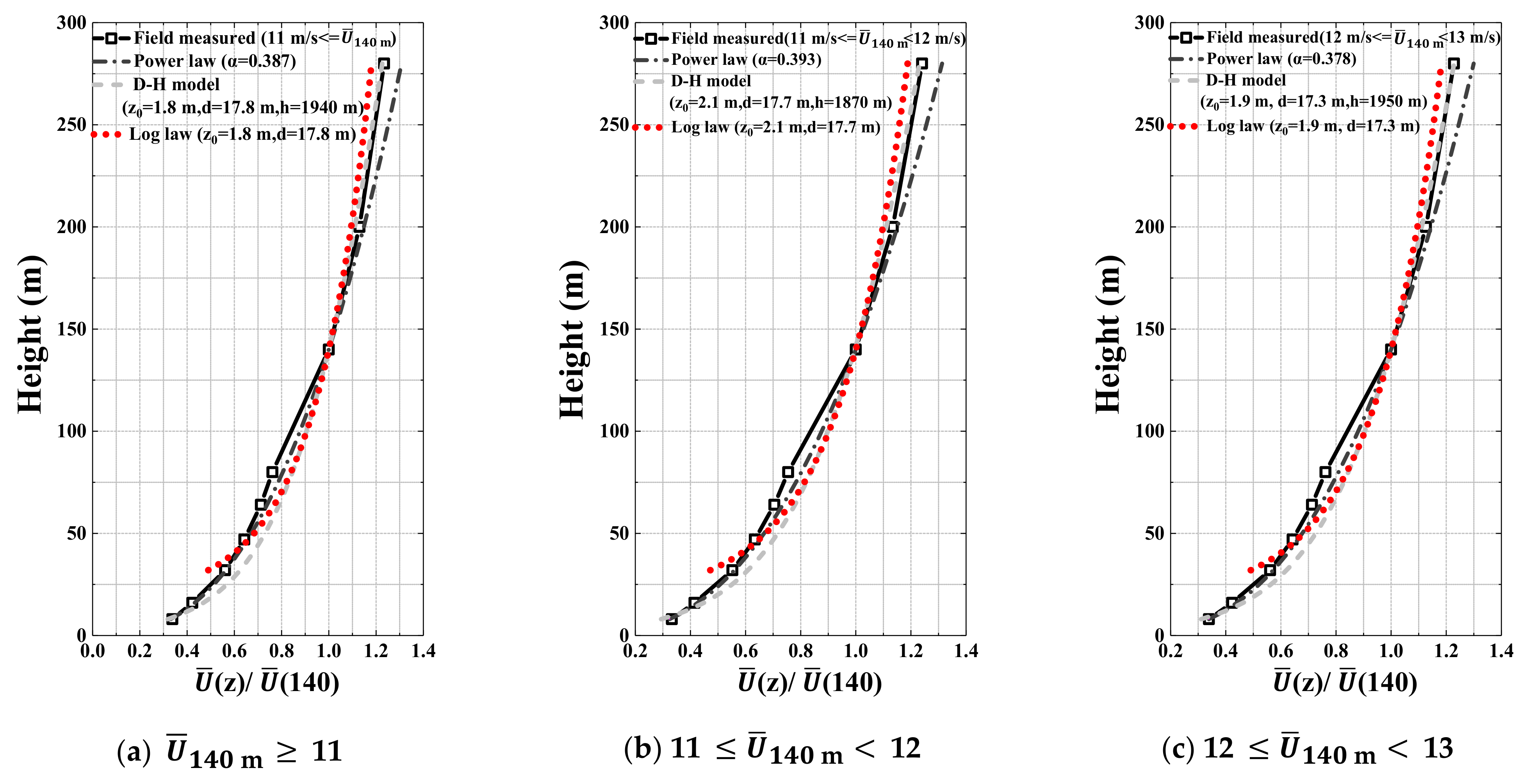
4.3. Statistical Analysis of the Intense Wind Speed Records
5. Conclusions
Author Contributions
Funding
Institutional Review Board Statement
Informed Consent Statement
Data Availability Statement
Conflicts of Interest
References
- Xie, J.; Liao, Z.; Fang, X.; Xu, X.; Wang, Y.; Zhang, Y.; Liu, J.; Fan, S.; Wang, B. The characteristics of hourly wind field and its impacts on air quality in the Pearl River Delta region during 2013–2017. Atmos. Res. 2019, 227, 112–124. [Google Scholar] [CrossRef]
- Yang, Q.; Gao, R.; Bai, F.; Li, T.; Tamura, Y. Damage to buildings and structures due to recent devastating wind hazards in East Asia. Nat. Hazards 2018, 92, 1321–1353. [Google Scholar] [CrossRef]
- Tamura, Y.; Xu, X.; Yang, Q. Characteristics of pedestrian-level Mean wind speed around square buildings: Effects of height, width, size and approaching flow profile. J. Wind Eng. Ind. Aerodyn. 2019, 192, 74–87. [Google Scholar] [CrossRef]
- Roth, M. Review of atmospheric turbulence over cities. Q. J. R. Meteorol. Soc. 2007, 126, 941–990. [Google Scholar] [CrossRef]
- Solari, G.; Burlando, M.; De Gaetano, P.; Repetto, M.P. Characteristics of thunderstorms relevant to the wind loading of structures. Wind Struct. Int. J. 2015, 20, 763–791. [Google Scholar] [CrossRef]
- Zhang, S.; Solari, G.; De Gaetano, P.; Burlando, M.; Repetto, M.P. A refined analysis of thunderstorm outflow characteristics relevant to the wind loading of structures. Probabilistic Eng. Mech. 2018, 54, 9–24. [Google Scholar] [CrossRef]
- Zhang, S.; Solari, G.; Yang, Q.; Repetto, M.P. Extreme wind speed distribution in a mixed wind climate. J. Wind Eng. Ind. Aerodyn. 2018, 176, 239–253. [Google Scholar] [CrossRef]
- Burlando, M.; Zhang, S.; Solari, G. Monitoring, cataloguing, and weather scenarios of thunderstorm outflows in the northern Mediterranean. Nat. Hazards Earth Syst. Sci. 2018, 18, 2309–2330. [Google Scholar] [CrossRef]
- Burlando, M.; Romanić, D.; Solari, G.; Hangan, H.; Zhang, S. Field Data Analysis and Weather Scenario of a Downburst Event in Livorno, Italy, on 1 October 2012. Mon. Weather. Rev. 2017, 145, 3507–3527. [Google Scholar] [CrossRef]
- Zhang, S.; Solari, G.; Burlando, M.; Yang, Q.S. Directional decomposition and properties of thunderstorm out-flows. J. Wind Eng. Ind. Aerodyn. 2019, 189, 71–90. [Google Scholar] [CrossRef]
- Li, Q.; Zhi, L.; Hu, F. Boundary layer wind structure from observations on a 325m tower. J. Wind Eng. Ind. Aerodyn. 2010, 98, 818–832. [Google Scholar] [CrossRef]
- Holtslag, B. Estimates of diabatic wind speed profiles from near-surface weather observations. Bound. Layer Meteorol. 1984, 29, 225–250. [Google Scholar] [CrossRef]
- Tieleman, H.W. Strong wind observations in the atmospheric surface layer. J. Wind Eng. Ind. Aerodyn. 2008, 96, 41–77. [Google Scholar] [CrossRef]
- Tamura, Y.; Iwatani, Y.; Hibi, K.; Suda, K.; Nakamura, O.; Maruyama, T.; Ishibashi, R. Profiles of mean wind speeds and vertical turbulence intensities measured at seashore and two inland sites using Doppler sodars. J. Wind Eng. Ind. Aerodyn. 2007, 95, 411–427. [Google Scholar] [CrossRef]
- Kettle, A.J. Unexpected vertical wind speed profiles in the boundary layer over the southern North Sea. J. Wind Eng. Ind. Aerodyn. 2014, 134, 149–162. [Google Scholar] [CrossRef][Green Version]
- Shu, Z.; Li, Q.; He, Y.; Chan, P. Observational study of veering wind by Doppler wind profiler and surface weather station. J. Wind Eng. Ind. Aerodyn. 2018, 178, 18–25. [Google Scholar] [CrossRef]
- Gentry, B.M.; Chen, H.; Li, S.X. Wind measurements with 355-nm molecular Doppler lidar. Opt. Lett. 2000, 25, 1231–1233. [Google Scholar] [CrossRef]
- Kent, C.W.; Grimmond, C.; Gatey, D.; Barlow, J.F. Assessing methods to extrapolate the vertical wind-speed profile from surface observations in a city centre during strong winds. J. Wind Eng. Ind. Aerodyn. 2018, 173, 100–111. [Google Scholar] [CrossRef]
- Xu, X.; Yang, Q.; Yoshida, A.; Tamura, Y. Characteristics of pedestrian-level wind around super-tall buildings with various configurations. J. Wind Eng. Ind. Aerodyn. 2017, 166, 61–73. [Google Scholar] [CrossRef]
- Stacey, M.W.; Pond, S.; Leblond, P.H.; Will, H.; Salfeld, J.; Pfaff, E.; Manso, C.; Theilmann, L.; Schaler, H. A Wind-Forced Ekman Spiral as a Good Statistical Fit to Low-Frequency Currents in a Coastal Strait. Science 1986, 233, 470–472. [Google Scholar] [CrossRef]
- Tse, K.T.; Weerasuriya, A.U.; Kwok, K. Simulation of twisted wind flows in a boundary layer wind tunnel for pedestrian-level wind tunnel tests. J. Wind Eng. Ind. Aerodyn. 2016, 159, 99–109. [Google Scholar] [CrossRef]
- Shiau, B.-S.; Chen, Y.-B. In situ measurement of strong wind velocity spectra and wind characteristics at Keelung coastal area of Taiwan. Atmos. Res. 2001, 57, 171–185. [Google Scholar] [CrossRef]
- Román-Cascón, C.; Yagüe, C.; Steeneveld, G.-J.; Sastre, M.; Arrillaga, J.A.; Maqueda, G. Estimating fog-top height through near-surface micrometeorological measurements. Atmos. Res. 2016, 170, 76–86. [Google Scholar] [CrossRef][Green Version]
- Azorin-Molina, C.; Asin, J.; McVicar, T.; Minola, L.; Lopez-Moreno, I.; Vicente-Serrano, S.M.; Chen, D. Evaluating anemometer drift: A statistical approach to correct biases in wind speed measurement. Atmos. Res. 2018, 203, 175–188. [Google Scholar] [CrossRef]
- Zhang, S.; Yang, Q.; Solari, G.; Li, B.; Huang, G. Characteristics of thunderstorm outflows in Beijing urban area. J. Wind Eng. Ind. Aerodyn. 2019, 195, 104011. [Google Scholar] [CrossRef]
- Li, Q.; Zhi, L.; Hu, F. Field monitoring of boundary layer wind characteristics in urban area. Wind Struct. Int. J. 2009, 12, 553–574. [Google Scholar] [CrossRef]
- Hui, Y.; Li, B.; Kawai, H.; Yang, Q. Non-stationary and non-Gaussian characteristics of wind speeds. Wind Struct. Int. J. 2017, 24, 59–78. [Google Scholar] [CrossRef]
- Solari, G.; Burlando, M.; Repetto, M.P. Detection, simulation, modelling and loading of thunderstorm outflows to design wind-safer and cost-efficient structures. J. Wind Eng. Ind. Aerodyn. 2020, 200, 104142. [Google Scholar] [CrossRef]
- Brusco, S.; Lerzo, V.; Solari, G. Directional response of structures to thunderstorm outflows. Meccanica 2019, 54, 1281–1306. [Google Scholar] [CrossRef]
- Al-Jiboori, M.H.; Fei, H. Surface roughness around a 325-m meteorological tower and its effect on urban turbulence. Adv. Atmos. Sci. 2005, 22, 595–605. [Google Scholar] [CrossRef]
- Government of China. Load Code for the Design of Building Structures; National Standard of the People’s Republic of China Series GB50009-2012; China Architecture & Building Press: Beijing, China, 2012; pp. 31–32.
- Liu, J.; Gao, C.Y.; Ren, J.; Gao, Z.; Liang, H.; Wang, L. Wind resource potential assessment using a long term tower measurement approach: A case study of Beijing in China. J. Clean. Prod. 2018, 174, 917–926. [Google Scholar] [CrossRef]
- Zhang, X.X.; Li, B.; Zhang, S.; Yang, Q.S.; Tian, Y.J. Study on the characteristics of wind field in Urban Boundary Layer based on the measured data in Central Beijing. J. Build. Struct. 2020. (In Chinese) [Google Scholar]
- Dyrbye, C.; Hansen, S.O. Wind Loads on Structures; Wiley: Hoboken, NJ, USA, 1997. [Google Scholar]
- Stull, R.B. An Introduction to Boundary Layer Meteorology; Springer: Berlin/Heidelberg, Germany, 1988. [Google Scholar]
- Liu, J.; Gao, Z.; Wang, L.; Li, Y.; Gao, C.Y. The impact of urbanization on wind speed and surface aerodynamic characteristics in Beijing during 1991–2011. Meteorol. Atmos. Phys. 2018, 130, 311–324. [Google Scholar] [CrossRef]
- Song, X.; Zhang, J.; Zou, X.; Zhang, C.; AghaKouchak, A.; Kong, F. Changes in precipitation extremes in the Beijing metropolitan area during 1960–2012. Atmos. Res. 2019, 222, 134–153. [Google Scholar] [CrossRef]
- Grimmond, C.S.B.; Oke, T.R. Aerodynamic Properties of Urban Areas Derived from Analysis of Surface Form. J. Appl. Meteorol. 1999, 38, 1262–1292. [Google Scholar] [CrossRef]
- Liu, G.; Sun, J.; Jiang, W. Observational verification of urban surface roughness parameters derived from morphological models. Meteorol. Appl. 2009, 16, 205–213. [Google Scholar] [CrossRef]
- Davenport, A.G. The application of statistical concepts to the wind loading of structures. Proc. Inst. Civ. Eng. 1961, 19, 449–472. [Google Scholar] [CrossRef]
- Solari, G. Wind Science and Engineering: Origins, Developments, Fundamentals and Advancements; Springer: Cham, Switzerland, 2019. [Google Scholar]
- Davenport, A.G. Rationale for Determining Design Wind Velocities. Struct. Eng. ASCE 1960, 86, 39–68. [Google Scholar] [CrossRef]
- Simiu, E.; Scanlan, R.H. Wind Effects on Structures—Fundamentals and Applications to Design; John Wiley & Sons Inc.: Hoboken, NJ, USA, 1996; pp. 42–43. [Google Scholar]
- Cook, N.J. The Deaves and Harris ABL model applied to heterogeneous terrain. J. Wind Eng. Ind. Aerodyn. 1997, 66, 197–214. [Google Scholar] [CrossRef]
- Deaves, D.; Harris, R. A Mathematical Model of the Structure of Strong Winds; Construction IndustryResearch and Information Association Report Series 76; Construction Industry Research and Information Association: London, UK, 1978. [Google Scholar]
- Moriwaki, R.; Kanda, M. Flux-gradient profiles for momentum and heat over an urban surface. Theor. Appl. Clim. 2006, 84, 127–135. [Google Scholar] [CrossRef]
- Burlando, M.; Carassale, L.; Georgieva, E.; Ratto, C.F.; Solari, G. A simple and efficient procedure for the numerical simulation of wind fields in complex terrain. Bound. Layer Meteorol. 2007, 125, 417–439. [Google Scholar] [CrossRef]


















| Considered Area | 4 km × 4 km | 20 km × 20 km | 60 km × 60 km | |
|---|---|---|---|---|
| Average building height (m) | 19.1 | 18.3 | / | |
| Percentage of impervious surface area (%) | Building | 68.3 | 64.6 | 24.1 |
| Roads, parking lots, etc. | 20.0 | 13.7 | ||
| Percentage of permeable surface area (%) | Grass, trees, etc. | 11.7 | 21.7 | 75.9 |
| (m/s) | |||
|---|---|---|---|
| Number of records | 218,590 | 8886 | 2012 |
| h (m) | Speed (m/s) | Direction (deg) | Temperature (°C) | ||||||
|---|---|---|---|---|---|---|---|---|---|
| Max | Min | Mean | Max | Min | Mean | Max | Min | Mean | |
| 47 | 13.03 | 1.52 | 7.23 | 360 | 280.8 | 302.1 | 22.54 | 19.29 | 20.91 |
| 140 | 17.22 | 4.64 | 11.12 | 352 | 291.5 | 312.2 | 21.93 | 18.78 | 20.08 |
| 280 | 19.92 | 6.27 | 14.57 | 336 | 287.4 | 306.5 | 19.11 | 15.79 | 17.21 |
| h (m) | Speed (m/s) | Direction (deg) | Temperature (°C) | ||||||
|---|---|---|---|---|---|---|---|---|---|
| Max | Min | Mean | Max | Min | Mean | Max | Min | Mean | |
| 47 | 14.29 | 2.31 | 8.17 | 339.3 | 280.8 | 298.14 | 19.13 | 14.86 | 17.27 |
| 140 | 20.47 | 3.75 | 11.3 | 339.3 | 291.5 | 309.02 | 18.79 | 14.35 | 16.76 |
| 280 | 24.2 | 4.49 | 13.86 | 354.5 | 287.4 | 304.68 | 17.08 | 12.48 | 14.85 |
| (m/s) | α |
|---|---|
| 11 12 | 0.393 |
| 12 13 | 0.378 |
| 13 14 | 0.372 |
| 14 15 | 0.361 |
| 15 21 | 0.327 |
Publisher’s Note: MDPI stays neutral with regard to jurisdictional claims in published maps and institutional affiliations. |
© 2021 by the authors. Licensee MDPI, Basel, Switzerland. This article is an open access article distributed under the terms and conditions of the Creative Commons Attribution (CC BY) license (https://creativecommons.org/licenses/by/4.0/).
Share and Cite
Zhang, S.; Li, B.; Solari, G.; Zhang, X.; Xu, X. A Refined Study of Atmospheric Wind Properties in the Beijing Urban Area Based on a 325 m Meteorological Tower. Atmosphere 2021, 12, 786. https://doi.org/10.3390/atmos12060786
Zhang S, Li B, Solari G, Zhang X, Xu X. A Refined Study of Atmospheric Wind Properties in the Beijing Urban Area Based on a 325 m Meteorological Tower. Atmosphere. 2021; 12(6):786. https://doi.org/10.3390/atmos12060786
Chicago/Turabian StyleZhang, Shi, Bo Li, Giovanni Solari, Xinxin Zhang, and Xiaoda Xu. 2021. "A Refined Study of Atmospheric Wind Properties in the Beijing Urban Area Based on a 325 m Meteorological Tower" Atmosphere 12, no. 6: 786. https://doi.org/10.3390/atmos12060786
APA StyleZhang, S., Li, B., Solari, G., Zhang, X., & Xu, X. (2021). A Refined Study of Atmospheric Wind Properties in the Beijing Urban Area Based on a 325 m Meteorological Tower. Atmosphere, 12(6), 786. https://doi.org/10.3390/atmos12060786
