Next Article in Journal
Ground Tire Rubber Particles as Substitute for Calcium Carbonate in an EPDM Sealing Compound
Previous Article in Journal
Comparison of the Recycling Behavior of a Polypropylene Sample Aged in Air and in Marine Water
Previous Article in Special Issue
Novel Mixed Matrix Membranes Based on Poly(vinylidene fluoride): Development, Characterization, Modeling
 
 
Font Type:
Arial Georgia Verdana
Font Size:
Aa Aa Aa
Line Spacing:
Column Width:
Background:
Article

The Effect of Stereoregularity and Adding Irganox 1076 on the Physical Aging Behavior of Poly(1-trimetylsilyl-1-propyne)

A.V. Topchiev Institute of Petrochemical Synthesis, Russian Academy of Sciences, Leninsky Prospect 29, 119991 Moscow, Russia
*
Author to whom correspondence should be addressed.
Polymers 2023, 15(9), 2172; https://doi.org/10.3390/polym15092172
Submission received: 4 April 2023 / Revised: 28 April 2023 / Accepted: 29 April 2023 / Published: 3 May 2023
(This article belongs to the Special Issue Polymers for Membrane Separation: Properties and Applications)

Abstract

The effect of the stereoregularity of poly(1-trimethylsilyl-1-propyne) [PTMSP] (cis-content from 50 to 90%) on physical aging was investigated by measurement of the gas permeability. Films from pure PTMSP as well as those with the addition of the antioxidant Irganox 1076 were exposed to the air. The permeability of pure PTMSP films increases with an increase in cis-stereoregularity and correlates with an increase in interchain distances (according to X-ray analysis). For pure PTMSP films, the most significant aging (up to 50% of permeability drop) was observed for polymers with mixed microstructure, and the slowest aging (10–30% of permeability drop) was observed for polymers with cis-regular structure. For PTMSP films with added Irganox 1076, some decrease in permeability with time is also observed. The addition of Irganox 1076 to PTMSP in mixed as well as cis-enriched configurations visibly slows down aging. In the case of cis-regular PTMSP with a slow aging rate, the introduction of an antioxidant does not provide any advantages. The high stability of cis-regular PTMSP demonstrates the possibility of obtaining more stable membrane materials with the highest equilibrium state of the polymer selective layer prepared by casting solution.

1. Introduction

Si-containing poly(1-trimethylsilyl-1-propyne) [PTMSP] is one of the best-known representatives of the class of polymers of disubstituted acetylenes [1,2]. PTMSP has an extremely high free volume and microporous structure, which provide properties unusual for convenient glassy polymers, namely, very high permeability, which increases with increasing size of the penetrant molecule [3]. More interestingly, PTMSP demonstrates the significant increase in separation selectivity of the n-butane/methane mixture, caused by a strong decrease (by about 90%) in the methane permeability in the mixture compared to the individual permeability [4,5,6].
Glassy polymers, including PTMSP, demonstrate physical aging, i.e., a decrease in the polymer fractional free volume and a significant decrease in permeability over time. Physical aging is due to the non-equilibrium state characteristic of glassy polymers at temperatures below the glass transition temperature. The segmental mobility of macrochains leads to a decrease in the non-equilibrium excess of the free volume fraction. PTMSP has a very high free volume and, as a result, exhibits faster aging compared to other typical glassy polymers [7,8,9,10].
Generally speaking, the rate of physical aging is affected by a number of factors, such as free volume, temperature, polymer structure, and even polymer film thickness. The dependence of the rate of the structural relaxation process on the chemical structure of the polymer and related effects on the rigidity of the polymer chain and the fraction of free volume was shown in [11,12,13,14]. For example, the effect of polymer regularity on the aging rate was studied for atactic, isotactic, and syndiotactic polystyrene [12,15]. It was shown that the aging kinetics of polystyrene differ with different tacticities and revealed a correlation between the aging rate and chain stiffness. The authors hypothesized that an increase in chain stiffness slows down segmental mobility and reduces the rate of aging.
The specific structure of PTMSP is formed by a rigid polymer chain containing C=C bonds and bulky substituents. The main chain of PTMSP contains alternating double bonds, and units can be in the cis- and trans-configurations (Figure 1), and the ratio of cis-/trans-units in the macromolecule depends on the polymerization catalytic system [16,17,18,19]. In turn, the geometric structure of the macromolecule affects the supramolecular packing and properties of PTMSP [19,20,21]. Khotimsky and co-workers [19] studied the relationship between the molecular characteristics and morphology of PTMSP obtained on Nb and Ta pentachlorides and the properties of the polymer. It was shown that the gas permeability and solubility of PTMSP depend on the lengths of regular sequences of units with the same geometry and the associated effect on the equilibrium rigidity of macrochains.
Moreover, PTMSP obtained on Nb and Ta pentachloride-based catalysts also exhibits different physical aging. For one, PTMSP synthesized on the TaCl5 catalyst is subjected to a more rapid drop in permeability coefficients than PTMSP synthesized on the NbCl5 catalyst [7,20,22]. The authors supposed that the observed differences in the rate of permeability decline were related to the chain configuration, which is catalyst-dependent. An analysis of the kinetics of the decrease in the fractional free volume over time in PTMSP samples synthesized on two catalysts also showed that PTMSP synthesized on NbCl5 and containing more cis-units had a longer relaxation time than PTMSP synthesized on TaCl5 and containing more trans-units.
In this paper, we studied the effect of the degree of stereoregularity on gas permeability changes in time for PTMSP samples synthesized with traditional pentachloride-based catalysts, yielding polymers with mixed configuration, as well as with novel pentabromide-based catalysts, yielding cis-enriched polymers as high as cis-regular configuration. Furthermore, one of the ways to increase the stability of the PTMSP polymer matrix is to introduce additional bulk particles into the polymer matrix, which reduces the mobility of polymer chains [23,24,25,26]. Bearing this in mind, we also studied the stability of the gas transport properties in PTMSP films with varying degrees of stereoregularity with the addition of the antioxidant Irganox 1076. This antioxidant has the bulk structure of a hindered phenolic compound (Figure 2). Irganox 1076 has shown its high efficiency in improving the thermo-oxidative stability of PTMSP [27]. At the same time, when placed in a polymer matrix, bulky Irganox 1076 molecules can restrict macrochain densification caused by relaxation phenomena.

2. Materials and Methods

2.1. Materials

Monomer 1-trimethylsilyl-1-propyne was obtained by reacting methylacetylene from the methylacetylene-allene fraction with an alkyl magnesium halide, which was followed by treating the reaction mixture with trimethylchlorosilane [28].
Monomer (99.8%) and the solvents cyclohexane (≥99.8%, Fisher Scientific, Waltham, MA, USA) as well as toluene (99.97%, Fisher Scientific, Waltham, MA, USA) were distilled three times over calcium hydride in a high-purity argon atmosphere before polymerization. Catalysts NbCl5 (99.9%, Fluka Chemie AG, Buchs, Switzerland) and NbBr5 (99.9%, ABCR, Karlsruhe, Germany ), cocatalysts Ph4Sn (>98.0%, TCI Ltd., Tokyo, Japan ), n-Bu4Sn (~98%, Fluka Chemie AG, Buchs, Switzerland), and antioxidant Irganox 1076 (Octadecyl β—(3,5-di- tert -butyl-4-hydroxy phenyl)- propionate) (Sigma-Aldrich Co., St. Louis, MI, USA) were used as they are.
Ar with purity at least 99.9999%, O2, N2 with purity at least 99.9%, CH4 with purity at least 99.5%, He and H2 with purity at least 99.9%, and CO2 with purity at least 98.0% were purchased from Linde (Linde Gas Rus, Balashiha, Russia).

2.2. PTMSP Synthesis and Characterization

The PTMSP samples used in this study were cooked according to the procedure described elsewhere [19].
The intrinsic viscosity values of the polymers were measured in CCl4 at 25 °C in air at atmospheric pressure using an Ostwald–Ubbelohde viscometer.
The spectra of 13C NMR PTMSP solutions (in C6D12) were recorded on an Avance spectrometer (Bruker BioSpin GmbH, Ettlingen, Germany) in the single-pulse mode with a broadband proton decoupling during the FID signal and a reduced decoupling power during the relaxation delay (duration 3 s), which made it possible to keep the signal amplification by the Overhauser effect. The spectral capture width was 250 ppm. The accumulation time of the free induction decay signal was 12–18 h. The spectra were analyzed, including the decomposition of complex spectral lines, using the ACD/Labs program (Advanced Chemistry Development, Inc., Toronto, ON, Canada, version 12.0 for Microsoft Windows). The quantitative calculation of the ratio of cis- and trans-units from the doublet signals of the 13C NMR spectra is given in our previous works, for example, in [19].

2.3. Preparation of Polymer Films

The film membranes from pure PTMSP were prepared by casting polymer solution (1.5% wt.) in cyclohexane onto cellophane. The film membranes from PTMSP with stabilizer were prepared by the same procedure from a polymer solution in which Irganox 1076 (2% wt.) was added. After the evaporation of the solvent for 7 days in air at 20 °C, the films were removed from the cellophane and evacuated under vacuum for 48 h. The dry film membranes had thicknesses of 80–90 μm. Directly after evacuation, the films were measured for gas permeability. Then, for a month between measurements, the film membranes were stored in the air at room temperature.

2.4. Investigation of Films by X-ray Diffraction

The diffraction patterns of the polymer films were obtained on a Rigaku Rotaflex RU-200 X-ray diffractometer (Rigaku Co., Ltd., Tokyo, Japan) with a rotating copper anode (characteristic radiation wavelength 0.1542 nm). Flat films were fixed in 6 layers on an aluminum frame. The exposure was carried out in the “transmission” geometry in the angular range of 2.5–50 degrees in 2θ according to the Bragg–Brentano scheme. Then the resulting diffraction patterns were processed using the Fityk program; after subtracting the background line, they were presented as a sum of several Gaussian peaks. The angular position of these peaks was recalculated into the interplanar distances using the Bragg equation. The peak areas were used to calculate the specific intensities of the maxima (from the ratio of the total intensity of all observed peaks), and the sizes of their characteristic coherent scattering regions (CSRs) were estimated from their integral widths using the Scherrer equation.

2.5. Transport Properties Determination

2.5.1. Gas Permeability Measurement Method

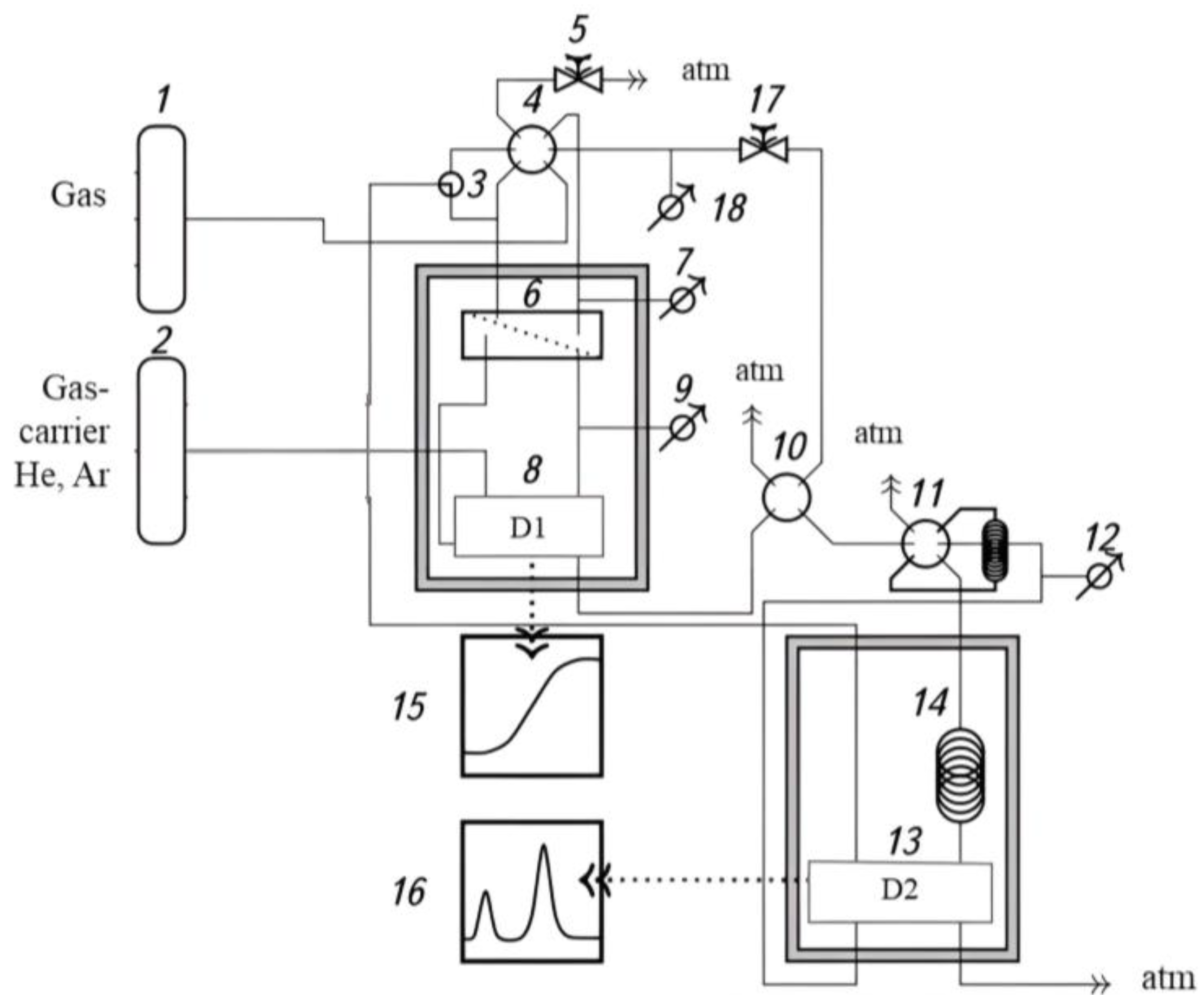
The permeability of O2, N2, CO2, CH4, He, and H2 was determined by the differential method with a gas chromatographic analysis using the Crystalux 4000M gas chromatograph. He and Ar were used as gas carriers [29]. The pressure drop across the membrane was 1 atm, and the membrane cell temperature was 22–23 °C. The installation scheme is shown in Figure 3.
The gas permeability coefficient P was found according to the equation:
P = l p · 273   K T · A · p a t m 76   c m   H g · ( V t )
where l is the film thickness, cm; ∆p is the pressure drop, cm Hg; T is the membrane cell temperature, K; A is the membrane area, cm2; patm is the atmospheric pressure, cm Hg; is the permeate flow rate, cm3/s.
The ideal selectivity was calculated as follows:
α A B = P A P B
where PA и PB are permeability coefficients for gases A и B.
The experimental percentage error of the method was 5–7%.

2.5.2. Gas Solubility Measurement Method

Gas sorption measurements were carried out using an original setup developed at the Membrane Gas Separation Laboratory of the Institute of Chemistry, Russian Academy of Sciences. The installation diagram is shown in Figure 4.
In the experiment, a metal tube 8 with an inner diameter of 2 mm and a length of 90 mm was used as a gas cell. The amount of gas in the volume of the cell without the studied polymer was determined to estimate the volume of the empty cell. To do this, the gas cell was filled with the gas under study, and the amount of gas was detected using a gas chromatograph Crystalux 4000M with a thermal conductivity detector 11(TCD). The temperature detector was at 150 °C. Then the polymer film was cut into strips, which were placed in a gas cell. The mass of the film in the cell was calculated from the difference between the masses of the empty and filled tubes. After that, the time of saturation of the sample with the studied gas was determined, which was accomplished by keeping a constant amount of gas in the sorption space. To do this, a series of experiments were carried out, after which desorption was carried out by the gas carrier into the TCD to determine the total amount of gas. Further, having achieved the equilibrium value of sorption in the entire volume of the studied material, a gas with a known partial pressure was passed through the cell with the polymer. After complete saturation of the sample, the amount of gas in the cell was detected using TCD, and then the test gas was desorbed by evacuating the cell. The pressure was 0.1–6 atm. Based on the obtained data, sorption isotherms were created, and the solubility coefficient was calculated from the slope of the initial section of the isotherm (0.1–2 atm). The gas solubility coefficient was calculated with the equation:
S = Δcp,
where c is the gas concertation in the polymer, cm3(STP)/cm3, and p is the pressure, cm Hg.
The experimental percentage error of the method was up to 15%.

3. Results and Discussion

3.1. Polymer Properties

Based on our previous works [19,21], the polymerization conditions for synthesizing PTMSP samples with targeted cis-/trans-ratio compositions were determined. The three PTMSP samples selected for this work differ in cis-content: from a mixed configuration (50% cis-units) in PTMSP (synthesized with a traditional NbCl5 catalyst) to cis-enriched (80% cis-units) and cis-regular (90% cis-units) configurations (PTMSP synthesized with NbBr5-based catalysts). Synthesis conditions and characteristics of PTMSP samples are given in Table 1.

3.2. Effect of the PTMSP Microstructure on Gas Transport Properties

O2, N2, H2, He, CO2, and CH4 pure gas permeability as well as ideal selectivity through the film membranes from pure PTMSP with different cis-contents were studied, and the obtained results are shown in Table 2 and Table 3.
As can be seen from Table 2, an increase in the permeability coefficients with an increase in the content of cis-units is observed for almost all gases. The greatest difference is observed with an increase in cis-units from 80 to 90%. The permeability growth is accompanied by an expected slight decrease in ideal selectivity for all gas pairs (Table 3).
Differences in gas permeability indicate differences in the overall level and structure of the free volume of PTMSP with different contents of cis-units. As is known, the configurational composition of a polymer chain (the ratio of cis- and trans-configuration units) largely determines the packing of macrochains in a polymer. Changes in the ratio of cis-/trans-units, even small ones, lead to changes in the packing density of macrochains. The packing density, in turn, determines not only the overall level of the free volume but also the structure of the free volume, namely, the size of the interconnected free volume elements through which the molecules of penetrant gases are transported. Wide-angle X-ray diffraction was used to study the supramolecular organization of PTMSP films with different cis-unit contents. The X-ray diffraction patterns are shown in Figure 5.
All X-ray diffraction patterns of polymers show the main reflection with a half-width ∆1/2°~3.5°–3.8° and additional diffuse maxima. The presence of additional reflections, in addition to the most intense one, indicates an increased degree of ordering of PTMSP compared to typical amorphous polymers. The presented patterns show differences for PTMSP with different content of cis-units. Thus, for PTMSP with a cis-regular configuration (90% of cis-units), the intensity of peaks with an angular position of ~20 and ~28 deg becomes the most noticeable compared to PTMSP with a lower content of cis-units (50 and 80%). Moreover, in the cis-regular PTMSP, the X-ray diffraction pattern also clearly reflects peaks with an angular position of ~36 and ~44 deg. These data serve as an indication of the greater ordering of the structure when moving from a mixed geometry to a cis-rich composition, with the most noticeable difference being observed when moving to PTMSP with a 90% cis-content, i.e., a polymer with a high degree of cis-regularity. At the same time, in the PTMSP series, with an increase in the cis-content of 50–80–90%, there is a slight but systematic increase in the interchain distance corresponding to the main maximum, from 8.83 Å to 9.01 Å (Table 4), which may indicate a decrease in the packing density of PTMSP chains with an increase in cis-regularity.
It can be assumed that the high degree of stereoregularity of PTMSP-90c allows the macromolecule to adopt the most ordered and rigid helical conformation compared to the PTMSP-50c and PTMSP-80c polymers with a lower degree of stereoregularity. The rigidity of cis-regular PTMSP macromolecules with bulky substituents in a helical conformation prevents close packing, which can be evidenced by an increase in interchain distances with an increase in the degree of stereoregularity in the series PTMSP-50c—PTMSP-80c—PTMSP-90c. At the same time, the regular configuration of PTMSP-90c macromolecules apparently contributes to a more ordered arrangement of macromolecules compared to less regular PTMSP samples, which is reflected in the diffraction scattering patterns of the studied polymer samples with different degrees of stereoregularity.

3.3. Effect of Aging on the Gas Transport Properties of PTMSP Films

The study of the influence of the PTMSP’s stereoregularity on the stability of its gas transport characteristics over time was carried out for one month. The samples were stored in the air. The relative changes in the coefficients of permeability P/P0 for PTMSP film samples of different configurational compositions for the freshly prepared and aged samples are shown in Figure 6. It can be seen that the cis-regular PTMSP-90c loses only 10 to 30% of the initial permeability values. The permeability decreases to a greater extent for methane and nitrogen and to a lesser extent for highly permeable gases. The most significant (about 50%) decrease in permeability coefficients after a month is observed for the PTMSP-50c sample with mixed microstructure. We believe that the differences in the aging rate of PTMSPs with different cis-contents are associated with differences in the thermodynamic rigidity of PTMSP macrochains. The rigidity of the chain is determined both by the quantitative ratio of units of the cis-/trans-configuration and by the lengths of regular sequences of units of one configuration or another, i.e., macrochain regularity. In the case of the PTMSP samples studied in this work, from mixed configuration composition to cis-regular, it can be assumed that the noticeably slower aging rate of PTMSP-90c is associated with the regular structure and rigidity of the macromolecules of this sample, which limit segmental mobility and reduce the aging rate.
Diagrams in Figure 7, Figure 8, Figure 9, Figure 10, Figure 11 and Figure 12 show comparisons of changes in the coefficients of permeability and selectivity of gases for films from PTMSP of different microstructures, prepared without and with the addition of the antioxidant Irganox 1076. Compared to all pure PTMSP samples, the introduction of the antioxidant Irganox 1076 in the polymer matrix reduces the permeability of all gases. This is due to the fact that sizeable antioxidant molecules occupy part of the free space in the free volume elements, which leads to a decrease in the free volume fraction of the polymer matrix.
Some decrease in permeability with time is observed for PTMSP films with an antioxidant in a similar vein to pure PTMSP. However, the degree of change in permeability for polymers with different configuration compositions is different. In the case of PTMSP with a cis-content between 50% and 80%, the loss of permeability after a month for films with the addition of Irganox 1076 is much lower than for films without an antioxidant (Figure 7 and Figure 9). Thus, for cis-enriched PTMSP-80c, the relative change in permeability coefficients after 1 month was no more than 20%, while for films without antioxidants, the decrease in gas flow was 40%. The films with Irganox 1076 exhibited improved ideal selectivity, in particular for CO2/CH4 and O2/N2 gas pairs, compared to pure PTMSP films (Figure 8 and Figure 10). It is important to note that the introduction of an antioxidant during the preparation of films from PTMSP with 50% and 80% cis-units made it possible to maintain the permeability of aged films above the permeability of aged pure PTMSP films: by 25% for PTMSP-50c and 35% for PTMSP-80c, with an increase in the CO2/CH4 selectivity of 50% and 15% relative to pure polymer, respectively.
A different picture is observed for PTMSP with a cis-regular configuration. As can be seen from the diagram in Figure 11, the addition of Irganox 1076 also reduces the level of permeability compared to pure polymer by reducing the available free volume, as in the case with PTMSP with a less regular geometric structure (PTMSP-50c and PTMSP-80c). However, the increased gas transport stability of pure films from this cis-regular polymer leads to the fact that the permeability of films with Irganox 1076, even freshly prepared, is lower than the level of an aged pure polymer film.
For aged PTMSP films without and with the addition of Irganox 1076, we experimentally obtained the values of the solubility coefficients using sorption isotherms that were linear in the range of 0.1–5 atm and then calculated the diffusion coefficients using the P = D·S expression (Table 5). An analysis of the presented data shows that the introduction of an antioxidant into the polymer matrix has different impacts on aged PTMSP samples with various configurations. In the case of aged films from pure and stabilized PTMSP with 50 and 80% cis-units, the solubility coefficients are either the same (for PTMSP-80cA_aged) or somewhat lower (for PTMSP-50cA_aged). However, the gas diffusion coefficients of aged films with Irganox 1076 (PTMSP-50cA_aged and PTMSP-80cA_aged) exceed those for films from pure polymers (PTMSP-50c_aged and PTMSP-80c_aged). Such a ratio of diffusion coefficients provides increased permeability coefficients in aged, stabilized films relative to pure aged films. In addition, this indicates that the available free volume of the aged polymer matrix of pure irregular PTMSP turns out to be lower with time than for samples with Irganox 1076 [7,30]. Another situation is for cis-regular PTMSP with the highest transport stability. The solubility coefficients of both pure and stabilized aged films coincide within the experimental error, while the diffusion coefficients in pure PTMSP-90c_aged are perceptibly higher compared to stabilized films (PTMSP-90cA_aged). Due to this pure cis-regular, PTMSP-90c_aged demonstrates higher permeability coefficients compared with films with Irganox 1076 (PTMSP-90cA_aged).
The obtained results show that the introduction of bulky Irganox 1076 molecules is effective in reducing relaxation processes in polymers with an irregular structure, for which noticeable aging was observed. In the case of cis-regular PTMSP, whose regular structure provides it with a slow aging rate, the introduction of an antioxidant does not give any advantages.

4. Conclusions

The permeability of films prepared from PTMSP with different cis-contents was studied over a period of 1 month to establish the effect of polymer stereo regularity on physical aging. The decrease in gas permeability as well as the increase in ideal selectivity of all PTMSP films aged in air for 1 month testify to physical aging. However, aging behavior differs considerably depending on the cis-content in PTMSP. In the PTMSP series containing cis-units from 50 to 90%, a correlation was established between an increase in stereoregularity and a decrease in the aging rate. The cis-regular PTMSP showed a slight permeability decrease after 1 month of storage, while the mixed configuration PTMSP was subjected to the most substantial decrease in permeability. The slowest aging of cis-regular PTMSP may be due to the regular structure and rigidity of cis-regular macromolecules, which limit segmental mobility and reduce the rate of aging.
The addition of Irganox 1076 lowers gas permeability and slightly increases the ideal selectivity. This can be attributed to a decrease in fractional free volume as a result of bulky antioxidant molecules occupying free volume. The films with antioxidants also show signs of physical aging, although the magnitude of relative changes in permeability for polymers with different cis-contents varies. The addition of Irganox 1076 to PTMSP in mixed as well as cis-enriched configurations visibly slows down the aging, and the level of gas permeability of the aged films with antioxidants is higher than the permeability of the aged films from pure PTMSP. In the case of cis-regular PTMSP, which demonstrates increased gas transport stability over time, the gas permeability of the fresh film with a stabilizer is already lower than the level of permeability of an aged pure polymer film. It has been shown that the introduction of the antioxidant Irganox 1076 into the PTMSP polymer matrix does not significantly affect the gas solubility coefficients, regardless of the configurational composition of the polymer.
The results reported in this paper show the effectiveness of the antioxidant Irganox 1076 as a gas transport stabilizer in the case of PTMSP with lower stereoregularity. In the case of cis-regular PTMSP, the introduction of an antioxidant does not provide any advantages. The highest stability of cis-regular PTMSP relative to polymers of a less regular structure indicates the possibility of obtaining samples with the most equilibrium state of the polymer selective layer in the process of obtaining membranes by casting solution.

Author Contributions

Conceptualization, S.M.; methodology, D.S. and S.M.; software, D.S. and I.L.; validation, A.K., D.S. and S.M.; formal analysis, A.K., D.B., D.S. and S.M.; investigation, V.M., A.K., V.P., S.M. and D.S.; data curation, D.S. and S.M.; writing—original draft preparation, D.S. and S.M.; writing—review and editing, D.S. and S.M.; visualization, V.M. and D.S.; supervision, S.M.; project administration, S.M. and D.S. All authors have read and agreed to the published version of the manuscript.

Funding

The synthesis of PTMSP samples, the study of the films structure by X-ray diffraction analysis, and the experimental determination of the solubility coefficients of individual gases were carried out with the financial support of the Russian Science Foundation (project no. 18-13-00334-П). Analysis and processing of literary and experimental data on the coefficients of permeability, solubility, and diffusion of gases were carried out by D.A. Syrtsova in the framework of the State Program of TIPS RAS.

Institutional Review Board Statement

Not applicable.

Conflicts of Interest

The authors declare no conflict of interest.

References

  1. Masuda, T. Substituted polyacetylenes: Synthesis, properties, and functions. Polym. Rev. 2017, 57, 1–14. [Google Scholar] [CrossRef]
  2. Nagai, K.; Masuda, T.; Nakagawa, T.; Freeman, B.D.; Pinnau, I. Poly [1-(trimethylsilyl)-1-propyne] and related polymers: Synthesis, properties and functions. Prog. Polym. Sci. 2001, 26, 721–798. [Google Scholar] [CrossRef]
  3. Pinnau, I.; Toy, L.G. Transport of organic vapors through poly (1-trimethylsilyl-1-propyne). J. Membr. Sci. 1996, 116, 199–209. [Google Scholar] [CrossRef]
  4. Morisato, A.; Freeman, B.D.; Pinnau, I.; Casillas, C.G. Pure hydrocarbon sorption properties of poly (1-trimethylsilyl-1-propyne)(PTMSP), poly (1-phenyl-1-propyne)(PPP), and PTMSP/PPP blends. J. Polym. Sci. Part B Polym. Phys. 1996, 34, 1925–1934. [Google Scholar] [CrossRef]
  5. Masuda, T.; Isobe, E.; Higashimura, T.; Takada, K. Poly [1-(trimethylsilyl)-1-propyne]: A new high polymer synthesized with transition-metal catalysts and characterized by extremely high gas permeability. J. Am. Chem. Soc. 1983, 105, 7473–7474. [Google Scholar] [CrossRef]
  6. Plate, N.A.; Bokarev, A.K.; Kaliuzhnyi, N.E.; Litvinova, E.G.; Khotimskii, V.S.; Volkov, V.V.; Yampol’skii, Y.P. Gas and vapor permeation and sorption in poly (trimetylsilylpropyne). J. Membr. Sci. 1991, 60, 13–24. [Google Scholar] [CrossRef]
  7. Nagai, K.; Nakagawa, T. Effects of aging on the gas permeability and solubility in poly (1-trimethylsilyl-1-propyne) membranes synthesized with various catalysts. J. Membr. Sci. 1995, 105, 261–272. [Google Scholar] [CrossRef]
  8. Starannikova, L.; Khodzhaeva, V.; Yampolskii, Y. Mechanism of aging of poly [1-(trimethylsilyl)-1-propyne] and its effect on gas permeability. J. Membr. Sci. 2004, 244, 183–191. [Google Scholar] [CrossRef]
  9. Wang, X.Y.; Willmore, F.T.; Raharjo, R.D.; Wang, X.; Freeman, B.D.; Hill, A.J.; Sanchez, I.C. Molecular simulations of physical aging in polymer membrane materials. J. Phys. Chem. B 2006, 110, 16685–16693. [Google Scholar] [CrossRef]
  10. Lau, C.H.; Mulet, X.; Konstas, K.; Doherty, C.M.; Sani, M.A.; Separovic, F.; Hill, M.R.; Wood, C.D. Hypercrosslinked Additives for Ageless Gas-Separation Membranes. Angew. Chem. Int. Ed. Engl. 2016, 55, 1998–2001. [Google Scholar] [CrossRef]
  11. Levita, G.; Struik, L.C.E. Physical ageing in rigid chain polymers. Polymer 1983, 24, 1071–1074. [Google Scholar] [CrossRef]
  12. Grigoriadi, K.; Westrik, J.B.; Vogiatzis, G.G.; van Breemen, L.C.; Anderson, P.D.; Hütter, M. Physical ageing of polystyrene: Does tacticity play a role? Macromolecules 2019, 52, 5948–5954. [Google Scholar] [CrossRef]
  13. Frieberg, B.R.; Glynos, E.; Sakellariou, G.; Tyagi, M.; Green, P.F. Effect of molecular stiffness on the physical aging of polymers. Macromolecules 2020, 53, 7684–7690. [Google Scholar] [CrossRef]
  14. Low, Z.X.; Budd, P.M.; McKeown, N.B.; Patterson, D.A. Gas permeation properties, physical aging, and its mitigation in high free volume glassy polymers. Chem. Rev. 2018, 118, 5871–5911. [Google Scholar] [CrossRef]
  15. Nakaoki, T.; Kobayashi, M. Local conformation of glassy polystyrenes with different stereoregularity. J. Mol. Struct. 2003, 655, 343–349. [Google Scholar] [CrossRef]
  16. Masuda, T.; Higashimura, T. Polyacetylenes with substituents: Their synthesis and properties. In: Catalytical and Radical Polymerization. Adv. Polym. Sci. 1987, 81, 121–165. [Google Scholar]
  17. Costa, G.; Grosso, A.; Sacchi, M.C.; Stein, P.C.; Zetta, L. A study by solid-state and solution carbon-13 NMR on silicon-containing polyacetylenes. Macromolecules 1991, 24, 2858–2861. [Google Scholar] [CrossRef]
  18. Izumikawa, H.; Masuda, T.; Higashimura, T. Study on the geometric structure of poly [1-(trimethylsilyl)-1-propyne] by 13 C and 29 Si NMR spectroscopies. Polym. Bull. 1991, 27, 193–199. [Google Scholar] [CrossRef]
  19. Khotimsky, V.S.; Tchirkova, M.V.; Litvinova, E.G.; Rebrov, A.I.; Bondarenko, G.N. Poly [1-(trimethylgermyl)-1-propyne] and poly [1-(trimethylsilyl)-1-propyne] with various geometries: Their synthesis and properties. J. Polym. Sci. Part A Polym. Chem 2003, 41, 2133–2155. [Google Scholar] [CrossRef]
  20. Hill, A.J.; Pas, S.J.; Bastow, T.J.; Burgar, M.I.; Nagai, K.; Toy, L.G.; Freeman, B.D. Influence of methanol conditioning and physical aging on carbon spin-lattice relaxation times of poly (1-trimethylsilyl-1-propyne). J. Membr. Sci. 2004, 243, 37–44. [Google Scholar] [CrossRef]
  21. Matson, S.M.; Kossov, A.A.; Makrushin, V.P.; Levin, I.S.; Zhilyaeva, N.A.; Litvinova, E.G.; Khotimskiy, V.S. Synthesis, Structure and Properties of Poly (1-Trimethylsilyl-1-Propyne) Obtained with NbBr 5-and TaBr 5-Based Catalytic Systems. Polym. Sci. Ser. C 2019, 61, 76–85. [Google Scholar] [CrossRef]
  22. Nagai, K.; Freeman, B.D.; Hill, A.J. Effect of physical aging of poly (1-trimethylsilyl-1-propyne) films synthesized with TaCl5 and NbCl5 on gas permeability, fractional free volume, and positron annihilation lifetime spectroscopy parameters. J. Polym. Sci. Part B Polym. Phys. 2000, 38, 1222–1239. [Google Scholar] [CrossRef]
  23. Merkel, T.C.; He, Z.; Pinnau, I.; Freeman, B.D.; Meakin, P.; Hill, A.J. Effect of nanoparticles on gas sorption and transport in poly (1-trimethylsilyl-1-propyne). Macromolecules 2003, 36, 6844–6855. [Google Scholar] [CrossRef]
  24. Yave, W.; Shishatskiy, S.; Abetz, V.; Matson, S.; Litvinova, E.; Khotimskiy, V.; Peinemann, K.V. A Novel Poly (4-methyl-2-pentyne)/TiO2 Hybrid Nanocomposite Membrane for Natural Gas Conditioning: Butane/Methane Separation. Macromol. Chem. Phys. 2007, 208, 2412–2418. [Google Scholar] [CrossRef]
  25. Olivieri, L.; Meneguzzo, S.; Ligi, S.; Saccani, A.; Giorgini, L.; Orsini, A.; Pettinau, A.; De Angelis, M.G. Reducing ageing of thin PTMSP films by incorporating graphene and graphene oxide: Effect of thickness, gas type and temperature. J. Membr. Sci. 2018, 555, 258–267. [Google Scholar] [CrossRef]
  26. Bakhtin, D.S.; Kulikov, L.A.; Legkov, S.A.; Khotimskiy, V.S.; Levin, I.S.; Borisov, I.L.; Maksimov, A.L.; Volkov, V.V.; Karakhanov, E.A.; Volkov, A.V. Aging of thin-film composite membranes based on PTMSP loaded with porous aromatic frameworks. J. Membr. Sci. 2018, 554, 211–220. [Google Scholar] [CrossRef]
  27. Shishatskiy, S.; Makrushin, V.; Levin, I.; Merten, P.; Matson, S.; Khotimskiy, V. Effect of Immobilization of Phenolic Antioxidant on Thermo-Oxidative Stability and Aging of Poly (1-trimethylsilyl-1-propyne) in View of Membrane Application. Polymers 2022, 14, 462. [Google Scholar] [CrossRef]
  28. Litvinova, E.G.; Melekhov, V.M.; Petrushanskaya, N.V.; Rosheva, G.V.; Fedotov, V.B.; Feldblum, V.S.; Khotimskiy, V.S. Method for producing trimethylsilylpropyne. Patent 1823457 of Russian Federation, 20 August 1995. [Google Scholar]
  29. Bezgin, D.A.; Nikiforov, R.Y.; Belov, N.A.; Milenin, S.; Yampolskii, Y.P.; Muzafarov, A.M. Synthesis and Gas Transport Parameters of a Carbosilane Dendrimer. Membr. Membr. Technol. 2021, 3, 1–7. [Google Scholar] [CrossRef]
  30. Dorkenoo, K.D.; Pfromm, P.H. Accelerated physical aging of thin poly [1-(trimethylsilyl)-1-propyne] films. Macromolecules 2000, 33, 3747–3751. [Google Scholar] [CrossRef]
Figure 1. Models of the cis-unit (a) and trans-unit (b) of PTMSP.
Figure 1. Models of the cis-unit (a) and trans-unit (b) of PTMSP.
Polymers 15 02172 g001
Figure 2. A structural formula for Irganox 1076.
Figure 2. A structural formula for Irganox 1076.
Polymers 15 02172 g002
Figure 3. Schema of gas permeability set-up: 1 and 2—gas cylinders; 3—tee; 4, 5, 10, 11 and 17—valves; 6—membrane cell; 7, 9, 12, and 18—pressure sensors; 8 and 13—TCD, 14—gas chromatograph column; and 15 and 16—PC.
Figure 3. Schema of gas permeability set-up: 1 and 2—gas cylinders; 3—tee; 4, 5, 10, 11 and 17—valves; 6—membrane cell; 7, 9, 12, and 18—pressure sensors; 8 and 13—TCD, 14—gas chromatograph column; and 15 and 16—PC.
Polymers 15 02172 g003
Figure 4. Schema of sorption set-up: 1 and 2—gas cylinders; 3—pressure sensor (≥1 atm); 4—valves; 5—vacuum cell; 6—pressure sensor (<1 atm); 7—valve; 8—tube with polymer; 9—thermostat; 10—GC column; and 11—TCD.
Figure 4. Schema of sorption set-up: 1 and 2—gas cylinders; 3—pressure sensor (≥1 atm); 4—valves; 5—vacuum cell; 6—pressure sensor (<1 atm); 7—valve; 8—tube with polymer; 9—thermostat; 10—GC column; and 11—TCD.
Polymers 15 02172 g004
Figure 5. X-ray diffraction patterns of PTMSP with different cis-contents.
Figure 5. X-ray diffraction patterns of PTMSP with different cis-contents.
Polymers 15 02172 g005
Figure 6. Relative changes in the coefficients of permeability P/P0 of films from PTMSP with different cis-contents during storage of samples in air for 1 month.
Figure 6. Relative changes in the coefficients of permeability P/P0 of films from PTMSP with different cis-contents during storage of samples in air for 1 month.
Polymers 15 02172 g006
Figure 7. The effect of Irganox 1076 on the gas permeability of PTMSP films with the content of cis-units at 50%. The measurements were carried out for fresh films (PTMSP-50c film from pure polymer and PTMSP-50cA film with Irganox 1076) and for aged films stored in air for 1 month (PTMSP-50c_aged film from pure polymer and PTMSP-50cA_aged film with Irganox 1076).
Figure 7. The effect of Irganox 1076 on the gas permeability of PTMSP films with the content of cis-units at 50%. The measurements were carried out for fresh films (PTMSP-50c film from pure polymer and PTMSP-50cA film with Irganox 1076) and for aged films stored in air for 1 month (PTMSP-50c_aged film from pure polymer and PTMSP-50cA_aged film with Irganox 1076).
Polymers 15 02172 g007
Figure 8. The effect of Irganox 1076 on the ideal selectivity of PTMSP films with the content of cis-units at 50%. The measurements were carried out for fresh films (PTMSP-50c film from pure polymer and PTMSP-50cA film with Irganox 1076) and for aged films stored in air for 1 month (PTMSP-50c_aged film from pure polymer and PTMSP-50cA_aged film with Irganox 1076).
Figure 8. The effect of Irganox 1076 on the ideal selectivity of PTMSP films with the content of cis-units at 50%. The measurements were carried out for fresh films (PTMSP-50c film from pure polymer and PTMSP-50cA film with Irganox 1076) and for aged films stored in air for 1 month (PTMSP-50c_aged film from pure polymer and PTMSP-50cA_aged film with Irganox 1076).
Polymers 15 02172 g008
Figure 9. The effect of Irganox 1076 on the gas permeability of PTMSP films with the content of cis-units at 80%. The measurements were carried out for fresh films (PTMSP-80c film from pure polymer and PTMSP-80cA film with Irganox 1076) and for aged films stored in air for 1 month (PTMSP-80c_aged film from pure polymer and PTMSP-80cA_aged film with Irganox 1076).
Figure 9. The effect of Irganox 1076 on the gas permeability of PTMSP films with the content of cis-units at 80%. The measurements were carried out for fresh films (PTMSP-80c film from pure polymer and PTMSP-80cA film with Irganox 1076) and for aged films stored in air for 1 month (PTMSP-80c_aged film from pure polymer and PTMSP-80cA_aged film with Irganox 1076).
Polymers 15 02172 g009
Figure 10. The effect of Irganox 1076 on the ideal selectivity of PTMSP films with the content of cis-units at 80%. The measurements were carried out for fresh films (PTMSP-80c film from pure polymer and PTMSP-80cA film with Irganox 1076) and for aged films stored in air for 1 month (PTMSP-80c_aged film from pure polymer and PTMSP-80cA_aged film with Irganox 1076).
Figure 10. The effect of Irganox 1076 on the ideal selectivity of PTMSP films with the content of cis-units at 80%. The measurements were carried out for fresh films (PTMSP-80c film from pure polymer and PTMSP-80cA film with Irganox 1076) and for aged films stored in air for 1 month (PTMSP-80c_aged film from pure polymer and PTMSP-80cA_aged film with Irganox 1076).
Polymers 15 02172 g010
Figure 11. The effect of Irganox 1076 on the gas permeability of PTMSP films with the content of cis-units at 90%. The measurements were carried out for fresh films (PTMSP-90c film from pure polymer and PTMSP-90cA film with Irganox 1076) and for aged films stored in air for 1 month (PTMSP-90c_aged film from pure polymer and PTMSP-90cA_aged film with Irganox 1076).
Figure 11. The effect of Irganox 1076 on the gas permeability of PTMSP films with the content of cis-units at 90%. The measurements were carried out for fresh films (PTMSP-90c film from pure polymer and PTMSP-90cA film with Irganox 1076) and for aged films stored in air for 1 month (PTMSP-90c_aged film from pure polymer and PTMSP-90cA_aged film with Irganox 1076).
Polymers 15 02172 g011
Figure 12. The effect of Irganox 1076 on the ideal selectivity of PTMSP films with the content of cis-units at 90%. The measurements were carried out for fresh films (PTMSP-90c film from pure polymer and PTMSP-90cA film with Irganox 1076) and for aged films stored in air for 1 month (PTMSP-90c_aged film from pure polymer and PTMSP-90cA_aged film with Irganox 1076).
Figure 12. The effect of Irganox 1076 on the ideal selectivity of PTMSP films with the content of cis-units at 90%. The measurements were carried out for fresh films (PTMSP-90c film from pure polymer and PTMSP-90cA film with Irganox 1076) and for aged films stored in air for 1 month (PTMSP-90c_aged film from pure polymer and PTMSP-90cA_aged film with Irganox 1076).
Polymers 15 02172 g012
Table 1. Synthesis conditions and characteristics of PTMSP.
Table 1. Synthesis conditions and characteristics of PTMSP.
SampleCatalytic
System 1
Yield, %[η], dL/gCis-Content, %
PTMSP-50cNbCl5900.750
PTMSP-80cNbBr5/Ph4Sn702.780
PTMSP-90cNbBr5/n-Bu4Sn803.090
1 Polymerization conditions: [Mon]0 = 1 mol/L, [Mon]/[Cat] = 50, [Cat] = [Cocat] = 1; solvents: toluene for PTMSP-50c and cyclohexane for PTMSP-80c and PTMSP-90c; T = 25 °C and 24 h for PTMSP-50c; T = 80 °C and 72 h for PTMSP-80c and PTMSP-90c.
Table 2. Pure gas permeability of film membranes from PTMSP with different cis-contents.
Table 2. Pure gas permeability of film membranes from PTMSP with different cis-contents.
SamplePermeability Coefficient, P, Barrer *
CO2CH4O2N2HeH2
PTMSP-50c43,50019,00010,9006820610020,700
PTMSP-80c42,00020,10011,2007630729025,200
PTMSP-90c50,90026,70014,6009950823029,000
* 1 Barrer = 1 × 10−10 [cm3 (STP) cm cm−2 s−1 cm Hg−1].
Table 3. Ideal selectivity of film membranes from PTMSP with different cis-contents.
Table 3. Ideal selectivity of film membranes from PTMSP with different cis-contents.
SampleIdeal Selectivity, α
CO2/CH4CO2/N2O2/N2H2/CH4
PTMSP-50c2.36.41.61.1
PTMSP-80c2.15.51.51.3
PTMSP-90c1.95.11.51.1
Table 4. Wide-angle X-ray scattering data for PTMSP with different cis-contents.
Table 4. Wide-angle X-ray scattering data for PTMSP with different cis-contents.
SampleCis-Content, %Δ1/2 °d, Å
PTMSP-50c503.58.834.433.17------
PTMSP-80c803.28.904.573.27------
PTMSP-90c903.49.014.533.212.462.03
Table 5. Gas permeability, diffusion, and solubility coefficients for aged films from pure PTMSP (PTMSP-50c_aged, PTMSP-80c_aged, and PTMSP-90c_aged) and Irganox 1076 (PTMSP-50cA_aged, PTMSP-80cA_aged, and PTMSP-90cA_aged) stored in air for 1 month.
Table 5. Gas permeability, diffusion, and solubility coefficients for aged films from pure PTMSP (PTMSP-50c_aged, PTMSP-80c_aged, and PTMSP-90c_aged) and Irganox 1076 (PTMSP-50cA_aged, PTMSP-80cA_aged, and PTMSP-90cA_aged) stored in air for 1 month.
GasP 1D 2S 3P 1D 2S 3P 1D 2S 3
PTMSP-50c_agedPTMSP-80c_agedPTMSP-90c_aged
CO219.71.612725.02.69743.04.692
CH48.91.94712.74.23018.14.739
O25.03.6146.84.81410.07.513
N23.12.9114.64.0127.26.311
He3.2--4.2--8.0--
H211.2--14.7--27.1--
PTMSP-50cA_agedPTMSP-80cA_agedPTMSP-90cA_aged
CO226.02.89336.84.29534.03.598
CH411.53.33516.44.03114.23.442
O26.46.2129.26.6148.86.114
N23.83.78.75.81312.75.44.511
He5.8--6.9--6.2--
H218.7--22.2--21.5--
1 P·103 [Barrer]; 2 D·105 [cm2/s]; 3 S [cm3(STP)/cm3 cm Hg].
Disclaimer/Publisher’s Note: The statements, opinions and data contained in all publications are solely those of the individual author(s) and contributor(s) and not of MDPI and/or the editor(s). MDPI and/or the editor(s) disclaim responsibility for any injury to people or property resulting from any ideas, methods, instructions or products referred to in the content.

Share and Cite

MDPI and ACS Style

Makrushin, V.; Kossov, A.; Polevaya, V.; Levin, I.; Bezgin, D.; Syrtsova, D.; Matson, S. The Effect of Stereoregularity and Adding Irganox 1076 on the Physical Aging Behavior of Poly(1-trimetylsilyl-1-propyne). Polymers 2023, 15, 2172. https://doi.org/10.3390/polym15092172

AMA Style

Makrushin V, Kossov A, Polevaya V, Levin I, Bezgin D, Syrtsova D, Matson S. The Effect of Stereoregularity and Adding Irganox 1076 on the Physical Aging Behavior of Poly(1-trimetylsilyl-1-propyne). Polymers. 2023; 15(9):2172. https://doi.org/10.3390/polym15092172

Chicago/Turabian Style

Makrushin, Vladimir, Anton Kossov, Viktoriya Polevaya, Ivan Levin, Denis Bezgin, Dariya Syrtsova, and Samira Matson. 2023. "The Effect of Stereoregularity and Adding Irganox 1076 on the Physical Aging Behavior of Poly(1-trimetylsilyl-1-propyne)" Polymers 15, no. 9: 2172. https://doi.org/10.3390/polym15092172

APA Style

Makrushin, V., Kossov, A., Polevaya, V., Levin, I., Bezgin, D., Syrtsova, D., & Matson, S. (2023). The Effect of Stereoregularity and Adding Irganox 1076 on the Physical Aging Behavior of Poly(1-trimetylsilyl-1-propyne). Polymers, 15(9), 2172. https://doi.org/10.3390/polym15092172

Note that from the first issue of 2016, this journal uses article numbers instead of page numbers. See further details here.

Article Metrics

Back to TopTop