Assessment of fib Bulletin 90 Design Provisions for Intermediate Crack Debonding in Flexural Concrete Elements Strengthened with Externally Bonded FRP
Abstract
1. Introduction
2. Analysis of the Current Formulations for ICD
- The dependence on the concrete strength in the formulation for the shear strength;
- The value of the maximum slip;
- The influence of the relationship between FRP and concrete surfaces, introduced by the shape factor kb (Equation (6)), where bf and b represent the widths of the FRP reinforcement and of the strengthened element, respectively.
2.1. Simplified FRP Stress Limit Method (S1, S2)
2.2. More Accurate Method (MA1, MA2)
2.2.1. Detailed Analysis of FRP Force Difference (MA1)
2.2.2. Simplified Analysis of FRP Force Difference (MA2)
3. Experimental Campaign
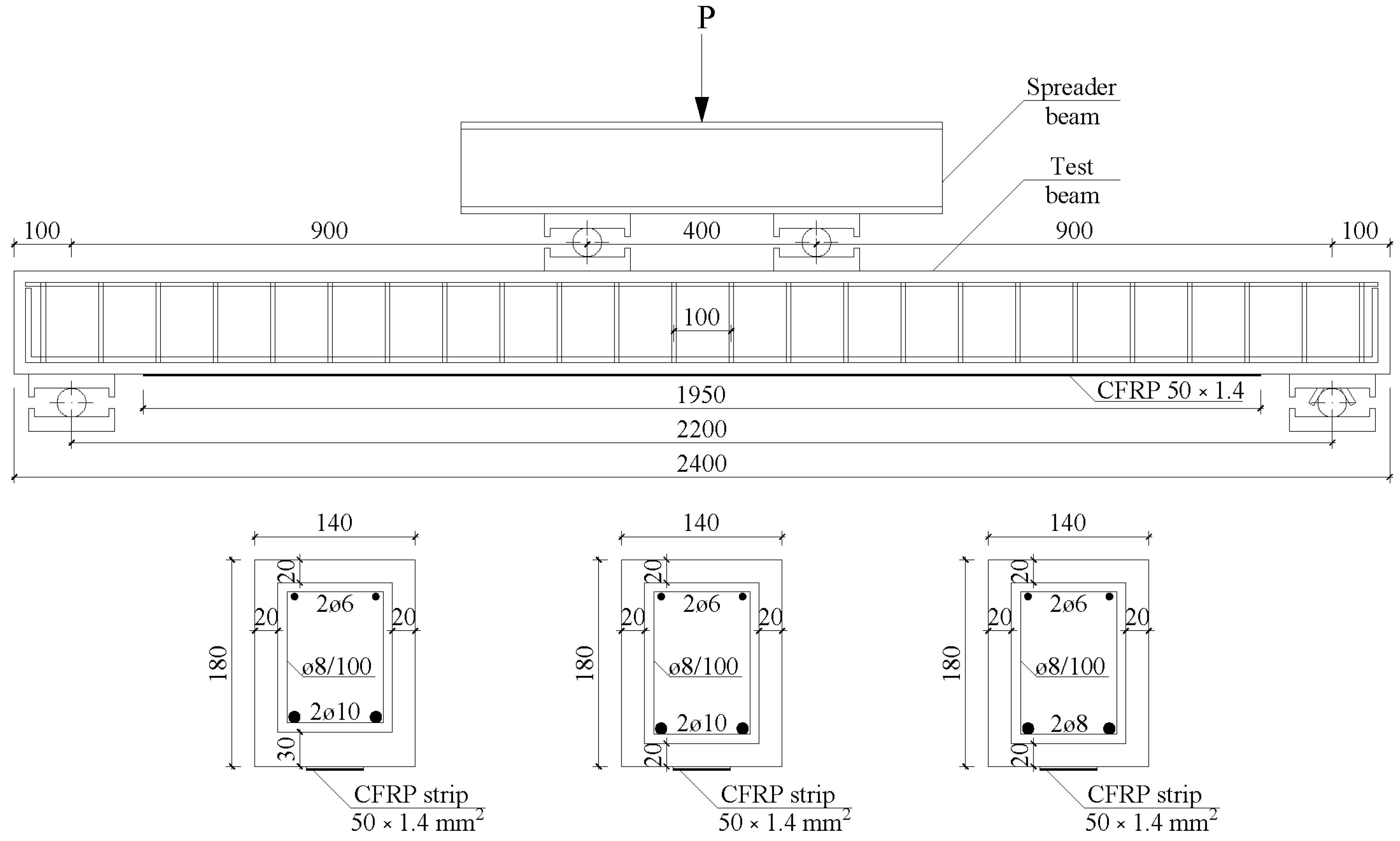
3.1. Layout and Instrumentation
3.2. Experimental Results
4. Models Assessment
4.1. Database
4.2. Discussion
4.2.1. Analysis of the Location of Initiation of Debonding
4.2.2. Analysis of Simplified Methods
4.2.3. Analysis of More Accurate Methods
- The similarity of the experimental failure load due to ICD with the predicted ultimate capacity of the beam without considering debonding;
- The value of the concrete strain, which may have exceeded the ultimate value of 3.5 ‰ considered in this study;
- The difficulty of finding the exact position of the cracks and the point where failure initiates;
- The differences in the experimental and predicted parameters of the bond law;
- A combination of these with other factors such as concrete strength, steel, and CFRP reinforcement ratio and the geometry of the beam.
5. Conclusions
- In all specimens, ICD took place after the yielding of the internal tensile steel reinforcement, corresponding to the desirable flexural failure modes. The results showed that a higher concrete strength improved the bending capacity of the beam (series II-44.8 MPa vs. series I-23.9 MPa), yet it was much lower than the theoretical prediction in the absence of debonding. Likewise, a higher amount of steel reinforcement led to a higher bending capacity with similar CFRP strains at failure;
- The values of the ICD load were well predicted by all approaches, with a mean experimental-to-predicted failure load ratio between 0.96 and 1.09 and a CoV between 0.12 and 0.17;
- Predictions more similar to the experimental results were obtained with the more accurate method MA1 (0.96) approach in comparison with the MA2 (1.09) and simplified methods S1 (1.09) and S2 (1.04), although with more computational effort. However, for the beams in the database following the usual test configurations with a three- or four-point bending configuration, the differences between the methods were low;
- The value of the bond fracture energy affects the ICD load. For this database, the formulations used in S2 considering the shape factor kb were slightly more accurate predictions than S1.
Author Contributions
Funding
Data Availability Statement
Acknowledgments
Conflicts of Interest
References
- fib Task Group 5.1. Fib Bulletin 90: Externally Applied FRP Reinforcement for Concrete Structures; Task Group 5.1 Fibre-Reinforced Polymer Reinforcement for concrete structures: Lausanne, Switzerland, 2019. [Google Scholar]
- ACI Committee 440. ACI 440.2R-17: Guide for the Design and Construction of Externally Bonded FRP Systems for Strengthening Concrete Structures; American Concrete Institute (ACI): Farmington Hills, MI, USA, 2017. [Google Scholar]
- Zhao, J.; Li, G.; Wang, Z.; Zhao, X.-L. Fatigue behavior of concrete beams reinforced with glass- and carbon-fiber reinforced polymer (GFRP/CFRP) bars after exposure to elevated temperatures. Compos. Struct. 2019, 229, 111427. [Google Scholar] [CrossRef]
- Al-Fakih, A.; Hashim, M.H.M.; Alyousef, R.; Mutafi, A.; Sabah, S.H.A.; Tafsirojjaman, T. Cracking behavior of sea sand RC beam bonded externally with CFRP plate. Structures 2021, 33, 1578–1589. [Google Scholar] [CrossRef]
- Siddika, A.; Al Mamun, A.; Alyousef, R.; Amran, Y.M. Strengthening of reinforced concrete beams by using fiber-reinforced polymer composites: A review. J. Build. Eng. 2019, 25, 100798. [Google Scholar] [CrossRef]
- Consiglio Nazionalle delle Richerche (CNR). CNR-DT 200 R1/2013: Guide for the Design and Construction of Externally Guide for the Design and Construction of Externally Bonded FRP Systems for Strengthening Existing Structures; Consiglio Nazionalle delle Richerche (CNR): Rome, Italy, 2013. [Google Scholar]
- Xian, G.; Guo, R.; Li, C.; Wang, Y. Mechanical performance evolution and life prediction of prestressed CFRP plate exposed to hygrothermal and freeze-thaw environments. Compos. Struct. 2022, 293, 115719. [Google Scholar] [CrossRef]
- Michels, J.; Staśkiewicz, M.; Czaderski, C.; Kotynia, R.; Harmanci, Y.E.; Motavalli, M. Prestressed CFRP Strips for Concrete Bridge Girder Retrofitting: Application and Static Loading Test. J. Bridg. Eng. 2016, 21, 04016003. [Google Scholar] [CrossRef]
- Mazzotti, C.; Bilotta, A.; Carloni, C.; Ceroni, F.; D’Antino, T.; Nigro, E.; Pellegrino, C. Bond Between EBR FRP and Concrete. In Design Procedures for the Use of Composites in Strengthening of Reinforced Concrete Structures; Springer: Dordrecht, The Netherlands, 2016; pp. 39–96. [Google Scholar] [CrossRef]
- Ibars, E.O.; del Arco, D.C.; Bernat, A.R.M. Design Proposal to Avoid Peeling Failure in FRP-Strengthened Reinforced Concrete Beams. J. Compos. Constr. 2009, 13, 384–393. [Google Scholar] [CrossRef]
- Lu, X.Z.; Teng, J.G.; Ye, L.P.; Jiang, J.J. Bond–slip models for FRP sheets/plates bonded to concrete. Eng. Struct. 2005, 27, 920–937. [Google Scholar] [CrossRef]
- Dai, J.; Ueda, T.; Sato, Y. Development of the Nonlinear Bond Stress–Slip Model of Fiber Reinforced Plastics Sheet–Concrete Interfaces with a Simple Method. J. Compos. Constr. 2005, 9, 52–62. [Google Scholar] [CrossRef]
- Brosens, K.; van Gemert, D. Plate end shear design for external CFRP laminates. In Fracture Mechanics of Concrete Structures Proceedings (FRAMCOS-3); Aedificatio Publishers: Freiburg, Germany, 1998; pp. 1793–1804. [Google Scholar]
- Rostasy, F.S.; Neubauer, U. Bond behavior of CFRP-Laminates for the strengthening of concrete members. In Composite Construction—Conventional and Innovative; International Association for Bridge and Structural Engineering (IABSE): Zurich, Switzerland, 1997; pp. 717–722. [Google Scholar] [CrossRef]
- Savoia, M.; Ferracuti, B.; Mazzotti, C. Non Linear Bond-Slip Law for FRP-Concrete Interface. In Fibre-Reinforced Polymer Reinforcement for Concrete Structures. In Proceedings of the Sixth International Symposium on FRP Reinforcement for Concrete Structures (FRPRCS-6), Online, 8–10 July 2003; pp. 163–172.
- Nakaba, K.; Toshiyuki, K.; Tomoki, F.; Hiroyuki, Y. Bond Behavior between Fiber-Reinforced Polymer Laminates and Concrete. ACI Struct. J. 2001, 98, 359–367. [Google Scholar] [CrossRef]
- Monti, G.; Renzelli, M.; Lucian, P. FRP Adhesion in Uncracked and Cracked Concrete Zones. In Fibre-Reinforced Polymer Reinforcement for Concrete Structures. In Proceedings of the Sixth International Symposium on FRP Reinforcement for Concrete Structures (FRPRCS-6), Online, 8–10 July 2003; pp. 183–192. (accessed on 24 August 2022).
- Brosens, K. Anchorage of Externally Bonded Steel Plates and CFRP Laminates for the Strengthening of Concrete Elements; Katholieke Universiteit Leuven: Heverlee, Belgium, 2001. [Google Scholar]
- Ali-Ahmad, M.; Subramaniam, K.; Ghosn, M. Experimental Investigation and Fracture Analysis of Debonding between Concrete and FRP Sheets. J. Eng. Mech. 2006, 132, 914–923. [Google Scholar] [CrossRef]
- Savoia, M.; Mazzotti, C.; Ferracuti, B. Mode II Fracture Energy and Interface Law for FRP—Concrete Bonding with Different Concrete Surface Preparations. In Proceedings of the FRAMCOS-6, Catania, Italy, 17–22 June 2007; pp. 1249–1257. [Google Scholar]
- Japan Society of Civil Engineers (JSCE). Recommendations for Upgrading of Concrete Structures with Use of Continuous Fiber Sheets; Japan Society of Civil Engineers (JSCE): Tokyo, Japan, 1997. [Google Scholar]
- Zilch, K.; Niedermeier, R.; Finckh, W. Strengthening of Concrete Structures with Adhesively Bonded Reinforcement; Wilhelm Ernst & Sohn: Berlin, Germany, 2014. [Google Scholar] [CrossRef]
- Teng, J.; Smith, S.; Yao, J.; Chen, J. Intermediate crack-induced debonding in RC beams and slabs. Constr. Build. Mater. 2003, 17, 447–462. [Google Scholar] [CrossRef]
- Said, H.; Wu, Z. Evaluating and Proposing Models of Predicting IC Debonding Failure. J. Compos. Constr. 2008, 12, 284–299. [Google Scholar] [CrossRef]
- Matthys, S. Structural Behaviour and Design of Concrete Members Strengthened with Externally Bonded FRP Reinforcement; Ghent University: Ghent, Belgium, 2000. [Google Scholar]
- Task Group 9.3 FRP Reinforcement for Concrete Structures. Externally Bonded FRP Reinforcement for RC Structures: Technical Report on the Design and Use of Externally Bonded Fibre Reinforced Polymer Reinforcement (FRP EBR) for Reinforced Concrete Structures; International Federation for Structural Concrete: Lausanne, Switzerland, 2001. [Google Scholar]
- Finckh, W.; Zilch, K. Strengthening and Rehabilitation of Reinforced Concrete Slabs with Carbon-Fiber Reinforced Polymers Using a Refined Bond Model. Comput. Civ. Infrastruct. Eng. 2012, 27, 333–346. [Google Scholar] [CrossRef]
- Oller, E.; Marí, A.R.; Bellido, L. Dimensionamiento del refuerzo a flexión con laminados de polímeros reforzados con fibras (FRP) evitando su desprendimiento prematuro. Inf. De La Constr. 2013, 65, 519–531. [Google Scholar] [CrossRef]
- López-González, J.C.; Fernández-Gómez, J.; Díaz-Heredia, E.; López-Agüí, J.C.; Villanueva-Llauradó, P. IC debonding failure in RC beams strengthened with FRP: Strain-based versus stress increment-based models. Eng. Struct. 2016, 118, 108–124. [Google Scholar] [CrossRef]
- Maeda, T.; Asano, Y.; Sato, Y.; Ueda, T.; Kakuta, Y. A Study on Bond Mechanism of Carbon Fiber Sheet. In Proceedings of the 3rd International Symposium on Non-Metallic (FRP) Reinforcement of Concrete Structures, Sapporo, Japan, 14–16 October 1997; pp. 279–286. [Google Scholar]
- Camli, U.S.; Binici, B. Strength of carbon fiber reinforced polymers bonded to concrete and masonry. Constr. Build. Mater. 2007, 21, 1431–1446. [Google Scholar] [CrossRef]
- Chen, J.F.; Teng, J.G. Anchorage Strength Models for Frp and Steel Plates bonded to concrete. J. Struct. Eng. 2001, 127, 784–791. [Google Scholar] [CrossRef]
- Finckh, W.; Niedermeier, R.; Zilch, K. Praxisgerechte Bemessungsansätze für das wirtschaftliche Verstärken von Betonbauteilen mit geklebter Bewehrung—Verbundtragfähigkeit unter statischer Belastung. In DAfStb Heft 592; Beuth: Berlin, Germany, 2012. [Google Scholar]
- Bilotta, A.; Ceroni, F.; Nigro, E.; Pecce, M. Design by Testing of Debonding Load in RC Elements Strengthened with EBR FRP Materials. Am. Concr. Inst. ACI Spec. Publ. 2011, 275, 1–20. [Google Scholar] [CrossRef]
- Finckh, W.; Matthias, E.; Zilch, K. Evaluating the bond stress relationship of externally bonded CFRP-strips at the intermediate crack element. In Proceedings of the First Middle East Conference of Smart Monitoring, Assessment and Rehabilitation of Civil Structures (SMAR), Dubai, United Arab Emirates, 8–10 February 2011. [Google Scholar]
- Finckh, W.; Zilch, K. Influence of the Curvature on the Bond Force Transfer of EBR. Am. Concr. Inst. ACI Spec. Publ. 2011, 275, 1–20. [Google Scholar] [CrossRef]
- Al-Saawani, M.A.; El-Sayed, A.K.; Al-Negheimish, A.I. Effect of shear-span/depth ratio on debonding failures of FRP-strengthened RC beams. J. Build. Eng. 2020, 32, 101771. [Google Scholar] [CrossRef]
- UNE-EN 1992-1-1; Eurocode 2: Design of Concrete Structures—Part 1-1: General Rules and Rules for Buildings. European Committee for Standardization: Brussels, Belgium, 2013.
- Oller, E. Peeling Failure in Beams Strengthened by Plate Bonding. A Design Proposal; Universitat Politècnica de Catalunya: Barcelona, Spain, 2005. [Google Scholar]
- Maalej, M.; Leong, K. Effect of beam size and FRP thickness on interfacial shear stress concentration and failure mode of FRP-strengthened beams. Compos. Sci. Technol. 2005, 65, 1148–1158. [Google Scholar] [CrossRef]
- Hong, S. Effect of Intermediate Crack Debonding on the Flexural Strength of CFRP-Strengthened RC Beams. Polym. Mech. 2014, 50, 523–536. [Google Scholar] [CrossRef]
- Zhou, C.-Y.; Yu, Y.-N.; Xie, E.-L. Strengthening RC beams using externally bonded CFRP sheets with end self-locking. Compos. Struct. 2020, 241, 112070. [Google Scholar] [CrossRef]
- Peng, H.; Zhang, J.; Cai, C.; Liu, Y. An experimental study on reinforced concrete beams strengthened with prestressed near surface mounted CFRP strips. Eng. Struct. 2014, 79, 222–233. [Google Scholar] [CrossRef]
- Turco, A.; Bocciarelli, M.; Nanni, A.; Poggi, C. Influence of width and thickness of composite laminates on the flexural behavior of reinforced concrete beams and slabs. Compos. Struct. 2017, 178, 186–194. [Google Scholar] [CrossRef]
- Rusinowski, P.; Täljsten, B. Intermediate Crack Induced Debonding in Concrete Beams Strengthened with CFRP Plates—An Experimental Study. Adv. Struct. Eng. 2009, 12, 793–806. [Google Scholar] [CrossRef]
- Aram, M.R.; Czaderski, C.; Motavalli, M. Debonding failure modes of flexural FRP-strengthened RC beams. Compos. Part B Eng. 2008, 39, 826–841. [Google Scholar] [CrossRef]
- Niu, H.; Vasquez, A.; Karbhari, V. Effect of material configuration on strengthening of concrete slabs by CFRP composites. Compos. Part B Eng. 2005, 37, 213–226. [Google Scholar] [CrossRef]
- Kotynia, R.; Baky, H.A.; Neale, K.W.; Ebead, U.A. Flexural Strengthening of RC Beams with Externally Bonded CFRP Systems: Test Results and 3D Nonlinear FE Analysis. J. Compos. Constr. 2008, 12, 190–201. [Google Scholar] [CrossRef]
- Bilotta, A.; Ceroni, F.; Nigro, E.; Pecce, M. Efficiency of CFRP NSM strips and EBR plates for flexural strengthening of RC beams and loading pattern influence. Compos. Struct. 2015, 124, 163–175. [Google Scholar] [CrossRef]
- El-Zeadani, M.; Saifulnaz, M.R.; Hejazi, F.; Amran, Y.M.; Jaafar, M.; Alyousef, R.; Alrshoudi, F. Mechanics-based approach for predicting the short-term deflection of CFRP plated RC beams. Compos. Struct. 2019, 225, 111169. [Google Scholar] [CrossRef]
- Fu, B.; Teng, J.; Chen, G.; Chen, J.; Guo, Y. Effect of load distribution on IC debonding in FRP-strengthened RC beams: Full-scale experiments. Compos. Struct. 2018, 188, 483–496. [Google Scholar] [CrossRef]
- Fu, B.; Chen, G.; Teng, J. Mitigation of intermediate crack debonding in FRP-plated RC beams using FRP U-jackets. Compos. Struct. 2017, 176, 883–897. [Google Scholar] [CrossRef]
- Slaitas, J.; Valivonis, J. Full moment-deflection response and bond stiffness reduction of RC elements strengthened with prestressed FRP materials. Compos. Struct. 2020, 260, 113265. [Google Scholar] [CrossRef]
- Al-Saawani, M.; El-Sayed, A.K.; I Al-Negheimish, A. Effect of basic design parameters on IC debonding of CFRP-strengthened shallow RC beams. J. Reinf. Plast. Compos. 2015, 34, 1526–1539. [Google Scholar] [CrossRef]
- Al-Zaid, R.A.; El-Sayed, A.K.; Al-Negheimish, A.I.; Shuraim, A.B.; Alhozaimy, A.M. Strengthening of structurally damaged wide shallow RC beams using externally bonded CFRP plates. Lat. Am. J. Solids Struct. 2014, 11, 946–965. [Google Scholar] [CrossRef]
- Special Activity Group 5. New Model Code, fib Model Code for Concrete Structures 2010; fédération internationale du béton (fib): Lausanne, Switzerland, 2013. [Google Scholar]
- UNE-EN 12390-3; Testing Hardened Concrete—Part 3: Compressive Strength of Test Specimens. AENOR: Madrid, Spain, 2011.
- UNE-EN 12390-6; Testing Hardened Concrete—Part 6: Tensile Splitting Strength of Test Specimens. AENOR: Madrid, Spain, 2010.
- ASTM C469/C469M-10; Standard Test Method for Static Modulus of Elasticity and Poisson’s Ratio of Concrete in Compression. ASTM International: West Conshohocken, PA, USA, 2010.
- UNE-EN ISO 15630-1; Steel for the Reinforcement and Prestressing of Concrete-Test Methods—Part 1: Reinforcing Bars, Wire Rod and Wire. AENOR: Madrid, Spain, 2011.








| Bond-Slip Approach | Reinforcement Type | Gf (MPa·mm) | τb1 (MPa) | s0 (mm) |
|---|---|---|---|---|
| Bilinear [33] | Laminates | 0.056 | 0.530 | 0.210 |
| Sheets | 0.086 | 0.720 | 0.240 | |
| Design-by-testing [34] | Laminates and sheets | 0.063 | 0.500 | 0.250 |
| Material | Concrete Age at Test Day (Days) | Compressive Strength (MPa) | Yielding Strength (MPa) | Ultimate Tensile Strength (MPa) | Yielding Strain (‰) | Ultimate Tensile Strain (‰) | Elastic Modulus (GPa) |
|---|---|---|---|---|---|---|---|
| Concrete series I | 28 | 23.88 1 | – | 2.46 2 | – | – | 29.31 3 |
| Concrete series II | 46 | 44.76 1 | – | 3.60 2 | – | – | 36.21 3 |
| Steel | 569.96 4 | 2.73 4 | 209.76 4 | ||||
| CFRP laminate | – | – | 2800 5 | – | 16 5 | 170 5 | |
| Resin 220 HP | – | – | 15 5 | – | – | 7.1 5 |
| Series | Specimen Label | Pu (kN) | δu (mm) | εfu (‰) | εcu (‰) | Failure Mode |
|---|---|---|---|---|---|---|
| I | EBR-I-d10 | 46.19 | 23.11 | 6.25 | – 1 | IC |
| II | EBR-II-d10 | 51.35 | 20.76 | 6.14 | –1.70 | IC |
| EBR-II-d8 | 41.89 | 18.40 | 5.04 | –1.77 | IC |
| Specimen Label | S1 | S2 | MA1 | MA2 | ||||
|---|---|---|---|---|---|---|---|---|
| εfu,exp /εfu,th | Pu,exp /Pu,th | εfu,exp /εfu,th | Pu,exp /Pu,th | εfu,exp /εfu,th | Pu,exp /Pu,th | εfu,exp /εfu,th | Pu,exp /Pu,th | |
| EBR-I-d10 | 1.57 | 1.18 | 1.30 | 1.07 | 1.06 | 0.98 | 1.26 | 1.06 |
| EBR-II-d10 | 1.20 | 1.05 | 1.03 | 0.98 | 1.02 | 0.97 | 1.42 | 1.13 |
| EBR-II-d8 | 0.99 | 1.04 | 0.85 | 0.95 | 0.69 | 0.84 | 1.07 | 1.09 |
| Mean (-) | 1.25 | 1.09 | 1.06 | 1.00 | 0.92 | 0.93 | 1.25 | 1.09 |
| StDev (-) | 0.30 | 0.08 | 0.23 | 0.06 | 0.20 | 0.08 | 0.18 | 0.04 |
| CoV (-) | 0.24 | 0.07 | 0.21 | 0.06 | 0.22 | 0.08 | 0.14 | 0.03 |
| Specimen Label | sr (mm) | S1, MA1, MA2 [33] | S2 [34] | ||||||
|---|---|---|---|---|---|---|---|---|---|
| le (mm) | Gf (MPa·mm) | τb1 (MPa) | s0 (mm) | le (mm) | Gf (MPa·mm) | τb1 (MPa) | s0 (mm) | ||
| EBR-I-d10 | 115.56 | 173.75 | 0.43 | 4.08 | 0.21 | 171.03 | 0.63 | 5.02 | 0.25 |
| EBR-II-d10 | 111.37 | 133.73 | 0.72 | 6.90 | 0.21 | 138.71 | 0.95 | 7.63 | 0.25 |
| EBR-II-d8 | 139.22 | 133.73 | 0.72 | 6.90 | 0.21 | 138.71 | 0.95 | 7.63 | 0.25 |
| Specimens | Lbeam | Lshear | b | h | d | As1 | As2 | bf × tf | CFRP Type | fcm | fctm | fy1 | fy2 | Es1 | Es2 | ffu | εfu | Ef | Pu,exp | Mu,exp |
|---|---|---|---|---|---|---|---|---|---|---|---|---|---|---|---|---|---|---|---|---|
| mm | mm | mm | mm | mm | mm | mm | mm × mm | 1 | MPa | MPa | MPa | MPa | GPa | GPa | MPa | ‰ | GPa | kN | kNm | |
| Al-Saawani et al. (2015) [58] | ||||||||||||||||||||
| S-0.5-35-240 | 3000 | 1000 | 400 | 250 | 215 | 3ø14 | 3ø10 | 240 × 1.4 | P | 35.3 | 2.7 | 475 | 533 | 200 | 207 | 2800 | 17 | 165 | 211.9 | 106.0 |
| S-0.9-35-240 | 3000 | 1000 | 400 | 250 | 215 | 5ø14 | 4ø10 | 240 × 1.4 | P | 35.3 | 2.7 | 475 | 533 | 200 | 207 | 2800 | 17 | 165 | 259.3 | 129.7 |
| S-0.9-24-240 | 3000 | 1000 | 400 | 250 | 215 | 5ø14 | 4ø10 | 240 × 1.4 | P | 23.6 | 1.9 | 475 | 533 | 200 | 207 | 2800 | 17 | 165 | 250.3 | 125.2 |
| S-0.9-17-240 | 3000 | 1000 | 400 | 250 | 215 | 5ø14 | 4ø10 | 240 × 1.4 | P | 17.4 | 1.3 | 475 | 533 | 200 | 207 | 2800 | 17 | 165 | 249.6 | 124.8 |
| S-1.3-35-240 | 3000 | 1000 | 400 | 250 | 215 | 7ø14 | 4ø10 | 240 × 1.4 | P | 35.3 | 2.7 | 475 | 533 | 200 | 207 | 2800 | 17 | 165 | 306.1 | 153.1 |
| SN-0.9-35-240 | 5000 | 1640 | 250 | 400 | 362 | 4ø16 | 2ø10 | 240 × 1.4 | P | 35.3 | 2.7 | 450 | 533 | 190 | 207 | 2800 | 17 | 165 | 260.8 | 213.9 |
| Al-Zaid et al. (2014) [59] | ||||||||||||||||||||
| B-0.6-0 | 5000 | 2000 | 500 | 250 | 204 | 4ø16 | 4ø12 | 480 × 1.4 | P | 30.0 | 2.4 | 562 | 533 | 205 | 207 | 2800 | 17 | 165 | 253.8 | 253.8 |
| B-0.3-0 | 5000 | 2000 | 500 | 250 | 204 | 4ø16 | 4ø12 | 240 × 1.4 | P | 30.0 | 2.4 | 562 | 533 | 205 | 207 | 2800 | 17 | 165 | 174.2 | 174.2 |
| Aram et al. (2008) [50] | ||||||||||||||||||||
| B3 | 2000 | 667 | 250 | 150 | 120 | 3ø8 | 3ø8 | 50 × 1.2 | P | 49.0 | 3.6 | 485 | 485 | 200 2 | 200 2 | 2000 | 9 | 214 | 62.8 | 20.9 |
| B4 | 2000 | 667 | 250 | 150 | 120 | 3ø8 | 3ø8 | 50 × 1.2 | P | 52.0 | 3.7 | 485 | 485 | 200 2 | 200 2 | 2700 | 17 | 155 | 58.4 | 19.5 |
| Bilotta et al. (2015) [53] | ||||||||||||||||||||
| EBR_c_1.4×40_1 | 2100 | 925 | 120 | 160 | 115 | 2ø10 | 2ø10 | 40 × 1.4 | P | 16.8 | 1.3 | 540 | 540 | 200 2 | 200 2 | 2052 | 12 | 171 | 36.5 | 16.9 |
| El-Zeadani (2019) [54] | ||||||||||||||||||||
| CFRP-B1 | 3500 | 1750 | 200 | 300 | 254 | 2ø16 | 2ø12 | 50 × 1.2 | P | 22.7 | 2.8 | 535 | 535 | 154 | 154 | 2800 | 17 | 165 | 84.3 | 73.8 |
| Fu et al. (2017) [56] | ||||||||||||||||||||
| B1S1 | 3600 | 1300 | 200 | 450 | 395 | 3ø16 | 2ø16 | 145 × 0.67 | W | 49.0 | 3.6 | 531 | 531 | 214 | 214 | 3263 | 13 | 251 | 275.4 | 179.0 |
| B1S2 | 3600 | 1300 | 200 | 450 | 395 | 2ø16 | 2ø16 | 145 × 0.67 | W | 25.9 | 2.1 | 525 | 525 | 206 | 206 | 3263 | 13 | 251 | 242.4 | 157.6 |
| Fu et al. (2018) [55] | ||||||||||||||||||||
| LP2SP1750 | 4000 | 1750 | 200 | 450 | 395 | 2ø16 | 2ø16 | 111 × 1.0 | W | 47.0 | 3.5 | 431 | 431 | 200 2 | 200 2 | 4654 | 18 | 258 | 151.1 | 132.2 |
| LP2SP1250 | 4000 | 1250 | 200 | 450 | 395 | 2ø16 | 2ø16 | 112 × 1.0 | W | 47.1 | 3.5 | 431 | 431 | 200 2 | 200 2 | 4654 | 18 | 258 | 221.0 | 138.1 |
| LP2SP1000 | 4000 | 1000 | 200 | 450 | 395 | 2ø16 | 2ø16 | 110 × 1.0 | W | 48.2 | 3.5 | 431 | 431 | 200 2 | 200 2 | 4654 | 18 | 258 | 287.2 | 143.6 |
| LP4SP1000 | 4000 | 1000 | 200 | 450 | 395 | 2ø16 | 2ø16 | 110 × 1.0 | W | 48.5 | 3.5 | 431 | 431 | 200 2 | 200 2 | 4654 | 18 | 258 | 302.2 | 151.1 |
| LP8SP1000 | 4000 | 1000 | 200 | 450 | 395 | 2ø16 | 2ø16 | 110 × 1.0 | W | 48.5 | 3.5 | 431 | 431 | 200 2 | 200 2 | 4654 | 18 | 258 | 313.4 | 151.6 |
| Hong (2012) [45] | ||||||||||||||||||||
| BPS60 | 3000 | 1500 | 200 | 300 | 270 | 3ø10 | 3ø13 | 50 × 1.3 | P | 20.7 | 2.2 | 475 | 466 | 201 | 211 | 2412 | 13 | 180 | 64.2 | 48.2 |
| BPS90 | 3000 | 1500 | 200 | 300 | 270 | 3ø10 | 3ø13 | 50 × 1.3 | P | 20.7 | 2.2 | 475 | 466 | 201 | 211 | 2412 | 13 | 180 | 60.5 | 45.4 |
| BPD90 | 3000 | 1500 | 200 | 300 | 270 | 3ø10 | 3ø13 | 50 × 2.6 | P | 20.7 | 2.2 | 475 | 466 | 201 | 211 | 2412 | 13 | 180 | 73.7 | 55.3 |
| BPDW90 | 3000 | 1500 | 200 | 300 | 270 | 3ø10 | 3ø13 | 100 × 1.3 | P | 20.7 | 2.2 | 475 | 466 | 201 | 211 | 2412 | 13 | 180 | 92.9 | 69.7 |
| Kotynia et al. (2009) [52] | ||||||||||||||||||||
| B-08S | 4200 | 1400 | 150 | 300 | 269 | 3ø12 | 2ø10 | 50 × 1.2 | P | 32.3 | 2.8 | 490 | 524 | 195 | 290 | 2915 | 17 | 172 | 96.0 | 67.2 |
| B-08M | 4200 | 1400 | 150 | 300 | 269 | 3ø12 | 2ø10 | 120 × 1.4 | P | 37.3 | 3.5 | 490 | 524 | 195 | 290 | 2743 | 12 | 220 | 140.0 | 98.0 |
| Maalej et al. (2005) [44] | ||||||||||||||||||||
| A3 | 1500 | 500 | 115 | 146 | 120 | 3ø10 | 2ø10 | 108 × 0.17 | W | 39.8 | 3.41 | 547 | 247 | 180 | 180 | 3550 | 15 | 235 | 77.5 | 19.4 |
| A4 | 1500 | 500 | 115 | 146 | 120 | 3ø10 | 2ø10 | 108 × 0.17 | W | 39.8 | 3.41 | 547 | 247 | 180 | 180 | 3550 | 15 | 235 | 75.5 | 18.9 |
| A5 | 1500 | 500 | 115 | 146 | 120 | 3ø10 | 2ø10 | 108 × 0.33 | W | 39.8 | 3.41 | 547 | 247 | 180 | 180 | 3550 | 15 | 235 | 87.4 | 21.9 |
| A6 | 1500 | 500 | 115 | 146 | 120 | 3ø10 | 2ø10 | 108 × 0.33 | W | 39.8 | 3.41 | 547 | 247 | 180 | 180 | 3550 | 15 | 235 | 77.5 | 19.4 |
| B3 | 3000 | 1000 | 230 | 292 | 240 | 3ø20 | 2ø20 | 216 × 0.33 | W | 39.8 | 3.41 | 544 | 544 | 183 | 183 | 3550 | 15 | 235 | 75.5 | 18.9 |
| B4 | 3000 | 1000 | 230 | 292 | 240 | 3ø20 | 2ø20 | 216 × 0.33 | W | 39.8 | 3.41 | 544 | 544 | 183 | 183 | 3550 | 15 | 235 | 87.4 | 21.9 |
| B5 | 3000 | 1000 | 230 | 292 | 240 | 3ø20 | 2ø20 | 216 × 0.66 | W | 39.8 | 3.41 | 544 | 544 | 183 | 183 | 3550 | 15 | 235 | 85.8 | 21.5 |
| B6 | 3000 | 1000 | 230 | 292 | 240 | 3ø20 | 2ø20 | 216 × 0.66 | W | 39.8 | 3.41 | 544 | 544 | 183 | 183 | 3550 | 15 | 235 | 263.5 | 131.8 |
| C3 | 4800 | 1600 | 368 | 467 | 384 | 3ø32 | 2ø32 | 368 × 0.50 | W | 41 | 3.24 | 552 | 552 | 181 | 181 | 3550 | 15 | 235 | 260.3 | 130.2 |
| C4 | 4800 | 1600 | 368 | 467 | 384 | 3ø32 | 2ø32 | 368 × 0.50 | W | 41 | 3.24 | 552 | 552 | 181 | 181 | 3550 | 15 | 235 | 294.7 | 147.4 |
| C5 | 4800 | 1600 | 368 | 467 | 384 | 3ø32 | 2ø32 | 368 × 0.99 | W | 41 | 3.24 | 552 | 552 | 181 | 181 | 3550 | 15 | 235 | 284.3 | 142.2 |
| Niu et al. (2006) [51] | ||||||||||||||||||||
| A1 | 4200 | 2100 | 960 | 203 | 173 | 3ø19 | – | 200 × 1.28 | P | 31.6 | 2.5 | 452 | – | 192 | – | 2446 | 13 | 184 | 127.8 | 134.2 |
| A2 | 4200 | 2100 | 960 | 203 | 173 | 3ø19 | – | 200 × 1.21 | P | 33.4 | 2.6 | 452 | – | 192 | – | 2384 | 12 | 195 | 130.4 | 136.9 |
| A3 | 4200 | 2100 | 960 | 203 | 173 | 3ø19 | – | 300 × 1.35 | W | 35.2 | 2.7 | 452 | – | 192 | – | 724 | 9 | 80 | 102.7 | 107.8 |
| A4 | 4200 | 2100 | 960 | 203 | 173 | 3ø19 | – | 300 × 2.55 | W | 34.4 | 2.7 | 452 | – | 192 | – | 859 | 8 | 109 | 133.7 | 140.4 |
| A5 | 4200 | 2100 | 960 | 203 | 173 | 3ø19 | – | 200 × 2.55 | W | 35.9 | 2.8 | 452 | – | 192 | – | 859 | 8 | 109 | 107.4 | 112.8 |
| A6 | 4200 | 2100 | 960 | 203 | 173 | 3ø19 | – | 200 × 1.35 | W | 35.1 | 2.7 | 452 | – | 192 | – | 724 | 9 | 80 | 93.7 | 98.4 |
| B1 | 4200 | 1600 | 960 | 203 | 173 | 3ø19 | – | 200 × 1.28 | P | 35.2 | 2.7 | 452 | – | 192 | – | 2446 | 13 | 184 | 143.7 | 115.0 |
| B2 | 4200 | 1600 | 960 | 203 | 173 | 3ø19 | – | 300 × 1.35 | W | 34.5 | 2.7 | 452 | – | 192 | – | 724 | 9 | 80 | 113.4 | 90.7 |
| C2 | 4200 | 2100 | 960 | 203 | 177 | 7ø13 | – | 200 × 1.28 | P | 33.4 | 2.6 | 446 | – | 196 | – | 2446 | 13 | 184 | 133.8 | 140.5 |
| C3 | 4200 | 2100 | 960 | 203 | 177 | 7ø13 | – | 300 × 1.35 | W | 34.1 | 2.6 | 446 | – | 196 | – | 724 | 9 | 80 | 107.2 | 112.6 |
| C4 | 4200 | 2100 | 960 | 203 | 177 | 7ø13 | – | 200 × 1.35 | W | 34.5 | 2.7 | 446 | – | 196 | – | 724 | 9 | 80 | 90.5 | 95.0 |
| Oller (2005) [43] | ||||||||||||||||||||
| 1D2 | 2000 | 1000 | 300 | 200 | 160 | 2ø16 | 2ø8 | 100 × 1.4 | P | 35.2 | 2.8 | 500 | 500 | 200 2 | 200 2 | 2500 | 17 | 150 | 112.0 | 56.0 |
| 1C1 | 2000 | 1000 | 300 | 200 | 160 | 2ø16 | 2ø8 | 100 × 1.4 | P | 35.2 | 2.8 | 500 | 500 | 200 2 | 200 2 | 2500 | 17 | 150 | 104.0 | 52.0 |
| 1B1 | 2000 | 1000 | 300 | 200 | 160 | 2ø16 | 2ø8 | 100 × 1.4 | P | 35.2 | 2.8 | 500 | 500 | 200 2 | 200 2 | 2500 | 17 | 150 | 100.4 | 50.2 |
| 1A | 2000 | 1000 | 300 | 200 | 160 | 2ø16 | 2ø8 | 100 × 1.4 | P | 35.2 | 2.8 | 500 | 500 | 200 2 | 200 2 | 2500 | 17 | 150 | 109.0 | 54.5 |
| 2D1 | 2000 | 1000 | 300 | 200 | 158 | 2ø20 | 2ø8 | 100 × 1.4 | P | 35.2 | 2.8 | 500 | 500 | 200 2 | 200 2 | 2500 | 17 | 150 | 128.0 | 64.0 |
| 2D2 | 2000 | 1000 | 300 | 200 | 158 | 2ø20 | 2ø8 | 200 × 1.4 | P | 35.2 | 2.8 | 500 | 500 | 200 2 | 200 2 | 2500 | 17 | 150 | 163.0 | 81.5 |
| 2C1 | 2000 | 1000 | 300 | 200 | 158 | 2ø20 | 2ø8 | 100 × 1.4 | P | 35.2 | 2.8 | 500 | 500 | 200 2 | 200 2 | 2500 | 17 | 150 | 142.8 | 71.4 |
| Peng et al. (2014) [47] | ||||||||||||||||||||
| PRS-EB | 3300 | 1300 | 150 | 350 | 304 | 2ø16 | 2ø22 | 50 × 1.2 | P | 21.3 | 1.7 | 500 2 | 500 2 | 200 2 | 200 2 | 3100 | 19 | 165 | 146.4 | 95.2 |
| Rusinowski and Täljsten (2009) [49] | ||||||||||||||||||||
| Beam 2 | 1900 | 950 | 120 | 170 | 135 | 2ø10 | 2ø10 | 100 × 1.4 | P | 55.8 | 3.8 | 678 | 678 | 200 2 | 200 2 | 2000 | 13 | 155 | 72.6 | 34.5 |
| Beam 6 | 1900 | 950 | 120 | 170 | 135 | 2ø10 | 2ø10 | 100 × 1.4 | P | 55.8 | 3.8 | 678 | 678 | 200 2 | 200 2 | 2000 | 13 | 155 | 69.7 | 33.1 |
| Slaitas and Valivonis (2020) [57] | ||||||||||||||||||||
| BS-0 | 2810 | 955 | 180 | 300 | 263 | 2ø14 | 2ø10 | 50 × 1.2 | P | 50.0 | 3.6 | 569 | 538 | 200 | 200 | 2628 | 15 | 170 | 120.7 | 57.6 |
| Turco et al. (2017) [48] | ||||||||||||||||||||
| BL_A-w | 1524 | 762 | 152 | 305 | 262 | 3ø10 | 2ø10 | 64 × 0.89 | W | 27.3 | 2.2 | 490 | 490 | 200 | 200 | 1394 | 16 | 87 | 111.8 | 42.6 |
| BL_2A-w | 1524 | 762 | 152 | 305 | 262 | 3ø10 | 2ø10 | 64 × 1.78 | W | 27.3 | 2.2 | 490 | 490 | 200 | 200 | 1394 | 16 | 87 | 105.2 | 40.1 |
| BH_2A-w | 1524 | 762 | 152 | 305 | 262 | 3ø10 | 2ø10 | 64 × 1.78 | W | 42.6 | 3.2 | 490 | 490 | 200 | 200 | 1394 | 16 | 87 | 117.9 | 44.9 |
| SL_A-w | 1524 | 762 | 356 | 152 | 129 | 3ø10 | – | 64 × 0.89 | W | 27.3 | 2.2 | 490 | – | 200 | – | 1394 | 16 | 87 | 49.9 | 19.0 |
| SL_2A-2w | 1524 | 762 | 356 | 152 | 129 | 3ø10 | – | 127 × 0.89 | W | 27.3 | 2.2 | 490 | – | 200 | – | 1394 | 16 | 87 | 58.1 | 22.1 |
| SL_2A-w | 1524 | 762 | 356 | 152 | 129 | 3ø10 | – | 64 × 1.78 | W | 27.3 | 2.2 | 490 | – | 200 | – | 1394 | 16 | 87 | 55.9 | 21.3 |
| Zhou et al. (2020) [46] | ||||||||||||||||||||
| B2 | 3000 | 1200 | 250 | 300 | 267 | 2ø16 | 2ø10 | 100 × 0.17 | W | 28.5 | 2.2 | 538 | 401 | 200 | 210 | 3319 | 14 | 230 | 104.0 | 62.4 |
| Present study | ||||||||||||||||||||
| EBR-I-d10 | 2200 | 900 | 140 | 180 | 137 | 2ø10 | 2ø6 | 50 × 1.4 | P | 23.9 | 2.5 | 570 | 570 | 209 | 209 | 2800 | 16 | 170 | 46.2 | 20.8 |
| EBR-II-d10 | 2200 | 900 | 140 | 180 | 147 | 2ø10 | 2ø6 | 50 × 1.4 | P | 44.8 | 3.6 | 570 | 570 | 209 | 209 | 2800 | 16 | 170 | 51.4 | 23.1 |
| EBR-II-d8 | 2200 | 900 | 140 | 180 | 148 | 2ø8 | 2ø6 | 50 × 1.4 | P | 44.8 | 3.6 | 570 | 570 | 209 | 209 | 2800 | 16 | 170 | 41.9 | 18.9 |
| Specimens | S1 | S2 | MA1 | MA2 | |||||||||||||||
|---|---|---|---|---|---|---|---|---|---|---|---|---|---|---|---|---|---|---|---|
| xfailure | FfR | Pu,th | Pu,exp | xfailure | FfR | Pu,th | Pu,exp | xfailure | ∆FfR | ∆Ff,B | ∆Ff,F | ∆Ff,C | Pu,th | Pu,exp | xfailure | ∆FfR | Pu,th | Pu,exp | |
| (mm) | (kN) | (kN) | /Pu,th | (mm) | (kN) | (kN) | /Pu,th | (mm) | (kN) | (kN) | (kN) | (kN) | (kN) | /Pu,th | (mm) | (kN) | (kN) | /Pu,th | |
| Al-Saawani et al. (2015) [58] | |||||||||||||||||||
| S-0.5-35-240 | 1000 | 253.0 | 200.3 | 1.1 | 1000 | 280.9 | 213.0 | 1.0 | 823 | 93.8 | 39.2 | 20.1 | 34.5 | 247.0 | 0.9 | 1000 | 61.9 | 183.4 | 1.2 |
| S-0.9-35-240 | 1000 | 253.0 | 252.6 | 1.0 | 1000 | 280.9 | 265.2 | 1.0 | 1000 | 64.4 | 29.3 | 10.4 | 24.7 | 272.4 | 1.0 | 1000 | 44.5 | 230.2 | 1.1 |
| S-0.9-24-240 | 1000 | 208.4 | 225.8 | 1.1 | 1000 | 245.7 | 241.8 | 1.0 | 1000 | 54.2 | 23.4 | 10.1 | 20.7 | 245.0 | 1.0 | 1000 | 37.7 | 221.7 | 1.1 |
| S-0.9-17-240 | 1000 | 177.5 | 206.7 | 1.2 | 1000 | 221.9 | 225.2 | 1.1 | 1000 | 42.8 | 19.8 | 6.3 | 16.7 | 221.9 | 1.1 | 1000 | 33.3 | 215.5 | 1.2 |
| S-1.3-35-240 | 1000 | 253.0 | 303.1 | 1.0 | 1000 | 280.9 | 315.3 | 1.0 | 1000 | 52.6 | 31.4 | 4.5 | 16.7 | 309.5 | 1.0 | 1000 | 36.5 | 278.5 | 1.1 |
| SN-0.9-35-240 | 1640 | 253.0 | 253.6 | 1.0 | 1640 | 280.9 | 265.9 | 1.0 | 1537 | 53.5 | 19.1 | 12.8 | 21.6 | 347.8 | 0.7 | 1640 | 39.1 | 271.3 | 1.0 |
| Al-Zaid et al. (2014) [59] | |||||||||||||||||||
| B-0.6-0 | 2000 | 468.6 | 179.7 | 1.4 | 2000 | 532.2 | 192.8 | 1.3 | 1720 | 156.2 | 48.0 | 38.8 | 69.5 | 234.6 | 1.1 | 2000 | 102.0 | 234.6 | 1.1 |
| B-0.3-0 | 2000 | 234.3 | 132.2 | 1.3 | 2000 | 269.7 | 140.1 | 1.2 | 1580 | 77.8 | 23.5 | 19.6 | 34.7 | 189.5 | 0.9 | 2000 | 51.0 | 156.1 | 1.1 |
| Aram et al. (2008) [50] | |||||||||||||||||||
| B3 | 667 | 64.5 | 51.8 | 1.2 | 667 | 84.3 | 60.3 | 1.0 | 667 | 20.8 | 10.5 | 2.0 | 8.4 | 50.2 | 1.3 | 667 | 13.8 | 45.4 | 1.4 |
| B4 | 667 | 56.4 | 49.1 | 1.2 | 667 | 73.2 | 56.5 | 1.0 | 667 | 21.9 | 8.9 | 2.2 | 10.8 | 49.8 | 1.2 | 667 | 14.1 | 42.4 | 1.4 |
| Bilotta et al. (2015) [53] | |||||||||||||||||||
| EBR_c_1.4×40_1 | 925 | 29.5 | 19.2 | 1.9 | 925 | 41.6 | 25.7 | 1.4 | 925 | 7.3 | 2.1 | 0.9 | 4.3 | 29.7 | 1.2 | 925 | 5.3 | 29.7 | 1.2 |
| El-Zeadani (2019) [54] | |||||||||||||||||||
| CFRP-B1 | 1750 | 44.0 | 68.1 | 1.2 | 1750 | 55.3 | 71.7 | 1.2 | 1750 | 21.4 | 4.9 | 7.6 | 8.9 | 74.5 | 1.1 | 1750 | 13.4 | 71.4 | 1.2 |
| Fu et al. (2017) [56] | |||||||||||||||||||
| B1S1 | 1300 | 189.3 | 301.2 | 0.9 | 1300 | 162.0 | 283.4 | 1.0 | 1300 | 44.9 | 24.9 | 7.1 | 13.0 | 305.4 | 0.9 | 1300 | 37.5 | 264.2 | 1.0 |
| B1S2 | 1300 | 140.6 | 204.7 | 1.2 | 1300 | 131.0 | 198.6 | 1.2 | 1300 | 50.9 | 13.5 | 18.2 | 19.2 | 248.4 | 1.0 | 1300 | 34.9 | 185.5 | 1.3 |
| Fu et al. (2018) [55] | |||||||||||||||||||
| LP2SP1750 | 1750 | 175.5 | 157.5 | 1.0 | 1750 | 151.0 | 145.5 | 1.0 | 1750 | 41.8 | 16.9 | 9.7 | 15.3 | 189.0 | 0.8 | 1750 | 35.8 | 163.7 | 0.9 |
| LP2SP1250 | 1250 | 177.5 | 221.7 | 1.0 | 1250 | 152.6 | 204.7 | 1.1 | 1250 | 46.2 | 27.2 | 8.5 | 10.5 | 212.6 | 1.0 | 1250 | 36.2 | 176.9 | 1.2 |
| LP2SP1000 | 1000 | 175.6 | 276.0 | 1.0 | 1000 | 150.6 | 254.6 | 1.1 | 1000 | 51.3 | 35.6 | 7.2 | 8.5 | 238.4 | 1.2 | 1000 | 36.0 | 213.4 | 1.3 |
| LP4SP1000 | 1500 | 176.3 | 276.6 | 1.1 | 1500 | 151.1 | 255.0 | 1.2 | 1500 | 42.1 | 13.7 | 9.8 | 18.6 | 374.1 | 0.8 | 1500 | 36.1 | 325.9 | 0.9 |
| LP8SP1000 | 1750 | 176.8 | 277.0 | 1.1 | 1750 | 151.5 | 255.4 | 1.2 | 876 | 47.2 | 29.3 | 8.0 | 9.8 | 373.6 | 0.8 | 876 | 36.2 | 315.1 | 1.0 |
| Hong (2012) [45] | |||||||||||||||||||
| BPS60 | 1500 | 44.0 | 52.7 | 1.2 | 1500 | 58.3 | 58.2 | 1.1 | 1500 | 17.5 | 4.6 | 6.7 | 6.2 | 60.1 | 1.1 | 1500 | 11.8 | 52.2 | 1.2 |
| BPS90 | 1500 | 44.0 | 52.7 | 1.1 | 1500 | 58.3 | 58.2 | 1.0 | 1500 | 17.5 | 4.6 | 6.7 | 6.2 | 60.1 | 1.0 | 1500 | 11.8 | 52.2 | 1.2 |
| BPD90 | 1500 | 62.3 | 57.7 | 1.3 | 1500 | 82.5 | 66.2 | 1.1 | 1500 | 16.1 | 6.7 | 5.3 | 4.1 | 64.5 | 1.1 | 1500 | 11.8 | 62.0 | 1.2 |
| BPDW90 | 1500 | 88.0 | 68.2 | 1.4 | 1500 | 98.6 | 72.1 | 1.3 | 1004 | 34.7 | 10.4 | 12.6 | 11.6 | 116.0 | 0.8 | 1500 | 23.6 | 78.7 | 1.2 |
| Kotynia et al. (2009) [52] | |||||||||||||||||||
| B-08S | 1400 | 49.1 | 77.0 | 1.2 | 1400 | 60.1 | 81.5 | 1.2 | 1400 | 12.1 | 7.5 | 1.5 | 3.1 | 75.2 | 1.3 | 1400 | 8.4 | 72.3 | 1.3 |
| B-08M | 1400 | 157.7 | 117.2 | 1.2 | 1400 | 165.2 | 120.0 | 1.2 | 1400 | 33.0 | 12.8 | 6.3 | 13.8 | 150.2 | 0.9 | 1400 | 23.6 | 115.3 | 1.2 |
| Maalej et al. (2005) [44] | |||||||||||||||||||
| A3 | 500 | 41.6 | 74.3 | 1.0 | 500 | 41.6 | 74.3 | 1.0 | 500 | 32.4 | 13.8 | 1.5 | 17.1 | 74.3 | 1.0 | 500 | 20.8 | 74.3 | 1.0 |
| A4 | 500 | 41.6 | 74.3 | 1.0 | 500 | 41.6 | 74.3 | 1.0 | 500 | 32.4 | 13.8 | 1.5 | 17.1 | 74.3 | 1.0 | 500 | 20.8 | 74.3 | 1.0 |
| A5 | 500 | 69.7 | 87.2 | 1.0 | 500 | 69.7 | 87.2 | 1.0 | 500 | 31.8 | 15.5 | 1.2 | 15.1 | 87.2 | 1.0 | 500 | 20.8 | 87.2 | 1.0 |
| A6 | 500 | 69.7 | 87.2 | 1.0 | 500 | 69.7 | 87.2 | 1.0 | 500 | 31.8 | 15.5 | 1.2 | 15.1 | 87.2 | 1.0 | 500 | 20.8 | 87.2 | 1.0 |
| B3 | 1000 | 168.6 | 296.9 | 0.9 | 1000 | 152.2 | 296.9 | 0.9 | 1000 | 68.5 | 28.6 | 8.8 | 31.1 | 296.9 | 0.9 | 1000 | 47.0 | 271.2 | 1.0 |
| B4 | 1000 | 168.6 | 296.9 | 0.9 | 1000 | 152.2 | 296.9 | 0.9 | 1000 | 68.5 | 28.6 | 8.8 | 31.1 | 296.9 | 0.9 | 1000 | 47.0 | 271.2 | 1.0 |
| B5 | 1000 | 253.0 | 335.1 | 0.9 | 1000 | 215.2 | 335.1 | 0.9 | 1000 | 67.3 | 32.6 | 8.1 | 26.6 | 345.1 | 0.9 | 1000 | 47.0 | 299.3 | 1.0 |
| B6 | 1000 | 253.0 | 335.1 | 0.8 | 1000 | 215.2 | 335.1 | 0.8 | 1000 | 67.3 | 32.6 | 8.1 | 26.6 | 345.1 | 0.8 | 1000 | 47.0 | 299.3 | 1.0 |
| C3 | 1600 | 372.0 | 740.1 | 0.9 | 1600 | 321.3 | 740.1 | 0.9 | 1600 | 111.4 | 53.9 | 20.1 | 37.4 | 741.8 | 0.9 | 1600 | 85.6 | 683.8 | 1.0 |
| C4 | 1600 | 372.0 | 740.1 | 0.9 | 1600 | 321.3 | 740.1 | 0.9 | 1600 | 111.4 | 53.9 | 20.1 | 37.4 | 741.8 | 0.9 | 1600 | 85.6 | 683.8 | 1.0 |
| C5 | 1600 | 526.0 | 808.8 | 0.8 | 1600 | 454.4 | 808.8 | 0.8 | 1600 | 118.4 | 75.6 | 16.7 | 26.1 | 794.1 | 0.8 | 1600 | 85.6 | 760.8 | 0.9 |
| Niu et al. (2006) [51] | |||||||||||||||||||
| A1 | 2100 | 202.1 | 94.0 | 1.4 | 2100 | 277.4 | 107.8 | 1.2 | 1330 | 119.1 | 27.0 | 32.2 | 59.8 | 167.8 | 0.8 | 2100 | 69.9 | 105.3 | 1.2 |
| A2 | 2100 | 207.6 | 95.3 | 1.4 | 2100 | 282.9 | 109.1 | 1.2 | 1320 | 115.4 | 32.0 | 30.1 | 53.4 | 160.4 | 0.8 | 2100 | 70.8 | 105.8 | 1.2 |
| A3 | 2100 | 269.7 | 107.9 | 1.0 | 2100 | 272.7 | 108.5 | 0.9 | 1837 | 200.4 | 49.5 | 47.6 | 103.2 | 112.2 | 0.9 | 2100 | 124.1 | 112.2 | 0.9 |
| A4 | 2100 | 426.0 | 133.2 | 1.0 | 2100 | 432.1 | 134.3 | 1.0 | 1577 | 190.3 | 64.2 | 44.9 | 81.2 | 173.2 | 0.8 | 2100 | 123.1 | 170.0 | 0.8 |
| A5 | 2100 | 289.7 | 110.3 | 1.0 | 2100 | 313.8 | 114.7 | 0.9 | 1836 | 132.6 | 35.8 | 30.9 | 65.9 | 137.0 | 0.8 | 2100 | 83.4 | 121.0 | 0.9 |
| A6 | 2100 | 179.6 | 92.1 | 1.0 | 2100 | 194.7 | 0.0 | 1.0 | 1837 | 132.6 | 39.9 | 30.3 | 62.3 | 95.0 | 1.0 | 2100 | 82.7 | 95.0 | 1.0 |
| B1 | 1600 | 212.6 | 126.6 | 1.1 | 1600 | 287.6 | 144.7 | 1.0 | 1075 | 119.9 | 34.7 | 28.8 | 56.4 | 202.0 | 0.7 | 1600 | 71.7 | 124.4 | 1.2 |
| B2 | 1600 | 267.2 | 140.9 | 0.8 | 1600 | 270.9 | 141.8 | 0.8 | 1338 | 200.1 | 62.4 | 45.2 | 92.5 | 147.1 | 0.8 | 1600 | 123.3 | 147.1 | 0.8 |
| C2 | 2100 | 207.4 | 101.1 | 1.3 | 2100 | 282.6 | 114.9 | 1.2 | 1286 | 77.5 | 27.3 | 16.6 | 33.7 | 174.2 | 0.8 | 2100 | 50.9 | 119.6 | 1.1 |
| C3 | 2100 | 265.8 | 113.0 | 0.9 | 2100 | 269.8 | 113.7 | 0.9 | 1773 | 132.3 | 47.7 | 26.6 | 58.0 | 117.9 | 0.9 | 2100 | 89.6 | 117.9 | 0.9 |
| C4 | 2100 | 178.1 | 97.7 | 0.9 | 2100 | 193.9 | 100.7 | 0.9 | 1936 | 92.1 | 28.5 | 18.4 | 45.2 | 101.0 | 0.9 | 2100 | 60.1 | 101.0 | 0.9 |
| Oller (2005) [43] | |||||||||||||||||||
| 1D2 | 1000 | 100.8 | 93.7 | 1.2 | 1000 | 124.7 | 102.5 | 1.1 | 1000 | 38.2 | 14.1 | 6.8 | 17.3 | 98.3 | 1.1 | 1000 | 24.3 | 90.0 | 1.2 |
| 1C1 | 1000 | 100.8 | 93.7 | 1.1 | 1000 | 124.7 | 102.5 | 1.0 | 1000 | 38.2 | 14.1 | 6.8 | 17.3 | 98.3 | 1.1 | 1000 | 24.3 | 90.0 | 1.2 |
| 1B1 | 1000 | 100.8 | 93.7 | 1.1 | 1000 | 124.7 | 102.5 | 1.0 | 1000 | 38.2 | 14.1 | 6.8 | 17.3 | 98.3 | 1.0 | 1000 | 24.3 | 90.0 | 1.1 |
| 1A | 1000 | 100.8 | 93.7 | 1.2 | 1000 | 124.7 | 102.5 | 1.1 | 1000 | 38.2 | 14.1 | 6.8 | 17.3 | 98.3 | 1.1 | 1000 | 24.3 | 90.0 | 1.2 |
| 2D1 | 1000 | 100.8 | 121.3 | 1.1 | 1000 | 124.7 | 129.7 | 1.0 | 1000 | 32.8 | 14.4 | 4.6 | 13.8 | 123.1 | 1.0 | 1000 | 21.1 | 117.6 | 1.1 |
| 2D2 | 1000 | 201.6 | 153.4 | 1.1 | 1000 | 223.0 | 160.3 | 1.0 | 883 | 67.4 | 26.8 | 9.7 | 30.8 | 181.6 | 0.9 | 1000 | 42.3 | 149.3 | 1.1 |
| 2C1 | 1000 | 100.8 | 121.3 | 1.2 | 1000 | 124.7 | 129.7 | 1.1 | 1000 | 32.8 | 14.4 | 4.6 | 13.8 | 123.1 | 1.2 | 1000 | 21.1 | 117.6 | 1.2 |
| Peng et al. (2014) [47] | |||||||||||||||||||
| PRS-EB | 1300 | 38.1 | 100.4 | 1.5 | 1300 | 51.2 | 107.1 | 1.4 | 1300 | 9.5 | 5.2 | 1.9 | 2.4 | 100.7 | 1.5 | 1300 | 7.2 | 99.3 | 1.5 |
| Rusinowski and Täljsten (2009) [49] | |||||||||||||||||||
| Beam 2 | 950 | 124.5 | 65.7 | 1.1 | 950 | 132.2 | 67.9 | 1.1 | 867 | 31.6 | 12.2 | 2.5 | 16.9 | 84.3 | 0.9 | 950 | 21.6 | 73.2 | 1.0 |
| Beam 6 | 950 | 124.5 | 65.7 | 1.1 | 950 | 132.2 | 67.9 | 1.0 | 867 | 31.6 | 12.2 | 2.5 | 16.9 | 84.3 | 0.8 | 950 | 21.6 | 73.2 | 1.0 |
| Slaitas and Valivonis (2020) [57] | |||||||||||||||||||
| BS-0 | 955 | 58.1 | 123.5 | 1.0 | 955 | 71.7 | 131.9 | 0.9 | 955 | 17.5 | 10.4 | 2.4 | 4.7 | 117.9 | 1.0 | 955 | 12.3 | 114.0 | 1.1 |
| Turco et al. (2017) [48] | |||||||||||||||||||
| BL_A-w | 762 | 43.1 | 98.0 | 1.1 | 762 | 42.0 | 97.2 | 1.2 | 762 | 20.3 | 5.7 | 4.6 | 10.1 | 106.6 | 1.0 | 762 | 12.5 | 85.5 | 1.3 |
| BL_2A-w | 762 | 60.9 | 109.8 | 1.0 | 762 | 59.4 | 108.7 | 1.0 | 762 | 18.9 | 11.3 | 2.7 | 4.9 | 102.1 | 1.0 | 762 | 12.5 | 94.3 | 1.1 |
| BH_2A-w | 762 | 75.0 | 123.1 | 1.0 | 762 | 68.8 | 118.4 | 1.0 | 762 | 22.8 | 13.8 | 2.7 | 6.3 | 113.2 | 1.0 | 762 | 15.9 | 99.1 | 1.2 |
| SL_A-w | 762 | 43.1 | 48.9 | 1.0 | 762 | 49.5 | 51.4 | 1.0 | 620 | 37.3 | 9.3 | 5.3 | 22.7 | 62.2 | 0.8 | 762 | 18.0 | 44.9 | 1.1 |
| SL_2A-2w | 762 | 85.5 | 64.0 | 0.9 | 762 | 86.9 | 64.5 | 0.9 | 620 | 72.1 | 14.3 | 11.9 | 45.9 | 81.7 | 0.7 | 762 | 35.7 | 69.2 | 0.8 |
| SL_2A-w | 762 | 60.9 | 54.9 | 1.0 | 762 | 69.9 | 58.3 | 1.0 | 620 | 31.7 | 11.6 | 4.5 | 15.6 | 68.0 | 0.8 | 762 | 18.0 | 49.2 | 1.1 |
| Zhou et al. (2020) [46] | |||||||||||||||||||
| B2 | 1200 | 48.4 | 108.8 | 1.0 | 1200 | 47.5 | 108.4 | 1.0 | 1200 | 50.7 | 9.1 | 11.4 | 30.2 | 112.0 | 0.9 | 1200 | 25.7 | 104.6 | 1.0 |
| Present study | |||||||||||||||||||
| EBR-I-d10 | 900 | 47.3 | 38.0 | 1.2 | 900 | 57.4 | 42.5 | 1.1 | 900 | 17.3 | 4.9 | 3.5 | 8.9 | 45.6 | 1.0 | 900 | 10.5 | 42.1 | 1.1 |
| EBR-II-d10 | 900 | 60.9 | 48.5 | 1.1 | 900 | 70.7 | 52.1 | 1.0 | 900 | 17.3 | 7.5 | 2.0 | 7.8 | 51.6 | 1.0 | 900 | 11.7 | 45.4 | 1.1 |
| EBR-II-d8 | 900 | 60.9 | 39.7 | 1.1 | 900 | 70.7 | 43.4 | 1.0 | 761 | 20.0 | 8.7 | 2.6 | 8.7 | 48.4 | 0.9 | 900 | 13.3 | 36.9 | 1.1 |
| S1 | S2 | MA1 | MA2 | |||
|---|---|---|---|---|---|---|
| 1 | Specimens | (-) | 68 | 68 | 68 | 68 |
| Mean value | (-) | 1.09 | 1.04 | 0.96 | 1.09 | |
| StDev | (-) | 0.18 | 0.13 | 0.15 | 0.15 | |
| CoV | (-) | 0.17 | 0.12 | 0.16 | 0.14 | |
| 2 | Specimens | (-) | 62 (91%) | 63 (93%) | 43 (63%) | 57 (84%) |
| Mean value | (-) | 1.10 | 1.05 | 1.00 | 1.11 | |
| StDev | (-) | 0.18 | 0.13 | 0.15 | 0.15 | |
| CoV | (-) | 0.16 | 0.12 | 0.15 | 0.14 |
Disclaimer/Publisher’s Note: The statements, opinions and data contained in all publications are solely those of the individual author(s) and contributor(s) and not of MDPI and/or the editor(s). MDPI and/or the editor(s) disclaim responsibility for any injury to people or property resulting from any ideas, methods, instructions or products referred to in the content. |
© 2023 by the authors. Licensee MDPI, Basel, Switzerland. This article is an open access article distributed under the terms and conditions of the Creative Commons Attribution (CC BY) license (https://creativecommons.org/licenses/by/4.0/).
Share and Cite
Codina, A.; Barris, C.; Jahani, Y.; Baena, M.; Torres, L. Assessment of fib Bulletin 90 Design Provisions for Intermediate Crack Debonding in Flexural Concrete Elements Strengthened with Externally Bonded FRP. Polymers 2023, 15, 769. https://doi.org/10.3390/polym15030769
Codina A, Barris C, Jahani Y, Baena M, Torres L. Assessment of fib Bulletin 90 Design Provisions for Intermediate Crack Debonding in Flexural Concrete Elements Strengthened with Externally Bonded FRP. Polymers. 2023; 15(3):769. https://doi.org/10.3390/polym15030769
Chicago/Turabian StyleCodina, Alba, Cristina Barris, Younes Jahani, Marta Baena, and Lluís Torres. 2023. "Assessment of fib Bulletin 90 Design Provisions for Intermediate Crack Debonding in Flexural Concrete Elements Strengthened with Externally Bonded FRP" Polymers 15, no. 3: 769. https://doi.org/10.3390/polym15030769
APA StyleCodina, A., Barris, C., Jahani, Y., Baena, M., & Torres, L. (2023). Assessment of fib Bulletin 90 Design Provisions for Intermediate Crack Debonding in Flexural Concrete Elements Strengthened with Externally Bonded FRP. Polymers, 15(3), 769. https://doi.org/10.3390/polym15030769

