Mechanical Lock Joint for Effective In-Plane Application of Concentrated Loads to Thin Polymer Matrix Laminates
Abstract
1. Introduction
2. Materials and Methods
2.1. Experimental Investigations
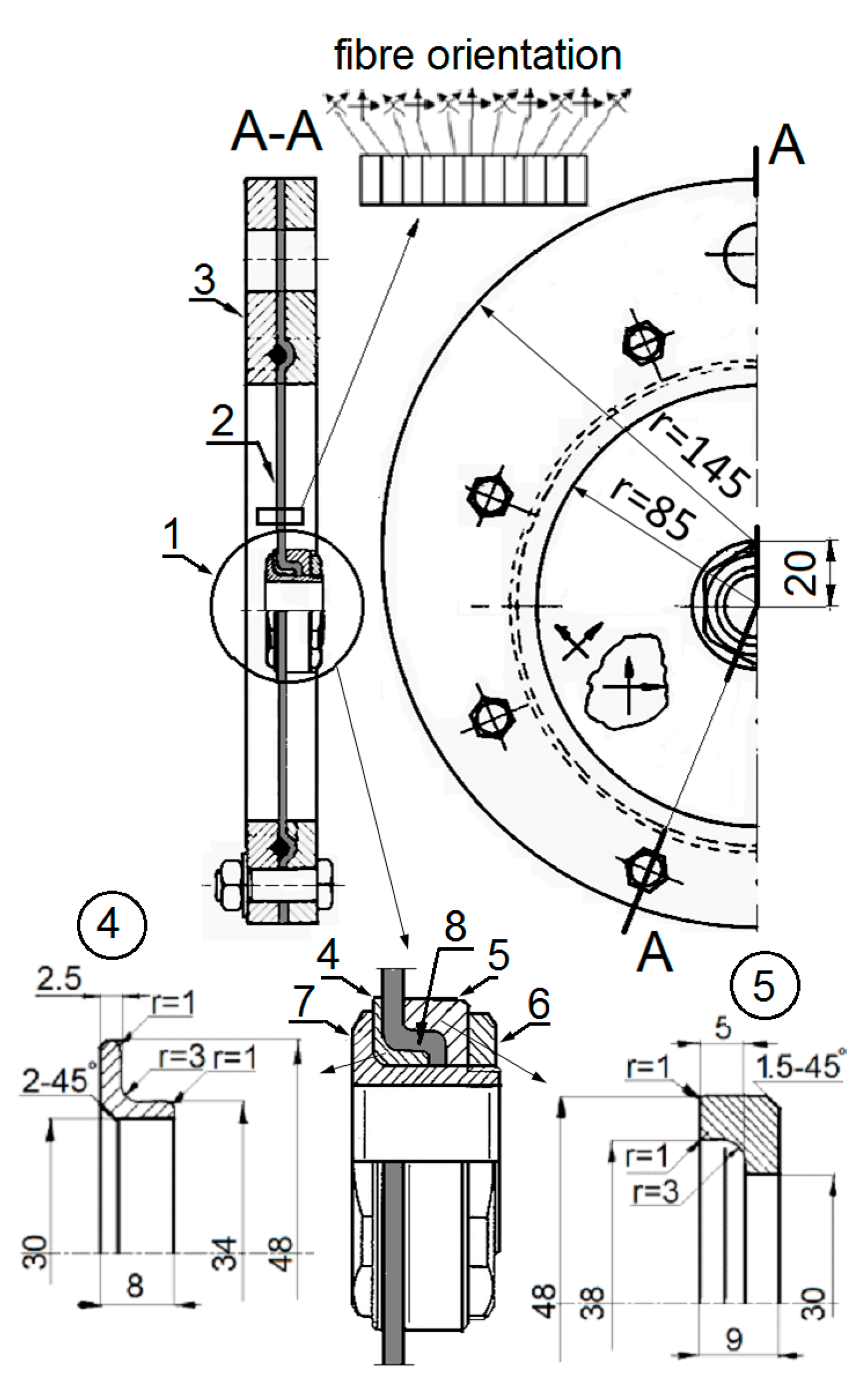
2.1.1. Test Piece. Materials and Design
2.1.2. Experimental Setup
2.2. Numerical Modelling
2.2.1. Finite Element Model
- reading the average of strain components (6 components) in all the layers (11 layers);
- comparing the readings with the failure values;
- calculating the new values of E and G according to the degradation rules, Equations (2) and (4), if the failure strain values were reached;
- replacing the old E and G values with the new ones,
- repeating the entire calculation with no external loading change, if E and/or G were changed at least in one element’s layer; and
- increasing the external load by the prescribed value and repeating the entire calculation if both the E and G values remained not changed.
2.2.2. Damage Simulation
3. Results
4. Conclusions
- the ML joint offered about 70% higher load capacity compared to that of a SBW joint of the same relevant geometrical parameters.
- such a relatively high-load capacity was due to the load transfer mechanism specific to the ML joint. This mechanism meant that the ML joint could transfer a load with its front and rear parts as opposed to a bolt joint which transferred a load with the contact pressure developed at the front part of the laminate—bolt interface only. Therefore, in the case of laminates with polymer matrixes, the former could serve its purpose much better than the latter.
- the final damage extent determined with, (i) the use of the original algorithm incorporated in the commercial ANSYS FE code and, (ii) the use of CT (Figure 13) was very alike, (picture no.7 in Figure 12). This evidenced, to a large extent, the credibility of the developed algorithm and its usefulness.
Author Contributions
Funding
Institutional Review Board Statement
Informed Consent Statement
Data Availability Statement
Conflicts of Interest
References
- Toor, Z.S. Space Applications of Composite Materials. J. Space Technol. 2018, 8, 65–70. [Google Scholar]
- Arif, M.; Asif, M.; Ahmed, I. Advanced Composite Material for Aerospace Application—A Review. Int. J. Eng. Manuf. Sci. 2017, 7, 393–409. [Google Scholar]
- Barsotti, B.; Gaiotti, M.; Rizzo, C.M. Recent Industrial Developments of Marine Composites Limit States and Design Approaches on Strength. J. Mar. Sci. Appl. 2020, 19, 553–566. [Google Scholar] [CrossRef]
- Rubino, F.; Nisticò, A.; Tucci, F.; Carlone, P. Marine Application of Fiber Reinforced Composites, A Review. J. Mar. Sci. Eng. 2020, 8, 26. [Google Scholar] [CrossRef]
- Hovorun, T.P.; Berladir, K.V.; Pererva, V.I.; Rudenko, S.G.; Martynov, A.I. Modern materials for automotive industry. J. Eng. Sci. 2017, 4, F8–F18. [Google Scholar] [CrossRef]
- Ferdous, W.; Manalo, A.; AlAjarmeh, O.; Mohammed, A.A.; Salih, C.; Yu, P.; Khotbehsara, M.M.; Schubel, P. Static behaviour of glass fibre reinforced novel composite sleepers for mainline railway track. Eng. Struct. 2021, 229, 111627. [Google Scholar] [CrossRef]
- Mohammed, A.A.; Manalo, A.C.; Ferdous, W.; Zhuge, Y.; Vijay, P.V.; Alkinani, A.Q.; Fam, A. State-of-the-art of prefabricated FRP composite jackets for structural repair. Eng. Sci. Technol. Int. J. 2020, 23, 1244–1258. [Google Scholar] [CrossRef]
- Ferdous, W.; Ngo, T.D.; Nguyen, K.T.Q.; Ghazlan, A.; Mendis, P.; Manalo, A. Effect of fire-retardant ceram powder on the properties of phenolic-based GFRP composites. Compos. Part B 2018, 155, 414–424. [Google Scholar] [CrossRef]
- Fink, A.; Camanho, P.P. Reinforcement of composite bolted joints by means of local hybridisation. In Composites Joints and Connections Principles, Modelling and Testing; Comanho, P., Tong, L., Eds.; Cambridge Woodhead Publishing Limited: Sawston, UK, 2011; p. 6. [Google Scholar]
- Giannopoulos, I.K.; Doroni-Dawes, D.; Kourousis, K.I.; Yasaee, M. Effects of bolt torque tightening on the strength and fatigue life of airframe FRP laminate bolted joints. Compos. Part B Eng. 2017, 125, 19–26. [Google Scholar] [CrossRef]
- Camanho, P.P.; Tavares, C.M.L.; de Oliveira, R.; Marques, A.T.; Ferreira, A.J.M. Increasing the efficiency of composite single-shear lap joints using bonded inserts. Compos. Part B Eng. 2005, 36, 372–383. [Google Scholar] [CrossRef]
- Zafari, B.; Qureshi, J.; Mottram, J.T.; Rusev, R. Static and fatigue performance of resin injected bolts for a slip and fatigue resistant connection in FRP bridge engineering. Structures 2016, 7, 71–84. [Google Scholar] [CrossRef]
- Szymczyk, E.; Puchala, K.; Jachimowicz, J.; Salacinski, M. Influence of Metal Foil on Interface Stress State in CFRP Laminate. Solid State Phenom. 2015, 250, 223–231. [Google Scholar] [CrossRef]
- Fink, A.; Camanho, P.P.; Andrés, J.M.; Pfeiffer, E.; Obst, A. Hybrid CFRP/titanium bolted joints: Performance assessment and application to a spacecraft payload adaptor. Compos. Sci. Technol. 2010, 70, 305–317. [Google Scholar] [CrossRef]
- Gross, L.; Herwig, A.; Berg, D.C.; Schmidt, C.; Denkena, B.; Horst, P.; Meiners, D. Production-based design of a hybrid load introduction element for thin-walled CFRP Structure. Prod. Eng. 2018, 12, 113–120. [Google Scholar] [CrossRef]
- Derewońko, A. Failure Simulation of Metal-Composite Joints. Fibres Text. East. Eur. 2013, 5, 131–134. [Google Scholar]
- Smith, F. Comeld™: An Innovation in Composite to Metal Joining. Mater. Technol. 2005, 20, 91–96. [Google Scholar] [CrossRef]
- Ucsnik, S.; Scheerer, M.; Zaremba, S.; Pahr, D.H. Experimental investigation of a novel hybrid metal-composite joining technology. Compos. A Appl. Sci. Manuf. 2010, 41, 369–374. [Google Scholar] [CrossRef]
- Stelzer, S.; Ucsnik, S.; Pinter, G. Strength and damage tolerance of composite–composite joints with steel and titanium through the thickness reinforcements. Compos. Part A Appl. Sci. Manuf. 2016, 88, 39–47. [Google Scholar] [CrossRef]
- Marjanowski, J.; Tomasiewicz, J.; Frączek, W. The electric–powered motorglider AOS-71-the study of development. Aircr. Eng. Aerosp. Technol. 2017, 89, 579–589. [Google Scholar] [CrossRef]
- Sutton, M.A.; Orten, J.J.; Schreier, M. Image Correlation for Shape, Motion and Deformation Measurements Basic Concepts Theory and Applications; Springer Science & Business Media LCC: Berlin/Heidelberg, Germany, 2009; pp. 175–190. [Google Scholar]
- Martz, H.E.; Logan, C.M.; Schneberk, D.J.; Shull, P.J. X-ray Imaging: Fundamentals, Industrial Techniques and Applications; CRC Press: Boca Raton, FL, USA, 2017. [Google Scholar]
- Garcea, S.C.; Wang, Y.; Withers, P.J. X-ray computed tomography of polymer composites. Compos. Sci. Technol. 2018, 156, 305–319. [Google Scholar] [CrossRef]
- Ecker, J.V.; Fürst, C.; Unterweger, C.; Plank, B.; Haider, A. 3D computed tomography as Quality Control Tool in Advanced Composite Manufacturing. In Proceedings of the 8th Conference on Industrial Computed Tomography, Wels, Austria, 6–19 February 2018; pp. 1–7. [Google Scholar]
- Straumit, I.; Baran, I.; Gorbatikh, L.; Farkas, L.; Hahn, C.; Ilin, K.; Ivens, J.; Lessard, L.; Liu, Y.; Nguyen, N.; et al. Micro-ct-based analysis of fibre-reinforced composites: Applications. In Proceedings of the ECCM18 18th European Conference on Composite Materials, Athens, Greece, 25–28 June 2018; pp. 1–8. [Google Scholar]
- del Rey Castillo, E.; Allen, T.; Henry, R.; Griffith, M.; Ingham, J. Digital image correlation (DIC) for measurement of strains and displacements in coarse, low volume-fraction FRP composites used in civil infrastructure. Compos. Struct. 2019, 212, 43–57. [Google Scholar] [CrossRef]
- Amiot, F.; Bornert, M.; Doumalin, P.; Dupre, J.-C.; Fazzini, M.; Orteu, J.-J.; Poilane, C.; Robert, L.; Rotinat, R.; Touissant, E.; et al. Assessment of Digital Image Correlation Measurement Accuracy in the Ultimate Error Regime: Main Results of a Collaborative Benchmark—Assessment of Digital Image Correlation Measurement Accuracy in the Ultimate Error Regime: Main Results of a Collaborative Benchmark. Strain 2013, 49, 483–496. [Google Scholar]
- Solvay. Technical Data Sheet Mtm® 46 Prepreg. Available online: https://catalogservice.solvay.com (accessed on 26 May 2021).
- Hühne, C.; Zerbst, A.-K.; Kuhlmann, G.; Steenbock, C.; Rolfes, R. Progressive damage analysis of composite bolted joints with liquidshim layers using constant and continuous degradation models. Compos. Struct. 2010, 92, 189–200. [Google Scholar] [CrossRef]
- Du, A.; Liu, Y.; Xin, H.; Zuo, Y. Progressive damage analysis of PFRP double-lap bolted joints using explicit finite element method. Compos. Struct. 2016, 152, 860–869. [Google Scholar] [CrossRef]
- Li, L.; Qu, J.; Liu, X. Failure analysis of single-bolted joint for lightweight composite laminates and metal plate. IOP Conf. Ser. Mater. Sci. Eng. 2017, 284, 012027. [Google Scholar] [CrossRef]
- Maimí, P.; Camanho, P.P.; Mayugo, J.-A.C.; Dávila, C.D. A Thermodynamically Consistent Damage Model for Advanced Composites; NASA National Technical Information Service (NTIS): Hanover, MD, USA, 2018. [Google Scholar]
- Kolks, G.; Tserpes, K.I. Efficient progressive damage modeling of hybrid composite/titanium bolted joints. Compos. Part A Appl. Sci. Manuf. 2014, 56, 51–63. [Google Scholar] [CrossRef]
- Tserpes, K.I.; Labeas, G.; Papaniko, P.; Kermanidis, T. Strength prediction of bolted joints in graphite/epoxy composite laminates. Compos. Part B Eng. 2002, 33, 521–529. [Google Scholar] [CrossRef]
- Atas, A.; Soutis, C. Failure Analysis of Bolted Joints in Cross-ply Composite Laminates Using Cohesive Zone Elements. Comput. Mater. Contin. 2013, 34, 199–225. [Google Scholar]
- Ansys. Release 15.0—©. Available online: https://dokumen.tips/documents/ansys-mechanical-apdl-theory-reference-15pdf.html (accessed on 26 May 2021).
- Hashin, Z. Failure Criteria for Unidirectional Fiber Composites. J. Appl. Mech. 1980, 47, 329–334. [Google Scholar] [CrossRef]
- Lomov, S.V.; Verpoest, I. Textile Composite Materials: Polymer Matrix Composites. In The Encyclopaedia of Aerospace Engineering; John Wiley & Sons, Ltd.: Hoboken, NJ, USA, 2010. [Google Scholar] [CrossRef]
- Kashan, M.H.; Milani, A.S. Damage Prediction in Woven and Non-woven Fabric Composites. In Woven and None-Woven Fabrics; Jeon, H.-Y., Ed.; InTechOpen: London, UK, 2016; pp. 233–262. [Google Scholar]
- Abot, J.L.; Daniel, I.M. Through-thickness Mechanical Characterization of Woven Fabric Composites. J. Compos. Mater. 2004, 38, 543–553. [Google Scholar] [CrossRef]
- Adams, D. Estimating composite properties using data from similar materials. Compos. World 2020, 6, 8–9. [Google Scholar]
- Montagne, B.; Lachaud, F.; Paroissien, E.; Martini, D. Failure analysis of composite bolted joints by an experimental and a numerical approach. In Proceedings of the ECCM18—18th European Conference on Composite Materials, Athens, Greece, 24–28 June 2018; pp. 1–8. [Google Scholar]
- Camanho, P.P.; Fink, A.; Obst, A.; Pimenta, S. Hybrid titanium-CFRP laminates for high-performance bolted joints. Compos. Part A Appl. Sci. Manuf. 2009, 40, 1826–1837. [Google Scholar] [CrossRef]
- Valenza, A.; Fiore, V.; Borsellino, C.; Calabrese, L.; di Bella, G. Failure Map of Composite Laminate Mechanical Joint. J. Compos. Mater. 2007, 41, 951–964. [Google Scholar] [CrossRef]
- van den Brink, M. Compressive Failure of 2D Woven Composites: On Kink Band Formation and Its Influencing Parameters. Master’s Thesis, Eindhoven University of Technology Department of Mechanical Engineering Mechanics of Materials, Eindhoven, The Netherlands, August 2013. [Google Scholar]
- Warren, K.C.; Lopez-Anido, R.A.; Vel, S.S.; Bayraktar, H.H. Progressive failure analysis of three-dimensional woven carbon composites in single-bolt, double-shear bearing. Compos. Part B Eng. 2016, 84, 266–276. [Google Scholar] [CrossRef]
- Tsampas, S. Analysis of Compression Failure in Multidirectional Laminates. Ph.D. Thesis, Aeronautics of Imperial College London and the Diploma of Imperial College, London, UK, September 2013. [Google Scholar]














| Elastic Constants MPa | Strength MPa |
|---|---|
| E11 = E22 = 55,800 * | XT = 497 |
| Xc = 698 | |
| E3 = 9200 ** | YT = 513 |
| G12 = 3510 | YC = 706 |
| G23 = 2210 ** | Zt = 59.8 ** |
| G31 = 2750 ** | Zc = 813 ** |
| ν12 = 0.04 | S12 = 113 |
| ν23 = ν13 = 0.3 ** | S13 = S23 = 104 ** |
Publisher’s Note: MDPI stays neutral with regard to jurisdictional claims in published maps and institutional affiliations. |
© 2021 by the authors. Licensee MDPI, Basel, Switzerland. This article is an open access article distributed under the terms and conditions of the Creative Commons Attribution (CC BY) license (https://creativecommons.org/licenses/by/4.0/).
Share and Cite
Czarnocki, P.; Zagrajek, T.; Tomasiewicz, J. Mechanical Lock Joint for Effective In-Plane Application of Concentrated Loads to Thin Polymer Matrix Laminates. Polymers 2021, 13, 1762. https://doi.org/10.3390/polym13111762
Czarnocki P, Zagrajek T, Tomasiewicz J. Mechanical Lock Joint for Effective In-Plane Application of Concentrated Loads to Thin Polymer Matrix Laminates. Polymers. 2021; 13(11):1762. https://doi.org/10.3390/polym13111762
Chicago/Turabian StyleCzarnocki, Piotr, Tomasz Zagrajek, and Jan Tomasiewicz. 2021. "Mechanical Lock Joint for Effective In-Plane Application of Concentrated Loads to Thin Polymer Matrix Laminates" Polymers 13, no. 11: 1762. https://doi.org/10.3390/polym13111762
APA StyleCzarnocki, P., Zagrajek, T., & Tomasiewicz, J. (2021). Mechanical Lock Joint for Effective In-Plane Application of Concentrated Loads to Thin Polymer Matrix Laminates. Polymers, 13(11), 1762. https://doi.org/10.3390/polym13111762

