The Architectonics Features of Heterostructures for IR Range Detectors Based on Polycrystalline Layers of Lead Chalcogenides
Abstract
:1. Introduction
2. Materials and Methods
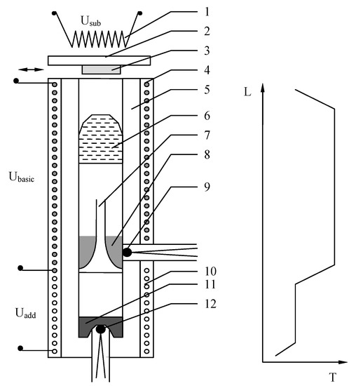
2.1. Synthesis of Polycrystalline Layers of Lead Chalcogenides
2.2. Application of An Original Combination of AFM Techniques for Providing Cross-Sections of Porous Cores Encapsulated by An Oxide Shell and Its Study
3. Results and Discussion
Development of the Model of the Porous Intragranular Architectonics
4. Conclusions
Author Contributions
Funding
Conflicts of Interest
References
- Smerdov, R.; Mustafaev, A.; Spivak, Y.; Moshnikov, V. Functionalized nanostructured materials for novel plasma energy systems. In Topical Issues of Rational Use of Natural Resources 2019; CRC Press: London, UK, 2019; pp. 434–441. [Google Scholar] [CrossRef]
- Tomaev, V.; Levine, K.; Stoyanova, T.; Syrkov, A.G. Synthesis and Study of a Polypyrrole—Aluminum Oxide Nanocomposite Film on an Aluminum Surface. Glas. Phys. Chem. 2019, 45, 291–297. [Google Scholar] [CrossRef]
- Spivak, Y.U.; Moshnikov, V.A. Features of photosensitive polycrystalline PbCdSe layers with a network-like structure. J. Surf. Investig. X-ray Synchrotron Neutron Tech. 2010, 4, 71–76. [Google Scholar] [CrossRef]
- Salikhov, K.M.; Stoyanov, N.D.; Stoyanova, T.V. Using Optical Activation to Create Hydrogen and Hydrogen-Containing Gas Sensors. Key Eng. Mater. 2020, 854, 87–93. [Google Scholar] [CrossRef]
- Tomaev, V.V.; Levine, K.L.; Stoyanova, T.V.; Sirkov, A.G. Formation of nanocomposite film (polypirrol)/(aluminum) oxide on aluminum surface. AIP Conf. Proc. 2019, 2064, 030016. [Google Scholar]
- Gasanly, S.A.; Tomaev, V.V.; Stoyanova, T.V. The concept of the phases ratio control during the formation of composite filamentary nanocrystals xInSe-(1 − x)In2O3 on glass substrates. J. Phys. Conf. Ser. 2017, 917, 32021. [Google Scholar] [CrossRef]
- Syrkov, A.G. On the priority of Saint-Petersburg Mining University in the field of nanotechnology science and nanomaterials. Zap. Gorn. Inst. 2016, 221, 730–736. [Google Scholar]
- Pleskunov, I.V.; Syrkov, A.G. Razvitie issledovanij nizkorazmernyh metallosoderzhashchih sistem ot P.P.Vejmarna do nashih dnej. Zap. Gorn. Inst. 2018, 231, 287. (In Russian) [Google Scholar] [CrossRef]
- Katsuhiko, A. Progress in Molecular Nanoarchitectonics and Materials Nanoarchitectonics. Molecules 2021, 26, 1621. [Google Scholar]
- Ghosh, D.; Datta, L.P.; Govindaraju, T. Molecular architectonics of DNA for functional nanoarchitectures. Beilstein J. Nanotechnol. 2020, 11, 124–140. [Google Scholar] [CrossRef] [PubMed] [Green Version]
- Roy, B.; Ghosh, D.; Govindaraju, T. Molecular-architectonics-guided dynamic assembly to generate fluorescent organic nanoclusters with implications for optical imaging. ACS Appl. Nano Mater. 2021, 4, 979–984. [Google Scholar] [CrossRef]
- Afanas’ev, A.V.; Afanas’ev, V.P.; Glinskij, G.f.; Goloudina, S.I.; Gudovskih, A.S.; Demin, Y.U.A.; Dron’, A.S.; Zimina, T.M.; Zubkov, V.I.; Ivanov, S.A.; et al. Nanotekhnologiya: Fizika, Processy, Diagnostika, Pribory: Monografiya; Luchinina, V.V., Tairova, Y.M., Eds.; Fizmatlit: Moskva Russia, 2006; 552p. (In Russian) [Google Scholar]
- Karasev, V.A.; Luchinin, V.V. Vvedenie v Konstruirovanie Bionicheskih Nanosistem; Fizmatlit: Moscow, Russia, 2011. (In Russian) [Google Scholar]
- Wu, L.; Li, Y.; Fu, Z.; Su, B.-L. Hierarchically structured porous materials: Synthesis strategies and applications in energy storage. Natl. Sci. Rev. 2020, 7, 1667–1701. [Google Scholar] [CrossRef]
- Hammi, N.; El Hankari, S.; Katir, N.; Marcotte, N.; Draoui, K.; Royer, S.; El Kadib, A. Polysaccharide templated biomimetic growth of hierarchically porous metal-organic frameworks. Microporous Mesoporous Mater. 2020, 306, 110429. [Google Scholar] [CrossRef]
- Benjamin, R.T.; Horozov, T.S.; Paunov, V. Hierarchically structured composites and porous materials from soft templates: Fabrication and applications. J. Mater. Chem. A 2019, 7, 8030–8049. [Google Scholar]
- Lu, X.; Hasegawa, G.; Kanamori, K.; Nakanishi, K. Hierarchically porous monoliths prepared via sol–gel process accompanied by spinodal decomposition. J. Sol-Gel Sci. Technol. 2020, 95, 530–550. [Google Scholar] [CrossRef]
- Golubchenko, N.V.; Moshnikov, V.A.; Chesnokova, D.B. Investigation into the microstructure and phase composition of polycrystalline lead selenide films in the course of thermal oxidation. Glas. Phys. Chem. 2006, 32, 337–345. [Google Scholar] [CrossRef]
- Yang, X.-Y.; Chen, L.-H.; Li, Y.; Rooke, J.C.; Sanchez, C.; Su, B.-L. Hierarchically porous materials: Synthesis strategies and structure design. Chem. Soc. Rev. 2016, 46, 481–558. [Google Scholar] [CrossRef] [PubMed] [Green Version]
- Martin-Martinez, F.J.; Jin, K.; Barreiro, D.L.; Buehler, M.J. The Rise of Hierarchical Nanostructured Materials from Renewable Sources: Learning from Nature. ACS Nano 2018, 12, 7425–7433. [Google Scholar] [CrossRef]
- Shilova, O.A. Fractals, morphogenesis and triply periodic minimal surfaces in sol–gel-derived thin films. J. Sol-Gel Sci. Technol. 2020, 95, 599–608. [Google Scholar] [CrossRef]
- Khokhlov, D. Lead Chalcogenides: Physics and Applications; CRC Press: Boca Raton, FL, USA, 2002; 720p. [Google Scholar]
- Bordovskii, G.A.; Marchenko, A.; Anisimova, N.I.; Kozhokar, M.; Seregin, P.P. The state of tin impurity atoms in vitreous germanium chalcogenides. Glas. Phys. Chem. 2013, 39, 45–51. [Google Scholar] [CrossRef]
- Bordovskii, G.A.; Marchenko, A.V.; Kozhokar, M.; Nasredinov, F.S.; Seregin, P.P. Composition determination of multicomponent chalcogenide glassy semiconductors with X-ray fluorescence analysis. Glas. Phys. Chem. 2013, 39, 377–381. [Google Scholar] [CrossRef]
- Vasilev, E.; Kriulina, G.; Klepikov, I. Luminescence of natural diamond in the NIR range. Phys. Chem. Miner. 2020, 47, 1–8. [Google Scholar] [CrossRef]
- Vasilev, E.A. Luminescence of Plastically Deformed Diamond in the Range 800–1050 nm. J. Appl. Spectrosc. 2019, 86, 512–515. [Google Scholar] [CrossRef]
- Rykov, S.A. Scanning Probe Microscopy of Semiconductor Materials and Nanostructures; Shik, A.Y., Ed.; SPb.: Nauka, Russia, 2001; 52p. (In Russian) [Google Scholar]
- Maskaeva, L.N.; Yurk, V.; Markov, V.F.; Kuznetsov, M.V.; Voronin, V.I.; Muhamediarov, R.D.; Zyrianov, G.V. Composition, structure and functional properties of nanostructured PbSe films deposited using different antioxidants. Mater. Sci. Semicond. Process. 2019, 108, 104867. [Google Scholar] [CrossRef]
- Zlomanov, V.P. Obtaining and Research of Some Physicochemical Properties of Lead Selenide. Ph.D. Thesis, Chemistry Department of Moscow State University, Moscow, Russia, 1962. (In Russian). [Google Scholar]
- Tomaev, V.V.; Petrov, Y. Preparation of oxidized PbSeO3 films from PbSe films. Glas. Phys. Chem. 2012, 38, 240–244. [Google Scholar] [CrossRef]
- Alexandrova, O.A.; Maksimov, A.I.; Moshnikov, V.A.; Chesnokova, D.B. Chalcogenides and Oxides of IV Group Elements. Obtaining, Research, Application; Tekhnolit: St. Petersburg, Russia, 2008. (In Russian) [Google Scholar]
- Maraeva, E.V.; Moshnikov, V.A.; Tairov, Y.M. Models of the formation of oxide phases in nanostructured materials based on lead chalcogenides subjected to treatment in oxygen and iodine vapors. Semiconductors 2013, 47, 1422–1425. [Google Scholar] [CrossRef]
- Maraeva, E.V.; Moshnikov, V.A.; Petrov, A.A.; Tairov, Y.M. Oxidation model of polycrystalline lead-chalcogenide layers in an iodine-containing medium. Semiconductors 2016, 50, 775–777. [Google Scholar] [CrossRef]
- Maraeva, E.V. Obtaining and Studying Nanostructured Polycrystalline Layers and Quantum Dot Systems Based on Lead Chalcogenides. Ph.D. Thsis, St. Petersburg State Electrotechnical University “LETI” V.I. Ulyanov (Lenin), Saint Petersburg, Russia, 2014. (In Russian). [Google Scholar]
- Moshnikov, V.A.; Gamarts, A.E.; Chesnokova, D.B.; Maraeva, E.V. Growth and properties of nanostructured layers based on Pb1 − xCdxSe (x = 0–0.20) solid solutions. Inorg. Mater. 2011, 47, 18–22. [Google Scholar] [CrossRef]
- Zogg, H.; Ishida, A. IV-VI (Lead Chalcogenide) Infrared Sensors and Lasers. In Infrared Detectors and Emitters: Materials and Devices; Capper, P., Elliott, C.T., Eds.; Kluwer Academic Publishers: Boston, MA, USA, 2000; 478p. [Google Scholar]
- Lacome, T.; Montagne, X.; Delfort, B.; Paille, F. Diesel Fuel Compositions Containing Oxygenated Compounds Derived from Tetrahydrofurfuryl. U.S. Patent 20020053161A1, 9 May 2002. [Google Scholar]
- Maskaeva, L.N.; Vaganova, I.V.; Markov, V.F.; Voronin, V.I.; Mostovshchikova, E.V.; Belov, V.S.; Lipina, O.A.; Miroshnikova, I.N. A nonlinear evolution of the structure, morphology, and optical properties of PbS-CdS films with cadmium nitrate in the reaction mixture. Phys. Chem. Chem. Phys. 2021, 23, 10600–10614. [Google Scholar] [CrossRef] [PubMed]
- Chesnokova, D.B.; Moshnikov, V.A.; Gamarts, A.E.; Maraeva, E.V.; Aleksandrova, O.A.; Kuznetsov, V.V. Structural characteristics and photoluminescence of Pb1 − xCdxSe (x = 0–0.20) layers. J. Non-Cryst. Solids 2010, 356, 2010–2014. [Google Scholar] [CrossRef]
- Lopez-Otero, A. Hot wall epitaxy. Thin Solid Film. 1978, 49, 3–57. [Google Scholar] [CrossRef]









Publisher’s Note: MDPI stays neutral with regard to jurisdictional claims in published maps and institutional affiliations. |
© 2021 by the authors. Licensee MDPI, Basel, Switzerland. This article is an open access article distributed under the terms and conditions of the Creative Commons Attribution (CC BY) license (https://creativecommons.org/licenses/by/4.0/).
Share and Cite
Spivak, Y.M.; Kononova, I.E.; Kononov, P.V.; Moshnikov, V.A.; Ignat’ev, S.A. The Architectonics Features of Heterostructures for IR Range Detectors Based on Polycrystalline Layers of Lead Chalcogenides. Crystals 2021, 11, 1143. https://doi.org/10.3390/cryst11091143
Spivak YM, Kononova IE, Kononov PV, Moshnikov VA, Ignat’ev SA. The Architectonics Features of Heterostructures for IR Range Detectors Based on Polycrystalline Layers of Lead Chalcogenides. Crystals. 2021; 11(9):1143. https://doi.org/10.3390/cryst11091143
Chicago/Turabian StyleSpivak, Yuliya Mikhailovna, Irina Evgen’evna Kononova, Pavel Vasil’evich Kononov, Vyacheslav Alexeyevich Moshnikov, and Sergey Anatol’evich Ignat’ev. 2021. "The Architectonics Features of Heterostructures for IR Range Detectors Based on Polycrystalline Layers of Lead Chalcogenides" Crystals 11, no. 9: 1143. https://doi.org/10.3390/cryst11091143
APA StyleSpivak, Y. M., Kononova, I. E., Kononov, P. V., Moshnikov, V. A., & Ignat’ev, S. A. (2021). The Architectonics Features of Heterostructures for IR Range Detectors Based on Polycrystalline Layers of Lead Chalcogenides. Crystals, 11(9), 1143. https://doi.org/10.3390/cryst11091143

