Catalytic Ethylene Oligomerization over Ni/Al-HMS: A Key Step in Conversion of Bio-Ethanol to Higher Olefins
Abstract
1. Introduction
2. Results and Discussion
2.1. Characterization of Catalysts
2.2. Development of Catalyst for Ethylene Oligomerization
2.3. Catalytic Ethanol Dehydration over H-ZSM-5
2.4. Production of Higher Olefins from Hydrous Ethanol by Two-Step Process
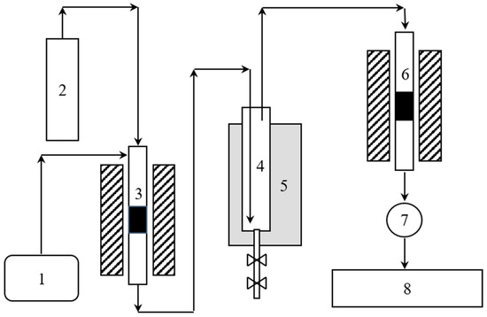
3. Experimental Section
3.1. Catalyst Syntheses
3.2. Catalyst Characterization
3.3. Reactions and Instruments
4. Conclusions
Funding
Conflicts of Interest
References
- Huber, G.W.; Iborra, S.; Corma, A. Synthesis of transportation fuels from biomass: Chemistry, catalysts, and engineering. Chem. Rev. 2006, 106, 1044–4098. [Google Scholar] [CrossRef] [PubMed]
- Cesaro, A.; Belgiorno, V. Combined biogas and bioethanol production: Opportunities and challenge for industrial application. Energies 2015, 8, 8121–8144. [Google Scholar] [CrossRef]
- Liu, Y.; Murata, K.; Inaba, M. Steam reforming of bio-ethanol to produce hydrogen over Co/CeO2 catalysts derived from Ce1−xCoxO2−y precursors. Catalysts 2016, 6, 26. [Google Scholar] [CrossRef]
- Sun, J.; Wang, Y. Recent advances in catalytic conversion of ethanol to chemicals. ACS Catal. 2014, 4, 1078–1090. [Google Scholar] [CrossRef]
- Yao, G.; Staples, M.D.; Malina, R.; Tyner, W.E. Stochastic teno-economic analysis of alcohol-to-jet fuel production. Biotechnol. Biofuels 2017, 10, 18. [Google Scholar] [CrossRef] [PubMed]
- Rossetti, I.; Compagnoni, M.; Finocchio, E.; Ramis, G.; Michele, A.D.; Mollot, Y.; Dzwigaj, S. Ethylene production via catalytic dehydration of diluted bioethanol: A step towards an integrated biorefinery. Appl. Catal. B Environ. 2017, 210, 407–420. [Google Scholar] [CrossRef]
- Lee, J.H.; Lee, S.; Hong, S.B. Nanocrystalline H-RTH zeolite: An efficient catalyst for the low-temperature dehydration of ethanol to ethene. ChemSusChem 2018, 11, 2035–2039. [Google Scholar] [CrossRef] [PubMed]
- Janlamool, J.; Jongsomjit, B. Catalytic ethanol dehydration to ethylene over nanocrystalline χ- and γ-Al2O3 catalysts. J. Oleo Sci. 2017, 66, 1029–1039. [Google Scholar] [CrossRef] [PubMed]
- Sarazen, M.L.; Doskocil, E.; Iglesia, E. Effects of void environmental and acid strength on alkene oligomerization selectivity. ACS Catal. 2016, 6, 7059–7070. [Google Scholar] [CrossRef]
- Moon, S.; Chae, H.J.; Park, M.B. Oligomerization of light olefins over ZSM-5 and beta zeolite catalysts by modifying textural properties. Appl. Catal. A Gen. 2018, 553, 15–23. [Google Scholar] [CrossRef]
- Jin, F.; Fan, Y.; Yuan, M.; Min, F.; Wu, G.; Ding, Y.; Froment, G.F. Single-event kinetic modeling of ethene oligomerization on ZSM-5. Catal. Today 2018, 316, 129–141. [Google Scholar] [CrossRef]
- Jan, O.; Song, K.; Dichiara, A.; Resende, F.L.P. Ethylene oligomerization over Ni-Hβ heterogeneous catalysts. Ind. Eng. Chem. Res. 2018, 57, 10241–10250. [Google Scholar] [CrossRef]
- Iwamoto, M. Selective catalytic conversion of bio-ethanol to propene: A review of catalysts and reaction pathways. Catal. Today 2015, 242, 243–248. [Google Scholar] [CrossRef]
- Kresge, C.T.; Leonowicz, M.E.; Roth, W.J.; Vartuli, J.C.; Beck, J.C. Ordered mesoporous molecular sieves synthesized by a liquid-crystal template mechanism. Nature 1992, 359, 710–712. [Google Scholar] [CrossRef]
- Jing, H.; Guo, Z.; Ma, H.; Evans, D.G.; Duan, X. Enhancing the selectivity of benzene hydroxylation by tailoring the chemical affinity of the MCM-41 catalyst surface for the reactive molecules. J. Catal. 2002, 212, 22–32. [Google Scholar] [CrossRef]
- Tanev, P.T.; Chibwe, M.; Pinnavaia, T.J. Titanium-containing mesoporous molecular sieves for catalytic oxidation of aromatic compounds. Nature 1994, 368, 321–323. [Google Scholar] [CrossRef] [PubMed]
- Pauly, T.R.; Liu, Y.; Pinnavaia, T.J.; Billinge, S.J.L.; Rieker, T.P. Textural mesoporosity and the catalytic activity of mesoporous molecular sieves with wormhole framework structures. J. Am. Chem. Soc. 1999, 121, 8835–8842. [Google Scholar] [CrossRef]
- Liu, Y.; Kim, S.S.; Pinnavaia, T.J. Mesostructured aluminosilicate alkylation catalysts for the production of aromatic amine antioxidants. J. Catal. 2004, 225, 381–387. [Google Scholar] [CrossRef]
- Mokaya, R.; Jones, W. Physicochemical characterization and catalytic activity of primary amine templated aluminosilicate mesoporous catalysts. J. Catal. 1997, 172, 211–221. [Google Scholar] [CrossRef]
- Liu, Y.; Murata, K.; Inaba, M.; Mimura, N. Syntheses of Ti- and Al-containing hexagonal mesoporous silicas for gas-phase epoxidation of propylene by molecular oxygen. Appl. Catal. A Gen. 2006, 309, 91–105. [Google Scholar] [CrossRef]
- Liu, Y.; Murata, K.; Inaba, M. Direct oxidation of benzene to phenol by molecular oxygen over catalytic systems containing Pd(OAc)2 and heteropolyacid immobilized on HMS or PIM. J. Mol. Catal. A Chem. 2006, 256, 247–255. [Google Scholar] [CrossRef]
- Liu, Y.; Murata, K.; Inaba, M. Epoxidation of propylene with molecular oxygen in methanol over a peroxo-heteropoly compound immobilized on palladium exchanged HMS. Green Chem. 2004, 6, 510–515. [Google Scholar] [CrossRef]
- Liu, Y.; Murata, K.; Inaba, M. Oxidation of propylene to propylene oxide with molecular oxygen by Pd(OAc)2/Ti-Al-HMS/CH3OH catalyst system. Catal. Lett. 2004, 93, 109–112. [Google Scholar] [CrossRef]
- Liu, Y.; Murata, K.; Inaba, M. Synthesis and catalytic activity of niobium-containing hexagonal mesoporous silica. Chem. Lett. 2003, 32, 992–993. [Google Scholar] [CrossRef]
- Liu, Y.; Murata, K.; Inaba, M.; Mimura, N. Selective oxidation of propylene to propylene oxide by molecular oxygen over Ti-Al-HMS catalysts. Catal. Lett. 2003, 89, 49–53. [Google Scholar] [CrossRef]
- Liu, Y.; Murata, K.; Inaba, M.; Mimura, N. Selective oxidation of propylene to acetone by molecular oxygen over Mx/2H5-x[PMo10V2O40]/HMS (M = Cu2+, Co2+, Ni2+). Catal. Commun. 2003, 4, 281–285. [Google Scholar] [CrossRef]
- Liu, Y.; Suzuki, K.; Hamakawa, S.; Hayakawa, T.; Murata, K.; Ishii, T.; Kumagai, M. Highly active methanol decomposition catalyst derived from Pd-hydrotalcite dispersed on mesoporous silica. Catal. Lett. 2000, 66, 205–213. [Google Scholar] [CrossRef]
- Liu, Y.; Suzuki, K.; Hamakawa, S.; Hayakawa, T.; Murata, K.; Ishii, T.; Kumagai, M. Catalytic methanol decomposition at low temperature over Pd catalyst derived from mesoporous silica carried Pd-hydrotalcite. Chem. Lett. 2000, 486–487. [Google Scholar] [CrossRef]
- Liu, Y.; Murata, K.; Okabe, K.; Hanaoka, T.; Sakanishi, K. Synthesis of Zr-grafted SBA-15 as an Effective Support for Cobalt Catalyst in Fischer-Tropsch Synthesis. Chem. Lett. 2008, 37, 984–985. [Google Scholar] [CrossRef]
- Heveling, J.; Nicolaides, C.P.; Scurell, M.S. Catalysts and conditions for the highly efficient, selective and stable heterogeneous oligomerization of ethylene. Appl. Catal. A Gen. 1998, 173, 1–9. [Google Scholar] [CrossRef]
- Sohn, J.R.; Park, W.C.; Park, S.E. Characterization of nickel sulfate supported on SiO2-Al2O3 for ethylene dimerization and its relationship to acidic properties. Catal. Lett. 2002, 81, 259–264. [Google Scholar] [CrossRef]
- Zhang, Q.; Kantcheva, M.; Dalla Lana, I.G. Oligomerization of ethylene in a slurry reactor using a nickel/sulfate alumina catalyst. Ind. Eng. Chem. Res. 1997, 36, 3433–3438. [Google Scholar] [CrossRef]
- Hulea, V.; Fajila, F. Ni-exchanged AlMCM-41—An efficient bifunctional catalyst for ethylene oligomerization. J. Catal. 2004, 225, 213–222. [Google Scholar] [CrossRef]
- Tanaka, M.; Itadani, A.; Kuroda, Y.; Iwamoto, M. Effect of pore size and nickel content of Ni-MCM-41 on catalytic activity for ethene dimerization and local structures of nickel ions. J. Phys. Chem. C 2012, 116, 5664–5672. [Google Scholar] [CrossRef]
- Lacarriere, A.; Robin, J.; Swierczynski, D.; Finiels, A.; Fajula, F.; Luck, F.; Hules, V. Distillate-range products from non-oil-based sources by catalytic cascade reactions. ChemSusChem 2012, 5, 1787–1792. [Google Scholar] [CrossRef] [PubMed]
- Moussa, S.; Arribas, M.A.; Concepcion, P.; Martinez, A. Heterogeneous oligomerization of ethylene to liquids on bifunctional Ni-based catalysts: The influence of support properties on nickel speciation and catalytic performance. Catal. Today 2016, 277, 78–88. [Google Scholar] [CrossRef]
- Andrei, R.D.; Popa, M.I.; Fajula, F.; Hulea, V. Hwtergeneous oligomerization of ethylene over highly active and stable Ni-AlSBA-15 mesoporous catalysts. J. Catal. 2015, 323, 76–84. [Google Scholar] [CrossRef]
- Lallemand, M.; Finiels, A.; Fajula, F.; Hulea, V. Continuous stirred tank reactor for ethylene oligomerization catalyzed by NiMCM-41. Chem. Eng. J. 2011, 172, 1078–1082. [Google Scholar] [CrossRef]
- Wu, P.; Tatsumi, T.; Komatsu, T.; Yashima, T. A novel titanosilicate with MWW structure: II. catalytic properties in the selective oxidation of alkenes. J. Catal. 2001, 202, 245–255. [Google Scholar] [CrossRef]
- Park, K.C.; Yim, D.J.; Ihm, S.K. Characteristics of Al-MCM-41 supported Pt catalysts: Effect of Al distribution in Al-MCM-41 on its catalytic activity in naphthalene hydrogenation. Catal. Today 2002, 74, 281–290. [Google Scholar] [CrossRef]
- Lallemand, M.; Finiels, A.; Fajula, F.; Hulea, V. Nature of the active sites in ethylene oligomerization catalyzed by Ni-containing molecular sieves: Chemical and IR spectral investigation. J. Phys. Chem. C 2009, 113, 20360–20364. [Google Scholar] [CrossRef]
- Harvey, B.G.; Quintana, R.L. Synthesis of renewable jet and diesel fuels from 2-ethyl-1-hexene. Energy Environ. Sci. 2010, 3, 352–357. [Google Scholar] [CrossRef]
- Yu, Y.; Zhang, M. Dehydration of ethanol to ethylene. Ind. Eng. Chem. Res. 2013, 52, 9505–9514. [Google Scholar]
- Zhang, X.; Wang, R.; Yang, X.; Zhang, F. Comparison of four catalysts in the catalytic dehydration of ethanol to ethylene. Microporous Mesoporous Mater. 2008, 116, 210–215. [Google Scholar] [CrossRef]
- Liu, Y.; Hanaoka, T.; Miyazawa, T.; Murata, K.; Okabe, K.; Sakanishi, K. Fischer-Tropsch synthesis in slurry-phase reactors over Mn- and Zr-modified Co/SiO2 catalysts. Fuel Process. Technol. 2009, 90, 901–908. [Google Scholar] [CrossRef]
- Liu, Y.; Murata, K.; Inaba, M.; Takahara, I. Synthesis of ethanol from methanol and syngas through an indirect route containing methanol dehydrogenation, DME carbonylation, and methyl acetate hydrogenolysis. Fuel Process. Technol. 2013, 110, 206–213. [Google Scholar] [CrossRef]









| Catalyst b | Conversion (%) | Selectivity (%) | ||||
|---|---|---|---|---|---|---|
| C4H8 | C6H12 | C8C16 | C8+ | Others c | ||
| Ni/Al-HMS | 96.3 | 37.7 | 24.5 | 24.0 | 9.1 | 2.9 |
| Ni/Al/HMS | 45.6 | 30.3 | 19.4 | 33.7 | 11.8 | 3.8 |
| Ni/Al-MCM-41 | 95.2 | 45.6 | 28.5 | 16.3 | 6.2 | 2.6 |
| Ni/H-ZSM-5 d | 90.7 | 77.6 | 1.1 | 0 | 0 | 19.2 |
| Temperature (°C) | C2H5OH Conversion (%) | Yield (%) | |||
|---|---|---|---|---|---|
| C2H4 | C2H5OC2H5 | CH3CHO | Others b | ||
| 250 | 64.8 | 75.6 | 23.8 | 0 | 0.6 |
| 275 | 82.5 | 90.3 | 8.3 | 0.2 | 1.2 |
| 300 | 95.4 | 96.9 | 1.4 | 0.4 | 1.3 |
| 325 | 98.7 | 93.5 | 0.5 | 4.4 | 1.6 |
© 2018 by the author. Licensee MDPI, Basel, Switzerland. This article is an open access article distributed under the terms and conditions of the Creative Commons Attribution (CC BY) license (http://creativecommons.org/licenses/by/4.0/).
Share and Cite
Liu, Y. Catalytic Ethylene Oligomerization over Ni/Al-HMS: A Key Step in Conversion of Bio-Ethanol to Higher Olefins. Catalysts 2018, 8, 537. https://doi.org/10.3390/catal8110537
Liu Y. Catalytic Ethylene Oligomerization over Ni/Al-HMS: A Key Step in Conversion of Bio-Ethanol to Higher Olefins. Catalysts. 2018; 8(11):537. https://doi.org/10.3390/catal8110537
Chicago/Turabian StyleLiu, Yanyong. 2018. "Catalytic Ethylene Oligomerization over Ni/Al-HMS: A Key Step in Conversion of Bio-Ethanol to Higher Olefins" Catalysts 8, no. 11: 537. https://doi.org/10.3390/catal8110537
APA StyleLiu, Y. (2018). Catalytic Ethylene Oligomerization over Ni/Al-HMS: A Key Step in Conversion of Bio-Ethanol to Higher Olefins. Catalysts, 8(11), 537. https://doi.org/10.3390/catal8110537

