Effect of Molybdenum on the Activity Temperature Enlarging of Mn-Based Catalyst for Mercury Oxidation
Abstract
1. Introduction
2. Results and Discussion
2.1. Catalyst Characterization
2.1.1. Brunauer–Emmett–Teller (BET)
2.1.2. Scanning Electron Microscopy (SEM)
2.1.3. X-ray Powder Diffraction (XRD)
2.1.4. X-ray Photoelectron Spectroscopy (XPS)
2.2. Effect of Temperature
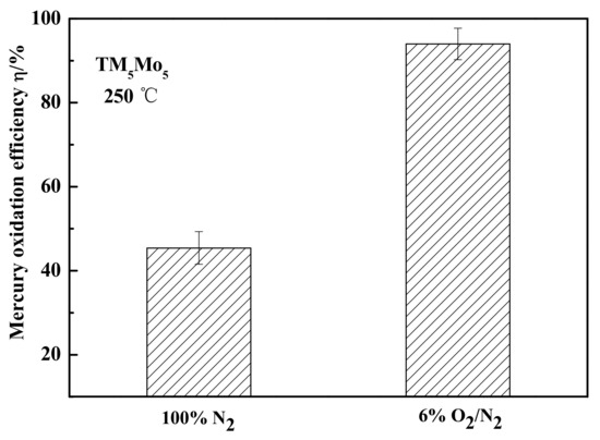
2.3. Effect of O2
2.4. Stability Test
3. Experimental
3.1. Catalyst Preparation
3.2. Characterization Equipment
3.3. Experimental Conditions
4. Conclusions
Author Contributions
Funding
Conflicts of Interest
References
- Huggins, F.E.; Senior, C.L.; Chu, P.; Ladwig, K.; Huffman, G.P. Selenium and arsenic speciation in fly ash from full-scale coal-burning utility plants. Environ. Sci. Technol. 2007, 41, 3284–3289. [Google Scholar] [CrossRef] [PubMed]
- Han, J.; Xiong, Z.; Zhao, B.; Liang, Y.; Wang, Y.; Qin, L. A prediction of arsenic and selenium emission during the process of bituminous and lignite coal co-combustion. Chem. Pap. 2020. [Google Scholar] [CrossRef]
- Yang, J.; Zhao, Y.; Liang, S.; Zhang, S.; Ma, S.; Li, H.; Zhang, J.; Zheng, C. Magnetic iron–manganese binary oxide supported on carbon nanofiber (Fe3−xMnxO4/CNF) for efficient removal of Hg0 from coal combustion flue gas. Chem. Eng. J. 2018, 334, 216–224. [Google Scholar] [CrossRef]
- Galbreath, K.C.; Zygarlicke, C.J. Mercury speciation in coal combustion and gasification flue gases. Environ. Sci. Technol. 1996, 30, 2421–2426. [Google Scholar] [CrossRef]
- Presto, A.A.; Granite, E.J. Survey of catalysts for oxidation of mercury in flue gas. Environ. Sci. Technol. 2006, 40, 5601–5609. [Google Scholar] [CrossRef]
- Cao, T.; Li, Z.; Xiong, Y.; Yang, Y.; Xu, S.; Bisson, T.; Gupta, R.; Xu, Z. Silica-silver nanocomposites as regenerable sorbents for hg0 removal from flue gases. Environ. Sci. Technol. 2017, 51, 11909–11917. [Google Scholar] [CrossRef]
- Lopez-Anton, M.A.; Gil, R.R.; Fuente, E.; Díaz-Somoano, M.; Martínez-Tarazona, M.R.; Ruiz, B. Activated carbons from biocollagenic wastes of the leather industry for mercury capture in oxy-combustion. Fuel 2015, 142 (Suppl. C), 227–234. [Google Scholar] [CrossRef]
- Zhou, Z.; Liu, X.; Hu, Y.; Xu, J.; Cao, X.E.; Liao, Z.; Xu, M. Investigation on synergistic oxidation behavior of NO and Hg0 during the newly designed fast SCR process. Fuel 2018, 225, 134–139. [Google Scholar] [CrossRef]
- Cheng, J.; Wang, X.; Li, Y.; Ning, P. Adsorption and catalytic oxidation of mercury over MnOx/TiO2 under low-temperature conditions. Ind. Eng. Chem. Res. 2017, 56, 14419–14429. [Google Scholar] [CrossRef]
- Wang, P.; Su, S.; Xiang, J.; You, H.; Cao, F.; Sun, L.; Hu, S.; Zhang, Y. Catalytic oxidation of Hg0 by MnOx–CeO2/γ-Al2O3 catalyst at low temperatures. Chemosphere 2014, 101 (Suppl. C), 49–54. [Google Scholar] [CrossRef]
- Eswaran, S.; Stenger, H.G. Understanding mercury conversion in selective catalytic reduction (SCR) catalysts. Energy Fuels 2005, 19, 2328–2334. [Google Scholar] [CrossRef]
- Machalek, T.; Ramavajjala, M.; Richardson, M.; Richardson, C.; Dene, C.; Goeckner, B.; Anderson, H.; Morris, E. Pilot Evaluation of Flue Gas Mercury Reactions Across an SCR Unit. In Proceedings of the Environmental Protection Agencys Air and Waste Management Association Combined Power Plant Air Pollution Control Symposium, Washington, DC, USA, 19–22 May 2003. Paper No. 64. [Google Scholar]
- Marshneva, V.I.; Slavinskaya, E.M.; Kalinkina, O.V.; Odegova, G.V.; Moroz, E.M.; Lavrova, G.V.; Salanov, A.N. The influence of support on the activity of monolayer vanadia-titania catalysts for selective catalytic reduction of NO with ammonia. J. Catal. 1995, 155, 171–183. [Google Scholar] [CrossRef]
- Zhao, B.; Han, J.; Qin, L.; Chen, W.; Zhou, Z.; Xing, F. Impact of individual flue gas components on mercury oxidation over a V2O5–MoO3/TiO2 catalyst. New J. Chem. 2018, 42, 20190–20196. [Google Scholar] [CrossRef]
- Xiong, S.; Xiao, X.; Huang, N.; Dang, H.; Liao, Y.; Zou, S.; Yang, S. Elemental mercury oxidation over Fe–Ti–Mn spinel: Performance, mechanism, and reaction kinetics. Environ. Sci. Technol. 2017, 51, 531–539. [Google Scholar] [CrossRef]
- Li, H.; Wang, S.; Wang, X.; Tang, N.; Pan, S.; Hu, J. Comparative study of Co/TiO2, Co–Mn/TiO2 and Co–Mn/Ti–Ce catalysts for oxidation of elemental mercury in flue gas. Chem. Pap. 2017, 71, 1569–1578. [Google Scholar] [CrossRef]
- Li, H.; Wu, C.-Y.; Li, Y.; Zhang, J. Superior activity of MnOx-CeO2/TiO2 catalyst for catalytic oxidation of elemental mercury at low flue gas temperatures. Appl. Catal. B Environ. 2012, 111–112, 381–388. [Google Scholar] [CrossRef]
- Zhou, Z.J.; Liu, X.; Hu, Y.; Liao, Z.; Cheng, S.; Xu, M. An efficient sorbent based on CuCl2 loaded CeO2-ZrO2 for elemental mercury removal from chlorine-free flue gas. Fuel 2018, 216, 356–363. [Google Scholar] [CrossRef]
- Peña, D.A.; Uphade, B.S.; Smirniotis, P.G. TiO2-supported metal oxide catalysts for low-temperature selective catalytic reduction of NO with NH3: I. Evaluation and characterization of first row transition metals. J. Catal. 2004, 221, 421–431. [Google Scholar] [CrossRef]
- Ji, L.; Sreekanth, P.M.; Smirniotis, P.G.; Thiel, S.W.; Pinto, N.G. manganese oxide/titania materials for removal of NOx and elemental mercury from flue gas. Energy Fuels 2008, 22, 2299–2306. [Google Scholar] [CrossRef]
- Wu, Y.; Xu, W.; Yang, Y.; Wang, J.; Zhu, T. Support effect of Mn-based catalysts for gaseous elemental mercury oxidation and adsorption. Catal. Sci. Technol. 2018, 8, 297–306. [Google Scholar] [CrossRef]
- Wu, Y.; Xu, W.; Yang, Y.; Shao, M.; Zhu, T.; Tong, L. Removal of gas-phase Hg0 by Mn/montmorillonite K10. RSC Adv. 2016, 6, 104294–104302. [Google Scholar] [CrossRef]
- Cheng, T.; Luo, L.; Yang, L.; Fan, H.; Wu, H. Formation and emission characteristics of ammonium sulfate aerosols in flue gas downstream of selective catalytic reduction. Energy Fuels 2019, 33, 7861–7868. [Google Scholar] [CrossRef]
- Reddy, G.K.; He, J.; Thiel, S.W.; Pinto, N.G.; Smirniotis, P.G. Sulfur-tolerant Mn-Ce-Ti sorbents for elemental mercury removal from flue gas: Mechanistic investigation by XPS. J. Phys. Chem. C 2015, 119, 8634–8644. [Google Scholar] [CrossRef]
- He, C.; Shen, B.; Li, F. Effects of flue gas components on removal of elemental mercury over Ce–MnOx/Ti-PILCs. J. Hazard. Mater. 2016, 304, 10–17. [Google Scholar] [CrossRef] [PubMed]
- Zhao, B.; Liu, X.; Zhou, Z.; Shao, H.; Wang, C.; Si, J.; Xu, M. Effect of molybdenum on mercury oxidized by V2O5–MoO3/TiO2 catalysts. Chem. Eng. J. 2014, 253, 508–517. [Google Scholar] [CrossRef]
- Lietti, L.; Nova, I.; Ramis, G.; Dall’Acqua, L.; Busca, G.; Giamello, E.; Forzatti, P.; Bregani, F. Characterization and reactivity of V2O5–MoO3/TiO2 De-NOx SCR catalysts. J. Catal. 1999, 187, 419–435. [Google Scholar] [CrossRef]
- Xu, Y.; Wu, X.; Lin, Q.; Hu, J.; Ran, R.; Weng, D. SO2 promoted V2O5-MoO3/TiO2 catalyst for NH3-SCR of NOx at low temperatures. Appl. Catal. A Gen. 2019, 570, 42–50. [Google Scholar] [CrossRef]
- Li, L.; Tan, W.; Wei, X.; Fan, Z.; Liu, A.; Guo, K.; Ma, K.; Yu, S.; Ge, C.; Tang, C.; et al. Mo doping as an effective strategy to boost low temperature NH3-SCR performance of CeO2/TiO2 catalysts. Catal. Commun. 2018, 114, 10–14. [Google Scholar] [CrossRef]
- Kwon, D.W.; Park, K.H.; Ha, H.P.; Hong, S.C. The role of molybdenum on the enhanced performance and SO2 resistance of V/Mo-Ti catalysts for NH3-SCR. Appl. Surf. Sci. 2019, 481, 1167–1177. [Google Scholar] [CrossRef]
- Zhou, Z.; Liu, X.; Liao, Z.; Shao, H.; Hu, Y.; Xu, Y.; Xu, M. A novel low temperature catalyst regenerated from deactivated SCR catalyst for Hg0 oxidation. Chem. Eng. J. 2016, 304, 121–128. [Google Scholar] [CrossRef]
- Li, J.; Yan, N.; Qu, Z.; Qiao, S.; Yang, S.; Guo, Y.; Liu, P.; Jia, J. Catalytic oxidation of elemental mercury over the modified catalyst Mn/α-Al2O3 at lower temperatures. Environ. Sci. Technol. 2010, 44, 426–431. [Google Scholar] [CrossRef] [PubMed]
- Wu, Z.; Jiang, B.; Liu, Y.; Zhao, W.; Guan, B. Experimental study on a low-temperature SCR catalyst based on MnOx/TiO2 prepared by sol–gel method. J. Hazard. Mater. 2007, 145, 488–494. [Google Scholar] [CrossRef] [PubMed]
- Han, J.; Liang, Y.; Hu, J.; Qin, L.; Street, J.; Lu, Y.; Yu, F. Modeling downdraft biomass gasification process by restricting chemical reaction equilibrium with Aspen Plus. Energy Convers. Manag. 2017, 153, 641–648. [Google Scholar] [CrossRef]
- Qin, L.; Xing, F.; Zhao, B.; Chen, W.; Han, J. Reducing polycyclic aromatic hydrocarbon and its mechanism by porous alumina bed material during medical waste incineration. Chemosphere 2018, 212, 200–208. [Google Scholar] [CrossRef]
- Chen, W.; Hu, F.; Qin, L.; Han, J.; Zhao, B.; Tu, Y.; Yu, F. Mechanism and performance of the SCR of NO with NH3 over sulfated sintered ore catalyst. Catalysts 2019, 9, 90. [Google Scholar] [CrossRef]
- Huang, Z.; Qin, L.; Xu, Z.; Chen, W.; Xing, F.; Han, J. The effects of Fe2O3 catalyst on the conversion of organic matter and bio-fuel production during pyrolysis of sewage sludge. J. Energy Inst. 2019, 92, 835–842. [Google Scholar] [CrossRef]
- Qin, L.; Huang, X.; Zhao, B.; Wang, Y.; Han, J. Iron oxide as a promoter for toluene catalytic oxidation over Fe–Mn/γ-Al2O3 catalysts. Catal. Lett. 2019. [Google Scholar] [CrossRef]
- Han, J.; Zhang, L.; Zhao, B.; Qin, L.; Wang, Y.; Xing, F. The N-doped activated carbon derived from sugarcane bagasse for CO2 adsorption. Ind. Crop. Prod. 2019, 128, 290–297. [Google Scholar] [CrossRef]
- Fan, X.; Li, C.; Zeng, G.; Gao, Z.; Chen, L.; Zhang, W.; Gao, H. Removal of gas-phase element mercury by activated carbon fiber impregnated with CeO2. Energy Fuels 2010, 24, 4250–4254. [Google Scholar] [CrossRef]











| Catalysts | BET Surface Area/m2/g | BJH Pore Volume/cm3/g | BJH Average Diameter/nm |
|---|---|---|---|
| TM5 | 80.8678 | 0.0936 | 4.5871 |
| TM5Mo5 | 55.7141 | 0.0507 | 3.8020 |
| TMo5 | 25.9037 | 0.0639 | 9.3176 |
| Experiments | Catalysts | Experimental Conditions |
|---|---|---|
| Impact of temperature | TM5Mo5/TM5/TMo5 | 6% O2/N2, 100 °C/150 °C/200 °C/250 °C/00 °C/350 °C |
| Impact of oxygen | TM5Mo5 | 100% N2/6% O2/N2, 250 °C |
© 2020 by the authors. Licensee MDPI, Basel, Switzerland. This article is an open access article distributed under the terms and conditions of the Creative Commons Attribution (CC BY) license (http://creativecommons.org/licenses/by/4.0/).
Share and Cite
Zhao, B.; Zhao, X.; Liang, Y.; Wang, Y.; Qin, L.; Chen, W. Effect of Molybdenum on the Activity Temperature Enlarging of Mn-Based Catalyst for Mercury Oxidation. Catalysts 2020, 10, 147. https://doi.org/10.3390/catal10020147
Zhao B, Zhao X, Liang Y, Wang Y, Qin L, Chen W. Effect of Molybdenum on the Activity Temperature Enlarging of Mn-Based Catalyst for Mercury Oxidation. Catalysts. 2020; 10(2):147. https://doi.org/10.3390/catal10020147
Chicago/Turabian StyleZhao, Bo, Xiaojiong Zhao, Yangshuo Liang, Yu Wang, Linbo Qin, and Wangsheng Chen. 2020. "Effect of Molybdenum on the Activity Temperature Enlarging of Mn-Based Catalyst for Mercury Oxidation" Catalysts 10, no. 2: 147. https://doi.org/10.3390/catal10020147
APA StyleZhao, B., Zhao, X., Liang, Y., Wang, Y., Qin, L., & Chen, W. (2020). Effect of Molybdenum on the Activity Temperature Enlarging of Mn-Based Catalyst for Mercury Oxidation. Catalysts, 10(2), 147. https://doi.org/10.3390/catal10020147
