Leveling Method of Working Platform Based on PZT Electromechanical Coupling Effect
Abstract
1. Introduction
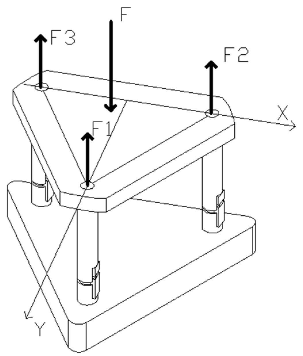
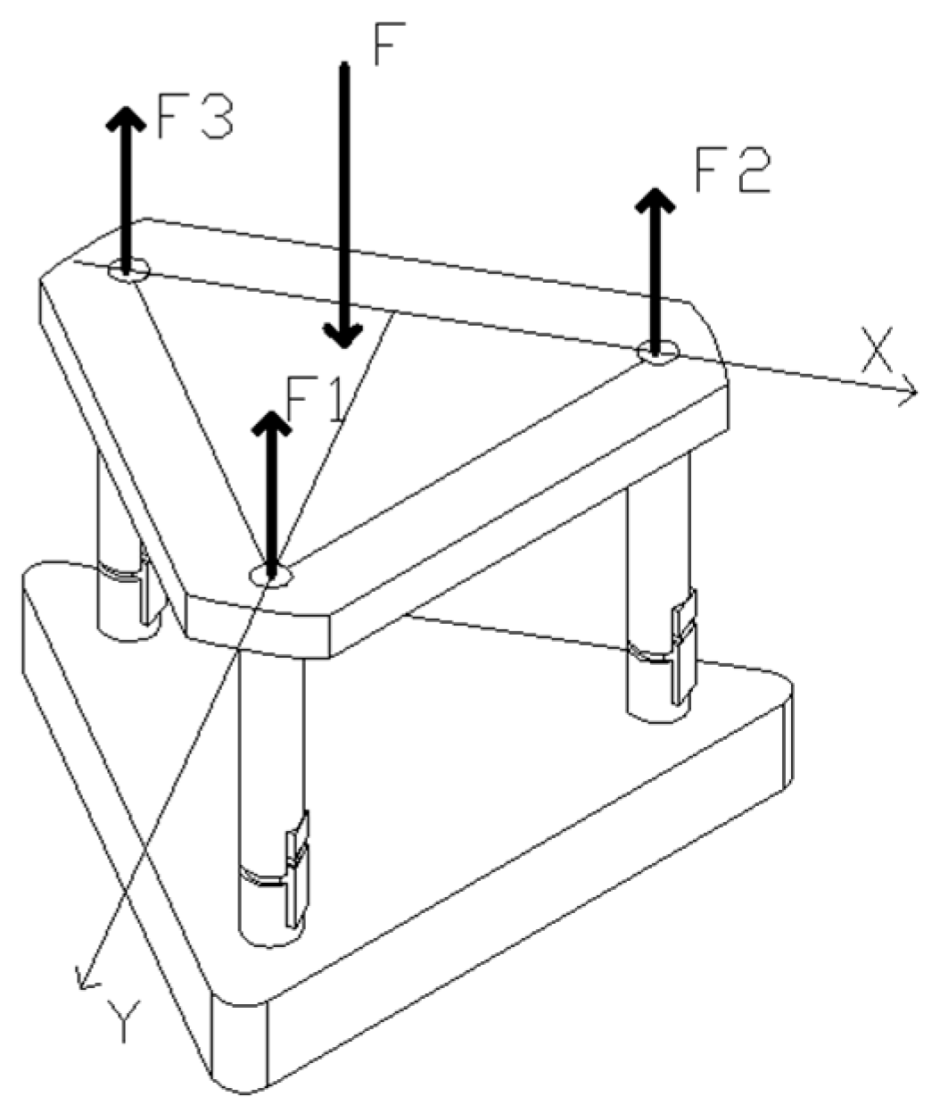
2. Leveling Principle
2.1. Leveling Steps
- (1)
- When F1 = F2 = F3, the working platform is in a horizontal state, and no leveling is needed.
- (2)
- When F1 < F2 and F1 < F3, the partition forces on each drivable leg are not the same. From Hooke’s law, we can see that the deformation variables of each drivable leg under the action of F1, F2, and F3 are as follows:where ΔLi(i = 1, 2, 3) corresponds to the deformation of each drivable leg; Fi(i = 1, 2, 3) corresponds to the pressure shared by one, two, and three drivable legs, respectively; and L is the length of the drivable leg. In the initial state, the lengths of the drivable legs are equal. At this time, the difference in the deformation of the three drivable legs is
2.2. Analysis of Tilt Angle of Working Platform
3. ANSYS Simulation
3.1. Pre-Simulation Processing
3.2. Loading and Solving
3.2.1. Simulation of Force Distribution on the Legs
3.2.2. Simulation of Leg Force Deformation
4. Analysis of Leveling Results
4.1. Theoretical Analysis of Tilt Angle
4.2. Tilt Angle Simulation Analysis
5. Conclusions
Author Contributions
Funding
Data Availability Statement
Conflicts of Interest
References
- Lou, J. Research on the Calculation Method of Planarity Error of Discontinuous Planes. Master’s Thesis, University of Science and Technology of Liaoning, Anshan, China, 2021. [Google Scholar]
- Wang, S. Intelligent Evaluation of Large Dimensional Flatness. Master’s Thesis, South China University of Technology, Guangzhou, China, 2010; pp. 154–196. [Google Scholar]
- Ni, J.; Zhai, Y. Leveling method of six-point supported static base hydraulic platform. J. Southeast Univ. 1996, 2, 74–80. [Google Scholar]
- Feng, Y.; Chen, B. Automatic leveling control system for vehicle-mounted radar. J. Huazhong Univ. Sci. Technol. (Nat. Sci. Ed.) 2004, 6, 66–68+71. [Google Scholar]
- Zhang, F. Research on High Precision Platform Leveling Control System. Master’s Thesis, North Central University, Minneapolis, MN, USA, 2008. [Google Scholar]
- Grzybek, D.; Kata, D.; Sikora, W.; Sapiński, B.; Micek, P.; Pamuła, H.; Huebner, J.; Rutkowski, P. Piezoelectric Particulate Composite for Energy Harvesting from Mechanical Vibration. Materials 2020, 13, 4925. [Google Scholar] [CrossRef] [PubMed]
- Fan, X.; Ma, S.; Zhang, X.; Li, Z. PZT simulation analysis of piezoelectric ceramic wafers based on ANSYS. Piezoelectricity Sound Light 2014, 36, 416–420. [Google Scholar]
- Yu, H. Research on Magnetic Control Building Blocks with Composite PZT and GMM Inverse Effect. Master’s Thesis, Zhejiang University of Technology, Hangzhou, China, 2016. [Google Scholar]
- Yu, H.G.; Xu, A.Q. Research on magnetostrictive inverse effect simulation method based on ANSYS. Magn. Mater. Devices 2016, 47, 9–13+31. [Google Scholar]
- Xu, A.; Gu, Q.; Yu, H. Mechanism of Controllable Force Generated by Coupling Inverse Effect of Piezoelectricity and Magnetostriction. Int. J. Precis. Eng. Manuf.-Green Technol. 2021, 8, 1297–1307. [Google Scholar] [CrossRef]
- Wang, P.F.; Peng, Y.; Liu, H.M.; Zhang, D.H.; Wang, J.S. Actuator Efficiency Adaptive Flatness Control Model and its Application in 1250 mm Reversible Cold Strip Mill. J. Iron Steel Res. Int. 2013, 20, 13–20. [Google Scholar] [CrossRef]
- Zhang, T.; Sun, L.N.; Cai, H. Study on the basic characteristics of piezoelectric ceramics. Opt. Precis. Eng. 1998, 5, 28–34. [Google Scholar]
- Li, D.; Liu, J.; Hu, S.; Cheng, G.; Li, Y.; Cao, Y.; Dong, B.; Chen, Y.F. A deep learning-based indoor acceptance system for assessment on flatness and verticality quality of concrete surfaces. J. Build. Eng. 2022, 51, 104284. [Google Scholar] [CrossRef]
- Yang, R.Z.; Zhi, S.L.; Lv, B. Analysis of the measurement error of leveling and the selection of tilt sensor accuracy. J. Sens. Technol. 2015, 28, 1482–1485. [Google Scholar]
- Tong, G.; Wang, T.; Wu, Z.Y.; Zeng, L.; Chen, T. Application of high precision inclination sensors in measuring deformation of vehicle-mounted platforms. Opt. Precis. Eng. 2010, 18, 1347–1353. [Google Scholar]
- Liu, A.H.; Li, D.H.; Dong, B.Z. Design and implementation of a high-precision dual-axis tilt detection device. J. Beijing Univ. Inf. Sci. Technol. (Nat. Sci. Ed.) 2013, 28, 51–55. [Google Scholar]












Disclaimer/Publisher’s Note: The statements, opinions and data contained in all publications are solely those of the individual author(s) and contributor(s) and not of MDPI and/or the editor(s). MDPI and/or the editor(s) disclaim responsibility for any injury to people or property resulting from any ideas, methods, instructions or products referred to in the content. |
© 2025 by the authors. Licensee MDPI, Basel, Switzerland. This article is an open access article distributed under the terms and conditions of the Creative Commons Attribution (CC BY) license (https://creativecommons.org/licenses/by/4.0/).
Share and Cite
Xu, A.; Yuan, J.; Gao, J. Leveling Method of Working Platform Based on PZT Electromechanical Coupling Effect. Micromachines 2025, 16, 796. https://doi.org/10.3390/mi16070796
Xu A, Yuan J, Gao J. Leveling Method of Working Platform Based on PZT Electromechanical Coupling Effect. Micromachines. 2025; 16(7):796. https://doi.org/10.3390/mi16070796
Chicago/Turabian StyleXu, Aiqun, Jianhui Yuan, and Jinxuan Gao. 2025. "Leveling Method of Working Platform Based on PZT Electromechanical Coupling Effect" Micromachines 16, no. 7: 796. https://doi.org/10.3390/mi16070796
APA StyleXu, A., Yuan, J., & Gao, J. (2025). Leveling Method of Working Platform Based on PZT Electromechanical Coupling Effect. Micromachines, 16(7), 796. https://doi.org/10.3390/mi16070796
