Wireless High Temperature Sensing Chipless Tag Based on a Diamond Ring Resonator
Abstract
1. Introduction
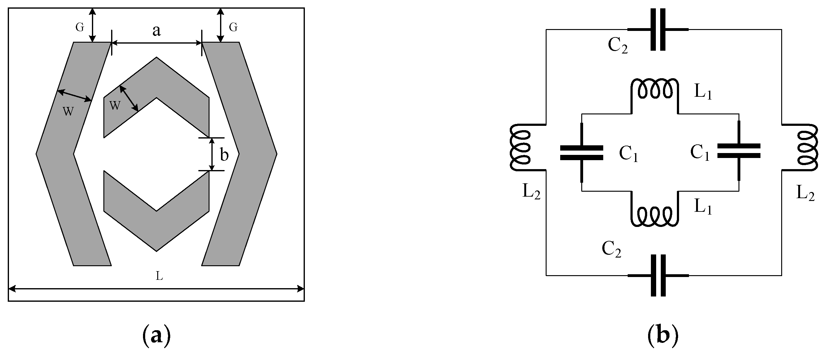
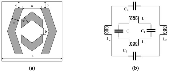
2. Sensor Design
2.1. Temperature Sensor Structure
2.2. Double Diamond Split Rings Resonator
2.3. Sensing Material
3. Simulation Analysis
4. Conclusions
Author Contributions
Funding
Data Availability Statement
Conflicts of Interest
References
- Idhaiam, K.S.V.; Pozo, P.D.; Sabolsky, K.; Sabolsky, E.M.; Sierros, K.A.; Reynolds, D.S. All-Ceramic LC Resonator for Chipless Temperature Sensing Within High Temperature Systems. IEEE Sens. J. 2021, 21, 19771–19779. [Google Scholar] [CrossRef]
- Leonidas, E.; Ayvar-Soberanis, S.; Laalej, H.; Fitzpatrick, S.; Willmott, J.R. A comparative review of thermocouple and infrared radiation temperature measurement methods during the machining of metals. Sensors 2022, 22, 4693. [Google Scholar] [CrossRef]
- Herring, P.K.; Hsu, A.L.; Gabor, N.M.; Shin, Y.C.; Kong, J.; Palacios, T.; Jarillo-Herrero, P. Photoresponse of an electrically tunable ambipolar graphene infrared thermocouple. Nano Lett. 2014, 14, 901–907. [Google Scholar] [CrossRef]
- Manullang, M.C.T.; Lin, Y.H.; Lai, S.J.; Chou, N.K. Implementation of Thermal Camera for Non-Contact Physiological Measurement: A Systematic Review. Sensors 2021, 21, 7777. [Google Scholar] [CrossRef]
- Perić, D.; Livada, B.; Perić, M.; Vujić, S. Thermal imager range: Predictions, expectations, and reality. Sensors 2019, 19, 3313. [Google Scholar] [CrossRef]
- Zhang, Y.; Wang, Z.; Fu, X.; Yan, F.; Kong, T. An experimental method for improving temperature measurement accuracy of infrared thermal imager. Infrared Phys. Technol. 2019, 102, 103020. [Google Scholar] [CrossRef]
- Khan, S.; Lorenzelli, L.; Dahiya, R.S. Technologies for printing sensors and electronics over large flexible substrates: A review. IEEE Sens. J. 2014, 15, 3164–3185. [Google Scholar] [CrossRef]
- Da Cunha, M.P.; Maskay, A.; Lad, R.J.; Coyle, T.; Harkay, G. Langasite 2.45 GHz ISM Band SAW Resonator for Harsh Environment Wireless Applications. In Proceedings of the 2016 IEEE International Ultrasonics Symposium (IUS), Tours, France, 18–21 September 2016; pp. 1–4. [Google Scholar] [CrossRef]
- Kang, A.; Zhang, C.; Ji, X.; Han, T.; Li, R.; Li, X. SAW-RFID enabled temperature sensor. Sens. Actuators A-Phys. 2013, 201, 105–113. [Google Scholar] [CrossRef]
- Zhou, X.; Tan, Q.; Liang, X.; Lin, B.; Guo, T.; Gan, Y. Novel multilayer SAW temperature sensor for ultra-high temperature environments. Micromachines 2021, 12, 643. [Google Scholar] [CrossRef]
- Gao, X.; Cheng, L.; Xue, X.; Zhai, S.; Liang, Y.; Wang, W.; Li, Z. Development of wireless and passive SAW temperature sensor with very high accuracy. Appl. Sci. 2021, 11, 7422. [Google Scholar] [CrossRef]
- Cirmirakis, D.; Demosthenous, A.; Saeidi, N.; Donaldson, N. Humidity-to-frequency sensor in CMOS technology with wireless readout. IEEE Sens. J. 2012, 13, 900–908. [Google Scholar] [CrossRef]
- Tan, Z.; Daamen, R.; Humbert, A.; Ponomarev, Y.V.; Chae, Y.; Pertijs, M.A. A 1.2-V 8.3-nJ CMOS humidity sensor for RFID applications. IEEE J. Solid-State Circuits 2013, 48, 2469–2477. [Google Scholar] [CrossRef]
- Deng, F.; He, Y.; Zhang, C.; Feng, W. A CMOS humidity sensor for passive RFID sensing applications. Sensors 2014, 14, 8728–8739. [Google Scholar] [CrossRef]
- Dennis, J.O.; Ahmed, A.Y.; Khir, M.H. Fabrication and characterization of a CMOS-MEMS humidity sensor. Sensors 2015, 15, 16674–16687. [Google Scholar] [CrossRef] [PubMed]
- Lu, H. A 280 nW leakage-ratio-based CMOS temperature sensor with supply/clock sensitivity suppression. IEICE Electron. Expr. 2022, 19, 20220223. [Google Scholar] [CrossRef]
- Xiong, J.; Wu, G.; Tan, Q.; Wei, T.; Wu, D.; Shen, S.; Zhang, W. Dielectrically-loaded cylindrical resonator-based wireless passive high-temperature sensor. Sensors 2016, 16, 2037. [Google Scholar] [CrossRef] [PubMed]
- Qin, L.; Shen, D.; Wei, T.; Tan, Q.; Luo, T.; Zhou, Z.; Xiong, J. A wireless passive LC resonant sensor based on LTCC under high-temperature/pressure environments. Sensors 2015, 15, 16729–16739. [Google Scholar] [CrossRef]
- Lu, F.; Tan, Q.; Ji, Y.; Guo, Q.; Guo, Y.; Xiong, J. A novel metamaterial inspired high-temperature microwave sensor in harsh environments. Sensors 2018, 18, 2879. [Google Scholar] [CrossRef]
- Ji, Y.; Tan, Q.; Lu, X.; Zhang, G.; Zhang, W.; Xiong, J. Wireless passive separated LC temperature sensor based on high-temperature co-fired ceramic operating up to 1500 °C. J. Micromech. Microeng. 2019, 29, 035015. [Google Scholar] [CrossRef]
- Birdsell, E.; Allen, M.; Park, J. Wireless Ceramic Sensors Operating in High Temperature Environments. In Proceedings of the 40th AIAA/ASME/SAE/ASEE Joint Propulsion Conference and Exhibit, Fort Lauderdale, FL, USA, 11–14 July 2004; p. 3990. [Google Scholar] [CrossRef]
- Siddiqui, J.Y.; Saha, C.; Antar, Y.M. Compact SRR loaded UWB circular monopole antenna with frequency notch characteristics. IEEE Trans. Antennas Propag. 2014, 62, 4015–4020. [Google Scholar] [CrossRef]
- Sarkar, D.; Srivastava, K.V. Compact four-element SRR-loaded dual-band MIMO antenna for WLAN/WiMAX/WiFi/4G-LTE and 5G applications. Electron. Lett. 2017, 53, 1623–1624. [Google Scholar] [CrossRef]
- KT, M.S.; Ansari, M.A.H.; Jha, A.K.; Akhtar, M.J. Design of SRR-based microwave sensor for characterization of magnetodielectric substrates. IEEE Microw. Wirel. Compon. Lett. 2017, 27, 524–526. [Google Scholar] [CrossRef]
- Pendry, J.B.; Holden, A.J.; Robbins, D.J.; Stewart, W.J. Magnetism from conductors and enhanced nonlinear phenomena. IEEE Trans. Microw. Theory Tech. 1999, 47, 2075–2084. [Google Scholar] [CrossRef]
- Riaz, M.A.; Shahid, H.; Aslam, S.Z.; Amin, Y.; Akram, A.; Tenhunen, H. Novel T-shaped resonator based chipless RFID tag. IEICE Electron. Expr. 2017, 14, 20170728. [Google Scholar] [CrossRef]
- Javed, N.; Azam, M.A.; Amin, Y. Chipless RFID multisensor for temperature sensing and crack monitoring in an IoT environment. IEEE Sens. Lett. 2021, 5, 1–4. [Google Scholar] [CrossRef]
- Wang, L.; Liu, T.; Sidén, J.; Wang, G. Design of chipless RFID tag by using miniaturized open-loop resonators. IEEE Trans. Antennas Propag. 2017, 66, 618–626. [Google Scholar] [CrossRef]
- Tan, Q.; Wei, T.; Chen, X.; Luo, T.; Wu, G.; Li, C.; Xiong, J. Antenna-resonator integrated wireless passive temperature sensor based on low-temperature co-fired ceramic for harsh environment. Sens. Actuators A-Phys. 2015, 236, 299–308. [Google Scholar] [CrossRef]
- Athauda, T.; Karmakar, N.C. The realization of chipless RFID resonator for multiple physical parameter sensing. IEEE Internet Things 2019, 6, 5387–5396. [Google Scholar] [CrossRef]
- Cheng, H.; Ebadi, S.; Gong, X. A Low-Profile Wireless Passive Temperature Sensor Using Resonator/Antenna Integration Up to 1000 °C. IEEE Antennas Wirel. Propag. 2012, 11, 369–372. [Google Scholar] [CrossRef]
- Cheng, H.; Ebadi, S.; Ren, X.; Gong, X. Wireless passive high-temperature sensor based on multifunctional reflective patch antenna up to 1050 degrees centigrade. Sens. Actuators A-Phys. 2015, 222, 204–211. [Google Scholar] [CrossRef]







| T/°C | 200 | 400 | 600 | 800 | 1000 |
|---|---|---|---|---|---|
| S/(MHz/°C) | — | 0.6 | 0.55 | 0.45 | 0.375 |
| Reference | Fabrication Technology | Materials | Area/cm2 | Sensitivity/(MHz/°C) | Range/°C |
|---|---|---|---|---|---|
| This paper | Screen printing | Alumina ceramic | 5.29 | 0.375 | 200~1000 |
| [17] | Etching | Alumina ceramic | 8.41 | 0.194 | 27~800 |
| [18] | LTCC | DuPont ceramics | 4.84 | 0.24 | 50~400 |
| [19] | Screen printing | Alumina ceramic | 6.16 | 0.0956 | 28~1100 |
| [20] | Screen printing | Alumina ceramic | 10.5 | 0.0068 | 43~1500 |
Disclaimer/Publisher’s Note: The statements, opinions and data contained in all publications are solely those of the individual author(s) and contributor(s) and not of MDPI and/or the editor(s). MDPI and/or the editor(s) disclaim responsibility for any injury to people or property resulting from any ideas, methods, instructions or products referred to in the content. |
© 2023 by the authors. Licensee MDPI, Basel, Switzerland. This article is an open access article distributed under the terms and conditions of the Creative Commons Attribution (CC BY) license (https://creativecommons.org/licenses/by/4.0/).
Share and Cite
Wang, B.; Li, Y.; Gu, T.; Wang, K. Wireless High Temperature Sensing Chipless Tag Based on a Diamond Ring Resonator. Micromachines 2023, 14, 731. https://doi.org/10.3390/mi14040731
Wang B, Li Y, Gu T, Wang K. Wireless High Temperature Sensing Chipless Tag Based on a Diamond Ring Resonator. Micromachines. 2023; 14(4):731. https://doi.org/10.3390/mi14040731
Chicago/Turabian StyleWang, Bo, Youwei Li, Tingting Gu, and Ke Wang. 2023. "Wireless High Temperature Sensing Chipless Tag Based on a Diamond Ring Resonator" Micromachines 14, no. 4: 731. https://doi.org/10.3390/mi14040731
APA StyleWang, B., Li, Y., Gu, T., & Wang, K. (2023). Wireless High Temperature Sensing Chipless Tag Based on a Diamond Ring Resonator. Micromachines, 14(4), 731. https://doi.org/10.3390/mi14040731
