Optimized Design of Lithium Niobate Tuning Forks for the Measurement of Fluid Characteristic Parameters
Abstract
1. Introduction
2. Materials and Methods
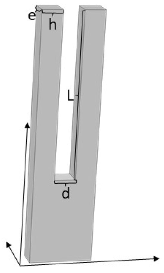
2.1. The Resonant Frequency of LNTF
2.2. The Quality Factors of LNTF
3. Results
3.1. Calculation and Analysis of Resonant Frequency and Quality Factors
3.1.1. Resonant Frequency
3.1.2. Material Support Quality Factor
3.1.3. Fluid Viscosity Quality Factor
3.1.4. Acoustic Radiation Quality Factor
3.1.5. The Total Quality Factor
3.1.6. Analysis of Theoretical Results
- The larger the length-to-width ratio, the higher the material support quality factor;
- The longer the length, the smaller the width, and the lower the resonant frequency;
- The smaller the width-to-thickness ratio, the greater the fluid viscosity quality factor when width h is determined;
- The acoustic radiation quality factor is greater when both width and thickness are as minimal as possible.
3.2. Finite Element Numerical Simulation
3.2.1. The Principle of Designing the Dimension of LNTF
3.2.2. Finite Element Simulation
4. Discussion
Author Contributions
Funding
Data Availability Statement
Conflicts of Interest
References
- Rahman, S.; Al-Gawati, M.A.; Alfaifi, F.S.; Muthuramamoorthy, M.; Alanazi, A.F.; Albrithen, H.; Alzahrani, K.E.; Assaifan, A.K.; Alodhayb, A.N.; Georghiou, P.E. The Effect of Counterions on the Detection of Cu2+ Ions in Aqueous Solutions Using Quartz Tuning Fork (QTF) Sensors Modified with L-Cysteine Self-Assembled Monolayers: Experimental and Quantum Chemical DFT Study. Chemosensors 2023, 11, 88. [Google Scholar] [CrossRef]
- Jeon, H.G.; Kim, J.K.; Na, S.J.; Kim, M.S.; Hong, S.H. Application of Condition Monitoring for Hydraulic Oil Using Tuning Fork Sensor: A Study Case on Hydraulic System of Earth Moving Machinery. Materials 2022, 15, 7657. [Google Scholar] [CrossRef] [PubMed]
- Gu, B.L.; Zhao, Z.P.; Chen, H.Y.; Yan, X.; Chen, J.B.; Chen, Z. Design of high temperature piezoelectric acceleration sensor based on lithium niobate. Tests China 2017, 43, 74–78. [Google Scholar]
- Parmar, S.; Ray, B.; Vishwakarma, S.; Rath, S.; Datar, S. Polymer modified quartz tuning fork (QTF) sensor array for detection of breath as a biomarker for diabetes. Sens. Actuators B Chem. 2022, 358, 131524. [Google Scholar] [CrossRef]
- Edwards, H.; Taylor, L.; Duncan, W.; Melmed, A.J. Fast, high-resolution atomic force microscopy using a quartz tuning fork as actuator and sensor. J. Appl. Phys. 1997, 82, 980–984. [Google Scholar] [CrossRef][Green Version]
- Todorovic, M.; Schultz, S. Magnetic force microscopy using nonoptical piezoelectric quartz tuning fork detection design with applications to magnetic recording studies. J. Appl. Phys. 1998, 83, 6229–6231. [Google Scholar] [CrossRef]
- Ma, Y.; He, Y.; Tong, Y.; Yu, X.; Tittel, F. Quartz-tuning-fork enhanced photothermal spectroscopy for ultra-high sensitive trace gas detection. Opt. Express 2018, 26, 32103–32110. [Google Scholar] [CrossRef] [PubMed]
- Voglhuber-Brunnmaier, T.; Niedermayer, A.O.; Feichtinger, F.; Jakoby, B. Fluid Sensing Using Quartz Tuning Forks—Measurement Technology and Applications. Sensors 2019, 10, 2336. [Google Scholar] [CrossRef] [PubMed]
- Yu, F.P.; Wang, G.L.; Xie, L.F.; Jiang, C.; Liu, X.L.; Li, Y.L.; Zhao, X. Piezoelectric Cutout of Lithium Niobate Crystals and Its Application to High-Temperature Piezoelectric Ultrasound Transducers. Chinese Patent 202111044175.9, 7 December 2021. [Google Scholar]
- Wensheng, W. Electromechanical coupling coefficients for some vibrational modes of lithium niobate single crystals. Acta Acust. 1985, 3, 180–189. [Google Scholar]
- Stokowski, H.S.; McKenna, T.P.; Park, T.; Hwang, A.Y.; Dean, D.J.; Celik, O.T.; Ansari, V.; Fejer, M.M.; Safavi-Naeini, A.H. Integrated quantum optical phase sensor in thin film lithium niobite. Nat. Commun. 2023, 14, 3355. [Google Scholar] [CrossRef] [PubMed]
- Chen, J.T. Design of resonant lithium niobate surface acoustic wave temperature sensor. J. Jimei Navig. Inst. 1995, 2, 49–53. [Google Scholar]
- Toda, M.; Thompson, M.; Sirven, A.; Nordin, C. The Influence of Oil Density and Viscosity on the behavior of a Lithium Niobate Tuning Fork Cantilever. In Proceedings of the 2012 IEEE International Ultrasonics Symposium (IUS), Dresden, Germany, 7–10 October 2012. [Google Scholar]
- Aoust, G.; Levy, R.; Verlhac, B.; Le Traon, O. Optimal quality factor for tuning forks in a fluid medium. Sens. Actuators A-Phys. 2016, 243, 134–138. [Google Scholar] [CrossRef]
- Gonzalez, M.; Seren, H.; Buzi, E.; Deffenbaugh, M. Fast Downhole Fluid Viscosity and Density Measurements Using a Self-Oscillating Tuning Fork Device. In Proceedings of the 2017 IEEE Sensors Applications Symposium (SAS), Glassboro, NJ, USA, 13–15 March 2017; Aramco Services Company: Aramco Research Center–Houston: Houston, TX, USA, 2017. [Google Scholar]
- Turutin, A.V.; Vidal, J.V.; Kubasov, I.V.; Kislyuk, A.M.; Kiselev, D.A.; Malinkovich, M.D.; Parkhomenko, Y.N.; Kobeleva, S.P.; Kholkin, A.L.; Sobolev, N.A. Highly sensitive magnetic field sensor based on a metglas/bidomain lithium niobate composite shaped in form of a tuning fork. J. Magn. Magn. Mater. 2019, 486, 165209. [Google Scholar] [CrossRef]
- Du, G.H.; Zhu, Z.M.; Gong, X.F. Fundamentals of Acoustics, 2nd ed.; Nanjing University Press: Nanjing, China, 2012; pp. 79–84. [Google Scholar]
- Zhang, M. A Study of the Method of Measuring the Density and Viscosity of High Temperature Fluids Using a Tuning Fork. Ph.D. Thesis, University of Chinese Academy of Sciences, Beijing, China, 2021. [Google Scholar]
- Sader, J.E. Frequency response of cantilever beams immersed in viscous fluids with applications to the atomic force microscope. J. Appl. Phys. 1998, 84, 64–76. [Google Scholar] [CrossRef]
- Schmoranzer, D.; Mantia, M.L.; Sheshin, G.; Gritsenko, I.; Zadorozhko, A.; Rotter, M.; Skrbek, L. Acoustic Emission by Quartz Tuning Forks and Other Oscillating Structures in Cryogenic 4He Fluids. J. Low Temp. Phys. 2011, 163, 317–344. [Google Scholar] [CrossRef]
- Toledo, J.; Manzaneque, T.; Hernando-García, J.; Vázquez, J.; Ababneh, A.; Seidel, H.; Lapuerta, M.; Sánchez-Rojas, J.L. Application of quartz tuning forks and extensional microresonators for viscosity and density measurements in oil/fuel mixtures(Conference Paper). Microsyst. Technol. 2014, 20, 945–953. [Google Scholar] [CrossRef]
- Grober, R.D.; Acimovic, J.; Schuck, J.; Hessman, D.; Kindlemann, P.J.; Hespanha, J.; Morse, A.S.; Karrai, K.; Tiemann, I.; Manus, S. Fundamental limits to force detection using quartz tuning forks. Rev. Sci. Instrum. 2000, 71, 2776–2780. [Google Scholar] [CrossRef]














| Width (mm) | 0.8 | 1 | 1.2 | 1.4 | 1.6 | 1.8 |
| Theoretical resonant frequency (kHz) | 11.214 | 14.018 | 16.822 | 19.625 | 22.429 | 25.232 |
| Simulated resonant frequency (kHz) | 11.295 | 13.680 | 15.904 | 17.981 | 19.928 | 21.745 |
| Number | Density (kg/m3) | Viscosity (mPa·s) |
|---|---|---|
| 1 | 679 | 0.38 |
| 2 | 854 | 55.52 |
| 3 | 855 | 36.92 |
| 4 | 848 | 14.5 |
| 5 | 835 | 4.74 |
| 6 | 785 | 1.04 |
| 7 | 781 | 1.96 |
| 8 | 861.1 | 136.1 |
Disclaimer/Publisher’s Note: The statements, opinions and data contained in all publications are solely those of the individual author(s) and contributor(s) and not of MDPI and/or the editor(s). MDPI and/or the editor(s) disclaim responsibility for any injury to people or property resulting from any ideas, methods, instructions or products referred to in the content. |
© 2023 by the authors. Licensee MDPI, Basel, Switzerland. This article is an open access article distributed under the terms and conditions of the Creative Commons Attribution (CC BY) license (https://creativecommons.org/licenses/by/4.0/).
Share and Cite
Tang, M.; Chen, D.; Zhang, M.; Jiang, F.; Wang, Y. Optimized Design of Lithium Niobate Tuning Forks for the Measurement of Fluid Characteristic Parameters. Micromachines 2023, 14, 2138. https://doi.org/10.3390/mi14122138
Tang M, Chen D, Zhang M, Jiang F, Wang Y. Optimized Design of Lithium Niobate Tuning Forks for the Measurement of Fluid Characteristic Parameters. Micromachines. 2023; 14(12):2138. https://doi.org/10.3390/mi14122138
Chicago/Turabian StyleTang, Man, Dehua Chen, Mi Zhang, Feng Jiang, and Yu Wang. 2023. "Optimized Design of Lithium Niobate Tuning Forks for the Measurement of Fluid Characteristic Parameters" Micromachines 14, no. 12: 2138. https://doi.org/10.3390/mi14122138
APA StyleTang, M., Chen, D., Zhang, M., Jiang, F., & Wang, Y. (2023). Optimized Design of Lithium Niobate Tuning Forks for the Measurement of Fluid Characteristic Parameters. Micromachines, 14(12), 2138. https://doi.org/10.3390/mi14122138

